当前位置:首页->一种防堵塞和泄露的单级双吸糖浆离心泵

 一种防堵塞和泄露的单级双吸糖浆离心泵

 
【申请公布号:CN109026743A;申请权利人:汕头市东兴糖机制泵有限公司;发明设计人: 李宏烔; 李学英;】
 
摘要:
 
本发明公开了一种防堵塞和泄露的单级双吸糖浆离心泵,包括壳体、驱动电机、冷却箱和泵体,所述壳体上部设置有驱动电机,驱动电机下部转动连接曲轴,曲轴位于循环室内部左侧,循环室上部与冷却箱固定连接,且驱动电机导线连接电源和开关;所述曲轴下部固定连接蜗杆,蜗杆两端分别轴承转动连接壳体,蜗杆啮合蜗轮,蜗轮转动连接支撑杆上端,支撑杆下端固定连接壳体,且蜗轮右侧设置泵体,泵体内部设置有叶轮,叶轮固定连接转轴,转轴密封转动连接泵体,蜗轮与转轴之间通过同步带连接。 
 
主权项:
 
1.一种防堵塞和泄露的单级双吸糖浆离心泵,包括壳体(1)、驱动电机(2)、冷却箱(6)和泵体(13),其特征在于,所述壳体(1)上部设置有驱动电机(2),驱动电机(2)下部转动连接曲轴(3),曲轴(3)位于循环室(8)内部左侧,循环室(8)上部与冷却箱(6)固定连接,且驱动电机(2)导线连接电源和开关;所述曲轴(3)下部固定连接蜗杆(10),蜗杆(10)两端分别轴承转动连接壳体(1),蜗杆(10)啮合蜗轮(11),蜗轮(11)转动连接支撑杆(12)上端,支撑杆(12)下端固定连接壳体(1),且蜗轮(11)右侧设置泵体(13),泵体(13)内部设置有叶轮(14),叶轮(14)固定连接转轴,转轴密封转动连接泵体(13),蜗轮(11)与转轴之间通过同步带(19)连接;所述泵体(13)上部连通进液管(15),泵体(13)下部连通出液管(16),进进液管(15)呈纵向布置,出液管(16)呈横向布置;所述曲轴(3)中部套合连杆(4)左端,连杆(4)右端转动连接柱塞(5)中央,柱塞边缘密封滑动连接循环室(8)的内壁,且循环室(8)与冷却箱(6)通过单向阀(18)连通,循环室(8)下部连通冷凝管(9),冷凝管(9)与循环室(8)通过另一单向阀(18)连通,冷凝管(9)上部连通冷却箱(6)中部,冷凝管(9)缠绕在进液管(15)的外表面,进液管(15)上端通过稳固杆(17)固定连接。 
 
 
要求:
1.一种防堵塞和泄露的单级双吸糖浆离心泵,包括壳体(1)、驱动电机(2)、冷却箱(6)和泵体(13),其特征在于,所述壳体(1)上部设置有驱动电机(2),驱动电机(2)下部转动连接曲轴(3),曲轴(3)位于循环室(8)内部左侧,循环室(8)上部与冷却箱(6)固定连接,且驱动电机(2)导线连接电源和开关;所述曲轴(3)下部固定连接蜗杆(10),蜗杆(10)两端分别轴承转动连接壳体(1),蜗杆(10)啮合蜗轮(11),蜗轮(11)转动连接支撑杆(12)上端,支撑杆(12)下端固定连接壳体(1),且蜗轮(11)右侧设置泵体(13),泵体(13)内部设置有叶轮(14),叶轮(14)固定连接转轴,转轴密封转动连接泵体(13),蜗轮(11)与转轴之间通过同步带(19)连接;
 
所述泵体(13)上部连通进液管(15),泵体(13)下部连通出液管(16),进进液管(15)呈纵向布置,出液管(16)呈横向布置;所述曲轴(3)中部套合连杆(4)左端,连杆(4)右端转动连接柱塞(5)中央,柱塞边缘密封滑动连接循环室(8)的内壁,且循环室(8)与冷却箱(6)通过单向阀(18)连通,循环室(8)下部连通冷凝管(9),冷凝管(9)与循环室(8)通过另一单向阀(18)连通,冷凝管(9)上部连通冷却箱(6)中部,冷凝管(9)缠绕在进液管(15)的外表面,进液管(15)上端通过稳固杆(17)固定连接。
 
2.根据权利要求1所述的一种防堵塞和泄露的单级双吸糖浆离心泵,其特征在于,所述壳体(1)下端两侧分别固定连接有支腿(20)。
 
3.根据权利要求1所述的一种防堵塞和泄露的单级双吸糖浆离心泵,其特征在于,所述壳体(1)下端设置有减震装置,减震装置为板簧减震板。
 
4.根据权利要求3所述的一种防堵塞和泄露的单级双吸糖浆离心泵,其特征在于,所述板簧减震板上端与壳体(1)下端固定连接,板簧减震板下端固定连接支腿。
 
5.根据权利要求1所述的一种防堵塞和泄露的单级双吸糖浆离心泵,其特征在于,所述驱动电机(2)固定连接电机基座,电机基座螺栓固定连接壳体(1)。
 
6.根据权利要求1所述的一种防堵塞和泄露的单级双吸糖浆离心泵,其特征在于,所述泵体(13)下端固定连接安装座,安装座固定连接壳体(1)。
 
7.根据权利要求1所述的一种防堵塞和泄露的单级双吸糖浆离心泵,其特征在于,所述柱塞(5)采用软质橡胶材质所制。
 
8.根据权利要求1-7任一所述的一种防堵塞和泄露的单级双吸糖浆离心泵,其特征在于,所述冷却箱(6)上端设置有注液口(7)。
 
一种防堵塞和泄露的单级双吸糖浆离心泵
技术领域
 
本发明涉及一种泵体设备,具体是一种防堵塞和泄露的单级双吸糖浆离心泵。
 
背景技术
 
离心泵有立式、卧式、单级、多级、单吸、双吸、自吸式等多种形式。离心泵是利用叶轮旋转而使水发生离心运动来工作的。水泵在启动前,必须使泵壳和吸水管内充满水,然后启动电机,使泵轴带动叶轮和水做高速旋转运动,水发生离心运动,被甩向叶轮外缘,经蜗形泵壳的流道流入水泵的压水管路。
 
离心其实是物体惯性的表现,比如雨伞上的水滴,当雨伞缓慢转动时,水滴会跟随雨伞转动,这是因为雨伞与水滴的摩擦力做为给水滴的向心力使然。但是如果雨伞转动加快,这个摩擦力不足以使水滴在做圆周运动,那么水滴将脱离雨伞向外缘运动,就像用一根绳子拉着石块做圆周运动,如果速度太快,绳子将会断开,石块将会飞出.这个就是所谓的离心。
 
目前现有的离心泵或多或少都存在一些散热不佳导致的泵体内部温度过高的问题,导致泵体内的密封件软化产生泄漏。
 
发明内容
 
本发明的目的在于提供一种防堵塞和泄露的单级双吸糖浆离心泵,以解决上述背景技术中提出的问题。
 
为实现上述目的,本发明提供如下技术方案:
 
一种防堵塞和泄露的单级双吸糖浆离心泵,包括壳体、驱动电机、冷却箱和泵体,所述壳体上部设置有驱动电机,驱动电机下部转动连接曲轴,曲轴位于循环室内部左侧,循环室上部与冷却箱固定连接,且驱动电机导线连接电源和开关;所述曲轴下部固定连接蜗杆,蜗杆两端分别轴承转动连接壳体,蜗杆啮合蜗轮,蜗轮转动连接支撑杆上端,支撑杆下端固定连接壳体,且蜗轮右侧设置泵体,泵体内部设置有叶轮,叶轮固定连接转轴,转轴密封转动连接泵体,蜗轮与转轴之间通过同步带连接;
 
所述泵体上部连通进液管,泵体下部连通出液管,进进液管呈纵向布置,出液管呈横向布置;所述曲轴中部套合连杆左端,连杆右端转动连接柱塞中央,柱塞边缘密封滑动连接循环室的内壁,且循环室与冷却箱通过单向阀连通,循环室下部连通冷凝管,冷凝管与循环室通过另一单向阀连通,冷凝管上部连通冷却箱中部,冷凝管缠绕在进液管的外表面,进液管上端通过稳固杆固定连接。
 
作为本发明进一步的方案:所述壳体下端两侧分别固定连接有支腿。
 
作为本发明再进一步的方案:所述壳体下端设置有减震装置,减震装置为板簧减震板。
 
作为本发明再进一步的方案:所述板簧减震板上端与壳体下端固定连接,板簧减震板下端固定连接支腿。
 
作为本发明再进一步的方案:所述驱动电机固定连接电机基座,电机基座螺栓固定连接壳体。
 
作为本发明再进一步的方案:所述泵体下端固定连接安装座,安装座固定连接壳体。
 
作为本发明再进一步的方案:所述柱塞采用软质橡胶材质所制。
 
作为本发明再进一步的方案:所述冷却箱上端设置有注液口。
 
与现有技术相比,本发明的有益效果是:该泵体通过蜗轮蜗杆传动带动泵体内的叶轮转动达到抽吸糖浆的效果,蜗轮蜗杆传动具有力矩大,可有效防止糖浆粘稠度大导致的打滑现象,同时利用曲轴带动柱塞往复左右移动将冷却箱中的冷却液循环输送,通过冷凝管将进液管处的糖浆冷却,再用冷却的糖浆将泵体内部的热量带出,达到散热功效。
 
附图说明
 
一种防堵塞和泄露的单级双吸糖浆离心泵
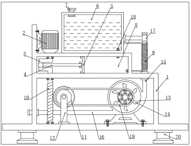
图1为防堵塞和泄露的单级双吸糖浆离心泵的结构示意图。
 
一种防堵塞和泄露的单级双吸糖浆离心泵
图2为防堵塞和泄露的单级双吸糖浆离心泵中泵体和同步带的俯视图。
 
一种防堵塞和泄露的单级双吸糖浆离心泵
图3为防堵塞和泄露的单级双吸糖浆离心泵中蜗轮和蜗杆的右视图。
 
图中:1-壳体;2-驱动电机;3-曲轴;4-连杆;5-柱塞;6-冷却箱;7-注液口;8-循环室;9-冷凝管;10-蜗杆;11-蜗轮;12-支撑杆;13-泵体;14-叶轮;15-进液管;16-出液管;17-稳固杆;18-单向阀;19-同步带;20-支腿。
 
具体实施方式
 
下面将结合本发明实施例中的附图,对本发明实施例中的技术方案进行清楚、完整地描述,显然,所描述的实施例仅仅是本发明一部分实施例,而不是全部的实施例。基于本发明中的实施例,本领域普通技术人员在没有做出创造性劳动前提下所获得的所有其他实施例,都属于本发明保护的范围。
 
实施例1
 
请参阅图1~3,本发明实施例中,一种防堵塞和泄露的单级双吸糖浆离心泵,包括壳体1、驱动电机2、冷却箱6和泵体13;所述壳体1上部设置有驱动电机2,驱动电机2固定连接电机基座,电机基座螺栓固定连接壳体1,驱动电机2下部转动连接曲轴3,曲轴3位于循环室8内部左侧,循环室8上部与冷却箱6固定连接,且驱动电机2导线连接电源和开关,按动开关使得驱动电机2接通电源工作带动曲轴3转动;所述曲轴3下部固定连接蜗杆10,蜗杆10两端分别轴承转动连接壳体1,蜗杆10啮合蜗轮11,蜗轮11转动连接支撑杆12上端,支撑杆12下端固定连接壳体1,且蜗轮11右侧设置泵体13,泵体13下端固定连接安装座,安装座固定连接壳体1,需要说明的是,泵体13内部设置有叶轮14,叶轮14固定连接转轴,转轴密封转动连接泵体13,蜗轮11与转轴之间通过同步带19连接,转动的曲轴3带动蜗杆10转动,蜗杆10带动蜗轮11转动进而通过同步带19带动转轴和叶轮13转动抽吸糖浆。
 
所述泵体13上部连通进液管15,泵体13下部连通出液管16,进进液管15呈纵向布置,出液管16呈横向布置,纵横布置的进出液管占用面积较小,相较于传统的泵体采用平行的进出液管体积更小;所述曲轴3中部套合连杆4左端,连杆4右端转动连接柱塞5中央,柱塞5采用软质橡胶材质所制,柱塞边缘密封滑动连接循环室8的内壁,且循环室8与冷却箱6通过单向阀18连通,冷却箱6上端设置有注液口7,同时循环室8下部连通冷凝管9,冷凝管9与循环室8通过另一单向阀18连通,冷凝管9上部连通冷却箱6中部,具体来说,冷凝管9缠绕在进液管15的外表面,进液管15上端通过稳固杆17固定连接,转动的曲轴3通过连杆4带动柱塞5往复左右移动进而实现抽吸冷却箱6内的冷却液并输送至冷凝管9内,利用冷凝管9将从进液管15排入的糖浆充分冷凝,冷凝后冷却液再由冷凝管9重新返回至冷凝后的糖浆对泵体13内部进行冷却,防止工作高温损坏,壳体1下端两侧分别固定连接有支腿20。
 
实施例2
 
请参阅图1~3,本发明实施例中,一种防堵塞和泄露的单级双吸糖浆离心泵,包括壳体1、驱动电机2、冷却箱6和泵体13;所述壳体1上部设置有驱动电机2,驱动电机2固定连接电机基座,电机基座螺栓固定连接壳体1,驱动电机2下部转动连接曲轴3,曲轴3位于循环室8内部左侧,循环室8上部与冷却箱6固定连接,且驱动电机2导线连接电源和开关,按动开关使得驱动电机2接通电源工作带动曲轴3转动;所述曲轴3下部固定连接蜗杆10,蜗杆10两端分别轴承转动连接壳体1,蜗杆10啮合蜗轮11,蜗轮11转动连接支撑杆12上端,支撑杆12下端固定连接壳体1,且蜗轮11右侧设置泵体13,泵体13下端固定连接安装座,安装座固定连接壳体1,需要说明的是,泵体13内部设置有叶轮14,叶轮14固定连接转轴,转轴密封转动连接泵体13,蜗轮11与转轴之间通过同步带19连接,转动的曲轴3带动蜗杆10转动,蜗杆10带动蜗轮11转动进而通过同步带19带动转轴和叶轮13转动抽吸糖浆。
 
所述泵体13上部连通进液管15,泵体13下部连通出液管16,进进液管15呈纵向布置,出液管16呈横向布置,纵横布置的进出液管占用面积较小,相较于传统的泵体采用平行的进出液管体积更小;所述曲轴3中部套合连杆4左端,连杆4右端转动连接柱塞5中央,柱塞5采用软质橡胶材质所制,柱塞边缘密封滑动连接循环室8的内壁,且循环室8与冷却箱6通过单向阀18连通,冷却箱6上端设置有注液口7,同时循环室8下部连通冷凝管9,冷凝管9与循环室8通过另一单向阀18连通,冷凝管9上部连通冷却箱6中部,具体来说,冷凝管9缠绕在进液管15的外表面,进液管15上端通过稳固杆17固定连接,转动的曲轴3通过连杆4带动柱塞5往复左右移动进而实现抽吸冷却箱6内的冷却液并输送至冷凝管9内,利用冷凝管9将从进液管15排入的糖浆充分冷凝,冷凝后冷却液再由冷凝管9重新返回至冷凝后的糖浆对泵体13内部进行冷却,防止工作高温损坏;所述壳体1下端设置有减震装置,减震装置具体来说为板簧减震板,板簧减震板上端与壳体1下端固定连接,板簧减震板下端固定连接支腿,通过板簧对整个机构进行减震。
 
本发明的工作原理是:按动开关使得驱动电机2接通电源工作带动曲轴3转动,转动的曲轴3带动蜗杆10转动,蜗杆10带动蜗轮11转动进而通过同步带19带动转轴和叶轮13转动抽吸糖浆,纵横布置的进出液管占用面积较小,相较于传统的泵体采用平行的进出液管体积更小,转动的曲轴3通过连杆4带动柱塞5往复左右移动进而实现抽吸冷却箱6内的冷却液并输送至冷凝管9内,利用冷凝管9将从进液管15排入的糖浆充分冷凝,冷凝后冷却液再由冷凝管9重新返回至冷凝后的糖浆对泵体13内部进行冷却,防止工作高温损坏。
 
需要特别说明的是,本申请中驱动电机为现有技术的应用,利用曲轴带动柱塞往复左右移动将冷却箱中的冷却液循环输送,通过冷凝管将进液管处的糖浆冷却,再用冷却的糖浆将泵体内部的热量带出为本申请的创新点,其有效解决了现有的泵散热性不佳问题。
 
对于本领域技术人员而言,显然本发明不限于上述示范性实施例的细节,而且在不背离本发明的精神或基本特征的情况下,能够以其他的具体形式实现本发明。因此,无论从哪一点来看,均应将实施例看作是示范性的,而且是非限制性的,本发明的范围由所附权利要求而不是上述说明限定,因此旨在将落在权利要求的等同要件的含义和范围内的所有变化囊括在本发明内。不应将权利要求中的任何附图标记视为限制所涉及的权利要求。
 
此外,应当理解,虽然本说明书按照实施方式加以描述,但并非每个实施方式仅包含一个独立的技术方案,说明书的这种叙述方式仅仅是为清楚起见,本领域技术人员应当将说明书作为一个整体,各实施例中的技术方案也可以经适当组合,形成本领域技术人员可以理解的其他实施方式。
Copyright © 宁波鄞州盖奇同步带轮有限公司 2007-2022 All Rights Reserved.
电话:4006-574-123/0574-27834692 传真:0574-27834691
地址:宁波市鄞州区下应街道启明南路同盛巷 E-Mail:sales@belt-pulley.com  
浙ICP备09102982号 盖奇公司网络部提供技术支持