【申请号:200920138659.8;专利权人:三明市普诺维机械有限公司;发明人:郭尚接】
发明内容:
本实用新型的目的在于克服上述缺陷,提供一种同步带传动装置用于旋转的刀辊砧辊模。
本实用新型的优点在于:
1 、通过同步带轮传动机构的辅助传动,减少切刀辊带动砧辊同步旋转所需摩擦力,同时比齿轮传动等刚性传动机构能更精确地保证切刀辊与砧辊同步旋转。
2 、本同步带轮传动机构可通过调节其中的活动同步带轮,调节同步带的松紧程度,避免了齿轮传动等刚性传动机构因切刀辊和砧辊复磨后中心矩变小,无法调节的缺点。
3 、同步带传动机构为柔性传动,具有传动平稳,振动小,噪声小的优点。
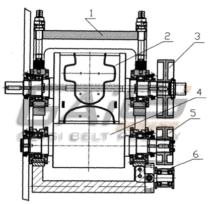
本实用新型的方案是:切刀辊、砧辊在右端延伸出机架外并分别固定同步带上、下轮,在同步带下轮两侧机架外侧面上各固定一个过渡轮机构、一个张紧轮机构;过渡轮机构为过渡轮中空固定的轴承套合在固定于机架上的过渡轴上;张紧轮机构为张紧轮中空固定的轴承套合在固定于滑动座上的张紧轴上,滑动座两侧分别设置的长槽通过螺栓与机架上侧板连接;同步带为环周平皮带,在同步带上、下轮之间以内公切线状延伸后绕下轮外圆近半周,再向张紧轮以内公切线状延伸,同步带在张紧轮环半周后向过渡轮外公切线状延伸后环绕近半周后,再向同步带上轮以外公切线状延伸,接着环绕上轮过半周形成闭合型环带。
技术领域:
本实用新型涉及软材料切割机械,特别适用于纸品切割机构。
背景技术:
目前生活用纸如卫生巾、婴儿尿裤等成带料后,必须放在旋切辊模总成上进行模压切割。旋切辊模总成由机架、动力传动部分、切刀辊、砧辊组成,切刀辊安装在机架上可调节的轴承滑座中,动力由切刀辊传动侧轴端输入,砧辊依靠与切刀辊外圆上分布的模切刀尖接触传递旋转力。
工作过程中切刀辊必须始终与砧辊保持同步旋转,才能保证切刀辊与砧辊之间的磨擦为滚动磨擦,如果切刀辊与砧辊旋转不同步,切刀辊模切刀尖表面与砧辊外圆表面就产生了滑动摩擦。滑动磨擦与滚动摩擦相比模切刀尖表面与砧辊外圆表面的磨擦增大,切刀辊模切刀尖的磨损相应加快,为了保证工作过程中切刀辊始终与砧辊同步旋转,切刀辊必须对砧辊施加足够的压力,才能确保切刀辊与砧辊之间具有足够的磨擦力,以带动砧辊同步旋转。然而磨擦力增大,切刀辊与砧辊之间的磨擦也相应增大,切刀辊刀尖的磨损也相应加快,而且切刀辊对砧辊施加的压力过大,容易造成切刀辊刀尖卷刃或崩刃。
附图说明:


具体实施方式:
本实用新型结构包括切刀辊( 2 )、砧辊( 4 ) ,其特征在于切刀辊( 2 )、砧辊( 4 )在右端延伸出机架( 1 )外并分别固定同步带上、下轮( 5 ) ,在同步带下轮( 5 )两侧机架( 1 )外侧面上各固定一个过渡轮( 8 )机构、一个张紧轮( 6 )机构;过渡轮( 8 )机构为过渡轮( 8 )中空固定的轴承套合在固定于机架( 1 )上的过渡轴上;张紧轮( 6 )机构为张紧轮( 6 )中空固定的轴承套合在固定于滑动座上的张紧轴上,滑动座两侧分别设置的长槽通过螺栓与机架 ( 1 )上侧板连接;同步带为环周平皮带( 7 ) ,在同步带上、下轮( 5 )之间以内公切线状延伸后绕下轮( 5 )外圆近半周,再向张紧轮( 6 )以内公切线状延伸,同步带在张紧轮( 6 )环半周后向过渡轮( 8 )外公切线状延伸后环绕近半周后,再向同步带上轮( 3 )以外公切线状延伸,接着环绕上轮( 3 )过半周形成闭合型环带。
张紧轮( 6 )滑动座与机架( 1 )之间设置螺旋进退机构( 9 ) ,使滑动座不必依靠人力推进调节。 [ 0 011 ]由于旋切辊模总成切刀辊( 2 )在机架( 1 )上需升降,用齿轮传动存在齿轮等刚性传动不合适问题,而用同步带则不存在此问题,因为张紧轮( 6 )调节环皮带技术既方便又简单。
要求:
1 .同步带传动装置用于旋转的刀辊砧辊模,包括切刀辊( 2 )、砧辊( 4 ) ,其特征在于切刀辊( 2 )、砧辊( 4 )在右端延伸出机架( 1 )外并分别固定同步带上、下轮( 5 ) ,在同步带下轮( 5 )两侧机架( 1 )外侧面上各固定一个过渡轮( 8 )机构、一个张紧轮( 6 )机构;过渡轮( 8 )机构为过渡轮( 8 )中空固定的轴承套合在固定于机架( 1 )上的过渡轴上;张紧轮( 6 )机构为张紧轮( 6 ) 中空固定的轴承套合在固定于滑动座上的张紧轴上,滑动座两侧分别设置的长槽通过螺栓与机架( 1 )上侧板连接;同步带为环周平皮带( 7 ) ,在同步带上、下轮( 5 )之间以内公切线状延伸后绕下轮( 5 )外圆近半周,再向张紧轮( 6 )以内公切线状延伸,同步带在张紧轮( 6 ) 环半周后向过渡轮( 8 )外公切线状延伸后环绕近半周后,再向同步带上轮( 3 )以外公切线状延伸,接着环绕上轮( 3 )过半周形成闭合型环带。
2 .根据权利要求 1 所述的同步带传动装置用于旋转的刀辊砧辊模,其特征在于张紧轮( 6 )滑动座与机架( 1 )之间设置螺旋进退机构( 9 )。
摘要:
同步带传动装置用于旋转的刀辊砧辊模,涉及软材料切害」机械。其特征在于刀辊、砧辊在右端延伸出机架外并分别固定同步带上、下轮,在同步带下轮两侧机架外侧面上各固定一个过渡轮机构、一个张紧轮机构;环周平皮带以环绕及内、外公切线延伸方式将四轮环绕。优点在于:通过同步带轮传动机构的辅助传动,减少切刀辊带动砧辊同步旋转所需摩擦力 90 % ,同时比齿轮传动等刚性传动机构能更精确地保证切刀辊与砧辊同步旋转。本同步带轮传动机构可通过调节其中的活动同步带轮,调节同步带的松紧程度,避免了齿轮传动等刚性传动机构因切刀辊和砧辊复磨后中心矩变小,无法调节的缺点。同步带传动机构为柔性传动,具有传动平稳,振动小,噪声小的优点。
