【申请号:201320352546.4;专利权人:启东市联通测功器有限公司;发明人:张辉、赵爱国】
摘要:
本实用新型公开了启动装置,包括底座架和支撑架,底座架上部一侧设有支撑架,底座架上部另一侧设有轴承架支架,轴承架支架上部设有电涡流测功器,电涡流测功器的输出端设有气动离合器和同步带从动轮,气动离合器内部设有离合器芯轴,离合器芯轴固定在电涡流测功器的主轴上,电涡流测功器上端设有变频电机,变频电机的电机轴上设有主动同步带轮,电机轴端部设有电机轴头压盖,气动离合器与同步带从动轮之间设有过渡轴,同步带从动轮外部设有轴承,轴承外部设有辅助支撑轴承架,轴承端部设有轴承压盖,轴承压盖上设有旋转气接头,旋转气接头底端设有压缩空气管。本实用新型的优点是:结构设计合理,在对电动机启动的过程中操作便捷。
要求:
1 .启动装置,包括底座架和支撑架,其特征在于:所述底座架上部一侧设有支撑架,所述底座架上部另一侧设有轴承架支架,所述轴承架支架上部设有电涡流测功器,所述电涡流测功器的输出端设有气动离合器和同步带从动轮,所述气动离合器内部设有离合器芯轴,所述离合器芯轴固定在电涡流测功器的主轴上,所述电涡流测功器上端设有变频电机,所述变频电机的电机轴上设有主动同步带轮,所述电机轴端部设有电机轴头压盖,所述气动离合器与同步带从动轮之间设有过渡轴,所述同步带从动轮外部设有轴承,所述轴承外部设有辅助支撑轴承架,所述轴承端部设有轴承压盖,所述轴承压盖上设有旋转气接头,所述旋转气接头底端设有压缩空气管。
2 .根据权利要求 1 所述的启动装置,其特征在于:所述主动同步带轮与同步带从动轮外部设有防护罩。
3 .根据权利要求 1 所述的启动装置,其特征在于:所述辅助支撑轴承架底端通过轴承架支架固定于电涡流测功器上。
技术领域
本实用新型涉及一种启动装置。
背景技术
电涡流测功器主要用来测量动力机的有效功率及传动机械的效率,是目前国内先进的加载测功设备,它构成的发动机试验台适用于一切研究、质检、生产和维修服务行业。而现有的对电动机进行启动的过程中操作不方便,自动化程度低,适用范围局限。
因此,为解决上述问题,特提供一种新的技术方案。
实用新型内容
本实用新型的目的是提供一种启动装置。
本实用新型采用的技术方案是:
启动装置,包括底座架和支撑架,所述底座架上部一侧设有支撑架,所述底座架上部另一侧设有轴承架支架,所述轴承架支架上部设有电涡流测功器,所述电涡流测功器的输出端设有气动离合器和同步带从动轮,所述气动离合器内部设有离合器芯轴,所述离合器芯轴固定在电涡流测功器的主轴上,所述电涡流测功器上端设有变频电机,所述变频电机的电机轴上设有主动同步带轮,所述电机轴端部设有电机轴头压盖,所述气动离合器与同步带从动轮之间设有过渡轴,所述同步带从动轮外部设有轴承,所述轴承外部设有辅助支撑轴承架,所述轴承端部设有轴承压盖,所述轴承压盖上设有旋转气接头,所述旋转气接头底端设有压缩空气管。
所述主动同步带轮与同步带从动轮外部设有防护罩。
所述辅助支撑轴承架底端通过轴承架支架固定于电涡流测功器上。
本实用新型的优点是:结构设计合理,电涡流测功器具有测试范围广、许容转速高、转动惯量小、测量精度高、对突变负荷响应快的特点,它不受冷却水进水压力变化的影响,尤其适用于各种自动化的试验台架,与具有自动化控制功能的电控柜配套,能实现远距离操纵及数显测量,电涡流测功器在低速、中小功率的加载测试技术上,易于配套实现计算机控制,具有无可比拟的优越性,在对电动机启动的过程中操作便捷。
附图说明
下面结合附图和具体实施方式对本实用新型作进一步详细描述。

具体实施方式
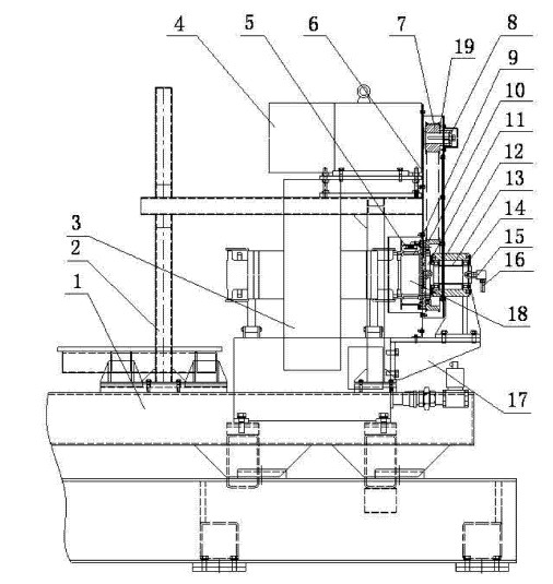
如图 1 所示,本实用新型的启动装置,包括底座架 1 和支撑架 2 ,底座架 1 上部一侧设有支撑架 2 ,底座架 1 上部另一侧设有轴承架支架 17 ,轴承架支架 17 上部设有电涡流测功器 3 ,电涡流测功器 3 的输出端设有气动离合器 5 和同步带从动轮 10 ,气动离合器 5 内部设有离合器芯轴 18 ,离合器芯轴 18 固定在电涡流测功器 3 的主轴上,电涡流测功器 3 上端设有变频电机 4 ,变频电机 4 的电机轴 19 上设有主动同步带轮 7 ,电机轴 19 端部设有电机轴头压盖 8 ,气动离合器 5 与同步带从动轮 10 之间设有过渡轴 11 ,同步带从动轮 10 外部设有轴承 13 ,主动同步带轮 7 与同步带从动轮 10 外部设有防护罩 6 ,轴承 13 外部设有辅助支撑轴承架 12 ,辅助支撑轴承架 12 底端通过轴承架支架 17 固定于电涡流测功器 3 上,轴承 13 端部设有轴承压盖 14 ,轴承压盖 14 上设有旋转气接头 15 ,旋转气接头 15 底端设有压缩空气管 16 。
本实用新型的优点是:结构设计合理,电涡流测功器具有测试范围广、许容转速高、转动惯量小、测量精度高、对突变负荷响应快的特点,它不受冷却水进水压力变化的影响,尤其适用于各种自动化的试验台架,与具有自动化控制功能的电控柜配套,能实现远距离操纵及数显测量,电涡流测功器在低速、中小功率的加载测试技术上,易于配套实现计算机控制,具有无可比拟的优越性,在对电动机启动的过程中操作便捷。
本实用新型的工作原理:启动按钮(控制系统上),控制压缩空气的电磁阀动作,将压缩空气打入离合器,离合器动作,抱紧离合器芯轴,启动电机,电机转动并带动从动轮、离合器及离合器芯轴一同旋转,芯轴带动测功器主轴转动,从而启动待检发动机,当发动机转速达到发动机启动转速后,离合器压缩空气断气,离合器分离,从而完成发动机的启动。
