当前位置:首页->一种传送机构及电池生产设备

 一种传送机构及电池生产设备

【申请公布号:  CN107758204A;申请权利人:中银(宁波)电池有限公司;发明设计人: 胡晓丽; 傅晓冬; 王玉明; 李佳琦;】

摘要:
 
本发明提供了一种传送机构,其包括:纵向支架,在纵向支架一端安装有自适应从动轮,在纵向支架两侧对称分布有连线呈方形的四个中间从动轮;驱动轮,设置为沿横向对称分列纵向支架两侧的一对,所述中间从动轮位于两个驱动轮之间;同步带,所述同步带的首尾两端均固定在纵向支架远离自适应从动轮的一端,所述同步带依次和各中间从动轮、驱动轮、自适应从动轮连接,且合围形成一纵一横的传送轨迹,所述中间从动轮位于横向和纵向传送轨迹交汇处的同步带拐角位置。本传送机构具有传送机构的优点。 
 
主权项:
 
一种传送机构,其特征在于:包括:纵向支架,在纵向支架一端安装有自适应从动轮,在纵向支架两侧对称分布有连线呈方形的四个中间从动轮;驱动轮,设置为沿横向对称分列纵向支架两侧的一对,所述中间从动轮位于两个驱动轮之间;同步带,所述同步带的首尾两端均固定在纵向支架远离自适应从动轮的一端,所述同步带依次和各中间从动轮、驱动轮、自适应从动轮连接,且合围形成一纵一横的传送轨迹,所述中间从动轮位于横向和纵向传送轨迹交汇处的同步带拐角位置。 
 
要求:
 
1.一种传送机构,其特征在于:包括:
 
纵向支架,在纵向支架一端安装有自适应从动轮,在纵向支架两侧对称分布有连线呈方形的四个中间从动轮;
 
驱动轮,设置为沿横向对称分列纵向支架两侧的一对,所述中间从动轮位于两个驱动轮之间;
 
同步带,所述同步带的首尾两端均固定在纵向支架远离自适应从动轮的一端,所述同步带依次和各中间从动轮、驱动轮、自适应从动轮连接,且合围形成一纵一横的传送轨迹,所述中间从动轮位于横向和纵向传送轨迹交汇处的同步带拐角位置。
 
2.根据权利要求1所述的一种传送机构,其特征在于:所述中间从动轮为惰轮,连接在中间从轮轮和纵向支架端部之间的同步带结构贴近纵向支架外侧。
 
3.根据权利要求1所述的一种传送机构,其特征在于:每个驱动轮分别由一个伺服电机驱动。
 
4.根据权利要求1所述的一种传送机构,其特征在于:该传送机构还包括横向支架、可滑动安装于横向支架上的横向固定板,所述横向固定板置于纵向支架后方且纵向支架与横向固定板可滑动连接,在纵向支架前方设置有中间固定板,所述中间从动轮通过轴连接在中间固定板和横向固定板之间。
 
5.根据权利要求4所述的一种传送机构,其特征在于:所述横向支架和横向固定板通过由滑轨、滑块组成的滑动结构连接。
 
6.根据权利要求4所述的一种传送机构,其特征在于:该传送机构整体呈十字形结构设置。
 
7.根据权利要求1所述的一种传送机构,其特征在于:在纵向支架上设有感应器限位块。
 
8.根据权利要求4所述的一种传送机构,其特征在于:在横向支架上设有感应器限位块。
 
9.一种电池生产设备,其特征在于:包括权利要求1至8任一项所述的传送机构。
一种传送机构及电池生产设备
技术领域
 
本发明属于机械技术领域,涉及一种传送机构,特别是一种传送机构及应用该传送机构的电池生产设备。
 
背景技术
 
随着现代科技进步,自动化设备广泛应用于各种生产车间,现有技术中,例如电池托盘搬运机械手等动作机构需要用到传送结构来实现上下、左右等位移,目前市场上机械手等动作机构的上下传送和左右传送是分别通过一组传送结构来实现是,这种传送结构一般通过两组滑轨结构或者两组皮带结构来分别带动动作机构上下、左右位移,每组传送结构在空间上需要错位布置,以避免路径和零件干涉,整体结构布局较繁琐,占用空间较大,后续维护成本也会增加。
 
对此,本发明设计一种采用单一的一条同步带和适配的传动轮组成的传送机构,以同时实现动作机构横向和纵向的位移,本传送机构不仅适用于电池生产技术领域,也适用于需要实现横向和纵向传送的其他适应性生产环境。
 
发明内容
 
本发明的目的是针对现有的技术存在上述问题,提出了一种自动化程度高、通用性广的传送机构。
 
本发明的目的可通过下列技术方案来实现:一种传送机构,包括:
 
纵向支架,在纵向支架一端安装有自适应从动轮,在纵向支架两侧对称分布有连线呈方形的四个中间从动轮;
 
驱动轮,设置为沿横向对称分列纵向支架两侧的一对,所述中间从动轮位于两个驱动轮之间;
 
同步带,所述同步带的首尾两端均固定在纵向支架远离自适应从动轮的一端,所述同步带依次和各中间从动轮、驱动轮、自适应从动轮连接,且合围形成一纵一横的传送轨迹,所述中间从动轮位于横向和纵向传送轨迹交汇处的同步带拐角位置。
 
作为本发明的进一步改进,所述中间从动轮为惰轮,连接在中间从轮轮和纵向支架端部之间的同步带结构贴近纵向支架外侧。
 
作为本发明的进一步改进,每个驱动轮分别由一个伺服电机驱动。
 
作为本发明的进一步改进,该传送机构还包括横向支架、可滑动安装于横向支架上的横向固定板,所述横向固定板置于纵向支架后方且纵向支架与横向固定板可滑动连接,在纵向支架前方设置有中间固定板,所述中间从动轮通过轴连接在中间固定板和横向固定板之间。
 
作为本发明的更进一步改进,所述横向支架和横向固定板通过由滑轨、滑块组成的滑动结构连接。
 
作为本发明的更进一步改进,该传送机构整体呈十字形结构设置。
 
作为本发明的又一种改进,在纵向支架上设有感应器限位块。
 
作为本发明的进一步改进,在横向支架上设有感应器限位块。
 
一种电池生产设备,包括上述传送机构。
 
基于上述技术方案,本发明实施例至少可以产生如下技术效果:本传送机构整体结构设计巧妙,布局紧凑,机械手等动作机构可以安装在纵向支架上且优选靠近纵向支架端部位置,通过控制两个驱动轮正、反转进而实现动作机构的横向或者纵向位移,通过整一条同步带和驱动轮以及辅助从动轮的巧妙配合,构建了一个能可靠、快速、稳定地实现动作机构多个方向位移的传送机构,其轨迹布置在一个整体的面上,自动化程度高,控制方便且工作可靠,较于现有需要通过多个位移结构实现多向位移,本发明结构布局更加紧凑,占用空间更小,通过两个驱动轮进行驱动横向或者纵向位移,而且控制准确性更强,后续整体维护方便;本传送机构适用于需要实现横向和纵向传送的各种适应性生产环境,通用性广,具有广泛的市场应用前景。
 
附图说明
 
下面结合附图对本发明的具体实施方式作进一步详细的说明,其中:
 
一种传送机构及电池生产设备
图1是本发明一较佳实施例的驱动原理示意图。
 
一种传送机构及电池生产设备
图2是本发明一较佳实施例的结构示意图。
 
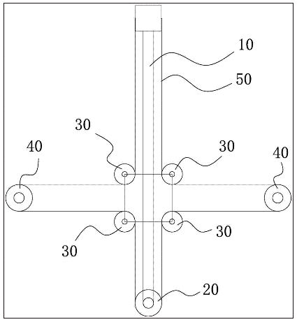
图中,10、纵向支架;20、自适应从动轮;30、中间从动轮;40、驱动轮;50、同步带;60、伺服电机;70、横向支架;80、横向固定板;90、中间固定板;100、感应器限位块。
 
具体实施方式
 
以下是本发明的具体实施例并结合附图,对本发明的技术方案作进一步的描述,但本发明并不限于这些实施例。
 
下面结合图1至图2对本发明提供的技术方案进行更为详细的阐述。
 
如图1和图2所示,本传送机构包括:
 
纵向支架10,在纵向支架10一端安装有自适应从动轮20,在纵向支架10两侧对称分布有连线呈方形的四个中间从动轮30;
 
驱动轮40,设置为沿横向对称分列纵向支架10两侧的一对,所述中间从动轮30位于两个驱动轮40之间;
 
同步带50,所述同步带50的首尾两端均固定在纵向支架10远离自适应从动轮20的一端,所述同步带50依次和各中间从动轮30、驱动轮40、自适应从动轮20连接,且合围形成一纵一横的传送轨迹,所述中间从动轮30位于横向和纵向传送轨迹交汇处的同步带50拐角位置。
 
在本发明中,同步带50纵向方向的对应部位贴近纵向支架10边沿,同步带50与中间从动轮30连接时,位于中间从动轮30靠近上述交汇处的内侧,与驱动轮40和自适应从动轮20连接时,位于轮子朝外的一侧,使得整体呈现张紧效果,保证支撑强度和移动时的稳定性。
 
本传送机构可以实现横向和纵向传送任务,该处的纵横可以是上下、左右、前后等方向的任意两种,并不局限于其中特定的两种,横向和纵向的名称也可以相互置换,并不局限例如纵向位移的方向一定是水平还是竖直。
 
本发明保护一种传送机构,不仅适用于电池生产技术领域,也适用于需要实现横向和纵向传送的其他适应性生产环境,通用性广,具有广泛的市场应用前景;本传送机构整体结构设计巧妙,布局紧凑,机械手等动作机构可以安装在纵向支架10上(动作机构优选安装在纵向支架10安装有自适应从动轮20的一端,使得联动更加平稳)且优选靠近纵向支架10端部位置,通过控制两个驱动轮40正、反转进而实现动作机构的横向或者纵向位移,通过整一条同步带50和驱动轮40以及辅助从动轮的巧妙配合,构建了一个能可靠、快速、稳定地实现动作机构多个方向位移的传送机构,其轨迹布置在一个整体的面上,自动化程度高,控制方便且工作可靠,较于现有需要通过多个位移结构实现多向位移,本发明结构布局更加紧凑,占用空间更小,通过两个驱动轮40进行驱动横向或者纵向位移,而且控制准确性更强,后续整体维护方便。
 
值得一提的是:本发明中的中间从动轮30是惰轮也是承载从动轮,连接在中间从轮轮和纵向支架10端部之间的同步带50结构贴近纵向支架10外侧;进一步保证了支撑的可靠性,其和自适应从动轮20与驱动轮40紧密配合,不仅具有储能效益,还可靠地保证传递效果,改变同步带50的转向但比不会破坏传动比。
 
本案中的驱动轮40工作时相对位置固定,横向位移时,纵向支架10、自适应从动轮20、安装在纵向支架10上的动作机构以及中间从动轮30一同位移;纵向位移时,中间从动轮30相对驱动轮40静止,纵向支架10、自适应从动轮20以及安装在纵向支架10上的动作机构一同位移。
 
进一步的,为使得横向轨迹和纵向轨迹传送和切换更加平稳,整体布局更加紧凑,四个中间从动轮30连线优选呈正方形,这样横向和纵向同步带50合围形成的包围圈宽度相当,保证张紧效果。
 
在本发明中,每个驱动轮40分别由一个伺服电机60驱动,即驱动轮为伺服驱动轮,保证传送的可靠性和稳定性。
 
作为一种优选或可选的实施方式,该传送机构还包括横向支架70、可滑动安装于横向支架70上的横向固定板80,所述横向固定板80置于纵向支架10后方且纵向支架10与横向固定板80可滑动连接,在纵向支架10前方设置有中间固定板90,所述中间从动轮30通过轴连接在中间固定板90和横向固定板80之间。
 
优选两个伺服电机60分别安装在横向支架70两端,本传送机构整体呈十字形结构设置;这样的结构设置,保证了整体传送机构的支撑强度和传送平稳性;整体横向支架70位置固定,纵向支架10连带动作机构纵向位移时,横向固定板80、中间固定板90相对横向支架70静止,自适应从动轮20和纵向支架10联动,纵向支架10在横向固定板80上滑动;纵向支架10连带动作机构横向位移时,带动自适应从动轮20、横向固定板80、中间固定板90、四个中间从动轮30在横向支架70上横向移动。
 
进一步的,为保证连接的可靠性,横向支架70和横向固定板80通过由滑轨、滑块组成的滑动结构连接。
 
为进一步提高自动化控制的便捷性和横向、纵向位移的准确监控;优选在纵向支架10上设有感应器限位块100,在横向支架70上设有感应器限位块100,辅以外部感应器结构即可实现位移准确定位,进而控制机械手等动作机构启停和其他动作。
 
本发明还保护一种应用上述传送机构的电池生产设备,可以将本传送机构应用于电池生产的电池托盘搬运机械手等适应场合,本传送机构优选应用于电池生产领域,电池托盘搬运机械手等动作机构可以安装在纵向支架10上。
 
本文中所描述的具体实施例仅仅是对本发明精神作举例说明。本发明所属技术领域的技术人员可以对所描述的具体实施例做各种各样的修改或补充或采用类似的方式替代,但并不会偏离本发明的精神或者超越所附权利要求书所定义的范围。
 
Copyright © 宁波鄞州盖奇同步带轮有限公司 2007-2022 All Rights Reserved.
电话:4006-574-123/0574-27834692 传真:0574-27834691
地址:浙江省宁波市鄞州区姜山镇蔡郎桥村姜南路39-2 E-Mail:sales@belt-pulley.com  
浙ICP备09102982号 盖奇公司网络部提供技术支持 浙公网安备33021202003319号