当前位置:首页->一种胎面测长装置

 一种胎面测长装置

【授权公告号:CN207081420U;申请权利人:萨驰华辰机械(苏州)有限公司;发明设计人: 陈浩; 李国松;】
  
摘要:
 
本实用新型涉及一种胎面测长装置,属于机械制造技术领域,其包括:第一支架和第二支架,第一支架和第二支架的两端均设有滚轴;第一同步带和第二同步带,第一同步带和第二同步带均与滚轴传动配合;伺服电机,其上设有编码器,伺服电机驱动滚轴转动并带动所述第一同步带和第二同步带转动;起始触发机构,起始触发机构上设有起始信号发射元件;结束触发机构,结束触发机构上设有结束信号发射元件;控制器,电连接于伺服电机、起始触发机构和结束触发机构。本实用新型可以实现精确测量带束层的胎面的长度的目的,从而为供料机构提供一个补偿距离,以方便调整供料机构的速度及补偿的距离。保证了带束层的合格率。 
 
主权项:
 
一种胎面测长装置,其特征在于,包括:输送架,设有第一支架(101)和第二支架(102),所述第一支架(101)和第二支架(102)的两端均设有滚轴;同步带,设有第一同步带(201)和第二同步带(202),所述第一同步带(201)对应包裹于第一支架(101)两端的滚轴的外部,所述第二同步带(202)对应包裹于第二支架(102)两端的滚轴的外部,第一同步带(201)和第二同步带(202)均与所述滚轴传动配合;伺服电机,其上设有编码器,所述伺服电机驱动所述滚轴转动并带动所述第一同步带(201)和第二同步带(202)转动;起始触发机构(2),固定设置在第一支架(101)上,所述起始触发机构(2)上设有起始信号发射元件;结束触发机构(1),固定设置在第二支架(102)上,所述结束触发机构(1)上设有结束信号发射元件;控制器,电连接于伺服电机、起始触发机构和结束触发机构;所述伺服电机的编码器根据所述起始信号发射元件和结束信号发射元件发出的信号计算待检测胎面的长度。 
 
 
要求:
 
1.一种胎面测长装置,其特征在于,包括:
 
输送架,设有第一支架(101)和第二支架(102),所述第一支架(101)和第二支架(102)的两端均设有滚轴;
 
同步带,设有第一同步带(201)和第二同步带(202),所述第一同步带(201)对应包裹于第一支架(101)两端的滚轴的外部,所述第二同步带(202)对应包裹于第二支架(102)两端的滚轴的外部,第一同步带(201)和第二同步带(202)均与所述滚轴传动配合;
 
伺服电机,其上设有编码器,所述伺服电机驱动所述滚轴转动并带动所述第一同步带(201)和第二同步带(202)转动;
 
起始触发机构(2),固定设置在第一支架(101)上,所述起始触发机构(2)上设有起始信号发射元件;
 
结束触发机构(1),固定设置在第二支架(102)上,所述结束触发机构(1)上设有结束信号发射元件;
 
控制器,电连接于伺服电机、起始触发机构和结束触发机构;
 
所述伺服电机的编码器根据所述起始信号发射元件和结束信号发射元件发出的信号计算待检测胎面的长度。
 
2.如权利要求1所述的胎面测长装置,其特征在于,所述起始信号发射元件和结束信号发射元件均为光电开关,所述第一同步带(201)包括在与传动方向相垂直的方向上间隔设置的若干环形皮带,若干所述皮带整体套设在滚轴的外部。
 
3.如权利要求2所述的胎面测长装置,其特征在于,所述结束触发机构(1)包括铰接于所述第二支架(102)上并位于所述第二同步带(202)上方的结束支架(11),平行于所述结束支架(11)并转动连接所述结束支架(11)的检测 轴(12),固定在所述检测轴(12)上的辊轮部(13),以及连接于结束支架(11)的第二触发组件,辊轮部(13)滚压待检测胎面或与第二同步带(202)的上表面接触配合。
 
4.如权利要求3所述的胎面测长装置,其特征在于,所述第二触发组件包括设置在第二支架(102)一端的第二光电支撑架(141),固设于所述第二光电支撑架(141)的第二光电开关(142),及固设于所述检测轴(12)上且位于所述第二光电开关(142)与第二光电支撑架(141)之间的第二挡片(143)。
 
5.如权利要求4所述的胎面测长装置,其特征在于,所述第二光电支撑架(141)与所述第二光电开关(142)相对的一侧设有反光板,所述第二挡片(143)能够伸入所述第二光电开关(142)与所述反光板之间。
 
6.如权利要求3-5任一所述的胎面测长装置,其特征在于,所述起始触发机构(2)包括固定在第一支架(101)上并位于第一同步带(201)上方的起始支架(21),滑动连接在起始支架(21)上的压轮部(22),以及设置在所述压轮部(22)下方并与压轮部(22)配合的第一触发组件,所述压轮部(22)滚压待检测胎面或与第一同步带(201)的上表面接触配合。
 
7.如权利要求6所述的胎面测长装置,其特征在于,所述第一触发组件包括固定在第一支架(101)一侧的第一光电支撑架(231),固设于所述第一光电支撑架(231)的第一光电开关(232),及触发所述第一光电开关(232)的触发部件(233)。
 
8.如权利要求7所述的胎面测长装置,其特征在于,所述触发部件(233)包括固定在第一支架(101)上并背离压轮部(22)设置的基座(2333),转动设置于基座(2333)上的铰接轴(2332),套设在铰接轴(2332)上并可相对基座(2333)转动的长板(2331),所述基座(2333)上远离所述铰接轴(2332) 的一端设有第一支柱(2336),所述长板(2331)的中间朝向压轮部(22)的方向垂直延伸有一导板(23331),所述导板(23331)上固定有与压轮部(22)接触配合的支撑轮(2334),所述导板(23331)上位于支撑轮(2334)的下方设有第二支柱(2337);
 
所述触发部件(233)还包括一拉簧,拉簧的一端固定在第一支柱(2336)上,另一端固定在第二支柱(2337)上,拉簧能够拉动导板(23331)绕基座(2333)转动。
 
9.如权利要求8所述的胎面测长装置,其特征在于,所述长板(2331)的一端垂直凸伸有第一挡片(23332),另一端固接有一驱动气缸(2335),所述驱动气缸(2335)推动长板(2331)的另一端绕铰接轴转动;所述长板(2331)上设有通孔,所述长板(2331)通过通孔套设在铰接轴(2332)上,所述通孔位于驱动气缸(2335)的固定部位与导板(23331)的延伸部位之间。
 
10.如权利要求9所述的胎面测长装置,其特征在于,所述第一支架(101)的另一侧的内壁设有与第一光电开关(232)对应的反光板,所述第一挡片(23332)能够伸入所述第一光电开关(232)与所述反光板之间并触发第一光电开关(232)以发射信号。
 
11.如权利要求10所述的胎面测长装置,其特征在于,所述辊轮部(13)包括固设于所述检测轴(12)的辊轮支架(131),及通过转轴转动连接于所述辊轮支架(131)的辊轮(132);所述压轮部(22)包括滑动连接于起始支架(21)的压轮架(221)及通过转轴转动连接于所述压轮架(221)的压轮(222),所述拉簧可带动所述支撑轮(2334)通过间隙与压轮(222)接触配合。
 
12.如权利要求11所述的胎面测长装置,其特征在于,所述起始支架(21)上固设有滑块(211)和用于阻止所述滑块(211)移动的导轨锁块(212),所 述压轮架(221)上设有与所述滑块(211)滑动配合的滑轨(2211);所述导轨锁块(212)与所述控制器电连接。
 
一种胎面测长装置
技术领域
 
本实用新型涉及轮胎成型设备技术领域,尤其涉及一种胎面测长装置。
 
背景技术
 
轮胎成型过程中需要对胎面进行测长,由于胎面定长裁切后,需要在供料架上传输一段时间才能到达成型鼓进行作业,而胎面是由纯橡胶料制成,因此胎面经过一定时间后会缩短(热胀冷缩),如果传输时间过长,收缩会比较厉害。正常情况下,收缩的距离在一定的范围内仍然可以通过调节成型鼓的转速和与成型鼓配合的供料同步带的速度对胎面进行拉料,从而补偿收缩掉的距离。具体补偿的距离通过测长装置测量得出基础数据后再经过公式计算可知,但如果测长装置测量后发现胎面收缩过度,则无法进行补偿,该料就需报废。
 
实用新型内容
 
本实用新型的目的在于提供一种可以对胎面进行测长的装置。
 
为达此目的,本实用新型采用以下技术方案:
 
一种胎面测长装置,包括:
 
输送架,设有第一支架和第二支架,所述第一支架和第二支架的两端均设有滚轴;
 
同步带,设有第一同步带和第二同步带,所述第一同步带对应包裹于第一支架两端的滚轴的外部,所述第二同步带对应包裹于第二支架两端的滚轴的外部,第一同步带和第二同步带均与所述滚轴传动配合;
 
伺服电机,其上设有编码器,所述伺服电机驱动所述滚轴转动并带动所述第一同步带和第二同步带转动;
 
起始触发机构,固定设置在第一支架上,所述起始触发机构上设有起始信号发射元件;
 
结束触发机构,固定设置在第二支架上,所述结束触发机构上设有结束信号发射元件;
 
控制器,电连接于伺服电机、起始触发机构和结束触发机构;
 
所述伺服电机的编码器根据所述起始信号发射元件和结束信号发射元件发出的信号计算待检测胎面的长度。
 
进一步的,所述起始信号发射元件和结束信号发射元件均为光电开关,包括在与传动方向相垂直的方向上间隔设置的若干环形皮带,若干所述皮带整体套设在滚轴的外部。
 
进一步的,所述结束触发机构包括铰接于所述第二支架上并位于所述第二同步带上方的结束支架,平行于所述结束支架并转动连接所述结束支架的检测轴,固定在所述检测轴上的辊轮部,以及连接于结束支架的第二触发组件,辊轮部滚压待检测胎面或与第二同步带的上表面接触配合。
 
进一步的,所述第二触发组件包括设置在第二支架一端的第二光电支撑架,固设于所述第二光电支撑架的第二光电开关,及固设于所述检测轴上且位于所述第二光电开关与第二光电支撑架之间的第二挡片。
 
进一步的,所述第二光电支撑架与所述第二光电开关相对的一侧设有反光板,所述第二挡片能够伸入所述第二光电开关与所述反光板之间。
 
进一步的,所述起始触发机构包括固定在第一支架上并位于第一同步带上方的起始支架,滑动连接在起始支架上的压轮部,以及设置在所述压轮部下方并与压轮部配合的第一触发组件,所述压轮部滚压待检测胎面或与第一同步带的上表面接触配合。
 
进一步的,所述第一触发组件包括固定在第一支架一侧的第一光电支撑架,固设于所述第一光电支撑架的第一光电开关,及触发所述第一光电开关的触发部件。
 
进一步的,所述触发部件包括固定在第一支架上并背离压轮部设置的基座,转动设置于基座上的铰接轴,套设在铰接轴上并可相对基座转动的长板,所述基座上远离所述铰接轴的一端设有第一支柱,所述长板的中间朝向压轮部的方向垂直延伸有一导板,所述导板上固定有与压轮部接触配合的支撑轮,所述导板上位于支撑轮的下方设有第二支柱;
 
所述触发部件还包括一拉簧,拉簧的一端固定在第一支柱上,另一端固定在第二支柱上,拉簧能够拉动导板绕基座转动。
 
进一步的,所述长板的一端垂直凸伸有第一挡片,另一端固接有一驱动气缸,所述驱动气缸推动长板的另一端绕铰接轴转动;所述长板上设有通孔,所述长板通过通孔套设在铰接轴上,所述通孔位于驱动气缸的固定部位与导板的延伸部位之间。
 
进一步的,所述第一支架的另一侧的内壁设有与第一光电开关对应的反光板,所述第一挡片能够伸入所述第一光电开关与所述反光板之间并触发第一光电开关以发射信号。
 
进一步的,所述辊轮部包括固设于所述检测轴的辊轮支架,及通过转轴转动连接于所述辊轮支架的辊轮;所述压轮部包括滑动连接于起始支架的压轮架及通过转轴转动连接于所述压轮架的压轮,所述拉簧可带动所述支撑轮通过间隙与压轮接触配合。
 
进一步的,所述起始支架上固设有滑块和用于阻止所述滑块移动的导轨锁块,所述压轮架上设有与所述滑块滑动配合的滑轨;所述导轨锁块与所述控制器电连接。
 
有益效果:
 
本实用新型通过将轮胎的胎面置于同步带上,通过收集胎面的头部和尾部分别经过初始触发机构和结束触发机构时发出的信号,并将该信号反馈给伺服电机,再通过伺服电机计算两个信号之间胎面行走的距离,可以实现精确测量胎面的长度的目的,从而为供料机构提供一个补偿距离,以方便调整供料机构的速度及补偿的距离。此外,实用新型提供的胎面测长装置实现了自动化,同时根据测长后对胎面进行补偿,保证了胎面的合格率。
 
附图说明
 
一种胎面测长装置
图1是本实用新型提供的胎面测长装置的结构示意图。
 
一种胎面测长装置
图2是图1在A处的放大图;
 
一种胎面测长装置
图3是图1在B处的放大图;
 
一种胎面测长装置
图4是本实用新型提供的胎面测长装置的触发部件的装配结构示意图;
 
一种胎面测长装置
图5是本实用新型提供的胎面测长装置的触发部件的结构示意图;
 
一种胎面测长装置
图6是本实用新型提供的胎面测长装置的初始检测机构的部分结构示意图。
 
图中:
 
101、第一支架;102、第二支架;
 
201、第一同步带;202、第二同步带;
 
1、结束触发机构;11、结束支架;12、检测轴;13、辊轮部;131、辊轮支架;132、辊轮;
 
141、第二光电支撑架;1411、第一连接片;1412、第二连接片;1413、第三连接片;142、第二光电开关;143、第二挡片;
 
2、起始触发机构;21、起始支架;211、滑块;212、导轨锁块;22、压轮部;221、压轮架;2211、滑轨;222、压轮;
 
231、第一光电支撑架;232、第一光电开关;
 
233、触发部件;2331、长板;23331、导板;2332、铰接轴;2333、基座;23332、第一挡片;2334、支撑轮;2335、驱动气缸;2336、第一支柱;2337、第二支柱。
 
具体实施方式
 
为了使本领域技术人员更好地理解本实用新型的技术方案,下面结合附图并通过具体实施方式来进一步说明本实用新型的技术方案。
 
本实施例提供了一种胎面测长装置,如图1-图6所示,输送架,设有第一支架101和第二支架102,所述第一支架101和第二支架102的两端均设有滚轴;同步带,设有第一同步带201和第二同步带202,所述第一同步带201对应包裹于第一支架101两端的滚轴的外部,所述第二同步带202对应包裹于第二支架102两端的滚轴的外部,第一同步带201和第二同步带202均与所述滚轴传动配合;伺服电机(图中未示出),其上设有编码器(图中未示出),所述伺服电机驱动所述滚轴转动并带动所述第一同步带201和第二同步带202转动;起始触发机构2,固定设置在第一支架101上,所述起始触发机构2上设有起始信号发射元件;结束触发机构1,固定设置在第二支架102上,所述结束触发机构1上设有结束信号发射元件;控制器,电连接于伺服电机、起始触发机构2和结束触发机构1;所述伺服电机的编码器根据所述起始信号发射元件和结束信号发射元件发出的信号计算待检测胎面的长度。其中,所述起始信号发射元件和结束信号发射元件均为光电开关,所述第一同步带201包括在与传动方向相垂直的方向上间隔设置的若干环形皮带,若干所述皮带整体套设在滚轴的外部。
 
本实用新型通过输送架支撑滚轴、同步带、电机、起始触发机构2和结束触发机构1,使得胎面测长装置能够更稳定的进行测量,保证了测量数据的准确性。又将输送架分成第一支架101和第二支架102,分别对应第一同步带201和第二同步带202以及起始触发机构2和结束触发机构1,从而保证了各自的独立性,起始触发机构2和结束触发机构1两者之间互不干涉。
 
本实施例通过将轮胎的胎面置于同步带20上,通过检测胎面的头部和尾部分别经过初始触发机构2和结束触发机构1,可以实现精确测量胎面的长度的目的,从而为供料机构提供一个补偿距离,以方便调整供料机构的速度及补偿的距离。此外,本实施例提供的胎面测长装置实现了自动化,同时根据测长后对胎面进行补偿,保证了胎面的合格率。
 
所述结束触发机构1包括铰接于所述第二支架102上并位于所述第二同步带202上方的结束支架11,平行于所述结束支架11并转动连接所述结束支架11的检测轴12,固定在所述检测轴12上的辊轮部13,以及连接于结束支架11的第二触发组件,辊轮部13滚压待检测胎面或与第二同步带202的上表面接触配合。因此,当胎面的首端进入结束触发结构1时,辊轮部13受到胎面自身高度的影响,被迫抬高,从而带动检测轴12抬高,进而触动第二触发组件,使得第二触发组件发出信号,同样的,当胎面的尾端进入结束触发结构1也会触发一个信号。
 
如图2和图3所示,所述第二触发组件包括设置在第二支架102一端的第二光电支撑架141,固设于所述第二光电支撑架141的第二光电开关142,及固设于所述检测轴12上且位于所述第二光电开关142与第二光电支撑架141之间的第二挡片143;所述第二挡片143的一端能够伸入所述第二光电开关142与第二光电支撑架141之间以触发所述第二光电开关142发射信号。通过检测轴12的运动可以带动第二挡片143运动,从而可以与第二光电开关142配合以使得第二光电开关142被触发,产生相对应的信号。
 
所述第二光电支撑架141与所述第二光电开关142相对的一侧设有反光板(图中未示出),所述第二挡片143能够伸入所述第二光电开关142与所述反光板之间。具体的,第二光电支撑架141包括依次设置的第一连接片1411、第二连接片1412及第三连接片1413,所述第一连接片1411和第三连接片1413分别连接于所述第二连接片1412的两端,且位于每端的两侧;所述第一连接片1411固设于所述第二支架102的内壁上;所述第二光电开关142固设于所述第二连接片1412靠近所述第三连接片1413的一侧;所述反光板设置于所述第三连接片1413靠近所述第二光电开关142的一侧;所述第二挡片143能够伸入所述第二光电开关142与所述第三连接片1413之间。当第二挡片143抬高时,可以挡住第二光电开关142发出的光束,从而反光板无法接收光束,进而第二光电开关142无法接收到光束,因此产生一个信号即胎面进入结束触发机构1的信号,当第二挡片143回落时,反光板可以接收到光束,从而第二光电开关142可以接收到光束,因此会产生另一个信号即胎面离开结束触发机构1的信号。
 
如图4-图6所示,所述起始触发机构2包括固定在第一支架101上并位于第一同步带201上方的起始支架21,滑动连接在起始支架21上的压轮部22,以及设置在所述压轮部22下方并与压轮部22配合的第一触发组件,所述压轮部22滚压待检测胎面或与第一同步带201的上表面接触配合。当胎面通过第一同步带201行至压轮部22处时,压轮部22由于受胎面自身厚度的影响,被迫抬高,并与胎面直接接触;当胎面离开压轮部22后,压轮部22最终回落至与第一同步带201接触的初始位置。
 
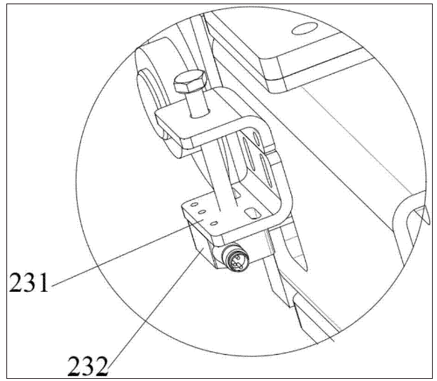
第一触发组件包括固定在第一支架101一侧的第一光电支撑架231,固设于所述第一光电支撑架231的第一光电开关232,及触发所述第一光电开关232的触发部件233。
 
所述触发部件233包括固定在第一支架101上并背离压轮部22设置的基座2333,转动设置于基座2333上的铰接轴2332,套设在铰接轴2332上并可相对基座2333转动的长板2331。所述基座2333上远离铰接轴2332的一端设有第一支柱2336,所述长板2331的中间朝向压轮部22的方向垂直延伸有一导板23331,所述导板23331上固定有与压轮部22接触配合的支撑轮2334,所述导板23331上位于支撑轮2334的下方设有第二支柱2337。如此设置可以通过给长板2331的任意一端施加外力来控制支撑轮2334绕铰接轴2332转动。
 
所述触发部件233还包括一拉簧(图中未示出),拉簧的一端固定在第一支柱2336上,另一端固定在第二支柱2337上,拉簧能够拉动导板23331绕基座2333转动,即拉簧可以以基座2333上的第一支柱2336为基点,通过弹性拉力带动导板23331相对第一支柱2336作必然性的调整,此处需要注意,拉簧起始处于拉伸状态,因此拉簧存在一个拉力,该拉力可以拉动长板2331绕基座2333转动,直至支撑轮2334与压轮部22抵接以平衡该拉力。因此当胎面行至压轮部22与支撑轮2334之间时,支撑轮2334抵接胎面以平衡拉力,当胎面离开压轮部22与支撑轮2334时,支撑轮2334与压轮部22抵接以平衡该拉力。
 
所述长板2331的一端垂直凸伸有第一挡片23332,另一端固接有一驱动气缸2335,所述驱动气缸2335推动长板2331的另一端绕铰接轴2332转动;所述长板2331上设有通孔,所述长板2331通过通孔套设在铰接轴2332上,所述通孔位于驱动气缸2335的固定部位与导板23331的延伸部位之间,因此,导板23331也可以绕铰接轴2332转动。此处说明一下,前述的拉簧为何起始处于拉伸状态,具体的:由于驱动气缸2335起始状态被人工设定为伸出状态,因此驱动气缸2335给长板2331的远离第一挡片23332的一端施加外力,因此第一挡片23332绕铰接轴2332转动;第一支柱2336固定在所述基座2333上远离铰接轴2332的一端,第二支柱2337固定在所述导板23331上的支撑轮2334的下方,导板23331又固定在长板2331上,因此第二支柱2337可以绕铰接轴2332,同时第二支柱2337在转动过程中逐渐远离第一支柱2336,而又因为拉簧的一端固定在第一支柱2336上,另一端固定在第二支柱2337上,从而在第二支柱2337远离第一支柱2336的过程中拉簧拉伸。
 
所述第一支架101的另一侧的内壁设有与第一光电开关232对应的反光板,所述第一挡片23332能够伸入所述第一光电开关232与所述反光板之间并触发第一光电开关232以发射信号。
 
所述辊轮部13包括固设于所述检测轴12的辊轮支架131,及通过转轴转动连接于所述辊轮支架131的辊轮132;所述压轮部22包括滑动连接于起始支架21的压轮架221及通过转轴转动连接于所述压轮架221的压轮222,所述拉簧可带动所述支撑轮2334通过间隙与压轮222接触配合,即支撑轮2334可以通过间隙穿出第一同步带201,从而与压轮222滚接,需要指出的是,此处的间隙为第一同步带201内设置的若干环形皮带之间的间隙。
 
所述起始支架21上固设有滑块211和用于阻止所述滑块211移动的导轨锁块212,所述压轮架221上设有与所述滑块211滑动配合的滑轨2211;所述导轨锁块212与所述控制器电连接。
 
当胎面未经过结束触发机构1时,驱动气缸2335的活动端处于伸出状态,此时,支撑轮2334未与第一同步带201接触。
 
所述辊轮部13与压轮部22均分别靠近结束支架11的中心和起始支架21的中心设置,优选的,分别设置于所述结束支架11的中心和起始支架21的中心,当检测的胎面的检测点为其尖角位置时,由于尖角部分过软容易滑下导致测量不准确,而本实施例采用所述辊轮部13与压轮部22均分别靠近结束支架11的中心和起始支架21的中心设置的方式,避免了由于测量胎面时,当检测的胎面的检测点为其尖角位置而影响实验的精度。此外,本实施例中提供的胎面的头部和尾部均设有由于切割产生的斜坡。
 
本实施例以胎面的胎面长度大于初始触发机构与结束触发机构1之间的距离为例进行说明胎面的测长过程。
 
胎面在进入始触发机构2前,存在一个有料检测机构(未图示),该有料检测机构与结束触发机构1结构相似,且也是利用光电开关触发信号。有料检测机构与起始触发机构2之间存在一个已知距离S,在胎面进入有料检测机构时,触发一个信号T,同时给伺服电机输入一段命令,该命令为:当胎面自有料检测机构信号T触发后,行走距离大于S时,给出一个信号T’。
 
当胎面头部传送至起始触发机构2下方时,由于胎面有一定的厚度和斜度,当胎面的头部逐渐进入所述压轮222下方时,由于胎面具有一定厚度,在胎面的挤压作用下,所述压轮架221的滑轨2211沿起始支架21上设置的滑块211逐渐上移,此时胎面运行距离S;胎面继续行走,有料检测机构发出信号T’,并将信号T’传递至控制器,控制器控制导轨锁块212锁死,然后控制驱动气缸2335收缩,使长板2331绕铰接轴2332旋转,此时,连接于所述导板23331的支撑轮2334翘起并抵压于所述压轮222下方,同时,第一挡片23332随长板2331上移,并置于所述第一支架101的内壁的反光板与第一光电开关232之间,遮挡反光板反射的由第一光电开关232发出的光线,从而触发所述第一光电开关232,第一光电开关232将信号传送给控制器。
 
随着胎面在同步带20上传送,当胎面的头部进入所述结束触发机构1时,胎面的尾部还未进入起始触发机构2,此时,由胎面的头部触发结束触发机构1,具体过程如下:
 
在胎面的挤压下,所述辊轮132抬起一定的高度,从而使得结束支架11相对于所述第二支架102发生转动而翘起,同时,检测轴12随结束支架11转动并提升,从而使得固接于所述检测轴12上的第二挡片143相对于检测轴12向下转动,并从第二光电开关142与反光板之间经过,此时,由于第二挡片143遮挡了第二光电开关142发射至第三连接片1413的反光板的光源的返回路径,从而触发第二光电开关142,第二光电开关142将此刻的信号发送至控制器,并标记时刻T2。
 
当胎面的尾部在同步带20上传送至起始触发机构2下方时,胎面的尾部从压轮架221下方移出时,支撑轮2334在拉簧的作用下随着胎面自身的斜坡(胎面具有一定厚度,当胎面被斜刀裁切时,胎面的切面也是倾斜的)上移,并逐渐与压轮222接触时,第一挡片23332也逐渐上移并置于所述第一支架101的内壁的反光板与第一光电开关232之间,遮挡反光板反射的由第一光电开关232发出的光线,从而触发所述第一光电开关232,第一光电开关232将信号传送给控制器,记录该信号为T1。
 
本实施例中,当胎面长度记为L1,起始触发机构2与结束触发机构1之间的距离记为L2,编码器在T2到T1时间段内转动的圈数为n,滚轮的直径为d,需要指出的是,所述第一支架101和第二支架102的两端的滚轴直径和转速相同,则胎面长度的计算关系式为:
 
L1=L2+nπd
 
从而获得胎面的长度。
 
当胎面长度小于起始触发机构2与结束触发机构1之间的距离时,
 
则胎面长度的计算关系式为:
 
L1=L2-nπd
 
从而获得胎面的长度。
 
注意,以上显示和描述了本实用新型的基本原理和主要特征和本实用新型的优点。本行业的技术人员应该了解,本实用新型不受上述实施方式的限制,上述实施方式和说明书中描述的只是说明本实用新型的原理,在不脱离本实用新型精神和范围的前提下,本实用新型还会有各种变化和改进,这些变化和改进都落入要求保护的本实用新型范围内,本实用新型的要求保护范围由所附的权利要求书及其等效物界定。
 
Copyright © 宁波鄞州盖奇同步带轮有限公司 2007-2022 All Rights Reserved.
电话:4006-574-123/0574-27834692 传真:0574-27834691
地址:浙江省宁波市鄞州区姜山镇蔡郎桥村姜南路39-2 E-Mail:sales@belt-pulley.com  
浙ICP备09102982号 盖奇公司网络部提供技术支持 浙公网安备33021202003319号