当前位置:首页->转向器测试装置及测试方法

 转向器测试装置及测试方法

 
【申请公布号:CN107796344A;申请权利人:比亚迪股份有限公司;发明设计人:刘佳佳; 秦新云;】
 
摘要:
 
本发明涉及一种转向器测试装置及测试方法,该所述转向器测试装置包括电脑、抱紧在所述电机上并用于移动所述电机的机械手、用于撞击所述同步带以激发所述同步带振动发声的探针、用于检测所述同步带的声音频率的皮带张紧力测试仪、连接在所述电机的输出轴上的顶针、设置在所述顶针上且可检测所述电机的输出轴位移的位移传感器及用于保持所述转向器壳体固定不动的定位夹具,所述机械手、皮带张紧力测试仪及位移传感器分别与所述电脑连接,所述电脑可依据所述皮带张紧力测试仪检测到的同步带的声音频率计算得到同步带对应的张紧力。该转向器测试装置可在电机与转向器壳体装配时,保证同步带张紧力,并精确测量电机中心轴线与丝杆中心轴线的距离。 
 
主权项:
 
一种转向器测试装置,其特征在于,该转向器包括转向器壳体、可拆卸地固定在所述转向器壳体上的电机、丝杆、与所述丝杆螺纹连接的丝杆螺母、轴承、大带轮、小带轮及挂在所述大带轮与小带轮之间的同步带,所述转向器壳体具有与所述丝杆同轴的圆柱内腔及与所述电机同轴的电机装配孔,所述电机设置有与所述电机装配孔间隙配合的安装凸台,所述电机的输出轴突出于安装凸台并与所述小带轮连接,所述轴承设置在所述圆柱内腔的内侧壁与所述丝杆螺母的外周之间,所述大带轮固定在所述丝杆螺母上,所述电机中心轴线与所述丝杆中心轴线平行间隔,所述安装凸台可在所述电机装配孔内沿所述电机中心轴线与所述丝杆中心轴线的垂线方向移动,其中,所述转向器测试装置包括电脑、抱紧在所述电机上并用于移动所述电机的机械手、用于撞击所述同步带以激发所述同步带振动发声的探针、用于检测所述同步带的声音频率的皮带张紧力测试仪、连接在所述电机的输出轴上的顶针、设置在所述顶针上且可检测所述电机的输出轴位移的位移传感器及用于保持所述转向器壳体固定不动的定位夹具,所述皮带张紧力测试仪及位移传感器分别与所述电脑连接,所述电脑可依据所述皮带张紧力测试仪检测到的同步带的声音频率计算得到同步带对应的张紧力。 
 
 
要求:
 
1.一种转向器测试装置,其特征在于,该转向器包括转向器壳体、可拆卸地固定在所述转向器壳体上的电机、丝杆、与所述丝杆螺纹连接的丝杆螺母、轴承、大带轮、小带轮及挂在所述大带轮与小带轮之间的同步带,所述转向器壳体具有与所述丝杆同轴的圆柱内腔及与所述电机同轴的电机装配孔,所述电机设置有与所述电机装配孔间隙配合的安装凸台,所述电机的输出轴突出于安装凸台并与所述小带轮连接,所述轴承设置在所述圆柱内腔的内侧壁与所述丝杆螺母的外周之间,所述大带轮固定在所述丝杆螺母上,所述电机中心轴线与所述丝杆中心轴线平行间隔,所述安装凸台可在所述电机装配孔内沿所述电机中心轴线与所述丝杆中心轴线的垂线方向移动,其中,
 
所述转向器测试装置包括电脑、抱紧在所述电机上并用于移动所述电机的机械手、用于撞击所述同步带以激发所述同步带振动发声的探针、用于检测所述同步带的声音频率的皮带张紧力测试仪、连接在所述电机的输出轴上的顶针、设置在所述顶针上且可检测所述电机的输出轴位移的位移传感器及用于保持所述转向器壳体固定不动的定位夹具,所述皮带张紧力测试仪及位移传感器分别与所述电脑连接,所述电脑可依据所述皮带张紧力测试仪检测到的同步带的声音频率计算得到同步带对应的张紧力。
 
2.根据权利要求1所述的转向器测试装置,其特征在于,所述电机的输出轴插接在所述小带轮的中心孔内,且所述电机的输出轴的末端位于所述小带轮的中心孔内,所述电机的输出轴的末端设置有顶针限位孔,所述顶针的一端插入所述顶针限位孔内。
 
3.根据权利要求1所述的转向器测试装置,其特征在于,所述探针由一伺服电机驱动,所述伺服电机连接至所述电脑,所述伺服电机在所述电脑的控制下可驱动所述探针自动反复撞击所述同步带。
 
4.一种采用权利要求1的转向器测试装置的转向器测试方法,其特征在于,包括:
 
通过定位夹具保持转向器壳体固定不动,通过机械手抱紧电机,将顶针的一端与电机的输出轴连接;
 
标定电机中心轴线与丝杆中心轴线的基准距离并反馈给电脑;
 
使机械手沿电机中心轴线与丝杆中心轴线的垂线方向拉电机;
 
利用探针撞击同步带激发同步带振动发声;
 
利用皮带张紧力测试仪检测同步带的声音频率并反馈给电脑;
 
利用位移传感器检测电机的输出轴位移并反馈给电脑;
 
在电脑计算得到的同步带张紧力符合设计要求时,机械手停止移动,电脑计算电机输出轴的位移与上述基准距离之和,以得到电机中心轴线与丝杆中心轴线在此位置的距离。
 
5.根据权利要求4所述的转向器测试方法,其特征在于,将顶针的一端插入电机输出轴上的顶针限位孔内。
 
6.根据权利要求4所述的转向器测试方法,其特征在于,通过一伺服电机驱动探针,伺服电机可驱动探针自动反复撞击同步带。
 
7.根据权利要求4所述的转向器测试方法,其特征在于,在得到电机中心轴线与丝杆中心轴线在此位置的距离之后,通过紧固件将电机与转向器壳体固定。
 
转向器测试装置及测试方法
技术领域
 
本发明属于汽车转向系统技术领域,特别是涉及一种转向器测试装置及测试方法。
 
背景技术
 
汽车电动助力转向器电机中心轴线与丝杠中心轴线的中心距的精确控制对转向器转向运行的平顺舒适以及同步带的寿命等性能有直接的影响;中心距过大,导致皮带张紧力过高,容易导致同步带齿部剪切或断裂,同步带寿命不足,同时造成转向不平顺,转向异响等情况;中心距过小,导致皮带张紧力过低,容易导致同步带跳齿或勾性磨损,同步带寿命不足,同时造成转向不平顺,转向异响等情况;所以,电动助力转向器电机中心轴线与丝杠中心轴线的中心距必须有精确的控制。
 
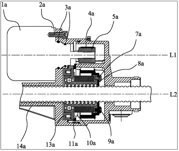
如图1所示,现有电动助力转向器一般采用偏心轮13a旋转来调节电机1a中心轴线L1与丝杠中心轴线L2的距离。
 
偏心轮13a调心原理如下:四点角接触球轴承12a通过螺栓10a和偏心轮13a固连在一起,压紧环11a套在偏心轮13a上,丝杠螺母9a和大带轮8a通过螺钉7a固连在一起,电机1a双止口双密封圈3a和转向器壳体14a的双止口配合起到密封固定作用,保证电机1a中心轴线固定不动,并通过螺栓2a和转向器壳体14a固连在一起,大带轮8a和小带轮5a间挂有同步带4a;在转向器装配时,人工调节偏心轮13a,使偏心轮13a在转向器壳体14a内旋转从而带动丝杠中心轴线L2向下拉,使电机中心轴线L1与丝杠中心轴线L2的距离到达所设计的要求,同时用手拔动同步带4a,用皮带张紧力测试仪检测同步带4a的张紧力是否符合设计要求,但是,该方法只能检测皮带张紧力的具体数值,电机中心轴线与丝杠中心轴线的中心距无法测量。
 
发明内容
 
本发明所要解决的技术问题是针对现有的采用偏心轮结构的转向器无法测量电机中心轴线与丝杠中心轴线的中心距的缺陷,提供一种转向器测试装置。
 
本发明解决上述技术问题所采用的技术方案为:
 
提供一种转向器,该转向器包括转向器壳体、可拆卸地固定在所述转向器壳体上的电机、丝杆、与所述丝杆螺纹连接的丝杆螺母、轴承、大带轮、小带轮及挂在所述大带轮与小带轮之间的同步带,所述转向器壳体具有与所述丝杆同轴的圆柱内腔及与所述电机同轴的电机装配孔,所述电机设置有与所述电机装配孔间隙配合的安装凸台,所述电机的输出轴突出于安装凸台并与所述小带轮连接,所述轴承设置在所述圆柱内腔的内侧壁与所述丝杆螺母的外周之间,所述大带轮固定在所述丝杆螺母上,所述电机中心轴线与所述丝杆中心轴线平行间隔,所述安装凸台可在所述电机装配孔内沿所述电机中心轴线与所述丝杆中心轴线的垂线方向移动,其中,
 
所述转向器测试装置包括电脑、抱紧在所述电机上并用于移动所述电机的机械手、用于撞击所述同步带以激发所述同步带振动发声的探针、用于检测所述同步带的声音频率的皮带张紧力测试仪、连接在所述电机的输出轴上的顶针、设置在所述顶针上且可检测所述电机的输出轴位移的位移传感器及用于保持所述转向器壳体固定不动的定位夹具,所述皮带张紧力测试仪及位移传感器分别与所述电脑连接,所述电脑可依据所述皮带张紧力测试仪检测到的同步带的声音频率计算得到同步带对应的张紧力。
 
进一步地,所述电机的输出轴插接在所述小带轮的中心孔内,且所述电机的输出轴的末端位于所述小带轮的中心孔内,所述电机的输出轴的末端设置有顶针限位孔,所述顶针的一端插入所述顶针限位孔内。
 
进一步地,所述探针由一伺服电机驱动,所述伺服电机连接至所述电脑,所述伺服电机在所述电脑的控制下可驱动所述探针自动反复撞击所述同步带。
 
根据本发明的转向器测试装置,对应的转向器取消了偏心轮,转向器壳体上安装轴承的位置形成为圆柱内腔,电机的安装凸台与转向器壳体上的电机装配孔配合为间隙配合,装配上更加简便,转向器壳体的加工工艺可以更为简单,并且可以实现更高的加工精度,降低了制造成本。本发明的转向器测试装置针对上述的转向器专门设置,该转向器测试装置可在电机与转向器壳体装配时,能够调节电机中心轴线与丝杆中心轴线的距离,以使得同步带张紧力符合设计要求,并精确测量电机中心轴线与丝杆中心轴线的距离。
 
另外,本发明还提供了一种采用上述的转向器测试装置的转向器测试方法,包括:
 
通过定位夹具保持转向器壳体固定不动,通过机械手抱紧电机,将顶针的一端与电机的输出轴连接;
 
标定电机中心轴线与丝杆中心轴线的基准距离并反馈给电脑;
 
使机械手沿电机中心轴线与丝杆中心轴线的垂线方向拉电机;
 
利用探针撞击同步带激发同步带振动发声;
 
利用皮带张紧力测试仪检测同步带的声音频率并反馈给电脑;
 
利用位移传感器检测电机的输出轴位移并反馈给电脑;
 
在电脑计算得到的同步带张紧力符合设计要求时,机械手停止移动,电脑计算电机输出轴的位移与上述基准距离之和,以得到电机中心轴线与丝杆中心轴线在此位置的距离。
 
进一步地,将顶针的一端插入电机输出轴上的顶针限位孔内。
 
进一步地,通过一伺服电机驱动探针,伺服电机可驱动探针自动反复撞击同步带。
 
进一步地,在得到电机中心轴线与丝杆中心轴线在此位置的距离之后,通过紧固件将电机与转向器壳体固定。
 
本发明的转向器测试方法应用于上述转向器测试装置,该转向器测试方法可在电机与转向器壳体装配时,调节电机中心轴线与丝杆中心轴线的距离,以使得同步带张紧力符合设计要求,并精确测量电机中心轴线与丝杆中心轴线的距离。
 
附图说明
 
转向器测试装置及测试方法
图1是现有技术中采用偏心轮的一种转向器;
 
转向器测试装置及测试方法
图2是本发明一实施例提供的转向器过电机中心轴线与丝杆中心轴线的剖视图;
 
转向器测试装置及测试方法
图3是本发明一实施例提供的转向器的侧视图;
 
转向器测试装置及测试方法
图4是本发明一实施例提供的转向器其电机中心轴线与丝杆中心轴线的距离测量示意图。
 
说明书中的附图标记如下:
 
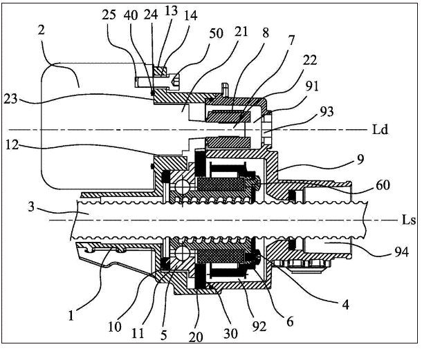
1、转向器壳体;11、圆柱内腔;12、电机装配孔;13、安装凸缘;14、通孔;2、电机;21、安装凸台;22、输出轴;23、端面;24、密封槽;25、螺栓孔;3、丝杆;4、丝杆螺母;5、轴承;6、大带轮;7、小带轮;8、同步带;9、减速机构壳体;91、第一内腔;92、第二内腔;93、顶针孔;94、丝杆过孔;10、内缓冲块;20、外缓冲块;30、压板;40、密封圈;50、螺栓;60、螺钉;70、顶针;80、位移传感器;90、定位夹具;100、机械手;200、探针;300、带张紧力测试仪;400、电脑。
 
具体实施方式
 
为了使本发明所解决的技术问题、技术方案及有益效果更加清楚明白,以下结合附图及实施例,对本发明进行进一步的详细说明。应当理解,此处所描述的具体实施例仅仅用以解释本发明,并不用于限定本发明。
 
本发明一实施例提供测试装置,其用于如图2至图3所示的转向器的测试。
 
如图2及图3所示,该转向器包括转向器壳体1、可拆卸地固定在所述转向器壳体1上的电机2、丝杆3、与所述丝杆3螺纹连接的丝杆螺母4、轴承5、大带轮6、小带轮7及挂在所述大带轮5与小带轮6之间的同步带8,所述转向器壳体1具有与所述丝杆3同轴的圆柱内腔11及与所述电机2同轴的电机装配孔12,所述电机2设置有与所述电机装配孔12间隙配合的安装凸台21,所述电机2的输出轴22突出于安装凸台21并与所述小带轮7连接,所述轴承5设置在所述圆柱内腔11的内侧壁与所述丝杆螺母4的外周之间,所述大带轮6固定在所述丝杆螺母4上,所述电机中心轴线Ld与所述丝杆中心轴线Ls平行间隔,所述安装凸台21可在所述电机装配孔12内沿所述电机中心轴线Ld与所述丝杆中心轴线Ls的垂线方向移动。
 
本实施例中,所述电机装配孔12为圆柱孔,所述安装凸台21呈圆柱状。
 
本实施例中,所述电机2上设置有位于所述安装凸台21一端的端面23,所述转向器壳体1设置有位于所述电机装配孔12一端的安装凸缘13,所述端面23与所述安装凸缘13的外侧面贴合。
 
本实施例中,如图1所示,所述端面23上设置有密封槽24,所述密封槽24内设置有密封圈40,所述密封圈40压紧在所述端面23与安装凸缘13之间;所述端面23上设置有螺栓孔25,所述安装凸缘13上设置有通孔14,所述电机2通过穿过所述通孔14并拧入所述螺栓孔25内的螺栓50可拆卸地固定在所述转向器壳体1上。
 
如图1所示,所述转向器还包括连接在所述转向器壳体1一侧的减速机构壳体9,所述减速机构壳体9具有第一内腔91及第二内腔92,所述第一内腔91朝向所述转向器壳体1的一侧开口,另一侧设置有顶针孔93,所述第二内腔92朝向所述转向器壳体1的一侧开口,另一侧设置有丝杆过孔94,所述丝杆4的一端穿出所述转向器壳体1,另一端穿出所述丝杆过孔94,所述小带轮7位于所述第一内腔91中,所述大带轮6位于所述第二内腔92中。
 
如图1所示,所述减速机构壳体9上位于所述第二内腔92的一侧开口的端部沿轴向压紧所述轴承5。
 
如图1所示,所述转向器还包括内缓冲块10、外缓冲块20及压板30,所述内缓冲块10设置在所述轴承5一侧端面与所述转向器壳体1的内侧壁之间,所述外缓冲块20设置在所述轴承5另一侧端面与所述压板30之间,所述减速机构壳体9上位于所述第二内腔92的一侧开口的端部沿轴向压紧所述压板30,这样,实现了轴承5的轴向限位。
 
本实施例中,所述轴承5可选为四点角接触球轴承。
 
如图1所示,所述电机2的输出轴22插接在所述小带轮7的中心孔内,且所述电机2的输出轴22的末端位于所述小带轮7的中心孔内,所述电机2的输出轴22的末端设置有顶针限位孔(图中未标示)。这样,如图4所示,可将顶针70插入所述顶针限位孔内,在顶针上设置位移传感器80,这样,顶针70能够随电机2一起移动,在丝杆3不动的情况下,即可通过位移传感器80测量电机中心轴线Ld与丝杆中心轴线Ls的相对移动距离。
 
本实施例中,如图1所示,丝杆螺母4设置在所述大带轮6的内侧,所述丝杆螺母4与大带轮6通过螺钉60固定连接。
 
如图4所示,本发明一实施例提供的转向器测试装置包括电脑400、抱紧在所述电机2上并用于移动所述电机2的机械手100、用于撞击所述同步带8以激发所述同步带8振动发声的探针200、用于检测所述同步带8的声音频率的皮带张紧力测试仪300、连接在所述电机2的输出轴22上的顶针200、设置在所述顶针200上且可检测所述电机2的输出轴22位移的位移传感器80及用于保持所述转向器壳体1固定不动的定位夹具90,所述皮带张紧力测试仪300及位移传感器80分别与所述电脑400连接,所述电脑400可依据所述皮带张紧力测试仪300检测到的同步带8的声音频率计算得到同步带8对应的张紧力。
 
顶针200具有相互垂直的垂直段和水平段,水平段连接在所述电机2的输出轴22下,位移传感器80设置在垂直段上,因而,位移传感器80能够检测顶针200的位移,而顶针200与电机的输出轴22连接在一起,因而,位移传感器80能够检测电机的中心轴线Ld的位移。
 
如图4所示,在电机2与转向器壳体1进行装配时,在电机2移动之前,通过定位夹具90把转向器壳体1及减速机构壳体9固定不动,即丝杠中心轴线Ls固定不动,先标定电机中心轴线Ld与丝杆中心轴线Ls的基准距离,然后,通过机械手100抱紧电机2,并沿电机中心轴线Ld与丝杆中心轴线Ls的垂线方向向上拉电机2,安装凸台21可在电机装配孔12内沿电机中心轴线Ld与丝杆中心轴线Ls的垂线方向移动,同步带8张紧,利用探针100撞击同步带8激发同步带8振动发声,利用皮带张紧力测试仪300检测同步带8所产生的声音频率,检测到的声音频率输入至电脑400中,电脑400根据该频率能够计算得到同步带8的张紧力,同时利用位移传感器80测量电机中心轴线Ld与丝杆中心轴线Ls的相对移动距离,位移传感器80实时检测该相对移动距离并输入至电脑400,某一时间,当计算得到的张紧力符合设计要求时,机械手100停止拉动电机2,机械手100将电机2保持在该位置。此时,电机中心轴线Ld与丝杆中心轴线Ls的基准距离与该相对移动距离之和,即为调整后的电机中心轴线Ld与丝杆中心轴线Ls的距离,若该距离满足设计要求,则通过螺栓50将电机2与转向器壳体1固定,即完成了电机2与转向器壳体1的装配。
 
根据本发明的转向器测试装置,对应的转向器取消了偏心轮,转向器壳体上安装轴承的位置形成为圆柱内腔,电机的安装凸台与转向器壳体上的电机装配孔配合为间隙配合,装配上更加简便,转向器壳体的加工工艺可以更为简单,并且可以实现更高的加工精度,降低了制造成本。本发明上述实施例的转向器测试装置针对上述的转向器专门设置,该转向器测试装置可在电机与转向器壳体装配时,调节电机中心轴线与丝杆中心轴线的距离,以使得同步带张紧力符合设计要求,并精确测量电机中心轴线与丝杆中心轴线的距离。
 
另外,本发明一实施例还提供了一种转向器测试方向,包括:
 
通过定位夹具保持转向器壳体固定不动,通过机械手抱紧电机,将顶针的一端与电机的输出轴连接;
 
标定电机中心轴线与丝杆中心轴线的基准距离并反馈给电脑;
 
使机械手沿电机中心轴线与丝杆中心轴线的垂线方向拉电机;
 
利用探针撞击同步带激发同步带振动发声;
 
利用皮带张紧力测试仪检测同步带的声音频率并反馈给电脑;
 
利用位移传感器检测电机的输出轴位移并反馈给电脑;
 
在电脑计算得到的同步带张紧力符合设计要求时,机械手停止移动,电脑计算电机输出轴的位移与上述基准距离之和,以得到电机中心轴线与丝杆中心轴线在此位置的距离。
 
本实施例中,将顶针的一端插入电机输出轴上的顶针限位孔内。
 
本实施例中,通过一伺服电机驱动探针,伺服电机可驱动探针自动反复撞击同步带。
 
本实施例中,在得到电机中心轴线与丝杆中心轴线在此位置的距离之后,通过紧固件(例如螺栓)将电机与转向器壳体固定。
 
以上所述仅为本发明的较佳实施例而已,并不用以限制本发明,凡在本发明的精神和原则之内所作的任何修改、等同替换和改进等,均应包含在本发明的保护范围之内。
 
Copyright © 宁波鄞州盖奇同步带轮有限公司 2007-2022 All Rights Reserved.
电话:4006-574-123/0574-27834692 传真:0574-27834691
地址:浙江省宁波市鄞州区姜山镇蔡郎桥村姜南路39-2 E-Mail:sales@belt-pulley.com  
浙ICP备09102982号 盖奇公司网络部提供技术支持 浙公网安备33021202003319号