当前位置:首页->一种数控冲床自动分度轴用传动机构

 一种数控冲床自动分度轴用传动机构

 
【授权公告号:CN207111855U;申请权利人:青岛大东自动化科技有限公司;发明设计人:杨巍; 谷兆勇; 樊明伟; 张忠振; 赵胜楠;】
 
摘要:
 
本实用新型公开了一种数控冲床自动分度轴用传动机构,包括主动轮装置、涨紧轮装置、上涡轮副、下涡轮副以及同步带,涨紧轮装置包括结构相同的上涨紧轮装置和下涨紧轮装置;同步带依次通过主动轮的外侧、第一上从动轮的外侧、上同步带轮、第二上从动轮的内侧、从动轮的内侧、第一下从动轮的内侧、下同步带轮、第二下从动轮的外侧、主动轮的外侧而形成闭合的传动回路。本实用新型通过一根闭合同步带带动上、下涡轮副的同步旋转,从而实现上、下旋转工位的同步旋转,避免了因多条同步带配合使用带来的精度误差,提高了冲压设备的精度,减少了因精度问题带来的成本增加;同时整个装置结构简单,减少了安装的时间,提高了生产效率。 
 
主权项:
 
一种数控冲床自动分度轴用传动机构,其特征是,包括主动轮装置、涨紧轮装置、上涡轮副、下涡轮副以及同步带,所述涨紧轮装置包括结构相同的上涨紧轮装置和下涨紧轮装置;所述主动轮装置包括主安装座,所述主安装座上设有伺服电机、主动轮、从动轮;所述伺服电机的转轴与自动分度轴电机轴进行同轴固定连接,所述主动轮与自动分度轴电机轴进行同轴固定连接;所述上涨紧轮装置包括上安装座,所述上安装座上设有第一上从动轮和第二上从动轮;所述下涨紧轮装置包括下安装座,所述下安装座上设有第一下从动轮和第二下从动轮;所述上涡轮副上设有上同步带轮,所述下涡轮副上设有下同步带轮;所述同步带依次通过主动轮的外侧、第一上从动轮的外侧、上同步带轮、第二上从动轮的内侧、从动轮的内侧、第一下从动轮的内侧、下同步带轮、第二下从动轮的外侧、主动轮的外侧而形成闭合的传动回路。 
 
要求:
1.一种数控冲床自动分度轴用传动机构,其特征是,包括主动轮装置、涨紧轮装置、上涡轮副、下涡轮副以及同步带,所述涨紧轮装置包括结构相同的上涨紧轮装置和下涨紧轮装置;
 
所述主动轮装置包括主安装座,所述主安装座上设有伺服电机、主动轮、从动轮;所述伺服电机的转轴与自动分度轴电机轴进行同轴固定连接,所述主动轮与自动分度轴电机轴进行同轴固定连接;
 
所述上涨紧轮装置包括上安装座,所述上安装座上设有第一上从动轮和第二上从动轮;
 
所述下涨紧轮装置包括下安装座,所述下安装座上设有第一下从动轮和第二下从动轮;
 
所述上涡轮副上设有上同步带轮,所述下涡轮副上设有下同步带轮;
 
所述同步带依次通过主动轮的外侧、第一上从动轮的外侧、上同步带轮、第二上从动轮的内侧、从动轮的内侧、第一下从动轮的内侧、下同步带轮、第二下从动轮的外侧、主动轮的外侧而形成闭合的传动回路。
 
2.如权利要求1所述的一种数控冲床自动分度轴用传动机构,其特征是,所述上涨紧轮装置与上涡轮副之间设有压紧轮装置,所述压紧轮装置包括压紧座,所述压紧座上设有压紧轮。
 
3.如权利要求1所述的一种数控冲床自动分度轴用传动机构,其特征是,所述伺服电机的转轴安装有第一轴承,所述自动分度轴电机轴的左端安装有第二轴承,所述第一轴承、第二轴承与主安装座固定连接。
 
4.如权利要求1所述的一种数控冲床自动分度轴用传动机构,其特征是,所述上安装座上设有两根平行设置的光轴,所述第一上从动轮和第二上从动轮通过轴承与光轴进行转动连接。
 
5.如权利要求1所述的一种数控冲床自动分度轴用传动机构,其特征是,所述主动轮的中心面与从动轮的中心面重合。
 
6.如权利要求1所述的一种数控冲床自动分度轴用传动机构,其特征是,所述第一上从动轮的中心面与第二上从动轮的中心面重合。
 
7.如权利要求1所述的一种数控冲床自动分度轴用传动机构,其特征是,所述第一下从动轮的中心面与第二下从动轮的中心面重合。
 
 
一种数控冲床自动分度轴用传动机构
技术领域
 
本实用新型涉及数控冲床技术领域,具体涉及一种数控冲床自动分度轴用传动机构。
 
背景技术
 
现有技术中在数控冲床设备中使用同步带传动的自动分度轴传动基本可分为两种结构:
 
第一种是采用三根同步带配合使用,伺服电机安装在下方,以伺服电机为动力源带动打击头方向的旋转工位机构实现旋转;
 
第二种是采用两根同步带配合使用,伺服电机在中间,以伺服电机为动力源带动打击头方向的旋转工位机构实现旋转;
 
上述两种传动机构由于采用至少两段同步带,这样在传动机构动作时就可能会产生偏差,导致上下旋转工位旋转角度存在偏差,导致设备精度出现偏差,甚至降低模具寿命。
 
因此,现有技术需要改进和提升。
 
实用新型内容
 
本实用新型的目的是为克服上述现有技术的不足,提供一种数控冲床自动分度轴用传动机构,可以实现一根同步带带动上下两个旋转工位同步动作,结构简单、安装方便,同时能有效的避免上、下旋转模具旋转不同步的问题。
 
为实现上述目的,本实用新型采用下述技术方案:一种数控冲床自动分度轴用传动机构,包括主动轮装置、涨紧轮装置、上涡轮副、下涡轮副以及同步带,所述涨紧轮装置包括结构相同的上涨紧轮装置和下涨紧轮装置;
 
所述主动轮装置包括主安装座,所述主安装座上设有伺服电机、主动轮、从动轮;所述伺服电机的转轴与自动分度轴电机轴进行同轴固定连接,所述主动轮与自动分度轴电机轴进行同轴固定连接;
 
所述上涨紧轮装置包括上安装座,所述上安装座上设有第一上从动轮和第二上从动轮;
 
所述下涨紧轮装置包括下安装座,所述下安装座上设有第一下从动轮和第二下从动轮;
 
所述上涡轮副上设有上同步带轮,所述下涡轮副上设有下同步带轮;
 
所述同步带依次通过主动轮的外侧、第一上从动轮的外侧、上同步带轮、第二上从动轮的内侧、从动轮的内侧、第一下从动轮的内侧、下同步带轮、第二下从动轮的外侧、主动轮的外侧而形成闭合的传动回路。
 
优选的,所述上涨紧轮装置与上涡轮副之间设有压紧轮装置,所述压紧轮装置包括压紧座,所述压紧座上设有压紧轮。
 
优选的,所述伺服电机的转轴安装有第一轴承,所述自动分度轴电机轴的左端安装有第二轴承,所述第一轴承、第二轴承与主安装座固定连接。
 
优选的,所述上安装座上设有两根平行设置的光轴,所述第一上从动轮和第二上从动轮通过轴承与光轴进行转动连接。
 
优选的,所述主动轮的中心面与从动轮的中心面重合。
 
优选的,所述第一上从动轮的中心面与第二上从动轮的中心面重合。
 
优选的,所述第一下从动轮的中心面与第二下从动轮的中心面重合。
 
本实用新型具有以下有益效果:
 
本实用新型通过一根闭合同步带带动上、下涡轮副的同步旋转,从而实现上、下旋转工位的同步旋转,避免了因多条同步带配合使用带来的精度误差,提高了冲压设备的精度,减少了因精度问题带来的成本增加;同时整个装置结构简单,减少了安装的时间,提高了生产效率。
 
附图说明
 
一种数控冲床自动分度轴用传动机构
图1是本实用新型数控冲床自动分度轴用传动机构的结构示意主视图;
 
一种数控冲床自动分度轴用传动机构
图2是本实用新型数控冲床自动分度轴用传动机构的结构示意俯视图;
 
一种数控冲床自动分度轴用传动机构
图3是图2的A-A向剖面图;
 
一种数控冲床自动分度轴用传动机构
图4是图1的B-B向剖面图;
 
其中0–自动分度轴电机轴,1–主动轮装置,11–主安装座,12–伺服电机, 13–主动轮,2–上涨紧轮装置,21–上安装座,22–光轴,23–第一上从动轮,24–第二上从动轮,3–上涡轮副,31–上同步带轮,4–下涡轮副,41–下同步带轮, 5–下涨紧轮装置,51–下安装座,52–第一下从动轮,53–第二下从动轮,6–同步带,7–压紧轮装置,71–压紧座,72–压紧轮,8–第一轴承,9–第二轴承, 10–轴承。
 
具体实施方式
 
下面结合附图和实施例对本实用新型进一步说明。
 
如图1-2所示,一种数控冲床自动分度轴用传动机构,包括主动轮装置1、涨紧轮装置、上涡轮副3、下涡轮副4以及同步带5,所述涨紧轮装置包括结构相同的上涨紧轮装置2和下涨紧轮装置5;
 
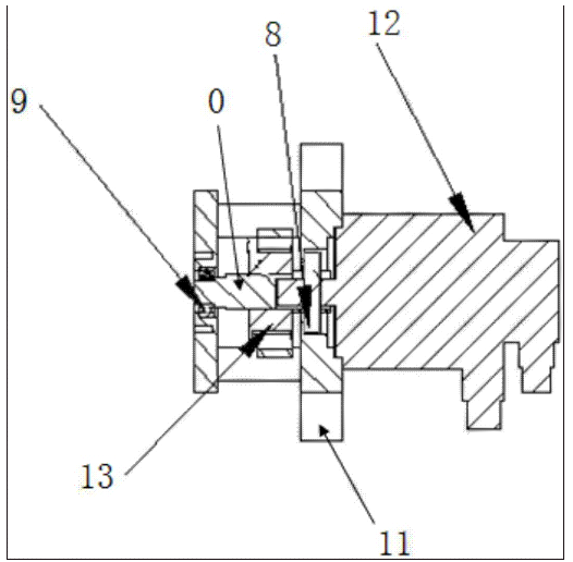
如图3所示,所述主动轮装置1包括主安装座11,所述主安装座11上设有伺服电机12、主动轮13、从动轮;所述伺服电机12的转轴与自动分度轴电机轴0进行同轴固定连接,所述主动轮13与自动分度轴电机轴0进行同轴固定连接;
 
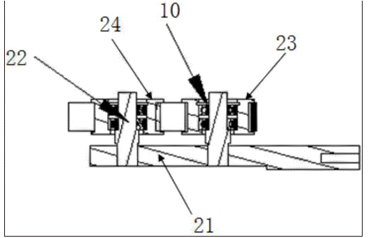
如图4所示,所述上涨紧轮装置2包括上安装座21,所述上安装座21上设有第一上从动轮23和第二上从动轮24;
 
所述下涨紧轮装置5包括下安装座51,所述下安装座上设有第一下从动轮 52和第二下从动轮53;
 
所述上涡轮副3上设有上同步带轮31,所述下涡轮副4上设有下同步带轮 41;
 
所述同步带6依次通过主动轮13的外侧、第一上从动轮23的外侧、上同步带轮31、第二上从动轮24的内侧、从动轮的内侧、第一下从动轮52的内侧、下同步带轮41、第二下从动轮53的外侧、主动轮13的外侧而形成闭合的传动回路。
 
优选的,所述上涨紧轮装置2与上涡轮副3之间设有压紧轮装置7,所述压紧轮装置7包括压紧座71,所述压紧座71上设有压紧轮72;当在主传动装置1、涨紧轮装置、上涡轮副3、下涡轮副4的作用下同步带6能够涨紧实现传动作用的时候,此时同步带6穿过压紧轮72,压紧轮72不起作用;当同步带6无法涨紧时,此时将传送带6与压紧轮72的外侧连接,这是压紧轮72起到对同步带6进行压紧的作用,从而实现传动作用。
 
优选的,所述伺服电机12的转轴安装有第一轴承8,所述自动分度轴电机轴0的左端安装有第二轴承9,所述第一轴承8、第二轴承9与主安装座固定连接。
 
优选的,所述上安装座21上设有两根平行设置的光轴22,所述第一上从动轮23和第二上从动轮24通过轴承10与光轴22进行转动连接。
 
优选的,所述主动轮13的中心面与从动轮的中心面重合。
 
优选的,所述第一上从动轮23的中心面与第二上从动轮24的中心面重合。
 
优选的,所述第一下从动轮52的中心面与第二下从动轮53的中心面重合。
 
一种数控冲床自动分度轴用传动机构,其具体实施方式为:
 
同步带6依次通过主动轮13的外侧、第一上从动轮23的外侧、上同步带轮31、第二上从动轮24的内侧、从动轮的内侧、第一下从动轮52的内侧、下同步带轮41、第二下从动轮53的外侧、主动轮13的外侧而形成闭合的传动回路,从而实现了使用一根同步带将所有部件进行连接
 
本实用新型中所有的旋转组件全部通过一根同步带6来带动,避免了同步带组合使用产生的旋转精度的误差,保证了各部件的同步旋转,有效的避免了在安装过程中人为误差的产生;整体结构简单、紧凑,便于安装、调试,减少了因各部件因旋转角度的误差而导致的冲压精度不准确的隐患,同时延长了模具的使用寿命,降低了材料成本,提高了生产效率。
 
上述虽然结合附图对本实用新型的具体实施方式进行了描述,但并非对本实用新型的限制,所属领域技术人员应该明白,在本实用新型的技术方案的基础上,本领域技术人员不需要付出创造性劳动即可做出的各种修改或变形仍在本实用新型的保护范围以内。
 
Copyright © 宁波鄞州盖奇同步带轮有限公司 2007-2022 All Rights Reserved.
电话:4006-574-123/0574-27834692 传真:0574-27834691
地址:浙江省宁波市鄞州区姜山镇蔡郎桥村姜南路39-2 E-Mail:sales@belt-pulley.com  
浙ICP备09102982号 盖奇公司网络部提供技术支持 浙公网安备33021202003319号