当前位置:首页->一种太阳能电池片旋转90°的旋转机构

 一种太阳能电池片旋转90°的旋转机构

 
【请公布号:CN107845598A;申请权利人:通威太阳能(合肥)有限公司;发明设计人:熊志宏; 施佳伟; 李扣龙; 汤家争; 谢毅;】
 
摘要:
 
本发明公开了一种太阳能电池片旋转90°的旋转机构,包括底座、以及驱动机构和旋转机构;驱动机构,包括伺服电机、同步带轮和同步轮,所述伺服电机固定于底座一侧;旋转机构,包括转盘、吸盘以及转动杆,所述转盘与同步带相连接,所述转盘和吸盘之间通过转动杆固定相连,所述转动杆活动插接于底座中。本发明通过伺服电机带动旋转,旋转快,1秒完成旋转及输送,并且稳定性高、定位准确;而且结构设计紧凑,节省设备空间;采用驱动和主体分离的设计,利用同步带轮带动转盘,有利于设备维修及维护,从而达到旋转太阳能电池片90°的目的,保证整个生产过程电池片线痕方向与滚轮运动方向一致,减少不良的产生。 
 
主权项:
 
一种太阳能电池片旋转90°的旋转机构,包括底座(1)、以及驱动机构和旋转机构,其特征在于:驱动机构,包括伺服电机(2)、同步带轮(3)和同步轮(4),所述伺服电机(2)固定于底座(1)一侧,所述同步带轮(3)与伺服电机(2)相连接,所述同步轮(4)活动设置于底座(1)靠近同步带轮(3)一侧,所述同步轮(4)通过同步带(6)与同步带轮(3)连接;旋转机构,包括转盘(5)、吸盘(7)以及转动杆(8),所述转盘(5)设置于底座(1)靠近同步带轮(3)一侧,所述转盘(5)与同步带(6)相连接,所述吸盘(7)设置于底座(1)远离同步带轮(3)一侧,所述转盘(5)和吸盘(7)之间通过转动杆(8)固定相连,所述转动杆(8)活动插接于底座(1)中。 
 
要求:
 
1.一种太阳能电池片旋转90°的旋转机构,包括底座(1)、以及驱动机构和旋转机构,其特征在于:
 
驱动机构,包括伺服电机(2)、同步带轮(3)和同步轮(4),所述伺服电机(2)固定于底座(1)一侧,所述同步带轮(3)与伺服电机(2)相连接,所述同步轮(4)活动设置于底座(1)靠近同步带轮(3)一侧,所述同步轮(4)通过同步带(6)与同步带轮(3)连接;
 
旋转机构,包括转盘(5)、吸盘(7)以及转动杆(8),所述转盘(5)设置于底座(1)靠近同步带轮(3)一侧,所述转盘(5)与同步带(6)相连接,所述吸盘(7)设置于底座(1)远离同步带轮(3)一侧,所述转盘(5)和吸盘(7)之间通过转动杆(8)固定相连,所述转动杆(8)活动插接于底座(1)中。
 
2.根据权利要求1所述的一种太阳能电池片旋转90°的旋转机构,其特征在于:所述旋转机构设置有不少于两个。
 
3.根据权利要求2所述的一种太阳能电池片旋转90°的旋转机构,其特征在于:相邻的吸盘(7)之间高度差为1-2mm。
 
4.根据权利要求1所述的一种太阳能电池片旋转90°的旋转机构,其特征在于:所述同步带轮(3)与伺服电机(2)之间通过联轴器(21)连接。
 
5.根据权利要求1所述的一种太阳能电池片旋转90°的旋转机构,其特征在于:所述同步带轮(3)、同步轮(4)与转盘(5)处于同一水平面上。
 
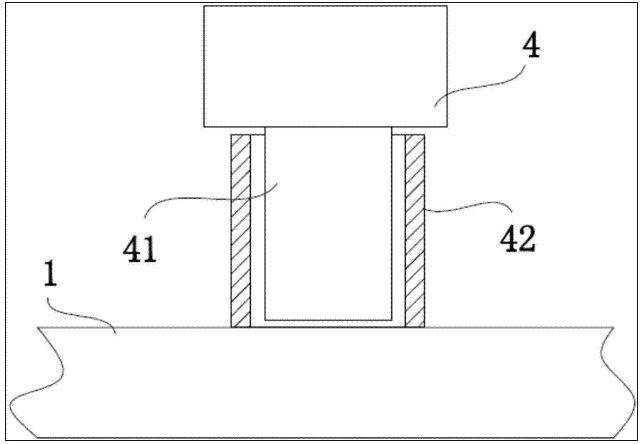
6.根据权利要求1所述的一种太阳能电池片旋转90°的旋转机构,其特征在于:所述同步轮(4)靠近底座(1)一侧固定有固定杆(41),所述固定杆(41)活动插设于支撑套(42)中,所述支撑套(42)固定于底座(1)上。
 
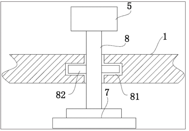
7.根据权利要求1所述的一种太阳能电池片旋转90°的旋转机构,其特征在于:所述底座(1)与转动杆(8)连接处开设有凹槽(81),所述凹槽(81)内活动设置有定位盘(82),所述定位盘(82)与转动杆(8)固定连接。
 
 
一种太阳能电池片旋转90°的旋转机构
技术领域
 
本发明涉及太阳能电池片技术领域,具体为一种太阳能电池片旋转90°的旋转机构。
 
背景技术
 
目前原硅片(金刚线)具有切割方向,为了保证良品率,在太阳能电池片整个生产过程中,电池片(金刚线)方向必须一致,当电池片经过刻蚀自动上料机(GSL-8H)后,电池片方向发生90°改变;为了保证电池片(金刚线)方向一致,急需开发一种用于旋转太阳能电池片的旋转机构。
 
发明内容
 
本发明的目的在于提供一种太阳能电池片旋转90°的旋转机构,以解决上述背景技术中提出的问题。
 
为实现上述目的,本发明提供如下技术方案:
 
一种太阳能电池片旋转90°的旋转机构,包括底座、以及驱动机构和旋转机构;
 
驱动机构,包括伺服电机、同步带轮和同步轮,所述伺服电机固定于底座一侧,所述同步带轮与伺服电机相连接,所述同步轮活动设置于底座靠近同步带轮一侧,所述同步轮通过同步带与同步带轮连接;
 
旋转机构,包括转盘、吸盘以及转动杆,所述转盘设置于底座靠近同步带轮一侧,所述转盘与同步带相连接,所述吸盘设置于底座远离同步带轮一侧,所述转盘和吸盘之间通过转动杆固定相连,所述转动杆活动插接于底座中。
 
优选的,所述旋转机构设置有不少于两个。
 
优选的,相邻的吸盘7之间高度差为1-2mm。
 
优选的,所述同步带轮、同步轮与转盘处于同一水平面上。
 
优选的,所述同步带轮与伺服电机之间通过联轴器连接。
 
优选的,所述同步轮靠近底座一侧固定有固定杆,所述固定杆活动插设于支撑套中,所述支撑套固定于底座上。
 
优选的,所述底座与转动杆连接处开设有凹槽,所述凹槽内活动设置有定位盘,所述定位盘与转动杆固定连接。
 
与现有技术相比,本发明的有益效果是:
 
1、本发明伺服电机旋转,旋转快,1秒完成旋转及输送,并且稳定性高、定位准确;
 
2、本发明结构设计紧凑,节省设备空间;
 
3、本发明采用驱动和主体分离的设计,利用同步带轮带动转盘,有利于设备维修及维护;
 
4、本发明通过带动吸盘旋转,保证整个生产过程电池片线痕方向与滚轮运动方向一致,减少不良的产生。
 
附图说明
 
一种太阳能电池片旋转90°的旋转机构
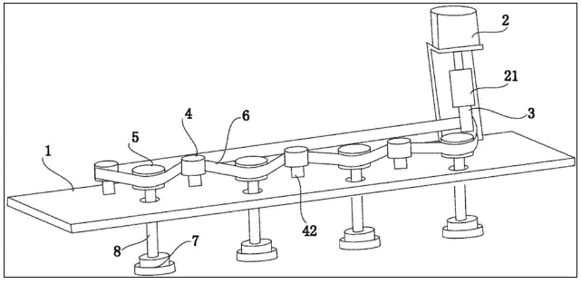
图1为本发明的整体结构示意图;
 
一种太阳能电池片旋转90°的旋转机构
图2为本发明的同步轮与底座安装结构示意图;
 
一种太阳能电池片旋转90°的旋转机构
图3为本发明的转动杆与底座安装结构示意图;
 
一种太阳能电池片旋转90°的旋转机构
图4为本发明机构具体使用时结构示意图。
 
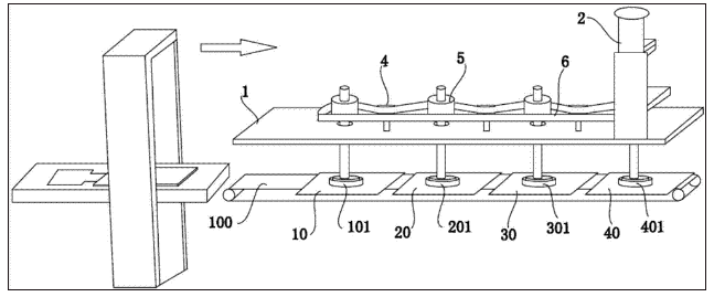
图中:1底座、2伺服电机、21联轴器、3同步带轮、4同步轮、41固定杆、42支撑套、5转盘、6同步带、7吸盘、8转动杆、81凹槽、82定位盘、10一道、20二道、30三道、40四道、100传送带、101吸盘一、201吸盘二、301吸盘三、401吸盘四。
 
具体实施方式
 
下面将结合本发明实施例中的附图,对本发明实施例中的技术方案进行清楚、完整地描述,显然,所描述的实施例仅仅是本发明一部分实施例,而不是全部的实施例。基于本发明中的实施例,本领域普通技术人员在没有做出创造性劳动前提下所获得的所有其他实施例,都属于本发明保护的范围。
 
请参阅图1-4,本发明提供一种技术方案:
 
一种太阳能电池片旋转90°的旋转机构,包括底座1、以及驱动机构和旋转机构,如说明书附图1所示,驱动机构和旋转机构均固定于底座1上。
 
驱动机构,包括伺服电机2、同步带轮3和同步轮4,伺服电机2固定于底座1一侧,伺服电机2的电机主轴竖直向下设置,通过板材将伺服电机2焊接固定在底座1的上方,同步带轮3与伺服电机2相连接,同步带轮3与伺服电机2之间通过联轴器21连接,同步带轮3与电机主轴相接,使得伺服电机2在运动时,可以带动同步带轮3一起转动,同步轮4活动设置于底座1靠近同步带轮3一侧,同步轮4通过同步带6与同步带轮3连接,使得同步带轮3在运动时,通过同步带6带动同步轮4一起运动,如说明书附图2所示,同步轮4靠近底座1一侧固定有固定杆41,固定杆41活动插设于支撑套42中,支撑套42固定于底座1上,同步轮4被同步带6带动时,同步轮4转动,固定杆41在支撑套42内转动,保证同步轮4可以稳定的随着同步带6一起传动,进而对旋转机构进行驱动。
 
旋转机构,包括转盘5、吸盘7以及转动杆8,转盘5设置于底座1靠近同步带轮3一侧,转盘5与同步带6相连接,同步带轮3、同步轮4与转盘5处于同一水平面上,使得同步带轮3、同步轮4与转盘5可以同时同步的更好的连接同步带6,使得同步带6在同步带轮3的主动带动下,能够更好的同时带动同步轮4和转盘5一起转动,吸盘7设置于底座1远离同步带轮3一侧,吸盘7固定在底座1下方,转盘5和吸盘7之间通过转动杆8固定相连,转动杆8活动插接于底座1中,使得转动杆8可以自由转动,如说明书附图3所示,底座1与转动杆8连接处开设有凹槽81,凹槽81内活动设置有定位盘82,定位盘82与转动杆8固定连接,定位盘82在凹槽81内可以自由转动,配合着转动杆8,使得转动杆8只可以在底座1中转动,不会与底座1发生相对位移,从而带动吸盘7开始转动,完成90°的旋转。
 
作为一个优选,旋转机构设置有不少于两个,如说明书附图1所示,旋转机构设置四个,即对应的吸盘7也设置有四个,使得可以同时操作多个电池片进行旋转,且相邻的吸盘7之间高度差为1-2mm,以保证电池片在旋转时互不干扰。
 
具体实施例:
 
如说明书附图4所示,电池片在传送带100上由图中箭头传输方向从左至右传送,到位后上料机的感应器检测到电池片,传输电机停止转动并由顶起气缸顶起电池片,依次到达四道40、三道30、二道20、一道10的位置,同时四个吸盘7将各自对应的4张电池片吸起后,手动控制伺服电机2旋转90°;或者使用PLC控制器,当PLC得到接近感应器信号后,控制伺服电机2旋转90°,同步带轮3带动吸盘7旋转90°,伺服电机2在90°定位完成后吸盘7断气,电池片被放在传送带100上,继续进行下一步。
 
为了避免电池片旋转时候,之间出现摩擦及碰撞,造成不必要的损失,控制吸盘7距离传送带100的高度不小于1mm,即吸盘一101与吸盘三301高于顶起传送带100刚好为1mm,同时调整吸盘二201与吸盘四401的高度比吸盘一101与吸盘三301高1mm,以保证电池片旋转互不干扰。
 
本发明采用伺服电机2控制非金属伯努利吸盘7旋转,伺服电机2作为旋转吸盘7的旋转动力,非金属伯努利吸盘7可以避免对电池片造成划伤及金属离子污染,传送带100每道上各有一个吸盘7,人工或者PLC控制电磁阀通气来控制吸盘7是否具有吸附力,当电池片传送到指定位置时,通过电磁阀的操作,使得此时吸盘7将电池片吸起,伺服电机2通过同步带6使每道的吸盘7旋转90°,随后PLC或者人工控制电磁阀断气,电池片被放下,进行后续流程。
 
尽管已经示出和描述了本发明的实施例,对于本领域的普通技术人员而言,可以理解在不脱离本发明的原理和精神的情况下可以对这些实施例进行多种变化、修改、替换和变型,本发明的范围由所附权利要求及其等同物限定。
 
Copyright © 宁波鄞州盖奇同步带轮有限公司 2007-2022 All Rights Reserved.
电话:4006-574-123/0574-27834692 传真:0574-27834691
地址:浙江省宁波市鄞州区姜山镇蔡郎桥村姜南路39-2 E-Mail:sales@belt-pulley.com  
浙ICP备09102982号 盖奇公司网络部提供技术支持 浙公网安备33021202003319号