当前位置:首页->3D打印机Y轴组件

 3D打印机Y轴组件

 
【授权公告号:CN207140361U;申请权利人:长兴时印科技有限公司;发明设计人:邓海飞; 肖邦银; 叶勇; 朱大千; 李景元;】
 
摘要:
 
本实用新型公开了一种3D打印机Y轴组件,旨在解决3D打印机Y轴组件结构复杂,运行平稳性和精准性不佳的不足。该实用新型包括可竖向升降的Y轴导梁、水平设置的Y轴导轨、Y轴电机,Y轴导轨上可滑动安装有Y轴滑块,Y轴导梁上安装有由Y轴电机带动的水平设置的Y轴同步带,Y轴滑块与Y轴同步带连接,Y轴滑块上安装打印喷头。这种3D打印机Y轴组件的结构简单,运行平稳性和精准性好,有利于提高打印精度。 
 
主权项:
 
一种3D打印机Y轴组件,其特征是,包括可竖向升降的Y轴导梁、水平设置的Y轴导轨、Y轴电机,Y轴导轨上可滑动安装有Y轴滑块,Y轴导梁上安装有由Y轴电机带动的水平设置的Y轴同步带,Y轴滑块与Y轴同步带连接,Y轴滑块上安装打印喷头。 
 
要求:
1.一种3D打印机Y轴组件,其特征是,包括可竖向升降的Y轴导梁、水平设置的Y轴导轨、Y轴电机,Y轴导轨上可滑动安装有Y轴滑块,Y轴导梁上安装有由Y轴电机带动的水平设置的Y轴同步带,Y轴滑块与Y轴同步带连接,Y轴滑块上安装打印喷头。
 
2.根据权利要求1所述的3D打印机Y轴组件,其特征是,Y轴滑块呈槽钢状结构,Y轴滑块抱住Y轴导轨的两侧,Y轴导轨两侧壁上均设有Y轴滑槽,Y轴滑块内壁上和Y轴滑槽对应设有Y轴凸条,Y轴凸条与Y轴滑槽适配插装。
 
3.根据权利要求1所述的3D打印机Y轴组件,其特征是,Y轴导轨上紧固连接有限位块,限位块上安装有行程开关,Y轴滑块可抵接到行程开关上。
 
4.根据权利要求1或2或3所述的3D打印机Y轴组件,其特征是,Y轴电机输出轴上连接Y轴主动带轮,Y轴导梁上安装Y轴从动带轮,Y轴同步带连接在Y轴主动带轮和Y轴从动带轮之间。
 
5.根据权利要求1或2或3所述的3D打印机Y轴组件,其特征是,Y轴滑块与打印喷头之间连接有L形的连接板,连接板包括竖直部和水平部,Y轴同步带夹持在水平部与Y轴滑块下端之间,水平部朝向Y轴滑块的表面呈锯齿面状结构。
 
 
3D打印机Y轴组件
技术领域
 
本实用新型涉及一种3D打印机,更具体地说,它涉及一种3D打印机Y轴组件。
 
背景技术
 
三维打印是将三维造型以一定的层厚分层,打印头根据每一层的数据逐层打印,堆叠成一个三维实体,相对于传统制造手段,三维打印可以制造外形较为复杂的零件,利用三维打印技术可以制造出传统食品加工手段无法加工出的造型。三维打印技术通过X轴、Y轴、Z轴的移动,实现三维空间的移动,但是目前使用的很多3D打印机Y轴组件结构复杂,运行平稳性和精准性不佳。
 
实用新型内容
 
本实用新型克服了3D打印机Y轴组件结构复杂,运行平稳性和精准性不佳的不足,提供了一种3D打印机Y轴组件,它的结构简单,运行平稳性和精准性好,有利于提高打印精度。
 
为了解决上述技术问题,本实用新型采用以下技术方案:一种3D打印机Y轴组件,包括可竖向升降的Y轴导梁、水平设置的Y轴导轨、Y轴电机,Y轴导轨上可滑动安装有Y轴滑块,Y轴导梁上安装有由Y轴电机带动的水平设置的Y轴同步带,Y轴滑块与Y轴同步带连接,Y轴滑块上安装打印喷头。
 
3D打印机Y轴组件运行时,Y轴电机工作,通过Y轴同步带带动Y轴滑块在Y轴滑轨上滑动,从而带动打印喷头实现Y轴移动,Y轴滑轨对Y轴滑块起到了很好的导向和定位作用,防止Y轴滑块滑动过程中出现偏移现象,有利于提高喷头的移动精度,从而提高打印精度。这种3D打印机Y轴组件的结构简单,运行平稳性和精准性好,有利于提高打印精度。
 
作为优选,Y轴滑块呈槽钢状结构,Y轴滑块抱住Y轴导轨的两侧,Y轴导轨两侧壁上均设有Y轴滑槽,Y轴滑块内壁上和Y轴滑槽对应设有Y轴凸条,Y轴凸条与Y轴滑槽适配插装。Y轴滑块通过两侧的Y轴凸条与Y轴导轨两侧的Y轴滑槽适配插装,确保了Y轴滑块的平稳精准滑动。
 
作为优选,Y轴导轨上紧固连接有限位块,限位块上安装有行程开关,Y轴滑块可抵接到行程开关上。限位块和行程开关对Y轴滑块进行Y轴限位,确保打印机的平稳可靠运行。
 
作为优选,Y轴电机输出轴上连接Y轴主动带轮,Y轴导梁上安装Y轴从动带轮,Y轴同步带连接在Y轴主动带轮和Y轴从动带轮之间。Y轴电机工作带动Y轴主动带轮转动,从而实现Y轴同步带运行,运行平稳可靠。
 
作为优选,Y轴滑块与打印喷头之间连接有L形的连接板,连接板包括竖直部和水平部,Y轴同步带夹持在水平部与Y轴滑块下端之间,水平部朝向Y轴滑块的表面呈锯齿面状结构。连接板便于Y轴滑块和打印喷头之间的连接,水平部表面的锯齿面状结构有利于增加对Y轴同步带的夹持力,使Y轴滑块与Y轴同步带的连接更加可靠。
 
与现有技术相比,本实用新型的有益效果是:3D打印机Y轴组件的结构简单,运行平稳性和精准性好,有利于提高打印精度。
 
附图说明
 
3D打印机Y轴组件
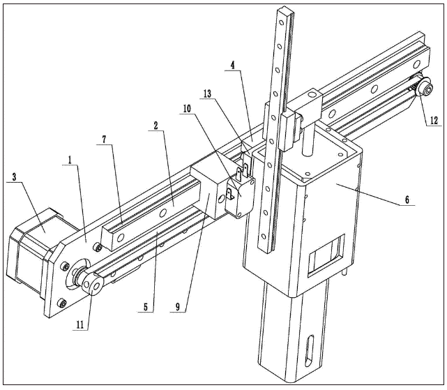
图1是本实用新型的一种结构示意图;
 
3D打印机Y轴组件
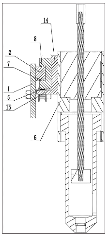
图2是本实用新型的局部剖视图;
 
图中:1、Y轴导梁,2、Y轴导轨,3、Y轴电机,4、Y轴滑块,5、Y轴同步带,6、打印喷头,7、Y轴滑槽,8、Y轴凸条,9、限位块,10、行程开关,11、Y轴主动带轮,12、Y轴从动带轮,13、连接板,14、竖直部,15、水平部。
 
具体实施方式
 
下面通过具体实施例,并结合附图,对本实用新型的技术方案作进一步的具体描述:
 
实施例:一种3D打印机Y轴组件(参见附图1、附图2),包括可竖向升降的Y轴导梁1、水平设置的Y轴导轨2、Y轴电机3,Y轴导轨上可滑动安装有Y轴滑块4,Y轴导梁上安装有由Y轴电机带动的水平设置的Y轴同步带5,Y轴滑块与Y轴同步带连接,Y轴滑块上安装打印喷头6。Y轴滑块呈槽钢状结构,Y轴滑块抱住Y轴导轨的两侧,Y轴导轨两侧壁上均设有Y轴滑槽7,Y轴滑块内壁上和Y轴滑槽对应设有Y轴凸条8,Y轴凸条与Y轴滑槽适配插装。Y轴导轨上紧固连接有限位块9,限位块上安装有行程开关10,Y轴滑块可抵接到行程开关上。Y轴电机输出轴上连接Y轴主动带轮11,Y轴导梁上安装Y轴从动带轮12,Y轴同步带连接在Y轴主动带轮和Y轴从动带轮之间。Y轴滑块与打印喷头之间连接有L形的连接板13,连接板包括竖直部14和水平部15,Y轴同步带夹持在水平部与Y轴滑块下端之间,水平部朝向Y轴滑块的表面呈锯齿面状结构。
 
3D打印机Y轴组件运行时,Y轴电机工作,通过Y轴同步带带动Y轴滑块在Y轴滑轨上滑动,从而带动打印喷头实现Y轴移动,Y轴滑轨对Y轴滑块起到了很好的导向和定位作用,防止Y轴滑块滑动过程中出现偏移现象,有利于提高喷头的移动精度,从而提高打印精度。这种3D打印机Y轴组件的结构简单,运行平稳性和精准性好,有利于提高打印精度。
 
以上所述的实施例只是本实用新型的一种较佳的方案,并非对本实用新型作任何形式上的限制,在不超出权利要求所记载的技术方案的前提下还有其它的变体及改型。
 
Copyright © 宁波鄞州盖奇同步带轮有限公司 2007-2022 All Rights Reserved.
电话:4006-574-123/0574-27834692 传真:0574-27834691
地址:浙江省宁波市鄞州区姜山镇蔡郎桥村姜南路39-2 E-Mail:sales@belt-pulley.com  
浙ICP备09102982号 盖奇公司网络部提供技术支持 浙公网安备33021202003319号