当前位置:首页->一种可升降XY辐射检测装置

 一种可升降X‑γ辐射检测装置

 
【授权公告号:CN207181704U;申请权利人:天津希福科技有限公司;发明设计人:薛鸿军;】
 
摘要:
 
本实用新型提供一种可升降X‑γ辐射检测装置,其特征在于:所述可升降X‑γ辐射检测装置包括可移动的小车以及升降装置,所述小车的中部垂直设置有升降装置,所述升降装置包括:竖直设置的支架,所述支架的一侧设置有竖直设置的轨道;设置于所述支架底端的主动轮和设置于所述支架顶端的从动轮,所述主动轮和所述从动轮通过同步带连接,所述主动轮和所述从动轮设置于所述轨道的两端,所述主动轮连接有电机,所述电机设置于所述支架的另一侧;设置于所述同步带上的辐射检测装置,所述辐射检测装置的一端连接有滑轮,所述滑轮设置于所述轨道内。 
 
主权项:
 
一种可升降X‑γ辐射检测装置,其特征在于:所述可升降X‑γ辐射检测装置包括可移动的小车以及升降装置,所述小车的中部垂直设置有升降装置,所述升降装置包括:竖直设置的支架,所述支架的一侧设置有竖直设置的轨道;设置于所述支架底端的主动轮和设置于所述支架顶端的从动轮,所述主动轮和所述从动轮通过同步带连接,所述主动轮和所述从动轮设置于所述轨道的两端,所述主动轮连接有电机,所述电机设置于所述支架的另一侧;设置于所述同步带上的辐射检测装置,所述辐射检测装置的一端连接有滑轮,所述滑轮设置于所述轨道内。 
 
要求:
 
1.一种可升降X-γ辐射检测装置,其特征在于:所述可升降X-γ辐射检测装置包括可移动的小车以及升降装置,所述小车的中部垂直设置有升降装置,所述升降装置包括:
 
竖直设置的支架,所述支架的一侧设置有竖直设置的轨道;
 
设置于所述支架底端的主动轮和设置于所述支架顶端的从动轮,所述主动轮和所述从动轮通过同步带连接,所述主动轮和所述从动轮设置于所述轨道的两端,所述主动轮连接有电机,所述电机设置于所述支架的另一侧;
 
设置于所述同步带上的辐射检测装置,所述辐射检测装置的一端连接有滑轮,所述滑轮设置于所述轨道内。
 
2.根据权利要求1所述的可升降X-γ辐射检测装置,其特征在于:所述辐射检测装置包括主机架、设置于所述主机架上的探头仓,所述探头仓内设置有伸缩机构以及X-γ剂量率探头,其中,所述伸缩机构包括:
 
水平伸缩机构,其第一端固定在所述主机架上,其第二端沿垂直于所述主机架的外端面方向是可伸缩的;
 
垂直伸缩机构,其第一端连接于所述水平伸缩机构上,其第二端固定所述X-γ剂量率探头,其中所述垂直伸缩机构的第二端是可伸缩的以使所述X-γ剂量率探头能够靠近或远离所述水平伸缩机构;
 
旋转机构,设置在所述水平伸缩机构和所述垂直伸缩机构之间,驱动所述垂直伸缩机构旋转以使所述X-γ剂量率探头在大致平行于所述主机架的外端面的方向的第一状态以及平行于所述主机架的第二状态之间转换。
 
3.根据权利要求2所述的可升降X-γ辐射检测装置,其特征在于:所述水平伸缩机构包括第一伸缩组件和第二伸缩组件,所述第一伸缩组件和第二伸缩组件相互间隔地设置于所述主机架上,所述垂直伸缩机构连接在所述第一伸缩组件和所述第二伸缩组件之间。
 
4.根据权利要求2所述的可升降X-γ辐射检测装置,其特征在于:所述探头仓上设置有仓盖。
 
5.根据权利要求1所述的可升降X-γ辐射检测装置,其特征在于:所述小车上活动安装有用于保持小车平衡的配平砖。
 
一种可升降X-γ辐射检测装置
技术领域
 
本实用新型涉及辐射剂量测量技术领域,具体涉及一种可升降X-γ辐射检测装置。
 
背景技术
 
核技术应用技术日益发展,放射源可能放置于较高的位置或比较隐蔽的位置,对于普通的检测装置只能单一地检测某一区域的放射源,在进行其他位置的检测或者深入到隐蔽位置的检测时,普通的检测装置非常不方便。
 
实用新型内容
 
有鉴于此,本实用新型提供一种可升降X-γ辐射检测装置,以解决现有技术中的问题。
 
本实用新型提供一种可升降X-γ辐射检测装置,其特征在于:所述可升降X-γ辐射检测装置包括可移动的小车以及升降装置,所述小车的中部垂直设置有升降装置,所述升降装置包括:
 
竖直设置的支架,所述支架的一侧设置有竖直设置的轨道;
 
设置于所述支架底端的主动轮和设置于所述支架顶端的从动轮,所述主动轮和所述从动轮通过同步带连接,所述主动轮和所述从动轮设置于所述轨道的两端,所述主动轮连接有电机,所述电机设置于所述支架的另一侧;
 
设置于所述同步带上的辐射检测装置,所述辐射检测装置的一端连接有滑轮,所述滑轮设置于所述轨道内。
 
优选地,所述辐射检测装置包括主机架、设置于所述主机架上的探头仓,所述探头仓内设置有伸缩机构以及X-γ剂量率探头,其中,所述伸缩机构包括:
 
水平伸缩机构,其第一端固定在所述主机架上,其第二端沿垂直于所述主机架的外端面方向是可伸缩的;
 
垂直伸缩机构,其第一端连接于所述水平伸缩机构上,其第二端固定所述X-γ剂量率探头,其中所述垂直伸缩机构的第二端是可伸缩的以使所述X-γ剂量率探头能够靠近或远离所述水平伸缩机构;
 
旋转机构,设置在所述水平伸缩机构和所述垂直伸缩机构之间,驱动所述垂直伸缩机构旋转以使所述X-γ剂量率探头在大致平行于所述主机架的外端面的方向的第一状态以及平行于所述主机架的第二状态之间转换。
 
优选地,所述水平伸缩机构包括第一伸缩组件和第二伸缩组件,所述第一伸缩组件和第二伸缩组件相互间隔地设置于所述主机架上,所述垂直伸缩机构连接在所述第一伸缩组件和所述第二伸缩组件之间。
 
优选地,所述探头仓上设置有仓盖。
 
优选地,所述小车上活动安装有用于保持小车平衡的配平砖。
 
本实用新型的辐射检测装置设置于所述同步带上,所述电机驱动所述主动轮转动,所述主动轮带动所述同步带向上或者向下运动,从而带动所述辐射检测装置向上或者向下运动,从而实现所述辐射检测装置的升降;本实用新型的辐射检测装置设置有探头仓,所述X-γ剂量率探头设置于所述探头仓内,通过所述水平伸缩机构,所述X-γ剂量率探头可以伸出所述探头仓进行探测,通过所述垂直伸缩机构,所述X-γ剂量率探头可以进一步伸缩,并且,所述水平伸缩机构和所述垂直伸缩机构之间还设置有旋转机构,通过所述选机构,所述垂直伸缩机构可以与所述水平伸缩机构在同一直线内,也可以与所述水平伸缩机构成90度;所述探头仓上设置有仓盖,当所述辐射检测装置不使用时,将所述X-γ剂量率探头收回到所述探头仓内,并将所述仓盖盖上,防止所述X-γ剂量率探头被损坏。
 
附图说明
 
一种可升降X‑γ辐射检测装置
图1是本实用新型的可升降X-γ辐射检测装置的结构示意图;
 
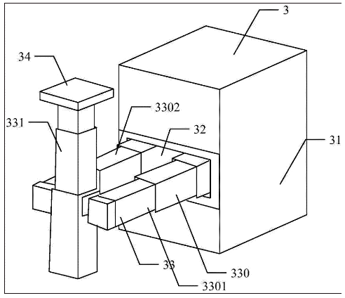
一种可升降X‑γ辐射检测装置
图2是本实用新型的辐射检测装置的机构示意图。
 
具体实施方式
 
为了更好的理解本实用新型,下面结合具体实施例和附图对本实用新型进行进一步的描述。
 
图1是本身也正在的可升降X-γ辐射检测装置的结构示意图,所述可升降X-γ辐射检测装置包括可移动的小车1以及升降装置2,所述小车1的中部垂直设置有升降装置2。
 
进一步的,所述升降装置包括:支架21,所述支架21竖直设置于所述小车1上,所述支架21的一侧设置有竖直设置的轨道22(图中未示出);所述支架21的底端设置有主动轮23,所述支架的顶端设置有从动轮24,所述主动轮23和所述从动轮24通过同步带25连接,所述主动轮23和所述从动轮24设置于所述轨道22的两端,所述主动轮23连接有电机26,所述电机26设置于所述支架21的另一侧。
 
所述同步带25上设置有辐射检测装置3,所述辐射检测装置3的一端连接有滑轮,所述滑轮设置于所述轨道22内。
 
本实用新型的辐射检测装置3设置于所述同步带25上,所述电机26驱动所述主动轮23转动,所述主动轮23带动所述同步带25向上或者向下运动,从而带动所述辐射检测装置3向上或者向下运动,从而实现所述辐射检测装置的升降。
 
进一步的,如图2所示,所述辐射检测装置3包括主机架31、设置于所述主机架31上的探头仓32,所述探头仓32内设置有伸缩机构33以及X-γ剂量率探头34。
 
进一步的,所述伸缩机构33包括水平伸缩机构330、垂直伸缩机构331以及旋转机构。
 
所述水平伸缩机构331的第一端固定在主机架31上,第二端沿垂直于主机架31的外端面方向为可伸缩式。垂直伸缩机构331的第一端连接于所述水平伸缩机构上,第二端固定X-γ剂量率探头34。这就使得垂直伸缩机构331的第二端为可伸缩地,以使得X-γ剂量率探头34能够靠近或远离所述水平伸缩机构。X-γ剂量率探头34固定在垂直伸缩机构331的顶端。另外,所述旋转机构设置在所述水平伸缩机构和所述垂直伸缩机构之间,垂直伸缩机构331通过所述旋转机构与所述水平伸缩机构连接,以此驱动垂直伸缩机构331旋转。所述旋转机构通过驱动垂直伸缩机构331旋转以使X-γ剂量率探头34在大致平行于主机架31的外端面的方向的第一状态以及平行于所述主机架的第二状态之间转换。
 
所述水平伸缩机构330优选地包括第一伸缩组件3301和第二伸缩组件3302,垂直伸缩机构331连接在第一伸缩组件3301和第二伸缩组件3302之间。第一伸缩组件3301和第二伸缩组件3302相互间隔地设置在主机架31上。例如,在主机架31上开设一个法兰安装基座,将第一伸缩组件3301和第二伸缩组件3302相互平行地且间隔开地固定至法兰安装基座内。这样第一伸缩组件3301和第二伸缩组件3302即可沿着法兰安装基座向外伸出或向内缩回。
 
本实用新型的辐射检测装置3设置有探头仓32,所述X-γ剂量率探头34设置于所述探头仓32内,通过所述水平伸缩机构330,所述X-γ剂量率探头34可以伸出所述探头仓32进行探测,通过所述垂直伸缩机构331,所述X-γ剂量率探头34可以进一步伸缩,并且,所述水平伸缩机构330和所述垂直伸缩机构331之间还设置有旋转机构,通过所述选机构,所述垂直伸缩机构331可以与所述水平伸缩机构330在同一直线内,也可以与所述水平伸缩机构330成90度。
 
进一步的,所述探头仓32上设置有仓盖,当所述辐射检测装置不使用时,将所述X-γ剂量率探头34收回到所述探头仓32内,并将所述仓盖盖上,防止所述X-γ剂量率探头34被损坏。
 
进一步的,所述小车上活动安装有用于保持小车平衡的配平砖4。
 
应当说明的是,在本文中,诸如第一和第二等之类的关系术语仅仅用来将一个实体或者操作与另一个实体或操作区分开来,而不一定要求或者暗示这些实体或操作之间存在任何这种实际的关系或者顺序。而且,术语“包括”、“包含”或者其任何其他变体意在涵盖非排他性的包含,从而使得包括一系列要素的过程、方法、物品或者设备不仅包括那些要素,而且还包括没有明确列出的其他要素,或者是还包括为这种过程、方法、物品或者设备所固有的要素。在没有更多限制的情况下,由语句“包括一个……”限定的要素,并不排除在包括所述要素的过程、方法、物品或者设备中还存在另外的相同要素。
 
最后应说明的是:显然,上述实施例仅仅是为清楚地说明本实用新型所作的举例,而并非对实施方式的限定。对于所属领域的普通技术人员来说,在上述说明的基础上还可以做出其它不同形式的变化或变动。这里无需也无法对所有的实施方式予以穷举。而由此所引申出的显而易见的变化或变动仍处于本实用新型的保护范围之中。
 
Copyright © 宁波鄞州盖奇同步带轮有限公司 2007-2022 All Rights Reserved.
电话:4006-574-123/0574-27834692 传真:0574-27834691
地址:浙江省宁波市鄞州区姜山镇蔡郎桥村姜南路39-2 E-Mail:sales@belt-pulley.com  
浙ICP备09102982号 盖奇公司网络部提供技术支持 浙公网安备33021202003319号