当前位置:首页->一种上机头和底线机构能自由旋转的模板缝纫机

 一种上机头和底线机构能自由旋转的模板缝纫机

 
【申请公布号:CN107904796A;申请权利人:阮积康;发明设计人:阮积康;】
 
摘要:
 
本发明涉及一种上机头和底线机构能自由旋转的模板缝纫机,包括机架和机头组件,所述的机头组件包括连接座和悬伸臂,所述的连接座固定在机架上,所述的悬伸臂一端与连接座上部固连,悬伸臂另一端设置有上机头,在所述机架上位于上机头的下方设置有底线机构,其特征在于:所述的上机头通过上转轴和上平面轴承与悬伸臂连接,上转轴还套设有上传动带轮;所述的底线机构通过下转轴和下平面轴承设置有机架上,下转轴还套设有下传动带轮;在所述的连接座内部设置有旋转电机,旋转电机的输出轴连接有主动带轮,主动带轮通过同步带与传动带轮联接,本发明具有结构合理、高可靠性、造价较低、性价比好的特点。 
 
主权项:
 
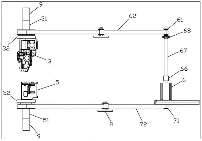
一种上机头和底线机构能自由旋转的模板缝纫机,包括机架(1)和机头组件(2),所述的机头组件(2)包括连接座(21)和悬伸臂(22),所述的连接座(22)固定在机架(1)上,所述的悬伸臂(22)一端与连接座(21)上部固连,悬伸臂另一端设置有上机头(3),在所述机架(1)上位于上机头(3)的下方设置有底线机构(5),其特征在于:所述的上机头(3)通过上转轴(31)和上平面轴承(32)与悬伸臂(22)连接,上转轴(31)还套设有上传动带轮(33);所述的底线机构(5)通过下转轴(51)和下平面轴承(52)设置有机架(1)上,下转轴(51)还套设有下传动带轮(53);在所述的连接座(21)内部设置有旋转电机(6),旋转电机(6)的输出轴连接有主动带轮或通过连接轴与主动带轮连接,主动带轮包括上主动带轮(61)和下主动带轮(71),上主动带轮(61)通过上同步带(62)与上传动带轮(33)联接,下主动带轮(71)通过下同步带(72)与下传动带轮(53)联接。 
 
要求:
 
1.一种上机头和底线机构能自由旋转的模板缝纫机,包括机架(1)和机头组件(2),所述的机头组件(2)包括连接座(21)和悬伸臂(22),所述的连接座(22)固定在机架(1)上,所述的悬伸臂(22)一端与连接座(21)上部固连,悬伸臂另一端设置有上机头(3),在所述机架(1)上位于上机头(3)的下方设置有底线机构(5),其特征在于:所述的上机头(3)通过上转轴(31)和上平面轴承(32)与悬伸臂(22)连接,上转轴(31)还套设有上传动带轮(33);所述的底线机构(5)通过下转轴(51)和下平面轴承(52)设置有机架(1)上,下转轴(51)还套设有下传动带轮(53);在所述的连接座(21)内部设置有旋转电机(6),旋转电机(6)的输出轴连接有主动带轮或通过连接轴与主动带轮连接,主动带轮包括上主动带轮(61)和下主动带轮(71),上主动带轮(61)通过上同步带(62)与上传动带轮(33)联接,下主动带轮(71)通过下同步带(72)与下传动带轮(53)联接。
 
2.如权利要求1所述的一种上机头和底线机构能自由旋转的模板缝纫机,其特征在于:在所述的机架(1)和悬伸臂(22)内部还设置有同步带调节装置(8),所述的上、下同步带从同步带调节装置(8)内部穿过。
 
3.如权利要求2所述的一种上机头和底线机构能自由旋转的模板缝纫机,其特征在于:所述的同步带调节装置(8)包括固定座(81)和两个滚轮(82),两个滚轮(82)通过两根枢轴枢接在固定座,所述的上、下同步带从两滚轮(82)之间穿过,所述的固定座(81)通过可旋转结构固定在机架(1)或悬伸臂(22)上。
 
4.如权利要求3所述的一种上机头和底线机构能自由旋转的模板缝纫机,其特征在于:所述的两根枢轴的自由端通过连接片(85)连接。
 
5.如权利要求3所述的一种上机头和底线机构能自由旋转的模板缝纫机,其特征在于:所述的旋转结构包括在固定座(81)上至少开设有两个旋转导向槽(83),各旋转导向槽(83)以固定座(81)旋转中心对称分布,定位螺杆穿过旋转导向槽(83)将固定座(81)固定在机架(1)或悬伸臂(22)上。
 
6.如权利要求1至5任意一项所述的一种上机头和底线机构能自由旋转的模板缝纫机,其特征在于:在所述的下平面轴承(52)连接一连接板(11)上,连接板(11)固定在机架(1)上,所述的下传动带轮(53)位于连接板(11)的下方;所述的旋转电机(6)固定在一固定板(12)上,固定板(12)固连在机架(1)上,所述的旋转电机(6)为上下两出结构,旋转电机的下输出端穿过固定板(12),下主动带轮(71)连接在下输出端上并位于固定板(12)下方;旋转电机(6)的上输出端通过联轴器(66)与连接轴(67)连接,上主动带轮(61)设置有连接轴(67)上端,连接轴(67)的上端还通过轴承(68)固定在连接座(21)或悬伸臂(22)上。
 
7.如权利要求1所述的一种上机头和底线机构能自由旋转的模板缝纫机,其特征在于:所述的传动带轮的齿数大于主动带轮的齿数。
 
8.如权利要求1所述的一种上机头和底线机构能自由旋转的模板缝纫机,其特征在于:所述上转轴(31)的上端部和下转轴(51)的下端部均套设有导电滑环(9),通过导电滑环(9)为上机头(3)和底线机构(5)上的驱动电机供电和传送控制器指令。
 
一种上机头和底线机构能自由旋转的模板缝纫机
技术领域
 
本发明涉及缝纫机技术,具体是一种上机头和底线机构能自由旋转的模板缝纫机。
 
背景技术
 
目前模板缝纫机一般包括机架及设置在机架上的机头、底线机构和模板传动机构,工作时模板传动机构在控制器的控制下驱动模板按照预设轨迹的运动,由于机头和底线机构的缝纫方向是固定的,模板的运动方向与缝纫方向相反时会造成线迹不美观。
 
为此有人设计一款机头和底线机构可旋转的缝纫机,如公告号CN103981638B公开一种伸臂旋转式独立驱动自动缝纫设备,包括分别独立驱动的上机头和下机头,上机头包括机头升降组件、机头旋转组件以及机头组件,机头旋转组件固定在机头升降组件上,机头组件固定在机头旋转组件的下部,上机头可升降也能与下机头同步适应性旋转;下机头包括底线旋转组件以及底梭系统,底梭系统设置在底线旋转组件的上部,底线旋转组件带动底梭系统任意方向360 度旋转;上机头和下机头还分别设有伺服控制系统,伺服控制系统控制底线旋转轴的转向与机头旋转轴相互对应且转速相同;该技术下机头和上机头由独立电机驱动,工作时需要保持上、下机头同步旋转,由于上机头内部狭小,要安装独立的驱动电机通常将电机外置,这样就会占用机头外侧空间,一方面不够美观,同时机头外部就无法安装其它如裁剪机构、划线\激光切割等装置;同时内部还需要安装减速机构和升降机构结构比较复杂,对加工和配装都提出更高的要求。
 
发明内容
 
本发明的目的在于提供一种上机头和底线机构能自由旋转的模板缝纫机,上机头和底线机构共用一台旋转电机,旋转电机设置有机头组件的连接座内部,通过同步带实现上机头和底线机构同步旋转,本发明利用机头组件连接座内部空间较大,通过同步带和同步带轮实现传动和减速双重功能,并且不占用上机头的内部空间,本发明具有结构合理、高可靠性、造价较低、性价比好的特点。
 
为实现上述目的采用以下技术方案:
 
一种上机头和底线机构能自由旋转的模板缝纫机,包括机架和机头组件,所述的机头组件包括连接座和悬伸臂,所述的连接座固定在机架上,所述的悬伸臂一端与连接座上部固连,悬伸臂另一端设置有上机头,在所述机架上位于上机头的下方设置有底线机构,其特征在于:所述的上机头通过上转轴和上平面轴承与悬伸臂连接,上转轴还套设有上传动带轮;所述的底线机构通过下转轴和下平面轴承设置有机架上,下转轴还套设有下传动带轮;在所述的连接座内部设置有旋转电机,旋转电机的输出轴连接有主动带轮或通过连接轴与主动带轮连接,主动带轮包括上主动带轮和下主动带轮,上主动带轮通过上同步带与上传动带轮联接,下主动带轮通过下同步带与下传动带轮联接。
 
在所述的机架和悬伸臂内部还设置有同步带调节装置,所述的上、下同步带从同步带调节装置内部穿过。
 
所述的同步带调节装置包括固定座和两个滚轮,两个滚轮枢接在固定座,所述的上、下同步带从两滚轮之间穿过,所述的固定座可旋转固定在机架或悬伸臂上。
 
所述的固定座上至少开设有两个旋转导向槽,各旋转导向槽以固定座旋转中心对称分布,定位螺杆穿过旋转导向槽将固定座固定在机架或悬伸臂上。
 
在所述的下平面轴承连接一连接板上,连接板固定在机架上,所述的下传动带轮位于连接板的下方;所述的旋转电机固定在一固定板上,固定板固连在机架上,所述的旋转电机为上下两出结构,旋转电机的下输出端穿过固定板,下主动带轮连接在下输出端上并位于固定板下方;旋转电机的上输出端通过联轴器与连接轴连接,上主动带轮设置有连接轴上端,连接轴的上端还通过轴承固定在连接座或悬伸臂上。
 
所述的传动带轮的齿数大于主动带轮的齿数。
 
所述上转轴的上端部和下转轴的下端部均套设有导电滑环,通过导电滑环为上机头和底线机构上的驱动电机供电和发送指令。
 
本发明通过一台旋转电机同时带动上机头和底线机构同步旋转,同步带通过同步带调节装置可确保同步带的张紧度,相对于现有技术本发明结构更加简单,只采用一台旋转电机成本更低,通过同步带方式可确保上机头和底线机构的同步旋转,可靠性更好;另外本发明将旋转电机设置有机头组件的连接座内部,利用机头组件连接座内部空间较大,同时模板缝纫机的控制机构一般均设置在机架或连接座内,将旋转电机设置在连接座内方便与控制机构连接,避免多条供电线和数据线集中在上机头和底线机构狭小的内部空间内,便于装配和布线。
 
附图说明
 
一种上机头和底线机构能自由旋转的模板缝纫机
图1为本发明的结构示意图;
 
一种上机头和底线机构能自由旋转的模板缝纫机
图2为本发明传动机构的结构示意图;
 
一种上机头和底线机构能自由旋转的模板缝纫机
图3为本发明传动机构的立体结构示意图;
 
一种上机头和底线机构能自由旋转的模板缝纫机
图4为本发明同步带调节装置的结构示意图。
 
具体实施方式
 
如图1-4所示,一种上机头和底线机构能自由旋转的模板缝纫机,包括机架1和机头组件2,所述的机头组件2包括连接座21和悬伸臂22,所述的连接座22固定在机架1上,所述的悬伸臂22一端与连接座21上部固连,悬伸臂另一端设置有上机头3,在所述机架1上位于上机头3的下方设置有底线机构5,其特征在于:所述的上机头3通过上转轴31和上平面轴承32与悬伸臂22连接,上转轴31还套设有上传动带轮33;所述的底线机构5通过下转轴51和下平面轴承52设置有机架1上,下转轴51还套设有下传动带轮53;在所述的连接座21内部设置有旋转电机6,旋转电机6的输出轴连接有主动带轮或通过连接轴与主动带轮连接,主动带轮包括上主动带轮61和下主动带轮71,上主动带轮61通过上同步带62与上传动带轮33联接,下主动带轮71通过下同步带72与下传动带轮53联接,所述的传动带轮的齿数大于主动带轮的齿数,所述上转轴31的上端部和下转轴51的下端部均套设有导电滑环9,通过导电滑环9为上机头3和底线机构5上的驱动电机供电和传送控制器指令。
 
在所述的机架1和悬伸臂22内部还设置有同步带调节装置8,所述的上、下同步带从同步带调节装置8内部穿过;所述的同步带调节装置8包括固定座81和两个滚轮82,两个滚轮82通过两根枢轴枢接在固定座,所述的上、下同步带从两滚轮82之间穿过,所述的固定座81通过可旋转结构固定在机架1或悬伸臂22上;所述的两根枢轴的自由端通过连接片85连接。
 
所述的旋转结构包括在固定座81上至少开设有两个旋转导向槽83,各旋转导向槽83以固定座81旋转中心对称分布,定位螺杆穿过旋转导向槽83将固定座81固定在机架1或悬伸臂22上。
 
在所述的下平面轴承52连接一连接板11上,连接板11固定在机架1上,所述的下传动带轮53位于连接板11的下方;所述的旋转电机6固定在一固定板12上,固定板12固连在机架1上,所述的旋转电机6为上下两出结构,旋转电机的下输出端穿过固定板12,下主动带轮71连接在下输出端上并位于固定板12下方;旋转电机6的上输出端通过联轴器66与连接轴67连接,上主动带轮61设置有连接轴67上端,连接轴67的上端还通过轴承68固定在连接座21或悬伸臂22上。
 
本发明采用一台旋转电机实现驱动上机头和底线机构同步旋转,确保上机头和底线机构旋转保持同步,省去了在上机头和底线机构狭小的内部空间内安装独立驱动电机和减速机构,通过主动带轮和传动带轮之间的齿比实现减速,并充分利用连接座内部的空间,方便装配和布置,相对于现有技术本发明具有结构合理、造价较低、可靠性和性价比好的特点。
 
本发明考虑到同步带使用一段时间后存在被拉伸,造成旋转精度降抵的问题,本必台发明在同步带的中部加设置了同步带调节装置8,通过旋转同步带调节装置8改充同步带的中间位置走向,从而调节同步带的张紧度,从而确保上机头和底线机构的旋转精度。
 
Copyright © 宁波鄞州盖奇同步带轮有限公司 2007-2022 All Rights Reserved.
电话:4006-574-123/0574-27834692 传真:0574-27834691
地址:浙江省宁波市鄞州区姜山镇蔡郎桥村姜南路39-2 E-Mail:sales@belt-pulley.com  
浙ICP备09102982号 盖奇公司网络部提供技术支持 浙公网安备33021202003319号