当前位置:首页->一种巻鉄心夹件固定装置

 一种巻鉄心夹件固定装置

 
【申请公布号:CN107910179A;申请权利人:海泉风雷新能源发电股份有限公司; 发明设计人: 李振华; 李岩; 李菲菲;】
摘要:
 
本发明公开了一种巻鉄心夹件固定装置,包括机体,所述机体内开设有对称固定连接有两个固定架,所述固定架上开设有凹槽,所述凹槽内竖直设有第一限位杆和第一丝杆,且第一限位杆的上下两端均固定连接在凹槽的内壁上,且第一丝杆的上下两端均转动连接在凹槽的内壁上,所述机体的下端开设有腔体,两端的所述第一丝杆均延伸至腔体内并通过同步带传动机构相互连接,所述腔体内安装有第一减速电机,位于右端的所述第一丝杆与第一减速电机的输出轴固定连接,两端的所述第一丝杆共同螺纹连接有连接块。本发明结构稳定,操作简单,设计科学合理,生产周期短,便于对工件进行夹持固定,便于清洁冲裁产生的废屑。 
 
主权项:
 
一种巻鉄心夹件固定装置,包括机体(2),其特征在于,所述机体(2)内开设有对称固定连接有两个固定架(10),所述固定架(10)上开设有凹槽,所述凹槽内竖直设有第一限位杆(7)和第一丝杆(6),且第一限位杆(7)的上下两端均固定连接在凹槽的内壁上,且第一丝杆(6)的上下两端均转动连接在凹槽的内壁上,所述机体(2)的下端开设有腔体(3),两端的所述第一丝杆(6)均延伸至腔体(3)内并通过同步带传动机构(4)相互连接,所述腔体(3)内安装有第一减速电机(5),位于右端的所述第一丝杆(6)与第一减速电机(5)的输出轴固定连接,两端的所述第一丝杆(6)共同螺纹连接有连接块(8),所述连接块(8)固定连接有模板(11),且连接块(8)与第一限位杆(7)滑动连接,所述模板(11)上对称安装有两个夹持装置(9),所述机体(2)的内壁上开设有开口(12)。 
 
 
要求:
 
1.一种巻鉄心夹件固定装置,包括机体(2),其特征在于,所述机体(2)内开设有对称固定连接有两个固定架(10),所述固定架(10)上开设有凹槽,所述凹槽内竖直设有第一限位杆(7)和第一丝杆(6),且第一限位杆(7)的上下两端均固定连接在凹槽的内壁上,且第一丝杆(6)的上下两端均转动连接在凹槽的内壁上,所述机体(2)的下端开设有腔体(3),两端的所述第一丝杆(6)均延伸至腔体(3)内并通过同步带传动机构(4)相互连接,所述腔体(3)内安装有第一减速电机(5),位于右端的所述第一丝杆(6)与第一减速电机(5)的输出轴固定连接,两端的所述第一丝杆(6)共同螺纹连接有连接块(8),所述连接块(8)固定连接有模板(11),且连接块(8)与第一限位杆(7)滑动连接,所述模板(11)上对称安装有两个夹持装置(9),所述机体(2)的内壁上开设有开口(12)。
 
2.根据权利要求1所述的一种巻鉄心夹件固定装置,其特征在于,所述第一丝杆(6)的上下两端均通过深沟球轴承转动连接在凹槽的内壁上,位于右端的所述第一丝杆(6)与第一减速电机(5)的输出轴通过联轴器固定连接。
 
3.根据权利要求1所述的一种巻鉄心夹件固定装置,其特征在于,所述开口(12)连通有废屑管(15),所述废屑管(15)的内壁上安装有抽风机(17),所述抽风机(17)的进气口安装有防护网(16)。
 
4.根据权利要求1所述的一种巻鉄心夹件缺口冲裁模,其特征在于,所述连接块(8)上安装有直线轴承,所述连接块(8)通过直线轴承与第一限位杆(7)滑动连接。
 
5.根据权利要求1所述的一种巻鉄心夹件固定装置,其特征在于,所述夹紧装置(9)包括固定连接在模板(11)上的支架(29),所述支架(29)上开设有卡槽,所述卡槽的内壁上竖直固定连接有第二限位杆(30),所述第二限位杆(30)上滑动连接有卡块(22),所述卡块(22)的上端固定连接有第二丝杆(26),所述第二丝杆(26)上套设有复位弹簧(23),所述第二丝杆(26)上螺纹连接有螺母,所述螺母通过轴承(24)转动连接在支架(29)上,所述螺母上套设有第一锥齿轮(25),所述第一锥齿轮(25)啮合有第二锥齿轮(28),所述支架(29)上安装有第三减速电机(27),所述第三减速电机(27)的驱动轴与第二锥齿轮(28)固定连接。
 
 
一种巻鉄心夹件固定装置
技术领域
 
本发明涉及巻鉄心架件加工装置技术领域,尤其涉及一种巻鉄心夹件固定装置。
 
背景技术
 
变压器(Transformer)是利用电磁感应的原理来改变交流电压的装置,主要构件是初级线圈、次级线圈和铁芯(磁芯)。主要功能有:电压变换、电流变换、阻抗变换、隔离、稳压(磁饱和变压器)等。按用途可以分为:电力变压器和特殊变压器(电炉变、整流变、工频试验变压器、调压器、矿用变、音频变压器、中频变压器、高频变压器、冲击变压器、仪用变压器、电子变压器、电抗器、互感器等)。电路符号常用T当作编号的开头.例: T01, T201等。变压器由铁芯(或磁芯)和线圈组成,线圈有两个或两个以上的绕组,其中接电源的绕组叫初级线圈,其余的绕组叫次级线圈。它可以变换交流电压、电流和阻抗。最简单的铁心变压器由一个软磁材料做成的铁心及套在铁心上的两个匝数不等的线圈构成,铁芯是变压器中主要的磁路部分。通常由含硅量较高,表面涂有绝缘漆的热轧或冷轧硅钢片叠装而成。铁芯和绕在其上的线圈组成完整的电磁感应系统。电源变压器传输功率的大小,取决于铁芯的材料和横截面积。
 
在变压器生产中,巻铁芯夹件在变压器套装中起着至关重要的作用,对稳定整个变压器核心,并且在最后的质量检测中起到很好的保障效果,然而对巻铁芯夹件冲裁时,现有的固定装置不能很好的固定工件,导致冲裁效果差,工件质量不能保证,且在生产时产生的废屑堆积过多影响加工。
 
发明内容
 
本发明的目的是为了解决现有技术中现有的固定装置不能很好的固定工件,导致冲裁效果差, 工件质量不能保证,且在生产时产生的废屑堆积过多影响加工的问题,而提出的一种巻鉄心夹件固定装置。
 
为了实现上述目的,本发明采用了如下技术方案:
 
一种巻鉄心夹件固定装置,包括机体,所述机体内开设有对称固定连接有两个固定架,所述固定架上开设有凹槽,所述凹槽内竖直设有第一限位杆和第一丝杆,且第一限位杆的上下两端均固定连接在凹槽的内壁上,且第一丝杆的上下两端均转动连接在凹槽的内壁上,所述机体的下端开设有腔体,两端的所述第一丝杆均延伸至腔体内并通过同步带传动机构相互连接,所述腔体内安装有第一减速电机,位于右端的所述第一丝杆与第一减速电机的输出轴固定连接,两端的所述第一丝杆共同螺纹连接有连接块,所述连接块固定连接有模板,且连接块与第一限位杆滑动连接,所述模板上对称安装有两个夹持装置,所述机体的内壁上开设有开口。
 
优选地,所述第一丝杆的上下两端均通过深沟球轴承转动连接在凹槽的内壁上,位于右端的所述第一丝杆与第一减速电机的输出轴通过联轴器固定连接。
 
优选地,所述开口连通有废屑管,所述废屑管的内壁上安装有抽风机,所述抽风机的进气口安装有防护网。
 
优选地,所述连接块上安装有直线轴承,所述连接块通过直线轴承与第一限位杆滑动连接。
 
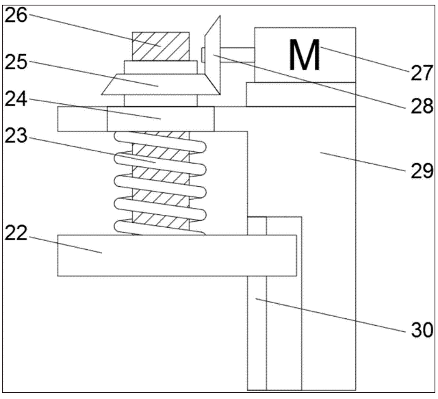
优选地,所述夹紧装置包括固定连接在模板上的支架,所述支架上开设有卡槽,所述卡槽的内壁上竖直固定连接有第二限位杆,所述第二限位杆上滑动连接有卡块,所述卡块的上端固定连接有第二丝杆,所述第二丝杆上套设有复位弹簧,所述第二丝杆上螺纹连接有螺母,所述螺母通过轴承转动连接在支架上,所述螺母上套设有第一锥齿轮,所述第一锥齿轮啮合有第二锥齿轮,所述支架上安装有第三减速电机,所述第三减速电机的驱动轴与第二锥齿轮固定连接。
 
本发明中,通过夹持装置将工件进行固定,将工件放置在模板上,随后打开第三减速电机,第三减速电机的输出轴带动与之固定连接的第二锥齿轮转动,第二锥齿轮带动与之啮合的第一锥齿轮转动,第一锥齿轮转动后带动与之固定连接的螺母转动,螺母带动与之螺纹连接的第二丝杆上下运动,并通过卡块对工件进行固定;作业后打开第一减速电机,第一减速电机带动第一丝杆运动,第一丝杆运动后带动与之螺纹连接的连接块运动,连接块运动后带动与之固定连接的模板下降,待下降至开口处后打开抽风机,抽风机将废屑抽入废屑管内。本发明结构稳定,操作简单,设计科学合理,生产周期短,便于对工件进行夹持固定,便于清洁冲裁产生的废屑。
 
附图说明
 
一种巻鉄心夹件固定装置
图1为本发明提出的一种巻鉄心夹件固定装置的结构示意图;
 
一种巻鉄心夹件固定装置
图2为本发明提出的一种巻鉄心夹件固定装置的废屑管部分结构示意图;
 
一种巻鉄心夹件固定装置
图3为本发明提出的一种巻鉄心夹件固定装置的夹持装置部分结构示意图;
 
一种巻鉄心夹件固定装置
图4为本发明应用于一种巻鉄心夹件缺口冲裁模的结构示意图;
 
一种巻鉄心夹件固定装置
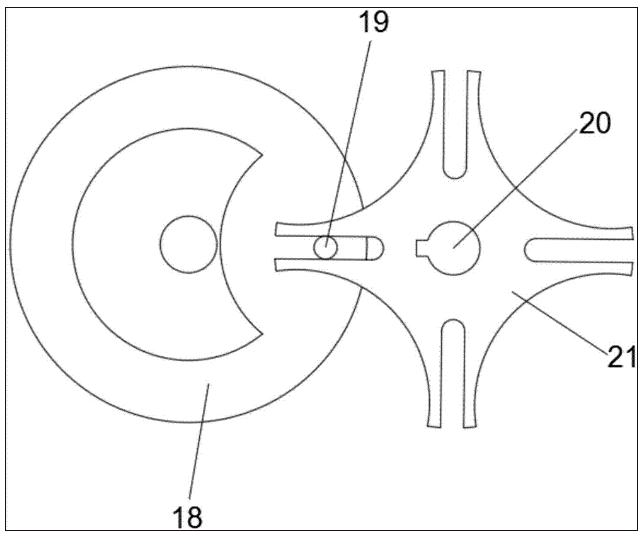
图5为本发明应用于一种巻鉄心夹件缺口冲裁模的主动槽轮部分结构示意图。
 
图中:1支撑脚、2机体、3腔体、4同步带传动机构、5第一减速电机、6第一丝杆、7第一限位杆、8连接块、9夹紧装置、10固定架、11模板、12开口、13电动滑轨、14冲裁装置、15废屑管、16防护网、17抽风机、18主动拨盘、19圆柱销、20转轴、21从动槽轮、22卡块、23复位弹簧、24轴承、25第一锥齿轮、26第二丝杆、27第三减速电机、28第二锥齿轮、29支架、30第二限位杆。
 
具体实施方式
 
下面将结合本发明实施例中的附图,对本发明实施例中的技术方案进行清楚、完整地描述,显然,所描述的实施例仅仅是本发明一部分实施例,而不是全部的实施例。
 
在本发明的描述中,需要理解的是,术语“上”、“下”、“前”、“后”、“左”、“右”、“顶”、“底”、“内”、“外”等指示的方位或位置关系为基于附图所示的方位或位置关系,仅是为了便于描述本发明和简化描述,而不是指示或暗示所指的装置或元件必须具有特定的方位、以特定的方位构造和操作,因此不能理解为对本发明的限制。
 
在本发明中,除非另有明确的规定和限定,术语“罩盖”、“嵌装”、“连接”、“固定”、“分布”等术语应做广义理解,例如,可以是固定连接,也可以是可拆卸连接,或成一体;可以是机械连接,也可以是电连接;可以是直接相连,也可以通过中间媒介间接相连,可以是两个元件内部的连通或两个元件的相互作用关系,除非另有明确的限定。对于本领域的普通技术人员而言,可以根据具体情况理解上述术语在本发明中的具体含义。
 
实施例1:参照图1-3,一种巻鉄心夹件固定装置,包括机体2,机体2内开设有对称固定连接有两个固定架10,固定架10上开设有凹槽,凹槽内竖直设有第一限位杆7和第一丝杆6,且第一限位杆7的上下两端均固定连接在凹槽的内壁上,且第一丝杆6的上下两端均转动连接在凹槽的内壁上,第一丝杆6的上下两端均通过深沟球轴承转动连接在凹槽的内壁上,深沟球轴承便于安装,成本低,机体2的下端开设有腔体3,两端的第一丝杆6均延伸至腔体3内并通过同步带传动机构4相互连接,腔体3内安装有第一减速电机5,位于右端的第一丝杆6与第一减速电机5的输出轴固定连接,位于右端的第一丝杆6与第一减速电机5的输出轴通过联轴器固定连接,联轴器便于安装,连接稳固,两端的第一丝杆6共同螺纹连接有连接块8,连接块8固定连接有模板11,连接块8上安装有直线轴承,连接块8通过直线轴承与第一限位杆7滑动连接,直线轴承便于安装,机械效率高,且连接块8与第一限位杆7滑动连接,模板11上对称安装有两个夹持装置9,夹紧装置9包括固定连接在模板11上的支架29,支架29上开设有卡槽,卡槽的内壁上竖直固定连接有第二限位杆30,第二限位杆30上滑动连接有卡块22,卡块22的上端固定连接有第二丝杆26,第二丝杆26上套设有复位弹簧23,第二丝杆26上螺纹连接有螺母,螺母通过轴承24转动连接在支架29上,螺母上套设有第一锥齿轮25,第一锥齿轮25啮合有第二锥齿轮28,支架29上安装有第三减速电机27,第三减速电机27的驱动轴与第二锥齿轮28固定连接,夹持装置9便于卡合,操作方便,机体2的内壁上开设有开口12,开口12连通有废屑管15,废屑管15的内壁上安装有抽风机17,抽风机17的进气口安装有防护网16。
 
实施例2:参照图2-5,将本发明应用于一种巻鉄心夹件缺口冲裁模,包括机体2,机体2的下端固定连接有多个支撑脚1,支撑脚1的下端滑动连接有多个限位柱,限位柱的下端设有滚轮架,滚轮架与支撑脚1之间设有弹簧减震器,每组滚轮架上均转动连接有滚动轮,每个滚动轮上均设有防滑纹,此结构便于移动,且可在移动时缓冲减震,每个支撑脚1的下端均安装有缓冲行走结构,机体2内开设有对称固定连接有两个固定架10,固定架10上开设有凹槽,凹槽内竖直设有第一限位杆7和第一丝杆6,且第一限位杆7的上下两端均固定连接在凹槽的内壁上,且第一丝杆6的上下两端均转动连接在凹槽的内壁上,第一丝杆6的上下两端均通过深沟球轴承转动连接在凹槽的内壁上,深沟球轴承便于安装,成本低,机体2的下端开设有腔体3,两端的第一丝杆6均延伸至腔体3内并通过同步带传动机构4相互连接,腔体3内安装有第一减速电机5,位于右端的第一丝杆6与第一减速电机5的输出轴固定连接,位于右端的第一丝杆6与第一减速电机5的输出轴通过联轴器固定连接,联轴器便于安装,连接稳固,两端的第一丝杆6共同螺纹连接有连接块8,连接块8固定连接有模板11,连接块8上安装有直线轴承,连接块8通过直线轴承与第一限位杆7滑动连接,直线轴承便于安装,机械效率高,且连接块8与第一限位杆7滑动连接,模板11上对称安装有两个夹持装置9,夹紧装置9包括固定连接在模板11上的支架29,支架29上开设有卡槽,卡槽的内壁上竖直固定连接有第二限位杆30,第二限位杆30上滑动连接有卡块22,卡块22的上端固定连接有第二丝杆26,第二丝杆26上套设有复位弹簧23,第二丝杆26上螺纹连接有螺母,螺母通过轴承24转动连接在支架29上,螺母上套设有第一锥齿轮25,第一锥齿轮25啮合有第二锥齿轮28,支架29上安装有第三减速电机27,第三减速电机27的驱动轴与第二锥齿轮28固定连接,夹持装置9便于卡合,操作方便;
 
机体2的内壁上开设有开口12,开口12连通有废屑管15,废屑管15的内壁上安装有抽风机17,抽风机17的进气口安装有防护网16,机体2的顶端水平安装有电动滑轨13,电动滑轨13上滑动连接有支架,支架上安装有第二减速电机,第二减速电机的输出轴套设有主动拨盘18,主动拨盘18上固定连接有圆柱销19,主动拨盘18通过圆柱销19啮合有从动槽轮21,从动槽轮21的中部插设有转轴20,从动槽轮21的中部通过平键过盈配合联接有转轴20,过盈配合联接工艺简单,连接稳固,转轴20远离从动槽轮21的一端固定连接有冲裁装置14,冲裁装置14包括冲压装置和裁切装置,且冲压装置和裁切装置之间的夹角为90度。
 
该文中出现的电器元件均与外界的主控器及220V市电电连接,并且主控器可为计算机等起到控制的常规已知设备。
 
本发明使用时,通过夹持装置9将工件进行固定,将工件放置在模板11上,随后打开第三减速电机27,第三减速电机27的输出轴带动与之固定连接的第二锥齿轮28转动,第二锥齿轮28带动与之啮合的第一锥齿轮25转动,第一锥齿轮25转动后带动与之固定连接的螺母转动,螺母带动与之螺纹连接的第二丝杆26上下运动,并通过卡块22对工件进行固定;作业后打开第一减速电机,第一减速电机带动第一丝杆6运动,第一丝杆6运动后带动与之螺纹连接的连接块8运动,连接块8运动后带动与之固定连接的模板11下降,待下降至开口12处后打开抽风机17,抽风机17将废屑抽入废屑管15内。
 
以上所述,仅为本发明较佳的具体实施方式,但本发明的保护范围并不局限于此,任何熟悉本技术领域的技术人员在本发明揭露的技术范围内,根据本发明的技术方案及其发明构思加以等同替换或改变,都应涵盖在本发明的保护范围之内。
 
Copyright © 宁波鄞州盖奇同步带轮有限公司 2007-2022 All Rights Reserved.
电话:4006-574-123/0574-27834692 传真:0574-27834691
地址:浙江省宁波市鄞州区姜山镇蔡郎桥村姜南路39-2 E-Mail:sales@belt-pulley.com  
浙ICP备09102982号 盖奇公司网络部提供技术支持 浙公网安备33021202003319号