当前位置:首页->一种激光雕刻机的自动推料装置及激光雕刻机

 一种激光雕刻机的自动推料装置及激光雕刻机

 
【授权公告号:CN207267101U ;申请权利人:广州市普汉科技有限公司; 发明设计人: 刘晓玲; 卢天城; 王艳宾; 刘天顺;】
 
摘要:
 
本实用新型公开了一种激光雕刻机的自动推料装置及激光雕刻机,包括:电机固定座;电机,第一导轮连接在所述电机的转动轴上;第二导轮,所述第一导轮和所述第二导轮通过第一同步带连接;直线导轨,所述直线导轨一端连接所述电机固定座,另外一端连接导轮座,所述导轮座上设置第三导轮,所述第三导轮和所述第二导轮通过第二同步带连接;滑座;第一推料板,所述第一推料板的一端通过连接板同所述滑座连接;第二推料板,所述第二推料板固定于所述第一推料板靠近所述滚轮座的一侧。本实用新型实现了在激光雕刻机内部集成自动推料,达到了全自动化生产的目的。 
 
主权项:
 
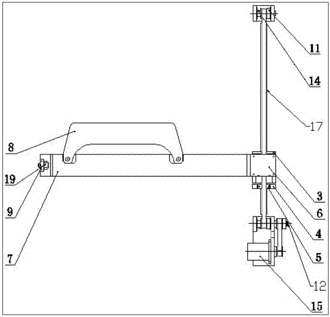
一种激光雕刻机的自动推料装置,其特征在于,包括:电机固定座(1),所述电机固定座(1)固定在所述激光雕刻机的上板(22)上;电机(15),所述电机(15)安装在所述电机固定座(1)上,第一导轮(20)连接在所述电机(15)的转动轴上;第二导轮(21),所述第二导轮(21)也安装在所述电机固定座(1)上,所述第一导轮(20)和所述第二导轮(21)通过第一同步带(25)连接;直线导轨(18),所述直线导轨(18)一端连接所述电机固定座(1),另外一端连接导轮座(10),所述导轮座(10)上设置第三导轮(11),所述第三导轮(11)和所述第二导轮(21)通过第二同步带(17)连接;滑座(2),位于所述直线导轨(18)的下方,通过第一同步带固定板(3)、第二同步带固定板(4)和同步带压板(5)固定连接在所述第二同步带(17)上;第一推料板(7),所述第一推料板(7)的一端通过连接板(6)同所述滑座(2)连接,在所述第一推料板(7)的另一端还设置有滚轮座(9),所述滚轮座(9)上安装有凸轮轴承随动器(19);第二推料板(8),所述第二推料板(8)固定于所述第一推料板(7)靠近所述滚轮座(9)的一侧。 
 
要求:
 
1.一种激光雕刻机的自动推料装置,其特征在于,包括:
 
电机固定座(1),所述电机固定座(1)固定在所述激光雕刻机的上板(22)上;
 
电机(15),所述电机(15)安装在所述电机固定座(1)上,第一导轮(20)连接在所述电机(15)的转动轴上;
 
第二导轮(21),所述第二导轮(21)也安装在所述电机固定座(1)上,所述第一导轮(20)和所述第二导轮(21)通过第一同步带(25)连接;
 
直线导轨(18),所述直线导轨(18)一端连接所述电机固定座(1),另外一端连接导轮座(10),所述导轮座(10)上设置第三导轮(11),所述第三导轮(11)和所述第二导轮(21)通过第二同步带(17)连接;
 
滑座(2),位于所述直线导轨(18)的下方,通过第一同步带固定板(3)、第二同步带固定板(4)和同步带压板(5)固定连接在所述第二同步带(17)上;
 
第一推料板(7),所述第一推料板(7)的一端通过连接板(6)同所述滑座(2)连接,在所述第一推料板(7)的另一端还设置有滚轮座(9),所述滚轮座(9)上安装有凸轮轴承随动器(19);
 
第二推料板(8),所述第二推料板(8)固定于所述第一推料板(7)靠近所述滚轮座(9)的一侧。
 
2.根据权利要求1所述的一种激光雕刻机的自动推料装置,其特征在于,所述第二推料板(8)呈“C”形。
 
3.根据权利要求1所述的一种激光雕刻机的自动推料装置,其特征在于,所述第二导轮(21)通过第二导轮轴(12)和轴承(16)安装在所述电机固定座(1)上。
 
4.根据权利要求1所述的一种激光雕刻机的自动推料装置,其特征在于,所述第三导轮(11)通过第三导轮轴(13)和轴套(14)安装在所述导轮座(10)上。
 
5.一种激光雕刻机,包括激光雕刻切割控制系统,其特征在于,还包括如权利要求1-4中任一项所述的自动推料装置,在加工完成之后,所述激光雕刻切割控制系统启动所述推料装置。
 
一种激光雕刻机的自动推料装置及激光雕刻机
技术领域
 
本实用新型属于自动推料领域,具体地说,涉及一种激光雕刻机的自动推料装置及激光雕刻机。
 
背景技术
 
小型激光雕刻机是指专门利用于小型加工场所,小面积的激光雕刻机,是激光雕刻机当中的一种热门设备,所谓小型激光雕刻就是将激光束照射到工件表面时释放的能量来使工件融化并蒸发,以达到雕刻的目的,具有精度高,雕刻快速,不局限于雕刻图案限制,切口平滑,加工成本低等特点,将逐渐改进或取代于传统的雕刻工艺设备。
 
现有市场上的激光雕刻机都是把产品加工完成后,采用人工进行下料,人工下料的方式有如下缺点:效率慢,自动化程度低。
 
有鉴于此特提出本实用新型。
 
发明内容
 
本实用新型要解决的技术问题在于克服现有技术的不足,提供一种激光雕刻机的自动推料装置及激光雕刻机,实现了自动推料,达到了全自动化生产的目的。
 
为解决上述技术问题,本实用新型采用技术方案的基本构思是:
 
一种激光雕刻机的自动推料装置,其特征在于,包括:电机固定座,所述电机固定座固定在所述激光雕刻机的上板上;电机,所述电机安装在所述电机固定座上,第一导轮连接在所述电机的转动轴上;第二导轮,所述第二导轮也安装在所述电机固定座上,所述第一导轮和所述第二导轮通过第一同步带连接;直线导轨,所述直线导轨一端连接所述电机固定座,另外一端连接导轮座,所述导轮座上设置第三导轮,所述第三导轮和所述第二导轮通过第二同步带连接;滑座,位于所述直线导轨的上方,通过第一同步带固定板、第二同步带固定板和同步带压板连接在所述第二同步带上;第一推料板,所述第一推料板的一端通过连接板同所述滑座连接,在所述第一推料板的另一端还设置有滚轮座,所述滚轮座上安装有凸轮轴承随动器;第二推料板,所述第二推料板固定于所述第一推料板靠近所述滚轮座的一侧。
 
进一步地,所述第二推料板呈“C”形。
 
进一步地,所述第二导轮通过第二导轮轴和轴承安装在所述电机固定座上。
 
进一步地,所述第三导轮通过第三导轮轴和轴套安装在所述导轮座上。
 
还提供了一种激光雕刻机,包括激光雕刻切割控制系统,还包括如权利要求上述自动推料装置,在加工完成之后,激光雕刻切割控制系统启动所述推料装置,完成推料工作,实现加工过程的全自动化。
 
采用上述技术方案后,本实用新型与现有技术相比具有以下有益效果。
 
本实用新型实现了自动推料,达到了全自动化生产的目的。
 
下面结合附图对本实用新型的具体实施方式作进一步详细的描述。
 
附图说明
 
附图作为本申请的一部分,用来提供对本实用新型的进一步的理解,本实用新型的示意性实施例及其说明用于解释本实用新型,但不构成对本实用新型的不当限定。显然,下面描述中的附图仅仅是一些实施例,对于本领域普通技术人员来说,在不付出创造性劳动的前提下,还可以根据这些附图获得其他附图。在附图中:
 
一种激光雕刻机的自动推料装置及激光雕刻机
图1为本实用新型自动推料装置的正视结构示意图;
 
一种激光雕刻机的自动推料装置及激光雕刻机
图2为本实用新型自动推料装置的俯视结构示意图;
 
一种激光雕刻机的自动推料装置及激光雕刻机
图3为本实用新型自动推料装置位于激光雕刻机的大致结构俯视示意图;
 
一种激光雕刻机的自动推料装置及激光雕刻机
图4为本实用新型工作原理示意图。
 
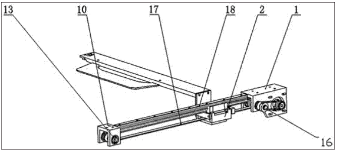
图中:1-电机固定座;2-滑座;3-第一同步带固定板;4-第二同步带固定板;5-同步带压板;6-连接板;7-第一推料板;8-第二推料板;9-滚轮座;10-导轮座;11-第三导轮;12-第二导轮轴;13-第三导轮轴;14-轴套;15-电机;16-轴承;17-第二同步带;18-直线导轨;19-凸轮轴承随动器;20-第一导轮;21-第二导轮;22-上板;23-台板;24-下料板;25-第一同步带。
 
需要说明的是,这些附图和文字描述并不旨在以任何方式限制本实用新型的构思范围,而是通过参考特定实施例为本领域技术人员说明本实用新型的概念。
 
具体实施方式
 
为使本实用新型实施例的目的、技术方案和优点更加清楚,下面将结合本实用新型实施例中的附图,对实施例中的技术方案进行清楚、完整地描述,以下实施例用于说明本实用新型,但不用来限制本实用新型的范围。
 
在本实用新型的描述中,需要说明的是,术语 “上”、“下”、“前”、“后”、“左”、“右”、“竖直”、“内”、“外”等指示的方位或位置关系为基于附图所示的方位或位置关系,仅是为了便于描述本实用新型和简化描述,而不是指示或暗示所指的装置或元件必须具有特定的方位、以特定的方位构造和操作,因此不能理解为对本实用新型的限制。
 
在本实用新型的描述中,需要说明的是,除非另有明确的规定和限定,术语“安装”、“相连”、“连接”应做广义理解,例如,可以是固定连接,也可以是可拆卸连接,或一体地连接;可以是机械连接,也可以是电连接;可以是直接相连,也可以通过中间媒介间接相连。对于本领域的普通技术人员而言,可以具体情况理解上述术语在本实用新型中的具体含义。
 
如图1至图4所示,本实施例所述的一种激光雕刻机的自动推料装置,其特征在于,包括:电机固定座1,所述电机固定座1固定在所述激光雕刻机的上板22上;电机15,所述电机15安装在所述电机固定座1上,第一导轮20连接在所述电机15的转动轴上;第二导轮21,所述第二导轮21也安装在所述电机固定座1上,所述第一导轮20和所述第二导轮21通过第一同步带25连接;直线导轨18,所述直线导轨18一端连接所述电机固定座1,另外一端连接导轮座10,所述导轮座10上设置第三导轮11,所述第三导轮11和所述第二导轮21通过第二同步带17连接;滑座2,位于所述直线导轨18的上方,通过第一同步带固定板3、第二同步带固定板4和同步带压板5连接在所述第二同步带17上;第一推料板7,所述第一推料板7的一端通过连接板6同所述滑座2连接,在所述第一推料板7的另一端还设置有滚轮座9,所述滚轮座9上安装有凸轮轴承随动器19;第二推料板8,所述第二推料板8固定于所述第一推料板7靠近所述滚轮座9的一侧。
 
下面对其工作原理进行描述。
 
在需要下料时,启动电机,带动第一导轮转动,然后把用第一同步带连接的第二导轮运行起来,从而带动固定在第二同步带上的连接板上的第一推料板向前运动,紧接着把固定在第一推料板的第二推料板也同步带动起来,通过第二推料板的向前运动,将产品推向指定的位置。
 
进一步地,所述第二推料8板呈“C”形。
 
进一步地,所述第二导轮21通过第二导轮轴12和轴承16安装在所述电机固定座1上。
 
进一步地,所述第三导轮11通过第三导轮轴13和轴套14安装在所述导轮座10上。
 
还提供了一种激光雕刻机,包括激光雕刻切割控制系统,还包括如权利要求上述自动推料装置,在加工完成之后,激光雕刻切割控制系统启动所述推料装置,完成推料工作,实现加工过程的全自动化。
 
通过上板把整个自动推料装置固定在激光雕刻机上,当激光雕刻机完成产品加工时,通过电机的启动,带动第一导轮转动,然后把用第一同步带连接的第二导轮运行起来,从而带动固定在第二同步带上的连接板上的第一推料板向前运动,紧接着把固定在第一推料板的第二推料板也同步带动起来,通过第二推料板的向前运动,把产品推向台板,最后通过台板把产品推向下料板。
 
采用上述技术方案后,本实用新型与现有技术相比具有以下有益效果。
 
本实用新型实现了在激光雕刻机内部集成了自动推料,达到了全自动化生产的目的。
 
以上所述仅是本实用新型的较佳实施例而已,并非对本实用新型作任何形式上的限制,虽然本实用新型已以较佳实施例揭露如上,然而并非用以限定本实用新型,任何熟悉本专利的技术人员在不脱离本实用新型技术方案范围内,当可利用上述提示的技术内容作出些许更动或修饰为等同变化的等效实施例,但凡是未脱离本实用新型技术方案的内容,依据本实用新型的技术实质对以上实施例所作的任何简单修改、等同变化与修饰,均仍属于本实用新型方案的范围内。
 
Copyright © 宁波鄞州盖奇同步带轮有限公司 2007-2022 All Rights Reserved.
电话:4006-574-123/0574-27834692 传真:0574-27834691
地址:浙江省宁波市鄞州区姜山镇蔡郎桥村姜南路39-2 E-Mail:sales@belt-pulley.com  
浙ICP备09102982号 盖奇公司网络部提供技术支持 浙公网安备33021202003319号