当前位置:首页->一种多工位增减材打印机

 一种多工位增减材打印机

 
【申请公布号:CN107972269A;申请权利人:东北林业大学; 哈尔滨自由智造科技开发有限公司;发明设计人: 庄煜; 郭艳玲; 李健; 刘泰涞; 张慧; 聂宏宇;】
 
摘要:
 
本发明公开了一种多工位增减材打印机,包括机架、环形导轨组件、同步带组件、增材组件以及减材组件,增材组件与减材组件对称设置于机架表面两端,增材组件与减材组件分别包括有一龙门架,龙门架的顶端横向设置有一X轴滚珠丝杠,所述X轴滚珠丝杠上的丝母座上纵向固定设置有一Z轴滚珠丝杠,增材组件包括一连接于Z轴滚珠丝杠丝母座上的打印喷头组件,减材组件包括一连接于Z轴滚珠丝杠丝母座上的切削组件,打印平台分别与同步带组件上的同步带固定连接,本发明增减材加工结合,多工位同步工作,提高打印产品质量以及生产效率。 
 
主权项:
 
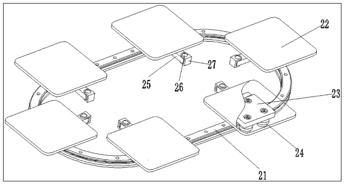
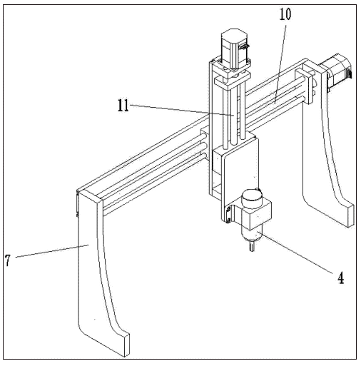
一种多工位增减材打印机,其特征在于:包括机架(1)、环形导轨组件(2)、同步带组件(3)、增材组件(17)以及减材组件(4),所述增材组件(17)与减材组件(4)对称设置于机架(1)表面两端,机架(1)的一侧设置有一导向光杆(5),机架(1)的另一侧前后两端分别设置有一Y轴滚珠丝杠(6),所述增材组件(17)与减材组件(4)分别包括有一龙门架(7),所述龙门架(7)的底部两端分别通过一直角连接件(8)连接一与导向光杆(5)连接的光杆滑块(9)以及一与Y轴滚珠丝杠(6)连接的丝母座,龙门架(7)的顶端横向设置有一X轴滚珠丝杠(10),所述X轴滚珠丝杠(10)上的丝母座上纵向固定设置有一Z轴滚珠丝杠(11),所述增材组件(17)包括一连接于Z轴滚珠丝杠(11)丝母座上的打印喷头组件(12),所述减材组件(4)包括一连接于Z轴滚珠丝杠(11)丝母座上的切削组件(13),所述同步带组件(3)设置于机架(1)中部,所述环形导轨组件(2)包括一环设于同步带组件(3)外侧的环形导轨(21)以及滑动连接于环形导轨(21)上的若干均布设置的打印平台(22),所述打印平台(22)分别与同步带组件(3)上的同步带(31)连接。 
 
 
要求:
 
1.一种多工位增减材打印机,其特征在于:包括机架(1)、环形导轨组件(2)、同步带组件(3)、增材组件(17)以及减材组件(4),所述增材组件(17)与减材组件(4)对称设置于机架(1)表面两端,机架(1)的一侧设置有一导向光杆(5),机架(1)的另一侧前后两端分别设置有一Y轴滚珠丝杠(6),所述增材组件(17)与减材组件(4)分别包括有一龙门架(7),所述龙门架(7)的底部两端分别通过一直角连接件(8)连接一与导向光杆(5)连接的光杆滑块(9)以及一与Y轴滚珠丝杠(6)连接的丝母座,龙门架(7)的顶端横向设置有一X轴滚珠丝杠(10),所述X轴滚珠丝杠(10)上的丝母座上纵向固定设置有一Z轴滚珠丝杠(11),所述增材组件(17)包括一连接于Z轴滚珠丝杠(11)丝母座上的打印喷头组件(12),所述减材组件(4)包括一连接于Z轴滚珠丝杠(11)丝母座上的切削组件(13),所述同步带组件(3)设置于机架(1)中部,所述环形导轨组件(2)包括一环设于同步带组件(3)外侧的环形导轨(21)以及滑动连接于环形导轨(21)上的若干均布设置的打印平台(22),所述打印平台(22)分别与同步带组件(3)上的同步带(31)连接。
 
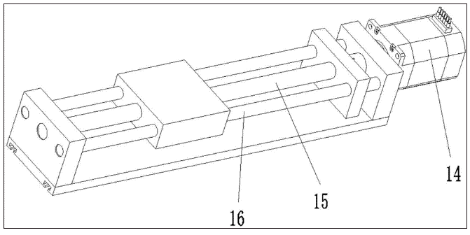
2.根据权利要求1所述的一种多工位增减材打印机,其特征在于:所述X轴滚珠丝杠(10)、Y轴滚珠丝杠(6)以及Z轴滚珠丝杠(11)均包括一通过电机(14)控制的丝杠(15)、分设于丝杠(15)两侧的光杆(16),与上述X轴滚珠丝杠(10)、Y轴滚珠丝杠(6)以及Z轴滚珠丝杠(11)连接的丝母座上也分别设置有与丝杠(15)连接的螺纹孔以及与光杆(16)连接的导向孔。
 
3.根据权利要求1所述的一种多工位增减材打印机,其特征在于:所述切削组件(13)包括一通过电机控制的切削头,所述切削头为铣刀、钻头或丝锥中的一种。
 
4.根据权利要求1所述的一种多工位增减材打印机,其特征在于:所述打印平台(22)底部通过螺丝连接一底板(23),所述底板(23)的底部两侧分别对称设置有一组或多组夹持于环形导轨(21)两侧并能够沿环形导轨(21)滚动的滚轮(24),所述滚轮(24)为橡胶轮,底板(23)的内侧面连接有一连杆件(25),同步带(31)上固定连接有支座(26),所述连杆件(25)与支座(26)通过销(27)连接。
 
 
一种多工位增减材打印机
技术领域
 
本发明涉及3D打印技术领域,具体涉及一种多工位增减材打印机。
 
背景技术
 
现目前3D打印行业发展迅速,而3D打印主要是采用增材制造(FDM熔融堆积)来完成的,现有的3D打印设备以及3D打印技术无法进行精度加工(精度加工可以理解为减材加工),这对于一些形状较为复杂的产品在进行制作时,其劣势尤为突出,一方面打印精度差,另一方面在进行二次的精度加工时,往往由于产品形状复杂而带来精度加工难度高,现有的3D打印设备只能进行一个工位加工,其加工效率低,消耗大量的人工工时和成本。
 
发明内容
 
(一)要解决的技术问题
 
为了克服现有技术不足,现提出一种多工位增减材打印机,增减材加工结合,多工位同步工作,提高打印产品质量以及生产效率。
 
(二)技术方案
 
本发明通过如下技术方案实现:本发明提出了一种多工位增减材打印机,包括机架、环形导轨组件、同步带组件、增材组件以及减材组件,所述增材组件与减材组件对称设置于机架表面两端,机架的一侧设置有一导向光杆,机架的另一侧前后两端分别设置有一Y轴滚珠丝杠,所述增材组件与减材组件分别包括有一龙门架,所述龙门架的底部两端分别通过一直角连接件连接一与导向光杆连接的光杆滑块以及一与Y轴滚珠丝杠连接的丝母座,龙门架的顶端横向设置有一X轴滚珠丝杠,所述X轴滚珠丝杠上的丝母座上纵向固定设置有一Z轴滚珠丝杠,所述增材组件包括一连接于Z轴滚珠丝杠丝母座上的打印喷头组件,所述减材组件包括一连接于Z轴滚珠丝杠丝母座上的切削组件,所述同步带组件设置于机架中部,所述环形导轨组件包括一环设于同步带组件外侧的环形导轨以及滑动连接于环形导轨上的若干均布设置的打印平台,所述打印平台分别与同步带组件上的同步带固定连接。
 
进一步的,所述X轴滚珠丝杠、Y轴滚珠丝杠以及Z轴滚珠丝杠均包括一通过电机控制的丝杠、分设于丝杠两侧的光杆,与上述X轴滚珠丝杠、Y轴滚珠丝杠以及Z轴滚珠丝杠连接的丝母座上也分别设置有与丝杠连接的螺纹孔以及与光杆连接的导向孔。
 
进一步的,所述切削组件包括一通过电机控制的切削头,所述切削头为铣刀、钻头或丝锥中的一种。
 
进一步的,所述打印平台底部通过螺丝连接一底板,所述底板的底部两侧分别对称设置有一组或多组夹持于环形导轨两侧并能够沿环形导轨滚动的滚轮,所述滚轮为橡胶轮,底板的内侧面连接有一连杆件,同步带上固定连接有支座,所述连杆件与支座通过销连接。
 
(三)有益效果
 
本发明相对于现有技术,具有以下有益效果:
 
本发明提到的一种多工位增减材打印机,其可以进行多工位循环加工,且在加工制作过程中,可以进行增减材交替工作,提高3D打印每层打印精度,避免在多平台加工时工件夹持与取放所带来的误差累计,提高制造精度与生产效率,同时也节省了车间空间,降低制造成本。
 
附图说明
 
一种多工位增减材打印机
图1是本发明结构示意图。
 
一种多工位增减材打印机
图2是环形导轨组件结构示意图。
 
一种多工位增减材打印机
图3是增材组件示意图。
 
一种多工位增减材打印机
图4是减材组件示意图。
 
一种多工位增减材打印机
图5是X/Y/Z轴滚珠丝杠示意图。
 
一种多工位增减材打印机
图6是同步带组件示意图。
 
1-机架;2-环形导轨组件;3-同步带组件;4-减材组件;5-导向光杆;6-Y轴滚珠丝杠;7-龙门架;8-直角连接件;9-光杆滑块;10-X轴滚珠丝杠;11-Z轴滚珠丝杠;12-打印喷头组件;13-切削组件;14-电机;15-丝杠;16-光杆;17-增材组件;21-环形导轨;22-打印平台;23-底板;24-滚轮;25-连杆件;26-支座;27-销;31-同步带。
 
具体实施方式
 
为了使本发明的目的、技术方案及优点更加清楚明白,以下结合附图及实施例,对本发明进行进一步详细说明。应当理解,此处所描述的具体实施例仅仅用以解释本发明,并不用于限定本发明。
 
如图1~图6所示的一种多工位增减材打印机,包括机架1、环形导轨组件2、同步带组件3、增材组件17以及减材组件4,所述增材组件17与减材组件4对称设置于机架1表面两端,机架1的一侧设置有一导向光杆5,机架1的另一侧前后两端分别设置有一Y轴滚珠丝杠6,所述增材组件17与减材组件4分别包括有一龙门架7,所述龙门架7的底部两端分别通过一直角连接件8连接一与导向光杆5连接的光杆滑块9以及一与Y轴滚珠丝杠6连接的丝母座,龙门架7的顶端横向设置有一X轴滚珠丝杠10,所述X轴滚珠丝杠10上的丝母座上纵向固定设置有一Z轴滚珠丝杠11,所述增材组件17包括一连接于Z轴滚珠丝杠11丝母座上的打印喷头组件12,所述减材组件4包括一连接于Z轴滚珠丝杠11丝母座上的切削组件13,所述同步带组件3设置于机架1中部,所述环形导轨组件2包括一环设于同步带组件3外侧的环形导轨21以及滑动连接于环形导轨21上的若干均布设置的打印平台22,所述打印平台22分别与同步带组件3上的同步带31固定连接。
 
其中,所述X轴滚珠丝杠10、Y轴滚珠丝杠6以及Z轴滚珠丝杠11均包括一通过电机14控制的丝杠15、分设于丝杠15两侧的光杆16,与上述X轴滚珠丝杠10、Y轴滚珠丝杠6以及Z轴滚珠丝杠11连接的丝母座上也分别设置有与丝杠15连接的螺纹孔以及与光杆16连接的导向孔;所述切削组件13包括一通过电机控制的切削头,所述切削头为铣刀、钻头或丝锥中的一种;所述打印平台22底部通过螺丝连接一底板23,所述底板23的底部两侧分别对称设置有一组或多组夹持于环形导轨21两侧并能够沿环形导轨21滚动的滚轮24,所述滚轮24为橡胶轮,底板23的内侧面连接有一连杆件25,同步带31上固定连接有支座26,所述连杆件25与支座26通过销27连接。
 
本发明提到的一种多工位增减材打印机,其在具体使用时,通过打印喷头组件12熔融堆积的方式将材料打印在打印平台22上,打印过程通过X轴滚珠丝杠10、Y轴滚珠丝杠6以及Z轴滚珠丝杠11实现打印喷头组件12在X/Y/Z轴三个方向的运动,加工完第一个工件的第一层以后,通过启动位于同步带组件3上的电机工作,打印平台22随同步带31转动,直到第二个打印平台22到达打印喷头组件12的下部,开始个第二个工件第一层打印,如图1所示,一共设置有六个打印平台22,即打打印喷头组件12开始打印第四个打印工件的第一层时,第一个工件转动到切削组件13的底部,通过X轴滚珠丝杠10、Y轴滚珠丝杠6以及Z轴滚珠丝杠11实现切削组件13在X/Y/Z轴三个方向的运动,通过位于切削组件13上的电机控制切削头工作实现第一层边缘处的切削,使得打印物品表面精度更高,当打印完第六个工件以后,打印喷头组件12开始对第一个工件进行第二层打印,以此类推,可以同时打印六个工件,且在进行逐层打印过程中,同时可以进行打印层表面精度的提高,最终可以得到高精度的打印工件。
 
上面所述的实施例仅仅是对本发明的优选实施方式进行描述,并非对本发明的构思和范围进行限定。在不脱离本发明设计构思的前提下,本领域普通人员对本发明的技术方案做出的各种变型和改进,均应落入到本发明的保护范围,本发明请求保护的技术内容,已经全部记载在权利要求书中。
Copyright © 宁波鄞州盖奇同步带轮有限公司 2007-2022 All Rights Reserved.
电话:4006-574-123/0574-27834692 传真:0574-27834691
地址:浙江省宁波市鄞州区姜山镇蔡郎桥村姜南路39-2 E-Mail:sales@belt-pulley.com  
浙ICP备09102982号 盖奇公司网络部提供技术支持 浙公网安备33021202003319号