当前位置:首页->快速转款机构

 快速转款机构

 
【授权公告号:CN207404381U;申请权利人:东莞市大升智能科技有限公司;发明设计人:王浩波;】
 
摘要:
 
本实用新型公开了一种快速转款机构,包括固定板、料盘、顶料机构和用于实现换料和加料的旋转机构,所述料盘上装有料架;所述顶料机构由电机、同步带、同步轮、导向柱、顶料棒组成,所述导向柱上套设有滑块,所述滑块固定设置在同步带上,所述同步带套设在同步轮上,所述顶料棒竖向设置,顶料棒的底端固定安装在滑块上,所述电机驱动同步轮转动进而带动滑块和顶料棒上下运动;所述料盘上设置有允许顶料棒从中穿过的通孔。本实用新型的一种快速转款机构实现了自动连续化供料,提高了工作效率。同时解决了物料因静电或其他原因引起的相互粘附的问题。 
 
主权项:
 
一种快速转款机构,其特征在于:包括固定板、料盘、顶料机构和用于实现换料和加料的旋转机构,所述料盘上装有料架;所述顶料机构由电机、同步带、同步轮、导向柱、顶料棒组成,所述导向柱上套设有滑块,所述滑块固定设置在同步带上,所述同步带套设在同步轮上,所述顶料棒竖向设置,顶料棒的底端固定安装在滑块上,所述电机驱动同步轮转动进而带动滑块和顶料棒上下运动;所述料盘上设置有允许顶料棒从中穿过的通孔。 
 
要求:
 
1.一种快速转款机构,其特征在于:包括固定板、料盘、顶料机构和用于实现换料和加料的旋转机构,所述料盘上装有料架;所述顶料机构由电机、同步带、同步轮、导向柱、顶料棒组成,所述导向柱上套设有滑块,所述滑块固定设置在同步带上,所述同步带套设在同步轮上,所述顶料棒竖向设置,顶料棒的底端固定安装在滑块上,所述电机驱动同步轮转动进而带动滑块和顶料棒上下运动;所述料盘上设置有允许顶料棒从中穿过的通孔。
 
2.根据权利要求1所述的快速转款机构,其特征在于:所述料架包括安装有带吹气孔的固定块以及与固定块固定连接的竖向设置的定位柱,所述定位柱顶部设置有可拆卸锁定紧块。
 
3.根据权利要求2所述的快速转款机构,其特征在于:所述旋转机构包括旋转气缸和旋转盘,所述旋转盘设置在料盘中部的下方,旋转气缸的动力输出轴与旋转盘同轴固定连接,所述料架以旋转盘中心为圆心对称设置有两套。
 
4.根据权利要求3所述的快速转款机构,其特征在于:所述料架上安装有物料检测元件。
 
5.根据权利要求4所述的快速转款机构,其特征在于:所述料盘的底部以旋转盘中心对称设置有两套限位组件,所述限位组件包括与料盘底面固定连接的立柱和与固定板固定连接的限位开关。
 
快速转款机构
技术领域
 
本实用新型涉及送料技术领域,尤其涉及一种快速转款机构。
 
背景技术
 
供料架在制造生产企业中已经普遍使用,以往的供料架具备以下缺点:一是无法实现连续化生产,当将供料架上物料取用完成,需停机将该供料架取下,然后重新装满物品再将该供料架安装上恢复生产,费时费力,工作效率低;二是物料因静电或其他原因容易引起相互粘附的情况。
 
实用新型内容
 
有鉴于此,本实用新型的目的是提供一种快速转款机构,该快速转款机构可实现自动连续化供料,提高了工作效率。
 
本实用新型通过以下技术手段解决上述技术问题:
 
本实用新型的一种快速转款机构,包括固定板、料盘、顶料机构和用于实现换料和加料的旋转机构,所述料盘上装有料架;所述顶料机构由电机、同步带、同步轮、导向柱、顶料棒组成,所述导向柱上套设有滑块,所述滑块固定设置在同步带上,所述同步带套设在同步轮上,所述顶料棒竖向设置,顶料棒的底端固定安装在滑块上,所述电机驱动同步轮转动进而带动滑块和顶料棒上下运动;所述料盘上设置有允许顶料棒从中穿过的通孔。
 
进一步,所述料架包括安装有带吹气孔的固定块以及与固定块固定连接的竖向设置的定位柱,所述定位柱顶部设置有可拆卸锁定紧块。
 
进一步,所述旋转机构包括旋转气缸和旋转盘,所述旋转盘设置在料盘中部的下方,旋转气缸的动力输出轴与旋转盘同轴固定连接,所述料架以旋转盘 中心为圆心对称设置有两套。
 
进一步,所述料架上安装有物料检测元件。
 
进一步,所述料盘的底部以以旋转盘中心对称设置有两套限位组件,所述限位组件包括与料盘底面固定连接的立柱和与固定板固定连接的限位开关。
 
本实用新型的有益效果:
 
本实用新型的快速转款机构包括固定板、料盘、顶料机构和用于实现换料和加料的旋转机构,所述料盘上装有料架;所述顶料机构由电机、同步带、同步轮、导向柱、顶料棒组成,所述导向柱上套设有滑块,所述滑块固定设置在同步带上,所述同步带套设在同步轮上,所述顶料棒竖向设置,顶料棒的底端固定安装在滑块上,所述电机驱动同步轮转动进而带动滑块和顶料棒上下运动;所述料盘上设置有允许顶料棒从中穿过的通孔。本实用新型的一种快速转款机构实现了自动连续化供料,提高了工作效率。同时解决了物料因静电或其他原因引起的相互粘附的问题。
 
附图说明
 
下面结合附图和实施例对本实用新型作进一步描述。
 
快速转款机构
图1为本实用新型快速转款机构的立体结构示意图;
 
快速转款机构
图2为本实用新型快速转款机构的正视图;
 
快速转款机构
图3为本实用新型快速转款机构的侧视图。
 
具体实施方式
 
以下将结合附图对本实用新型进行详细说明:
 
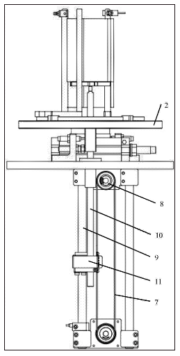
如图1-3所示,本实施例中的一种快速转款机构,包括固定板1、料盘2、顶料机构3和用于实现换料和加料的旋转机构4,所述料盘2上装有料架5,可根据不同物料的形状调整安装;所述顶料机构由电机6、同步带7、同步轮8、导向柱9、顶料棒10组成,所述导向柱9上套设有滑块11,所述滑块11固定设置在同步带7上,所述同步带7套设在同步轮8上,所述顶料棒10竖向设置, 顶料棒10的底端固定安装在滑块11上,所述电机6驱动同步轮8转动进而带动滑块11和顶料棒10上下运动,通过电机驱动带动顶料棒将物料提升至适合取料高度;所述料盘2上设置有允许顶料棒10从中穿过的通孔。具体地,所述料架5包括安装有带吹气孔的固定块13以及与固定块13固定连接的竖向设置的定位柱14,所述定位柱14顶部设置有可拆卸锁定紧块15,通过设置固定块用来避免物料因静电或其他原因引起的相互粘附的情况。具体地,所述旋转机构4包括旋转气缸16和旋转盘17,所述旋转盘17设置在料盘中部的下方,旋转气缸16的动力输出轴与旋转盘17同轴固定连接,所述料架5以旋转盘中心为圆心对称设置有两套。通过设置旋转机构用于实现换料和加料。所述料盘2的底部以旋转盘17中心对称设置有两套限位组件,所述限位组件包括与料盘底面固定连接的立柱19和与固定板固定连接的限位开关18。
 
做为上述技术方案的进一步改进,所述料架5上安装有物料检测元件12,用于感应物料的有无从而进行自动更换。
 
工作过程:将物料放置于两个料盘中,取料机构取料,顶料机构将物料不断提升至适合高度,料架上检测器感应物料取完,顶料棒下降至旋转盘下方,旋转气缸带动转盘旋转将另一边的物料移至取料位置,继续之前的取料动作,同时人工或其他方式将物料补充至空料盘中,如此工序循环。
 
最后说明的是,以上实施例仅用以说明本实用新型的技术方案而非限制,尽管参照较佳实施例对本实用新型进行了详细说明,本领域的普通技术人员应当理解,可以对本实用新型的技术方案进行修改或者等同替换,而不脱离本实用新型技术方案的宗旨和范围,其均应涵盖在本实用新型的权利要求范围当中。
Copyright © 宁波鄞州盖奇同步带轮有限公司 2007-2022 All Rights Reserved.
电话:4006-574-123/0574-27834692 传真:0574-27834691
地址:浙江省宁波市鄞州区姜山镇蔡郎桥村姜南路39-2 E-Mail:sales@belt-pulley.com  
浙ICP备09102982号 盖奇公司网络部提供技术支持 浙公网安备33021202003319号