当前位置:首页->一种用于安装焊带的小车

 一种用于安装焊带的小车

 
【授权公告号:CN207521917U;申请权利人:浙江隆基乐叶光伏科技有限公司;发明设计人:胡光明; 程锋; 袁尧年; 任乃俊; 潘庚臣; 邓升祥;】
 
摘要:
 
本实用新型提供一种用于安装焊带的小车,属于太阳能光伏组件制造技术领域,包括脚轮、底座、电机、焊带平台、平台导轨和同步带传动机构;脚轮位于底座的下方,和底座铰接,电机安装在底座上;平台导轨垂直于底座的上表面,平台导轨的一端和底座连接,焊带平台和平台导轨滑动连接;同步带传动机构和焊带平台连接,电机通过同步带传动机构带动焊带平台沿平台导轨运动。通过电机带动同步带传动机构运动,同步带传动机构带动焊带平台沿平台导轨运动,将放置在焊带平台上的焊带卷轴输送至焊机安装轴位置,避免了人工安装焊带卷轴存在的容易发生事故的风险,降低了操作人员的工作强度。 
 
主权项:
 
1.一种用于安装焊带的小车,其特征在于,包括脚轮(1)、底座(2)、电机(3)、焊带平台(4)、平台导轨(5)和同步带传动机构(6);所述脚轮(1)位于底座(2)的下方,和底座(2)连接,电机(3)安装在底座(2)上;所述平台导轨(5)垂直于底座(2)的上表面,平台导轨(5)的一端和底座(2)连接,焊带平台(4)和平台导轨(5)滑动连接;所述同步带传动机构(6)和焊带平台(4)连接,电机(3)通过同步带传动机构(6)带动焊带平台(4)沿平台导轨(5)运动。 
 
要求:
1.一种用于安装焊带的小车,其特征在于,包括脚轮(1)、底座(2)、电机(3)、焊带平台(4)、平台导轨(5)和同步带传动机构(6);
 
所述脚轮(1)位于底座(2)的下方,和底座(2)连接,电机(3)安装在底座(2)上;
 
所述平台导轨(5)垂直于底座(2)的上表面,平台导轨(5)的一端和底座(2)连接,焊带平台(4)和平台导轨(5)滑动连接;
 
所述同步带传动机构(6)和焊带平台(4)连接,电机(3)通过同步带传动机构(6)带动焊带平台(4)沿平台导轨(5)运动。
 
2.如权利要求1所述的一种用于安装焊带的小车,其特征在于,所述焊带平台(4)包括连接器(41)、直线导轨(42)和焊带滑块(43);
 
所述连接器(41)和同步带传动机构(6)连接,两个直线导轨(42)平行安装在连接器(41)上,焊带滑块(43)安装在直线导轨(42)上,能够沿直线导轨(42)往复运动。
 
3.如权利要求2所述的一种用于安装焊带的小车,其特征在于,焊带滑块(43)上设置有焊带卷轴安装槽。
 
4.如权利要求1所述的一种用于安装焊带的小车,其特征在于,所述同步带传动机构(6)包括第一同步带(61)、第二同步带(62)、输入轴(63)和输出轴(64);
 
所述第一同步带(61)安装电机(3)轴和输入轴(63)上,第二同步带(62)安装在输入轴(63)和输出轴(64)上,输入轴(63)和输出轴(64)分别安装在平台导轨(5)的两端,第二同步带(62)和平台导轨(5)平行。
 
5.如权利要求4所述的一种用于安装焊带的小车,其特征在于,所述电机(3)轴、输入轴(63)、输出轴(64)上均安装有同步带轮。
 
6.如权利要求1所述的一种用于安装焊带的小车,其特征在于,所述底座(2)为矩形结构,矩形结构的四个角上均安装有脚轮(1)。
 
7.如权利要求1所述的一种用于安装焊带的小车,其特征在于,还包括电机座,电机(3)通过电机座和底座(2)连接。
 
一种用于安装焊带的小车
技术领域
 
本实用新型涉及太阳能光伏组件制造技术领域,具体为一种用于安装焊带的小车。
 
背景技术
 
随着传统能源的枯竭和人类对环境问题的重视,为了实现能源和环境的可持续发展,太阳能发电作为清洁能源得到巨大发展。通常采用太阳能光伏组件来利用太阳能。
 
目前,太阳能光伏组件生产流水线自动化程度提高,电池片焊接已完全实现自动化。焊接机焊接电池片时,需使用卷轴焊带,增加单轴焊带重量可以减少焊带更换频次,从而增加焊机产能;但是由于焊带在焊机的安装位置较高,因此,增加焊带重量对操作人员身高和体能有一定要求,并且容易出事故,对操作人员的安全造成威胁。
 
实用新型内容
 
针对现有技术中存在的问题,本实用新型提供一种用于安装焊带的小车,降低了操作人员的工作强度,避免了焊带卷轴安装时存在的容易发生事故的风险。
 
本实用新型是通过以下技术方案来实现:
 
一种用于安装焊带的小车,包括脚轮、底座、电机、焊带平台、平台导轨和同步带传动机构;
 
所述脚轮位于底座的下方,和底座铰接,电机安装在底座上;
 
所述平台导轨垂直于底座的上表面,平台导轨的一端和底座连接,焊带平台和平台导轨滑动连接;
 
所述同步带传动机构和焊带平台连接,电机通过同步带传动机构带动焊带平台沿平台导轨运动。
 
可选的,所述焊带平台包括连接器、直线导轨和焊带滑块;
 
所述连接器和同步带传动机构连接,两个直线导轨平行安装在连接器上,焊带滑块安装在直线导轨上,能够沿直线导轨往复运动。
 
可选的,焊带滑块上设置有焊带卷轴安装槽。
 
可选的,所述同步带传动机构包括第一同步带、第二同步带、输入轴和输出轴;
 
所述第一同步带安装电机轴和输入轴上,第二同步带安装在输入轴和输出轴上,输入轴和输出轴分别安装在平台导轨的两端,第二同步带和平台导轨平行。
 
可选的,所述电机轴、输入轴、输出轴上均安装有同步带轮。
 
可选的,所述底座为矩形结构,矩形结构的四个角上均安装有脚轮。
 
可选的,还包括电机座,电机通过电机座和底座连接。
 
与现有技术相比,本实用新型具有以下有益的技术效果:
 
本实用新型提供一种用于安装焊带的小车,包括脚轮、底座、电机、焊带平台、平台导轨和同步带传动机构;脚轮位于底座的下方,和底座铰接,电机安装在底座上;平台导轨垂直于底座的上表面,平台导轨的一端和底座连接,焊带平台和平台导轨滑动连接;同步带传动机构和焊带平台连接,电机通过同步带传动机构带动焊带平台沿平台导轨运动。通过电机带动同步带传动机构运动,同步带传动机构带动焊带平台沿平台导轨运动,将放置在焊带平台上的焊带卷轴输送至焊机安装轴位置,避免了人工安装焊带卷轴存在的容易发生事故的风险,降低了操作人员的工作强度。
 
附图说明
 
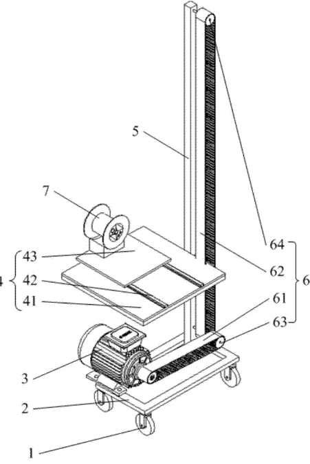
图1为本实用新型实施例提供的一种用于安装焊带的小车的结构示意图。
 
图中:1.脚轮、2.底座、3.电机、4.焊带平台、5.平台导轨、6.同步带传动机构、7.焊带卷轴;
 
41.连接器、42.直线导轨、43.焊带滑块、61.第一同步带、62.第二同步带、63.输入轴、64.输出轴。
 
具体实施方式
 
下面结合附图对本实用新型做进一步的详细说明,所述是对本实用新型的解释而不是限定。
 
一种用于安装焊带的小车
图1为本实用新型实施例提供的一种用于安装焊带的小车的结构示意图,如图1所示,一种用于安装焊带的小车包括:脚轮1、底座2、电机3、电机座、焊带平台4、平台导轨5和同步带传动机构6;
 
脚轮1位于底座2的下方,和底座2铰接,电机3通过电机座安装在底座2上;平台导轨5垂直于底座2的上表面,平台导轨5的一端和底座2连接,焊带平台4和平台导轨5滑动连接,平台导轨5用于在平台运动时导向;同步带传动机构6和焊带平台4连接,电机3通过同步带传动机构6带动焊带平台4沿平台导轨5运动。
 
其中,电机座和底座2可以是螺栓连接,也可以是焊接等连接方式,脚轮1可以是万向脚轮1。
 
焊带平台4包括连接器41、直线导轨42和焊带滑块43;连接器41和同步带传动机构6连接,两个直线导轨42平行安装在连接器41上,焊带滑块43安装在直线导轨42上,能够沿直线导轨42往复运动。焊带滑块43上设置有焊带卷轴安装槽,使用时焊带卷轴7放置在焊带卷轴安装槽中。
 
同步带传动机构6包括第一同步带61、第二同步带62、同步带轮、输入轴63和输出轴64;
 
第一同步带61通过同步带轮安装电机3轴和输入轴63上,第二同步带62通过同步带轮安装在输入轴63和输出轴64上,输入轴63和输出轴64分别安装在平台导轨5的两端,第二同步带62和平台导轨5平行。
 
其中,输入轴63和输出轴64可以通过轴承和平台导轨5连接,电机3轴上的同步带轮通过第一同步带61带动安装在输入轴63上同步带轮转动,进而通过第二同步带62带动焊带平台4运动,将置于焊带平台4上的焊带卷轴7上升至焊机安装轴位置。
 
底座2为矩形结构,矩形结构的四个角上均安装有脚轮1,便于行走,使用时一个用于安装焊带小车可以方便的为多个焊机提供。
 
焊机上的焊带快使用完前,打开焊接门,将预备焊带卷轴7放置在焊带平台4上,并将本实用新型提供的一种用于安装焊带的小车推送到安装位置;焊带使用完后,推入到安装轴上,从而实现安全、快速地更换焊带。
 
示例的,使用时将焊带卷轴7放置在焊带卷轴安装槽中,启动电机3,电机3轴带动同步带轮转动,通过第一同步带61将动力传到输入轴63,输入轴63上的同步带轮带动第二同步带62运动,焊带平台4沿平台导轨5与第二同步带62一起运动,将焊带卷轴7输送至焊机安装轴高度位置,沿直线导轨42推动焊带滑块43,将焊带卷轴7装入安装轴。
 
通过电机带动同步带传动机构运动,同步带传动机构带动焊带平台沿平台导轨运动,将放置在焊带平台上的焊带卷轴输送至焊机安装轴位置,避免了人工安装焊带卷轴存在的容易发生事故的风险,降低了操作人员的工作强度。
 
以上所述仅为本实用新型的较佳实施例,并不用以限制本实用新型,凡在本实用新型的精神和原则之内,所作的任何修改、等同替换、改进等,均应包含在本实用新型的保护范围之内。
 
Copyright © 宁波鄞州盖奇同步带轮有限公司 2007-2022 All Rights Reserved.
电话:4006-574-123/0574-27834692 传真:0574-27834691
地址:浙江省宁波市鄞州区姜山镇蔡郎桥村姜南路39-2 E-Mail:sales@belt-pulley.com  
浙ICP备09102982号 盖奇公司网络部提供技术支持 浙公网安备33021202003319号