当前位置:首页->一种可降噪减震的3D打印机

 一种可降噪减震的3D打印机

 
【申请公布号:CN108202477A;申请权利人:季丽红;发明设计人:季丽红;】
 
摘要:
 
本发明涉及一种可降噪减震的3D打印机,包括底座和连接座,所述底座的底端安装有滚轮,且底座的上端固定有打印平台,所述打印平台的内部贯穿安置有螺杆,且螺杆的上方设置有螺帽,所述螺杆的下端安置有弹簧,且弹簧的下端连接有衔接块,所述衔接块的下端安置有固定座,所述底座中部的上端固定有中联箱,且中联箱内部的左端安装有第一步进电机。本发明的有益效果是:该可降噪减震的3D打印机,设置有主侧臂和副侧臂,通过主侧臂和副侧臂可以很好的连接主联动器和副联动器,且通过互为对称的侧臂和副侧臂,可以使得主联动器和副联动器同时打印相同的产品,从而提高打印的效率,同时通过同步带的安装,可以让3D打印机的传动过程更加的精确。 
 
主权项:
 
1.一种可降噪减震的3D打印机,包括底座(1)和连接座(19),其特征在于:所述底座(1)的底端安装有滚轮(2),且底座(1)的上端固定有打印平台(3),所述打印平台(3)的内部贯穿安置有螺杆(4),且螺杆(4)的上方设置有螺帽(5),所述螺杆(4)的下端安置有弹簧(6),且弹簧(6)的下端连接有衔接块(7),所述衔接块(7)的下端安置有固定座(8),所述底座(1)中部的上端固定有中联箱(9),且中联箱(9)内部的左端安装有第一步进电机(10),所述第一步进电机(10)的右端连接有转杆(11),且转杆(11)的上端固定有承接座(12),所述承接座(12)的上方安装有第二步进电机(13),且第二步进电机(13)的上端连接有丝杆(14),所述丝杆(14)的上端安装有轴承(15),且轴承(15)的上端安置有衔接块(16),所述衔接块(16)的上上方设置有料箱(17),且料箱(17)的左右两端均安装有输料管(18),所述连接座(19)的左侧固定有主侧臂(20),且连接座(19)位于丝杆(14)中部的外端,所述主侧臂(20)的内端安装有同步带(21),且主侧臂(20)的外端连接有主联动器(22),所述主联动器(22)的下端安装有打印头(23),且主联动器(22)的外端安置有第三步进电机(24),所述主联动器(22)的内部安装有同步轮(25),所述连接座(19)的右侧固定有副侧臂(26),且副侧臂(26)的外端安装有副联动器(27),所述副侧臂(26)的右端固定有挡护块(28)。 
 
要求:
 
1.一种可降噪减震的3D打印机,包括底座(1)和连接座(19),其特征在于:所述底座(1)的底端安装有滚轮(2),且底座(1)的上端固定有打印平台(3),所述打印平台(3)的内部贯穿安置有螺杆(4),且螺杆(4)的上方设置有螺帽(5),所述螺杆(4)的下端安置有弹簧(6),且弹簧(6)的下端连接有衔接块(7),所述衔接块(7)的下端安置有固定座(8),所述底座(1)中部的上端固定有中联箱(9),且中联箱(9)内部的左端安装有第一步进电机(10),所述第一步进电机(10)的右端连接有转杆(11),且转杆(11)的上端固定有承接座(12),所述承接座(12)的上方安装有第二步进电机(13),且第二步进电机(13)的上端连接有丝杆(14),所述丝杆(14)的上端安装有轴承(15),且轴承(15)的上端安置有衔接块(16),所述衔接块(16)的上上方设置有料箱(17),且料箱(17)的左右两端均安装有输料管(18),所述连接座(19)的左侧固定有主侧臂(20),且连接座(19)位于丝杆(14)中部的外端,所述主侧臂(20)的内端安装有同步带(21),且主侧臂(20)的外端连接有主联动器(22),所述主联动器(22)的下端安装有打印头(23),且主联动器(22)的外端安置有第三步进电机(24),所述主联动器(22)的内部安装有同步轮(25),所述连接座(19)的右侧固定有副侧臂(26),且副侧臂(26)的外端安装有副联动器(27),所述副侧臂(26)的右端固定有挡护块(28)。
 
2.根据权利要求1所述的一种可降噪减震的3D打印机,其特征在于:所述底座(1)的长度大于主侧臂(20)的长度和副侧臂(26)的长度之和,且其宽度大于打印平台(3)的宽度。
 
3.根据权利要求1所述的一种可降噪减震的3D打印机,其特征在于:所述打印平台(3)设置有2个,且二者的形状大小均相同,而且二者均通过螺杆(4)和螺帽(5)与底座(1)构成可以拆卸结构。
 
4.根据权利要求1所述的一种可降噪减震的3D打印机,其特征在于:所述弹簧(6)通过焊接有衔接块(7)构成一体化结构,且衔接块(7)与固定座(8)构成一体化结构,而且弹簧(6)的口径大于螺杆(4)的口径。
 
5.根据权利要求1所述的一种可降噪减震的3D打印机,其特征在于:所述转杆(11)与承接座(12)为固定连接,且二者的竖直中轴线相互重合,而且承接座(12)与第二步进电机(13)为固定连接。
 
6.根据权利要求1所述的一种可降噪减震的3D打印机,其特征在于:所述丝杆(14)通过轴承(15)与衔接块(16)构成旋转结构,且其旋转范围为0-360°。
 
7.根据权利要求1所述的一种可降噪减震的3D打印机,其特征在于:所述料箱(17)的水平中轴线与输料管(18)的水平中轴线相互重合,且输料管(18)设置有2个,而且输料管(18)均与主联动器(22)和副联动器(27)构成粘接结构。
 
8.根据权利要求1所述的一种可降噪减震的3D打印机,其特征在于:所述主侧臂(20)和副侧臂(26)关于连接座(19)的中心对称,且二者均通过焊接与连接座(19)构成一体结构,而且主侧臂(20)和副侧臂(26)均通过同步带(21)和同步轮(25)构成传动连接。
 
9.根据权利要求1所述的一种可降噪减震的3D打印机,其特征在于:所述主联动器(22)包括打印头(23)、第三步进电机(24)和同步轮(25),且同步轮(25)设置还有4个,而且上下两端同步轮(25)之间的距离小于主侧臂(20)的厚度。
 
 
一种可降噪减震的3D打印机
技术领域
 
本发明涉及3D打印装置技术领域,具体为一种可降噪减震的3D打印机。
 
背景技术
 
3D打印机简称是一位名为恩里科·迪尼的发明家设计的一种神奇的打印机,不仅可以“打印”一幢完整的建筑,甚至可以在航天飞船中给宇航员打印任何所需的物品的形状,但是3D打印出来的是物体的模型,不能打印出物体的功能。
 
现有的3D打印机在打印常常只能在先者打印完成后才能打印后者,如需要多个相同的打印产品时,往往需要耗费许多的时间,存在效率低下的问题,同时打印机在使用时由于电器机械结构的缘故,会有些许的冲击,使得打印台会产生少许的震动,从而让打印机在打印产品时产生偏差,影响到产品的打印质量,同时一般的打印机在使用时由于一个传动结构拥有多个同步轮,使得打印机不得不配对更多的机械结构,从而产生较大的噪音,让使用者倍感不适。
 
发明内容
 
本发明的目的在于提供一种可降噪减震的3D打印机,以解决上述背景技术中提出的现有的3D打印机在打印常常只能在先者打印完成后才能打印后者,如需要多个相同的打印产品时,往往需要耗费许多的时间,存在效率低下的问题,同时打印机在使用时由于电器机械结构的缘故,会有些许的冲击,使得打印台会产生少许的震动,从而让打印机在打印产品时产生偏差,影响到产品的打印质量,同时一般的打印机在使用时由于一个传动结构拥有多个同步轮,使得打印机不得不配对更多的机械结构,从而产生较大的噪音,让使用者倍感不适的问题。
 
为实现上述目的,本发明提供如下技术方案:一种可降噪减震的3D打印机,包括底座和连接座,所述底座的底端安装有滚轮,且底座的上端固定有打印平台,所述打印平台的内部贯穿安置有螺杆,且螺杆的上方设置有螺帽,所述螺杆的下端安置有弹簧,且弹簧的下端连接有衔接块,所述衔接块的下端安置有固定座,所述底座中部的上端固定有中联箱,且中联箱内部的左端安装有第一步进电机,所述第一步进电机的右端连接有转杆,且转杆的上端固定有承接座,所述承接座的上方安装有第二步进电机,且第二步进电机的上端连接有丝杆,所述丝杆的上端安装有轴承,且轴承的上端安置有衔接块,所述衔接块的上上方设置有料箱,且料箱的左右两端均安装有输料管,所述连接座的左侧固定有主侧臂,且连接座位于丝杆中部的外端,所述主侧臂的内端安装有同步带,且主侧臂的外端连接有主联动器,所述主联动器的下端安装有打印头,且主联动器的外端安置有第三步进电机,所述主联动器的内部安装有同步轮,所述连接座的右侧固定有副侧臂,且副侧臂的外端安装有副联动器,所述副侧臂的右端固定有挡护块。
 
优选的,所述底座的长度大于主侧臂的长度和副侧臂的长度之和,且其宽度大于打印平台的宽度。
 
优选的,所述打印平台设置有2个,且二者的形状大小均相同,而且二者均通过螺杆和螺帽与底座构成可以拆卸结构。
 
优选的,所述弹簧通过焊接有衔接块构成一体化结构,且衔接块与固定座构成一体化结构,而且弹簧的口径大于螺杆的口径。
 
优选的,所述转杆与承接座为固定连接,且二者的竖直中轴线相互重合,而且承接座与第二步进电机为固定连接。
 
优选的,所述丝杆通过轴承与衔接块构成旋转结构,且其旋转范围为0-360°。
 
优选的,所述料箱的水平中轴线与输料管的水平中轴线相互重合,且输料管设置有2个,而且输料管均与主联动器和副联动器构成粘接结构。
 
优选的,所述主侧臂和副侧臂关于连接座的中心对称,且二者均通过焊接与连接座构成一体结构,而且主侧臂和副侧臂均通过同步带和同步轮构成传动连接。
 
优选的,所述主联动器包括打印头、第三步进电机和同步轮,且同步轮设置还有4个,而且上下两端同步轮之间的距离小于主侧臂的厚度。
 
与现有技术相比,本发明的有益效果是:该可降噪减震的3D打印机,设置有底座,通过较大面积的底座可以很好的安装两个打印平台和中联箱,同时便于滚轮移动底座,从而对整个3D打印机进行位置调整,方便3D打印机进行使用,且其设置有打印平台,通过两个打印平台,可以方便主联动器和副联动器同时进行工作打印,便于提高打印的效率,同时通过螺杆和螺帽可以对打印平台进行拆卸,以方便进行更换、维护和清洁,便于3D打印机保持整洁,且其设置有弹簧,使得打印平台在安装时,打印平台的下端可以紧紧的抵靠在弹簧的上端口,同时通过螺杆和螺帽进行紧固,从而让打印平台与衔接块通过弹簧紧紧的连接在一起,使得打印机因电器和机械结构的运作时产生冲击,可以通过弹簧的伸缩性进行减缓而抵消掉,有效的防止打印平台发生因震荡而产生打印偏差的情况,且其设置有与承接座为固定连接的转杆,通过第一步进电机的工作,使得转杆得以发生旋转,同时使得承接座发生旋转,从而让连接座、主侧臂和副侧臂进行旋转,以达到调节主联动器和副联动器方位的目的,方便进行3D打印机进行打印,且其设置有丝杆,通过第二步进电机的工作,使得丝杆得以进行旋转,让丝杆外侧的连接座得以进行上下位移,从而便于调节主联动器和副联动器高度,且通过轴承,可以使得丝杆发生旋转时衔接块可以保持固定状态,同时通过丝杆的设置减缓3D打印机的机械结构,从而达到减少噪音的目的,且其设置有料箱,通过料箱和输料管,可以很好的对打印头进行供料,方便整个打印过程能够顺利的进行,且其设置有主侧臂和副侧臂,通过主侧臂和副侧臂可以很好的连接主联动器和副联动器,且通过互为对称的侧臂和副侧臂,可以使得主联动器和副联动器同时打印相同的产品,从而提高打印的效率,同时通过同步带的安装,可以让3D打印机的传动过程更加的精确,且其设置有主联动器,通过四个同步轮可以很好的让主联动器与主侧臂进行固定,并保障固定的稳定性,同时通过将同步轮内嵌于主侧臂的内侧,使得主联动器与主侧臂之间固定的更加牢固,并且通过第三步进电机的工作,驱动同步轮在同步带的外端进行转动,从而方便主联动器进行水平方向上的位移。
 
附图说明
 
一种可降噪减震的3D打印机
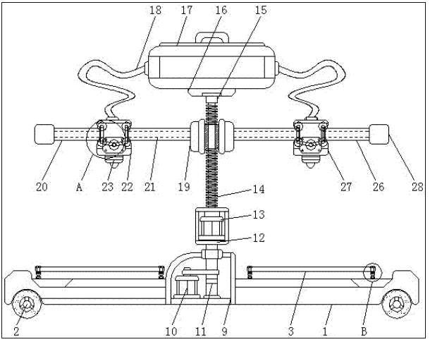
图1为本发明一种可降噪减震的3D打印机的结构示意图;
 
一种可降噪减震的3D打印机
图2为本发明一种可降噪减震的3D打印机的打印平台俯视结构示意图;
 
一种可降噪减震的3D打印机
图3为本发明一种可降噪减震的3D打印机的同步带和同步轮的连接结构示意图;
 
一种可降噪减震的3D打印机
图4为本发明一种可降噪减震的3D打印机的图1中A处放大结构示意图;
 
一种可降噪减震的3D打印机
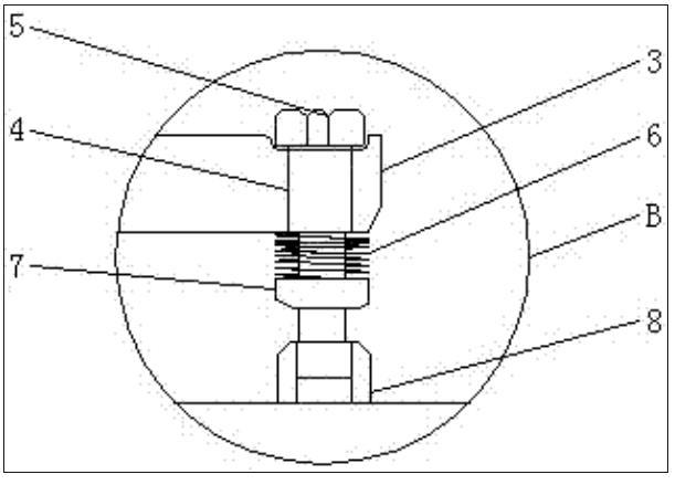
图5为本发明一种可降噪减震的3D打印机的图1中B处放大结构示意图。
 
图中:1、底座,2、滚轮,3、打印平台,4、螺杆,5、螺帽,6、弹簧,7、衔接块,8、固定座,9、中联箱,10、第一步进电机,11、转杆,12、承接座,13、第二步进电机,14、丝杆,15、轴承,16、衔接块,17、料箱,18、输料管,19、连接座,20、主侧臂,21、同步带,22、主联动器,23、打印头,24、第三步进电机,25、同步轮,26、副侧臂,27、副联动器,28、挡护块。
 
具体实施方式
 
下面将结合本发明实施例中的附图,对本发明实施例中的技术方案进行清楚、完整地描述,显然,所描述的实施例仅仅是本发明一部分实施例,而不是全部的实施例。基于本发明中的实施例,本领域普通技术人员在没有做出创造性劳动前提下所获得的所有其他实施例,都属于本发明保护的范围。
 
请参阅图1-5,本发明提供一种技术方案:一种可降噪减震的3D打印机,包括底座1、滚轮2、打印平台3、螺杆4、螺帽5、弹簧6、衔接块7、固定座8、中联箱9、第一步进电机10、转杆11、承接座12、第二步进电机13、丝杆14、轴承15、衔接块16、料箱17、输料管18、连接座19、主侧臂20、同步带21、主联动器22、打印头23、第三步进电机24、同步轮25、副侧臂26、副联动器27和挡护块28,底座1的底端安装有滚轮2,且底座1的上端固定有打印平台3,底座1的长度大于主侧臂20的长度和副侧臂26的长度之和,且其宽度大于打印平台3的宽度,通过较大面积的底座1可以很好的安装两个打印平台3和中联箱9,同时便于滚轮2移动底座1,从而对整个3D打印机进行位置调整,方便3D打印机进行使用,打印平台3的内部贯穿安置有螺杆4,且螺杆4的上方设置有螺帽5,打印平台3设置有2个,且二者的形状大小均相同,而且二者均通过螺杆4和螺帽5与底座1构成可以拆卸结构,通过两个打印平台3,可以方便主联动器22和副联动器27同时进行工作打印,便于提高打印的效率,同时通过螺杆4和螺帽5可以对打印平台3进行拆卸,以方便进行更换、维护和清洁,便于3D打印机保持整洁,螺杆4的下端安置有弹簧6,且弹簧6的下端连接有衔接块7,弹簧6通过焊接有衔接块7构成一体化结构,且衔接块7与固定座8构成一体化结构,而且弹簧6的口径大于螺杆4的口径,使得打印平台3在安装时,打印平台3的下端可以紧紧的抵靠在弹簧6的上端口,同时通过螺杆4和螺帽5进行紧固,从而让打印平台3与衔接块7通过弹簧6紧紧的连接在一起,使得打印机因电器和机械结构的运作时产生冲击,可以通过弹簧6的伸缩性进行减缓而抵消掉,有效的防止打印平台3发生因震荡而产生打印偏差的情况,衔接块7的下端安置有固定座8,底座1中部的上端固定有中联箱9,且中联箱9内部的左端安装有第一步进电机10,第一步进电机10的右端连接有转杆11,且转杆11的上端固定有承接座12,转杆11与承接座12为固定连接,且二者的竖直中轴线相互重合,而且承接座12与第二步进电机13为固定连接,通过第一步进电机10的工作,使得转杆11得以发生旋转,同时使得承接座12发生旋转,从而让连接座19、主侧臂20和副侧臂26进行旋转,以达到调节主联动器22和副联动器27方位的目的,方便进行3D打印机进行打印,承接座12的上方安装有第二步进电机13,且第二步进电机13的上端连接有丝杆14,丝杆14通过轴承15与衔接块16构成旋转结构,且其旋转范围为0-360°,通过第二步进电机13的工作,使得丝杆14得以进行旋转,让丝杆14外侧的连接座19得以进行上下位移,从而便于调节主联动器22和副联动器27高度,且通过轴承15,可以使得丝杆14发生旋转时衔接块16可以保持固定状态,同时通过丝杆14的设置减缓3D打印机的机械结构,从而达到减少噪音的目的,丝杆14的上端安装有轴承15,且轴承15的上端安置有衔接块16,衔接块16的上上方设置有料箱17,且料箱17的左右两端均安装有输料管18,料箱17的水平中轴线与输料管18的水平中轴线相互重合,且输料管18设置有2个,而且输料管18均与主联动器22和副联动器27构成粘接结构,通过料箱17和输料管18,可以很好的对打印头23进行供料,方便整个打印过程能够顺利的进行,连接座19的左侧固定有主侧臂20,且连接座19位于丝杆14中部的外端,主侧臂20的内端安装有同步带21,且主侧臂20的外端连接有主联动器22,主侧臂20和副侧臂26关于连接座19的中心对称,且二者均通过焊接与连接座19构成一体结构,而且主侧臂20和副侧臂26均通过同步带21和同步轮25构成传动连接,通过主侧臂20和副侧臂26可以很好的连接主联动器22和副联动器27,且通过互为对称的侧臂20和副侧臂26,可以使得主联动器22和副联动器27同时打印相同的产品,从而提高打印的效率,同时通过同步带21的安装,可以让3D打印机的传动过程更加的精确,主联动器22的下端安装有打印头23,且主联动器22的外端安置有第三步进电机24,主联动器22包括打印头23、第三步进电机24和同步轮25,且同步轮25设置还有4个,而且上下两端同步轮25之间的距离小于主侧臂20的厚度,通过四个同步轮25可以很好的让主联动器22与主侧臂20进行固定,并保障固定的稳定性,同时通过将同步轮25内嵌于主侧臂20的内侧,使得主联动器22与主侧臂20之间固定的更加牢固,并且通过第三步进电机24的工作,驱动同步轮25在同步带21的外端进行转动,从而方便主联动器22进行水平方向上的位移,主联动器22的内部安装有同步轮25,连接座19的右侧固定有副侧臂26,且副侧臂26的外端安装有副联动器27,副侧臂26的右端固定有挡护块28。
 
本实施例的工作原理:该可降噪减震的3D打印机,先通过轮2移动底座1,从而对整个3D打印机进行位置调整,之后将打印平台3的下端可以紧紧的抵靠在弹簧6的上端口,同时通过螺杆4和螺帽5进行紧固,从而让打印平台3与衔接块7通过弹簧6紧紧的连接在一起,使得打印机因电器和机械结构的运作时产生冲击,可以通过弹簧6的伸缩性进行减缓而抵消掉,有效的防止打印平台3发生因震荡而产生打印偏差的情况,同时通过螺杆4和螺帽5可以对打印平台3进行拆卸,以方便进行更换、维护和清洁,便于3D打印机保持整洁,然后通过第一步进电机10的工作,使得转杆11得以发生旋转,同时使得承接座12发生旋转,从而让连接座19、主侧臂20和副侧臂26进行旋转,以达到调节主联动器22和副联动器27方位的目的,方便进行3D打印机进行打印,并通过第二步进电机13的工作,使得丝杆14得以进行旋转,让丝杆14外侧的连接座19得以进行上下位移,从而便于调节主联动器22和副联动器27高度,且通过轴承15,可以使得丝杆14发生旋转时衔接块16可以保持固定状态,同时通过丝杆14的设置减缓3D打印机的机械结构,从而达到减少噪音的目的,再通过第三步进电机24的工作,驱动同步轮25在同步带21的外端进行转动,从而方便主联动器22进行水平方向上的位移,通过四个同步轮25可以很好的让主联动器22与主侧臂20进行固定,并保障固定的稳定性,同时通过将同步轮25内嵌于主侧臂20的内侧,使得主联动器22与主侧臂20之间固定的更加牢固,同时经过主侧臂20和副侧臂26可以很好的连接主联动器22和副联动器27,且通过互为对称的侧臂20和副侧臂26,可以使得主联动器22和副联动器27同时打印相同的产品,从而提高打印的效率,并且通过料箱17和输料管18,可以很好的对打印头23进行供料,方便整个打印过程能够顺利的进行,这就是该可降噪减震的3D打印机的工作原理。
 
尽管参照前述实施例对本发明进行了详细的说明,对于本领域的技术人员来说,其依然可以对前述各实施例所记载的技术方案进行修改,或者对其中部分技术特征进行等同替换,凡在本发明的精神和原则之内,所作的任何修改、等同替换、改进等,均应包含在本发明的保护范围之内。
Copyright © 宁波鄞州盖奇同步带轮有限公司 2007-2022 All Rights Reserved.
电话:4006-574-123/0574-27834692 传真:0574-27834691
地址:浙江省宁波市鄞州区姜山镇蔡郎桥村姜南路39-2 E-Mail:sales@belt-pulley.com  
浙ICP备09102982号 盖奇公司网络部提供技术支持 浙公网安备33021202003319号