当前位置:首页->灯检机

 灯检机

 
【授权公告号:CN207533587U;申请权利人:浙江丰安生物制药有限公司;发明设计人:吴旭飞;】
 
摘要:
 
本实用新型公开了一种灯检机,包括机架,机架上设置有机体,机体上转动设置有同步带主动轮和同步带从动轮,机体内设置有用于驱动同步带主动轮转动的第一驱动源,同步带主动轮和同步带从动轮之间设置有同步带,同步带上开设有用于放置包装瓶的若干凹槽,同步带一侧设置有上料机构,另一侧设置有出料机构,机体上设置有光源,光源位于包装瓶上方,其技术方案要点是该灯检机无须人工上下料,检测效率较高,该灯检机可将有外观质量问题的包装瓶筛选出来。 
 
主权项:
 
1.一种灯检机,包括机架(1),所述机架(1)上设置有机体(2),其特征是:所述机体(2)上转动设置有同步带主动轮(3)和同步带从动轮(4),所述机体(2)内设置有用于驱动同步带主动轮(3)转动的第一驱动源,所述同步带主动轮(3)和同步带从动轮(4)之间设置有同步带(6),所述同步带(6)上开设有用于放置包装瓶(34)的若干凹槽(7),所述同步带(6)一侧设置有上料机构(13),另一侧设置有出料机构(21),所述机体(2)上设置有光源(8),所述光源(8)位于同步带(6)上方。 
 
要求:
1.一种灯检机,包括机架(1),所述机架(1)上设置有机体(2),其特征是:所述机体(2)上转动设置有同步带主动轮(3)和同步带从动轮(4),所述机体(2)内设置有用于驱动同步带主动轮(3)转动的第一驱动源,所述同步带主动轮(3)和同步带从动轮(4)之间设置有同步带(6),所述同步带(6)上开设有用于放置包装瓶(34)的若干凹槽(7),所述同步带(6)一侧设置有上料机构(13),另一侧设置有出料机构(21),所述机体(2)上设置有光源(8),所述光源(8)位于同步带(6)上方。
 
2.根据权利要求1所述的灯检机,其特征是:所述上料机构(13)包括第一支撑架(14)、设置在第一支撑架(14)顶部的第一安装架(15)、转动设置在第一安装架(15)上的若干第一辊轴(16)、套设在若干第一辊轴(16)上的第一传送带(17),所述第一安装架(15)上设置有用于驱动第一辊轴(16)转动的第二驱动源(18)。
 
3.根据权利要求2所述的灯检机,其特征是:所述同步带(6)与上料机构(13)之间设置有进瓶轨道(9),所述进瓶轨道(9)上设置有用于供包装瓶(34)通过的进料槽(10),经过所述进料槽(10)的包装瓶(34)会由直立状态变为平放状态。
 
4.根据权利要求3所述的灯检机,其特征是:所述出料机构(21)包括第二支撑架(22)、设置在第二支撑架(22)顶部的第二安装架(23)、转动设置在第二安装架(23)上的若干第二辊轴(24)、套设在若干第二辊轴(24)上的第二传送带(25),所述第二安装架(23)上设置有用于驱动第二辊轴(24)转动的第三驱动源(26)。
 
5.根据权利要求4所述的灯检机,其特征是:所述同步带(6)与出料机构(21)之间设置有出瓶轨道(19),所述出瓶轨道(19)上设置有用于供包装瓶(34)通过的出料槽(20),经过所述出料槽(20)的包装瓶(34)会由平放状态变为直立状态。
 
6.根据权利要求1所述的灯检机,其特征是:所述机架(1)包括工作台(11)以及用于支撑工作台(11)的若干支脚(12),所述支脚(12)背离工作台(11)的端面上开设有滑槽(27),所述滑槽(27)内滑动设置轮架(28),所述轮架(28)上安装有滚轮(29),所述滑槽(27)内设置有用于与轮架(28)抵接进而使得滚轮(29)凸出至滑槽(27)外的定位块(30),所述支脚(12)上设置有用于控制定位块(30)与轮架(28)抵接或分离的控制机构(31)。
 
7.根据权利要求6所述的灯检机,其特征是:所述控制机构(31)包括穿设在支脚(12)上且可自由转动的转轴(311),所述转轴(311)一端位于支脚(12)外,所述转轴(311)位于支脚(12)外的一端设置有把手(312),所述定位块(30)设置在转轴(311)上,转动所述转轴(311)使得定位块(30)与轮架(28)抵接时,滚轮(29)凸出至滑槽(27)外。
 
8.根据权利要求7所述的灯检机,其特征是:所述滑槽(27)的内壁上开设有滑移槽(32),所述轮架(28)上设置有与滑移槽(32)滑动配合的滑移块(33)。
 
 
灯检机
技术领域
 
本实用新型涉及灯检设备技术领域,特别涉及一种灯检机。
 
背景技术
 
如图1所示,复可托又称脾氨肽口服冻干粉,其用于治疗细胞免疫功能低下、免疫缺陷和自身免疫功能紊乱性疾病,市面上常见的复可托药品,包括包装瓶34以及放置在包装瓶34内的脾氨肽口服冻干粉末,复可托药品在出厂前一般要利用灯检机对复可托药品进行检验。
 
现有公布号为CN102435615A的中国专利公开了一种人工灯检机,包括机架、灯检工作台、机蓬、光源、支架、底座,灯检工作台和机蓬设置在机架上,光源设置在机蓬内,支架设置在灯检工作台的台面上,底座设置在支架上,底座位于光源下方。该人工灯检机工作时,工人将复可托药品从旁边的输送带上拿起,并放置在底座上,光源发出的光照射在包装瓶上,工人目测包装瓶,然后将有外观质量问题的包装瓶挑出。
 
虽然该人工灯检机能够对复可托药品进行检验,但是采用人工的方式上下料,检测效率较低。
 
实用新型内容
 
针对现有技术存在的不足,本实用新型的目的在于提供一种灯检机,该灯检机检测效率高。
 
本实用新型的上述技术目的是通过以下技术方案得以实现的:一种灯检机,包括机架,所述机架上设置有机体,所述机体上转动设置有同步带主动轮和同步带从动轮,所述机体内设置有用于驱动同步带主动轮转动的第一驱动源,所述同步带主动轮和同步带从动轮之间设置有同步带,所述同步带上开设有用于放置包装瓶的若干凹槽,所述同步带一侧设置有上料机构,另一侧设置有出料机构,所述机体上设置有光源,所述光源位于同步带上方。
 
通过上述技术方案,该灯检机在工作时,工人先启动第一驱动源,第一驱动源驱动同步带主动轮转动,同步带主动轮转动通过同步带带动同步带从动轮转动,进而同步带不断的做旋转运动,然后上料机构将包装瓶输送至凹槽内,此时光源发出的光照射在包装瓶上,工人一边转动包装瓶,一边目测包装瓶,然后将有外观质量问题的包装瓶挑出,该灯检机无须人工上下料,检测效率较高。
 
优选的,所述上料机构包括第一支撑架、设置在第一支撑架顶部的第一安装架、转动设置在第一安装架上的若干第一辊轴、套设在若干第一辊轴上的第一传送带,所述第一安装架上设置有用于驱动第一辊轴转动的第二驱动源。
 
通过上述技术方案,该上料机构在工作时,工人先启动第二驱动源,第二驱动源驱动第一辊轴转动,进而带动第一传送带在若干第一辊轴上做旋转运动,输送过来的包装瓶会进入到第一传送带上,然后经由第一传送带输送至凹槽内。
 
优选的,所述同步带与上料机构之间设置有进瓶轨道,所述进瓶轨道上设置有用于供包装瓶通过的进料槽,经过所述进料槽的包装瓶会由直立状态变为平放状态。
 
通过上述技术方案,由于包装瓶为圆柱状,为保证包装瓶在输送过程中能够保持较为平稳的状态,所以包装瓶通常是呈直立状态放置在第一传送带上的,包装瓶经过进料槽后会由直立状态变为平放状态,然后以平放状态进入到凹槽内,平放状态的包装瓶能够更好的接受光源的照射,以便于工人能够更好地观测该包装瓶。
 
优选的,所述出料机构包括第二支撑架、设置在第二支撑架顶部的第二安装架、转动设置在第二安装架上的若干第二辊轴、套设在若干第二辊轴上的第二传送带,所述第二安装架上设置有用于驱动第二辊轴转动的第三驱动源。
 
通过上述技术方案,该出料机构在工作时,工人先启动第三驱动源,第三驱动源驱动第二辊轴转动,进而带动第二传送带在若干第二辊轴上不断地做旋转运动,凹槽内的包装瓶会进入到第二传送带上,然后第二传送带将包装瓶运走。
 
优选的,所述同步带与出料机构之间设置有出瓶轨道,所述出瓶轨道上设置有用于供包装瓶通过的出料槽,经过所述出料槽的包装瓶会由平放状态变为直立状态。
 
通过上述技术方案,凹槽内的包装瓶为平放状态,包装瓶经过出料槽后会由平放状态变为直立状态,然后以直立状态进入到第二传送带上,则包装瓶能够较为平稳地放置在第二传送带上。
 
优选的,所述机架包括工作台以及用于支撑工作台的若干支脚,所述支脚背离工作台的端面上开设有滑槽,所述滑槽内滑动设置轮架,所述轮架上安装有滚轮,所述滑槽内设置有用于与轮架抵接进而使得滚轮凸出至滑槽外的定位块,所述支脚上设置有用于控制定位块与轮架抵接或分离的控制机构。
 
通过上述技术方案,轮架滑动设置在滑槽内,滚轮安装在轮架上,轮架在滑槽内滑动会带动滚轮沿着滑槽的长度方向上下运动,当控制机构控制定位块与轮架抵接时,滚轮凸出至滑槽外,此时工人可较为方便地搬运该灯检机,减轻了工人搬运该灯检机的劳动强度。
 
优选的,所述控制机构包括穿设在支脚上且可自由转动的转轴,所述转轴一端位于支脚外,所述转轴位于支脚外的一端设置有把手,所述定位块设置在转轴上,转动所述转轴使得定位块与轮架抵接时,滚轮凸出至滑槽外。
 
通过上述技术方案,当要搬运该灯检机时,工人先将出料机构和上料机构拆下,然后抬起该灯检机,轮架在重力的作用下向下运动,接着转动把手带动转轴转动,转轴转动带动定位块转动,直至定位块朝向滑槽的槽口时,工人放下该灯检机,直至滚轮与地面接触,轮架在地面的支撑作用下向靠近滑槽底壁方向运动,直至轮架与定位块抵触,轮架不可继续向靠近滑槽底壁方向运动,此时滚轮凸出至滑槽外,工人可方便地搬运该灯检机。当工人将该灯检机搬运至目标地点后,然后工人抬起该灯检机,轮架在重力的作用下向下运动,接着转动把手带动转轴转动,转轴转动带动定位块转动,直至定位块朝向滑槽的底壁时,工人放下该灯检机,直至滚轮与地面接触,轮架在地面的支撑作用下向靠近滑槽底壁方向运动,进而带动滚轮缩回至滑槽内,此时该灯检机可平稳的放置在地面上。
 
优选的,所述滑槽的内壁上开设有滑移槽,所述轮架上设置有与滑移槽滑动配合的滑移块。
 
通过上述技术方案,滑移槽的长度限制了轮架在滑槽内上下移动的范围,同时也可以防止轮架从滑槽中脱落。
 
综上所述,本实用新型对比于现有技术的有益效果为:该灯检机无须人工上下料包装瓶,检测效率较高,并且该灯检机搬运方便,减轻了工人的劳动强度。
 
附图说明
 
灯检机
图1为现有的包装瓶的结构示意图,主要突出包装瓶的具体结构;
 
灯检机
图2为实施例中灯检机的结构示意图,主要突出灯检机的具体结构;
 
灯检机
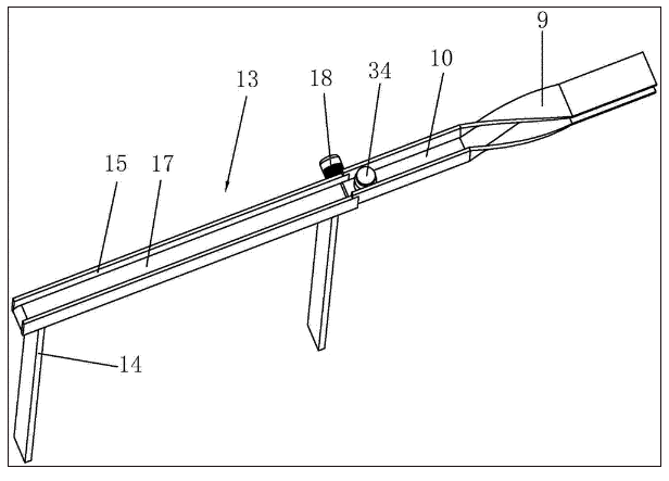
图3为实施例中上料机构和进瓶轨道的结构示意图;
 
灯检机
图4为实施例中上料机构去掉第一传送带的结构示意图,主要突出第一辊轴的具体结构;
 
灯检机
图5为实施例中出料机构和出瓶轨道的结构示意图;
 
灯检机
图6为实施例中出料机构去掉第二传送带的结构示意图,主要突出第二辊轴的具体结构;
 
灯检机
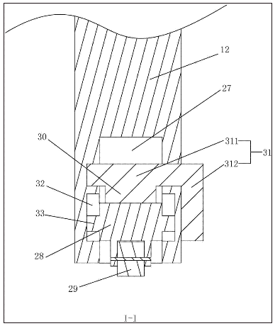
图7为图2沿I-I线的局部剖视图。
 
附图标记:1、机架;11、工作台;12、支脚;2、机体;3、同步带主动轮;4、同步带从动轮;6、同步带;7、凹槽;8、光源;9、进瓶轨道;10、进料槽;13、上料机构;14、第一支撑架;15、第一安装架;16、第一辊轴;17、第一传送带;18、第二驱动源;19、出瓶轨道;20、出料槽;21、出料机构;22、第二支撑架;23、第二安装架;24、第二辊轴;25、第二传送带;26、第三驱动源;27、滑槽;28、轮架;29、滚轮;30、定位块;31、控制机构;311、转轴;312、把手;32、滑移槽;33、滑移块;34、包装瓶。
 
具体实施方式
 
以下结合附图对本实用新型作进一步详细说明。
 
本具体实施例仅仅是对本实用新型的解释,其并不是对本实用新型的限制,本领域技术人员在阅读完本说明书后可以根据需要对本实施例做出没有创造性贡献的修改,但只要在本实用新型的权利要求范围内都受到专利法的保护。
 
如图2所示,一种灯检机,包括机架1,机架1上设置有机体2,机体2上转动设置有同步带主动轮3和同步带从动轮4,机体2内设置有用于驱动同步带主动轮3转动的第一驱动源,同步带主动轮3和同步带从动轮4之间张紧有同步带6,同步带6上开设有用于放置包装瓶34的若干凹槽7,机体2上设置有光源8,光源8位于同步带6上方,光源8可为LED灯。
 
机架1包括工作台11以及用于支撑工作台11的若干支脚12,支脚12的数量为四个,机体固定安装在工作台11上。
 
第一驱动源为电机,电机的输出轴与同步带主动轮3连接,同步带主动轮3和同步带从动轮4的外周向为齿状,同步带6是一根内周表面设置有等间距齿形的环形带,凹槽7位于同步带6的外周表面,凹槽7的截面为半圆形,包装瓶34可较为平稳地放置在凹槽7内,同步带6与同步带主动轮3和同步带从动轮4相应啮合,同步带6传动具有传动精确、传送平稳、传送效率高、维护保养方便等优点。
 
如图2和3所示,同步带6一侧设置有进瓶轨道9,进瓶轨道9固定安装在机体2上,进瓶轨道9绕其延伸方向扭转90度,进瓶轨道9内开设有用于供包装瓶34通过的进料槽10,经过进料槽10的包装瓶34会由直立状态变为平放状态,进料槽10的出口与凹槽7位置相应,包装瓶34经过进料槽10后会进入到凹槽7内。
 
进瓶轨道9背离同步带6的一侧设置有用于将包装瓶34输送至进料槽10内的上料机构13,如图3和4所示,上料机构13包括第一支撑架14、设置在第一支撑架14顶部的第一安装架15、转动设置在第一安装架15上的若干第一辊轴16、套设在若干第一辊轴16上的第一传送带17,第一安装架15上设置有用于驱动其中一个第一辊轴16转动的第二驱动源18,第二驱动源18为电机。
 
如图2和5所示,同步带6背离进瓶轨道9的一侧设置有出瓶轨道19,出瓶轨道19固定安装在机体2上,出瓶轨道19绕其延伸方向扭转90度,出瓶轨道19内设置有用于供包装瓶34通过的出料槽20,经过出料槽20的包装瓶34会由平放状态变为直立状态,出料槽20的进口与凹槽7位置相应,凹槽7内的包装瓶34能通过出料槽20的进口进入到出料槽20内。
 
出瓶轨道19背离同步带6的一侧设置有用于将检测完的包装瓶34运走的出料机构21,如图5和6所示,出料机构21包括第二支撑架22、设置在第二支撑架22顶部的第二安装架23、转动设置在第二安装架23上的若干第二辊轴24、套设在若干第二辊轴24上的第二传送带25,第二安装架23上设置有用于驱动其中一个第二辊轴24转动的第三驱动源26,第三驱动源26为电机。
 
该灯检机在工作时,工人启动第一驱动源、第二驱动源18和第三驱动源26,使得同步带6、第一传送带17和第二传送带25不断的做旋转运动,输送过来的包装瓶34会进入到第一传送带17上,然后第一传送带17将包装瓶34输送至进料槽10内,包装瓶34经过进料槽10后会由直立状态变为平放状态,然后以平放状态进入到凹槽7内,此时光源8发出的光照射在包装瓶34上,工人一边转动包装瓶34,一边观察包装瓶34,然后将有外观质量问题的包装瓶34挑出,接着同步带6将包装瓶34输送出料槽20内,包装瓶34经过出料槽20后会由平放状态变为直立状态,然后以直立状态进入到第二传送带25上,最后第二传送带25将检测完的包装瓶34输送至下一步工序。
 
如图2和7所示,每个支脚12背离工作台11的端面上均开设有滑槽27,滑槽27的截面为矩形,滑槽27内滑动设置轮架28,轮架28为长方体,轮架28背离滑槽27底壁的端面上安装有滚轮29,滑槽27内设置有用于与轮架28抵接进而使得滚轮29凸出至滑槽27外的定位块30,支脚12上设置有用于控制定位块30与轮架28抵接或分离的控制机构31。
 
控制机构31包括穿设在支脚12上且可自由转动的转轴311,转轴311位于轮架28上方且为圆柱状,转轴311一端位于支脚12外,转轴311位于支脚12外的一端设置有把手312,把手312为圆柱状且与转轴311固定连接,把手312能够为工人转动转轴311提供施力点,定位块30与转轴311固定连接,转动转轴311使得定位块30与轮架28抵接时,滚轮29凸出至滑槽27外。
 
滑槽27的内壁上开设有滑移槽32,滑移槽32的截面为矩形且沿滑槽27的长度方向设置,滑移槽32的数量为四个,轮架28上设置有与滑移槽32滑动配合的滑移块33,滑移块33的截面为矩形,滑移块33的数量为四个且与轮架28固定连接,滑移槽32的长度限制了轮架28在滑槽27内轴向移动的范围,同时也可以防止轮架28从滑槽27中脱落。
 
当要搬运该灯检机时,工人先将出料机构21和上料机构13拆下,然后抬起该灯检机,轮架28在重力的作用下向下运动,接着转动把手312带动转轴311转动,转轴311转动带动定位块30转动,直至定位块30朝向滑槽27的槽口时,工人放下该灯检机,直至滚轮29与地面接触,轮架28在地面的支撑作用下向靠近滑槽27底壁方向运动,直至轮架28与定位块30抵触,轮架28不可继续向靠近滑槽27底壁方向运动,此时滚轮29凸出至滑槽27外,工人可方便地搬运该灯检机。
 
当工人将该灯检机搬运至目标地点后,然后工人抬起该灯检机,轮架28在重力的作用下向下运动,接着转动把手312带动转轴311转动,转轴311转动带动定位块30转动,直至定位块30朝向滑槽27的底壁时,工人放下该灯检机,直至滚轮29与地面接触,轮架28在地面的支撑作用下向靠近滑槽27底壁方向运动,进而带动滚轮29缩回至滑槽27内,此时该灯检机可平稳地放置在地面上。
 
以上所述仅是本实用新型的示范性实施方式,而非用于限制本实用新型的保护范围,本实用新型的保护范围由所附的权利要求确定。
Copyright © 宁波鄞州盖奇同步带轮有限公司 2007-2022 All Rights Reserved.
电话:4006-574-123/0574-27834692 传真:0574-27834691
地址:浙江省宁波市鄞州区姜山镇蔡郎桥村姜南路39-2 E-Mail:sales@belt-pulley.com  
浙ICP备09102982号 盖奇公司网络部提供技术支持 浙公网安备33021202003319号