当前位置:首页->一种轮式爬杆机器人

 一种轮式爬杆机器人

 
【授权公告号:CN207565726U;申请权利人:湖北工业大学;发明设计人:张铮; 杜鹏; 贾勤;】
 
摘要:
 
本实用新型公开一种轮式爬杆机器人,包括外框架和固连在外框架周边的三个爬行机构,外框架是包括三个短边和三个长边的非正六边形结构,相邻二长边的中间部位设置有铰接轴和伸缩杆,另一个长边的中间部位设置有打开和扣紧装置;爬行机构包括:呈叉开手指状上下支撑杆、电机、上下同步带、上下滚轮;支撑杆一端相互铰接,上下支撑杆前端有滚轮,各橡胶材质的滚轮通过电机驱动旋转,电机通过控制盒有线或无线控制运转,上下滚轮之间有拉力弹簧。上下滚轮的外圆上有凹槽。其有益效果是:有利于增加滚轮与杆子之间的摩擦力。调节弹簧或伸缩杆可适应不同杆径,能在杆上快速且自由移动,适应不同材料、不同截面形状的杆件的爬行。 
 
主权项:
 
1.一种轮式爬杆机器人,包括:外框架和三个结构相同的爬行机构,所述爬行机构通过螺柱固连在外框周边;其特征在于:所述外框架呈非正六边形结构,包括:三个短边和三个长边,各边之间互为120°夹角,在其中三个短边上分别安装有爬行机构,且各短边上还设置有上下两个支撑架,所述支撑架用于安装驱动电机和支撑轮式爬杆机器人;所述三个长边中有两个相邻长边的中间部位设置有铰接轴,所述铰接轴用于展开外框架,另外一个长边的中间部位设置有打开和扣紧装置,打开和扣紧装置与铰接轴共同作用,将所述轮式爬杆机器人安装到相应杆子上并扣紧或者是从杆子上取下;所述爬行机构包括:上支撑杆和下支撑杆、驱动电机、上同步带和下同步带、上滚轮和下滚轮;所述上支撑杆和/或下支撑杆呈叉开手指状,位于后端的指尖处相互铰接,上支撑杆和下支撑杆的前端分别安装所述上滚轮和下滚轮,所述上滚轮通过上同步带驱动旋转,所述下滚轮通过下同步带驱动旋转,上滚轮与下滚轮的支撑杆之间设置有至少一根拉力弹簧;所述驱动电机输出轴固连有主动同步带轮,所述主动同步带轮通过同步带驱动主轴,所述主轴两端分别设置有用于驱动上同步带和下同步带的主动轮。 
 
要求:
 
1.一种轮式爬杆机器人,包括:外框架和三个结构相同的爬行机构,所述爬行机构通过螺柱固连在外框周边;其特征在于:
 
所述外框架呈非正六边形结构,包括:三个短边和三个长边,各边之间互为120°夹角,在其中三个短边上分别安装有爬行机构,且各短边上还设置有上下两个支撑架,所述支撑架用于安装驱动电机和支撑轮式爬杆机器人;所述三个长边中有两个相邻长边的中间部位设置有铰接轴,所述铰接轴用于展开外框架,另外一个长边的中间部位设置有打开和扣紧装置,打开和扣紧装置与铰接轴共同作用,将所述轮式爬杆机器人安装到相应杆子上并扣紧或者是从杆子上取下;
 
所述爬行机构包括:上支撑杆和下支撑杆、驱动电机、上同步带和下同步带、上滚轮和下滚轮;所述上支撑杆和/或下支撑杆呈叉开手指状,位于后端的指尖处相互铰接,上支撑杆和下支撑杆的前端分别安装所述上滚轮和下滚轮,所述上滚轮通过上同步带驱动旋转,所述下滚轮通过下同步带驱动旋转,上滚轮与下滚轮的支撑杆之间设置有至少一根拉力弹簧;
 
所述驱动电机输出轴固连有主动同步带轮,所述主动同步带轮通过同步带驱动主轴,所述主轴两端分别设置有用于驱动上同步带和下同步带的主动轮。
 
2.如权利要求1所述一种轮式爬杆机器人,其特征在于:所述上同步带和下同步带上,还分别设置有张紧轮,所述张紧轮的张紧力可调。
 
3.如权利要求1所述一种轮式爬杆机器人,其特征在于:所述上滚轮和下滚轮的材质为橡胶,上滚轮和下滚轮的外圆上均匀分布有凹槽。
 
4.如权利要求1所述一种轮式爬杆机器人,其特征在于:所述外框架上还设置有控制盒,所述控制盒用于控制驱动电机的正反转。
 
5.如权利要求4所述一种轮式爬杆机器人,其特征在于:所述控制盒内设置有蓄电池,轮式爬杆机器人在杆子上的升降通过无线遥控,或者是有线控制。
 
一种轮式爬杆机器人
技术领域
 
本实用新型涉及一种轮式爬杆机器人,具体涉及一种可沿着不同直径杆子自动上下攀爬的机器人,属机械设备技术领域。
 
背景技术
 
随着科学技术的进步和我国经济的飞速增长,人民生活水平日益提高,矗立起了无数的高层建筑及杆状物,如电线杆、路灯杆等等。这些杆类长年累月的暴露在风雨中,很容易出现故障和受到污染,不仅影响人们的正常生活和城市的美观,而且缩短了它们的使用寿命,另一方面,位杆子上部的物件如线路、金具、绝缘子、鸟巢、路灯、广告牌等也经常需要人工亲临现场检修、更换或清理,因此在该类杆上高空作业是经常性工作。
 
但由于高空作业危险性很高,并且需要花费大量的人力物力,我们需要设计一种爬杆机器人,使得它代替工人进行高空作业,改善工人的工作环境,提高工作效率,大大降低高层杆状的检查维修和清洗成本。随着机器人技术的出现和发展以及人们自我安全保护意思的增强,迫切希望能用机器人代替人工进行这些高空危险作业,从而把人从危险、恶劣、繁重的劳动环境中解脱出来,因此设计出一种高效而且可靠的爬杆机器人用来替代人工进行高空作业将具有很大的意义,必然具有良好的经济效益和社会效益。国内外的学者很早就对爬杆机器人进行了相应的研究工作,并获得了相当丰富的成果。目前为止,提出的一些依附于杆体表面的自动爬行的爬杆机器人并实现了爬行功能,主要有机械夹持式爬杆机器人、电动液压式爬杆机器人和气动蠕行式爬杆机器人等,但是它们主要的运动方式基本都是蠕动式,虽然适应能力强,但是移动速度很慢,在某些情况下,运动速度达不到相应要求,因此有必要设计一种可以连续运动的轮式爬杆机器人,以弥补蠕动式爬杆机器人运动速度方面的不足。
 
发明内容
 
本实用新型目的是针对背景技术提出问题,一种轮式爬杆机器人,是一种结构简单、经济适用、价格便宜、操作简便的使用与路灯杆等杆类的可搭载清洗、维护设备的爬杆机器人,以解决当前城镇中存在的杆状检查维修和清洗等问题。
 
本实用新型的技术方案是:一种轮式爬杆机器人,包括:外框架和三个结构相同的爬行机构,所述爬行机构通过螺柱固连在外框周边;其特征在于:
 
所述外框架呈非正六边形结构,包括:三个短边和三个长边,各边之间互为120°夹角,在其中三个短边上分别安装有爬行机构,且各短边上还设置有上下两个支撑架,所述支撑架用于安装驱动电机和支撑轮式爬杆机器人;所述三个长边中有两个相邻长边的中间部位设置有铰接轴,所述铰接轴用于展开外框架,另外一个长边的中间部位设置有打开和扣紧装置,打开和扣紧装置与铰接轴共同作用,可将所述轮式爬杆机器人安装到相应杆上并扣紧或者是从杆上取下;
 
所述爬行机构包括:上支撑杆和下支撑杆、驱动电机、上同步带和下同步带、上滚轮和下滚轮;所述上支撑杆和/或下支撑杆呈叉开手指状,位于后端的指尖处相互铰接,上支撑杆和下支撑杆的前端分别安装所述上滚轮和下滚轮,所述上滚轮通过上同步带驱动旋转,所述下滚轮通过下同步带驱动旋转,上滚轮与下滚轮的支撑杆之间设置有至少一根拉力弹簧;
 
所述驱动电机输出轴固连有主动同步带轮,所述主动同步带轮通过同步带驱动主轴,所述主轴两端分别设置有用于驱动上同步带和下同步带的主动轮。
 
如上所述一种轮式爬杆机器人,其特征在于:所述上同步带和下同步带上,还分别设置有张紧轮,所述张紧轮的张紧力可调。
 
如上所述一种轮式爬杆机器人,其特征在于:所述上滚轮和下滚轮的材质为橡胶,上滚轮和下滚轮的外圆上均匀分布有凹槽。其有益效果是:有利于增加滚轮与杆子之间的摩擦力。
 
如上所述一种轮式爬杆机器人,其特征在于:所述外框架上还设置有控制盒,所述控制盒用于控制驱动电机的正反转。
 
如上所述一种轮式爬杆机器人,其特征在于:所述控制盒内设置有蓄电池,轮式爬杆机器人在杆子上的升降通过无线遥控,或者是有线控制。
 
为了适应不同直径杆的爬行,在单个爬行机构的上下支撑杆中装有弹性模量合适的的弹簧,可以适当调节三个爬行机构切圆的大小,在爬行过程中可以动态的适应一定程度的杆件的直径的变化(如下端粗上端细),而且在外框架中的其中两个长边内部加入了伸缩杆的设计,可以在机器人启动前人工手动调节,调节到符合所需爬行杆的直径范围,通过上面两种调节方式使此爬杆机器人能适应较多直径系列的杆的爬行。对于这种轮式和爬杆式结合的方案,它有着能在杆上快速且自由的移动,能适应不同材料和不同截面形状的杆件的爬行,而且有一定的负载能力等优势。
 
本实用新型有益效果是:
 
本实用新型一种轮式爬杆机器人结构简单、经济适用、价格便宜、操作简便,可用于路灯杆等杆子上的设备维护,以解决当前城镇中存在的杆状检查维修和清洗等问题。
 
本实用新型一种轮式爬杆机器人可以在杆子上连续运动,通过三对轮子实现对杆子的扣合,抓紧力强,运行可靠性高,可弥补蠕动式爬杆机器人运动速度慢等问题。
 
附图说明
 
一种轮式爬杆机器人
图1是本实用新型实施例“一种轮式爬杆机器人”结构示意图;
 
一种轮式爬杆机器人
图2是本实用新型实施例“一种轮式爬杆机器人”俯视图;
 
一种轮式爬杆机器人
图3是单台爬行机构轴侧示意图;
 
一种轮式爬杆机器人
图4是图3之正视图;
 
一种轮式爬杆机器人
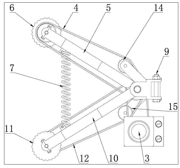
图5是单台爬行机构安装在外框架上示意图。
 
附图中标记说明:
 
图1中:1—外框架,2—伸缩杆,3—驱动电机,4—上同步带,5—上支撑杆,6—上滚轮,7—拉力弹簧,8—支撑架,9—螺栓,10—下支撑杆,11—下滚轮,12—下同步带,13—杆子,14—上张紧轮,15—下张紧轮,16—主轴。
 
具体实施方式
 
以下结合附图对本实用新型实施例作进一步说明,所述实施例的示例在附图中示出,其中自始至终相同或类似的标号表示相同或类似的元件或具有相同或类似功能的元件。下面通过参考附图描述的实施例是示例性的,旨在用于解释本实用新型,而不能理解为对本实用新型的限制,凡在本实用新型的精神和原则之内所做的任何修改、等同替换或改进等,均应包含在本实用新型的权利要求范围之内,本技术方案中未详细述及的,均为公知技术。
 
参见图1~图5,本实用新型一种轮式爬杆机器人;包括:外框架1和三个结构相同的爬行机构,所述爬行机构通过螺栓9固连在外框架1周边。
 
参见图1~2,外框架1呈非正六边形结构,包括:三个短边和三个长边,各边之间互为120°夹角,在其中三个短边上分别安装有爬行机构,且各短边上还设置有上下两个支撑架8,所述支撑架8用于安装驱动电机3和支撑轮式爬杆机器人;所述三个长边中有两个相邻长边的中间部位设置有铰接轴,铰接轴的一端连接伸缩杆2,拉开伸缩杆2并通过铰接轴即可展开外框架1,外框架1的另外一个长边的中间部位设置有打开和扣紧装置,通过打开和扣紧装置、伸缩杆2可将外框架1分为三个部分,每个部分上各有一个爬行机构,将所述轮式爬杆机器人安装到杆子13上时,先将三个部分一一对应的扣合在杆子13外圆上,此时六个上、下滚轮即扣合在杆子13上。
 
所述爬行机构包括:上支撑杆5和下支撑杆10、驱动电机3、上同步带4和下同步带12、上滚轮6和下滚轮11;所述上支撑杆5以及下支撑杆10呈叉开手指状,位于后端的指尖处相互铰接,上支撑杆5和下支撑杆10的前端分别安装上滚轮6和下滚轮11,所述上滚轮6通过上同步带4驱动旋转,所述下滚轮11通过下同步带12驱动旋转,本实用新型实施例中,上滚轮6与下滚轮11的支撑杆之间设置有一根拉力弹簧7。
 
所述驱动电机3输出轴固连有主动同步带轮,所述主动同步带轮通过同步带驱动主轴16,所述主轴16两端分别设置有用于驱动上同步带4和下同步带12的主动轮。
 
所述上同步带4和下同步带12中,分别设置有上张紧轮14和下张紧轮15,各张紧轮的张紧力可调,有利于防止上同步带4或下同步带12运转时打滑。
 
所述上滚轮6和下滚轮11的材质为橡胶,上滚轮6和下滚轮11的外圆上均匀分布有凹槽,有利于增加滚轮与杆子13之间的摩擦力。
 
所述外框架1上还设置有控制盒(图中未画出),控制盒内设置有蓄电池,所述控制盒用于控制驱动电机3的正反转。轮式爬杆机器人在杆子上的升降可通过无线遥控,或者是有线控制。
 
在爬杆机器人启动前,先人工手动调节伸缩2到适合所需爬行杆子的直径范围,另一方面,也可通过调节拉力弹簧7的有效长度达到此效果,以利于爬杆机器人能适应较多直径系列的杆的爬行。对于这种轮式和爬杆式结合的方案,它有着能在杆子上快速且自由的移动,能适应不同材料和不同截面形状的杆件的爬行,而且有一定的负载能力等优势。
 
本实用新型一种轮式爬杆机器人结构简单、经济适用、价格便宜、操作简便,可用于路灯杆等杆子上的设备维护,以解决当前城镇中存在的杆状检查维修和清洗等问题。由于本实用新型轮式爬杆机器人可以在杆子上连续运动,通过三对轮子实现对杆子的扣合,抓紧力强,运行可靠性高,可弥补蠕动式爬杆机器人运动速度慢等问题。
 
此外,应当理解,虽然本说明书按照实施方式加以描述,但并非每个实施方式仅包含一个独立的技术方案,说明书的这种叙述方式仅仅是为清楚起见,本领域技术人员应当将说明书作为一个整体,各实施例中的技术方案也可以经适当组合,形成本领域技术人员可以理解的其他实施方式。
Copyright © 宁波鄞州盖奇同步带轮有限公司 2007-2022 All Rights Reserved.
电话:4006-574-123/0574-27834692 传真:0574-27834691
地址:浙江省宁波市鄞州区姜山镇蔡郎桥村姜南路39-2 E-Mail:sales@belt-pulley.com  
浙ICP备09102982号 盖奇公司网络部提供技术支持 浙公网安备33021202003319号