当前位置:首页->一种小型果实自动上料装置

 一种小型果实自动上料装置

 
【申请公布号:CN108313672A;申请权利人:西北农林科技大学;发明设计人:胡耀华; 梁宁; 代洪春;】
 
摘要:
 
本发明公开了一种小型果实自动上料装置,包括电动机、主动带轮、同步带、传动轴、从动带轮、储料箱、上料轮、引导通道、辊轮和传送链。同步带一端与主动带轮啮合,另一端与从动带轮啮合,主动带轮安装在电动机输出轴上,从动带轮安装在传动轴上;上料轮与从动带轮一定间隔地安装在传动轴上,上料轮径向一侧是储料箱,另一侧是引导通道;引导通道的下方是输送果实的辊轮,辊轮由传送链带动向前运动。本发明结构简单易行易控制,上料装置与传送装置共用一台电动机,响应时间快,上料没有延迟;采用同步带传动,能高效完成固定间隔单排上料并且上料间隔精度高;适用范围广,适用于多种小型果实自动上料。 
 
主权项:
 
1.一种小型果实自动上料装置,包括电动机(1)、主动带轮(2)、同步带(3)、传动轴(4)、从动带轮(5)、储料箱(6)、上料轮(7)、引导通道(8)、辊轮(9)和传送链(10),其特征在于:所述的同步带(3)一端与主动带轮(2)啮合,另一端与从动带轮(5)啮合,主动带轮(2)安装在电动机(1)输出轴上,从动带轮(5)安装在传动轴(4)上;所述的上料轮(7)与从动带轮(5)一定间隔地安装在传动轴(4)上,上料轮(7)径向一侧是储料箱(6),另一侧是引导通道(8);所述的引导通道(8)的下方是输送果实的辊轮(9),辊轮(9)由传送链(10)带动向前运动。 
 
要求:
1.一种小型果实自动上料装置,包括电动机(1)、主动带轮(2)、同步带(3)、传动轴(4)、从动带轮(5)、储料箱(6)、上料轮(7)、引导通道(8)、辊轮(9)和传送链(10),其特征在于:所述的同步带(3)一端与主动带轮(2)啮合,另一端与从动带轮(5)啮合,主动带轮(2)安装在电动机(1)输出轴上,从动带轮(5)安装在传动轴(4)上;所述的上料轮(7)与从动带轮(5)一定间隔地安装在传动轴(4)上,上料轮(7)径向一侧是储料箱(6),另一侧是引导通道(8);所述的引导通道(8)的下方是输送果实的辊轮(9),辊轮(9)由传送链(10)带动向前运动。
 
2.根据权利要求1所述的小型果实自动上料装置,其特征在于:所述的上料轮(7)侧面均布相同的凹槽,凹槽两侧面不平行,有一定角度,每个凹槽其中一侧面都有一块凸台。
 
3.根据权利要求1所述的小型果实自动上料装置,其特征在于:所述的上料装置由主动带轮(2)、从动带轮(5)和同步带(3)来传输动力。
 
4.根据权利要求1所述的小型果实自动上料装置,其特征在于:所述的储料箱(6)与上料轮(7)接触的上下两部分由软性橡胶材料制成。
 
一种小型果实自动上料装置
技术领域
 
本发明涉及一种用于小型果实分级机的自动上料装置。
 
背景技术
 
我国小型果蔬果实年产量巨大,如红枣、板栗、山楂、核桃、小土豆和蒜米等,随着各行各业机械化与自动化技术的发展,为了提高农产品的市场价值,多种形式的分选机相继出现。上料装置是分选机的重要组成部分,目前此类装置形式较多,如输送带式上料装置、震动式上料装置和斜道型上料装置。输送带式上料装置虽然控制比较简单,但是多与整机一体化,结构较复杂,整体尺寸较大;震动式上料装置可以很好地解决卡料的问题,但是不能实现精确等间隔上料,适用分选机的范围较小;斜道型上料装置依靠重力使果实自然下落,虽然结构简单,但是无法实现等间隔自动上料并且容易拥堵和卡料。
 
发明内容
 
鉴于现有技术的不足,本发明提供了一种结构简单易行、控制方便、能够实现等间隔单排上料并且上料间隔精度高的小型果实自动上料装置。
 
本发明为了实现上述目的,所采取的技术方案是一种小型果实自动上料装置,包括电动机、主动带轮、同步带、传动轴、从动带轮、储料箱、上料轮、引导通道、辊轮和传送链;同步带一端与主动带轮啮合,另一端与从动带轮啮合,主动带轮安装在电动机输出轴上,从动带轮安装在传动轴上;上料轮与从动带轮一定间隔地安装在传动轴上,上料轮径向一侧是储料箱,另一侧是引导通道;引导通道的下方是输送果实的辊轮,辊轮由传送链带动向前运动。
 
所述的上料轮侧面均布相同的凹槽,凹槽两侧面不平行,有一定角度,开口较大,有利于果实从储料箱进入凹槽和从凹槽掉入分级通道,解决卡料的问题;每个凹槽其中一侧面都有一块凸台,在凸台的抬动作用下,有利于使果实进入凹槽。
 
所述的上料装置由主动带轮、从动带轮和同步带来传输动力,相比较平带和三角带,同步带的传动比更为严格,有利于提高上料轮的等间隔上料精度。
 
所述的储料箱与上料轮接触的上下两部分由软性橡胶材料制成,作用是能让上料轮的凸台通过,可以阻挡果实从下方掉落,同时也可以阻挡多余果实通过,防止一个凹槽内出现两个果实的状况。
 
本发明的有益效果是:结构简单易行,容易控制,上料装置与传送装置共用一台电动机,响应时间快,上料没有延迟;采用同步带传动,能高效完成固定间隔单排上料并且上料间隔精度高;适用范围广,适用于多种小型果实自动上料。
 
附图内容
 
一种小型果实自动上料装置
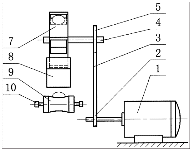
图1是本发明结构主视图。
 
一种小型果实自动上料装置
图2是本发明结构左视图。
 
图中所示:1-电动机;2-主动带轮;3-同步带;4-传动轴;5-从动带轮;6-储料箱;7-上料轮;8-引导通道;9-辊轮;10-传送链。
 
具体实施方式
 
下面将结合附图对本发明进行详细说明。
 
如图1和图2,一种小型果实自动上料装置,包括电动机1、主动带轮2、同步带3、传动轴4、从动带轮5、储料箱6、上料轮7、引导通道8、辊轮9和传送链10。
 
电动机1通电,带动安装在输出轴上的主动带轮2转动,同步带3两端分别与主动带轮2与从动带轮5啮合,在同步带3的连接下,主动带轮2带动从动带轮5转动;从动带轮5安装在传动轴4上,从动带轮5带动传动轴4转动,上料轮7与从动带轮5一定间隔地安装在传动轴4上,所以上料轮7便与从动带轮5保持同速转动;储料箱6倾斜放置,使果实能够与上料轮7紧密接触,当上料轮7转动时,落入凹槽中的果实就会随着上料轮7转动,当转过一定角度时,果实在重力的作用下开始下滑,落入引导通道8中;辊轮9在传送链10的带动下向前进,落入引导通道8中的果实会不断落入相邻两个辊轮9中间,进而将果实输送到下一装置。
 
可以调节主动带轮2与从动带轮5的直径,即改变传动比大小来控制上料轮7的转速,从而使上料的间隔与相邻两个辊轮9间隔相匹配,提高固定间隔上料精度。
 
此外,上料装置与传送装置共用一台电动机1,这样既便于控制,响应时间快,又可以减小整机的外形尺寸,使结构简化。
 
Copyright © 宁波鄞州盖奇同步带轮有限公司 2007-2022 All Rights Reserved.
电话:4006-574-123/0574-27834692 传真:0574-27834691
地址:浙江省宁波市鄞州区姜山镇蔡郎桥村姜南路39-2 E-Mail:sales@belt-pulley.com  
浙ICP备09102982号 盖奇公司网络部提供技术支持 浙公网安备33021202003319号