当前位置:首页->同步带扫砂机构

 同步带扫砂机构

 
【授权公告号:CN207659539U;申请权利人:西安康控科尼电子科技有限公司;发明设计人: 谢燕琴; 刘进;】
 
摘要:
 
本实用新型公开了同步带扫砂机构,包括机架安装板、涡轮减速电机、同步带、接近开关、扫砂管组件、扫砂机构固定板及导向光轴。本实用新型结构简单、故障率低,可在恶劣的工作环境下长时间使用,装置的使用寿命相比较传统的排线器有很大的提升,同时,扫砂机构的运动速度平稳,可以使金刚砂在上砂槽内充分均布,并且扫砂机构还可以起到搅拌的作用,防止金刚砂因长时间静止而出现沉淀现象。 
 
主权项:
 
1.同步带扫砂机构,其特征在于,包括两个机架安装板、涡轮减速电机、同步带、两个接近开关、扫砂管组件、扫砂机构固定板及两个导向光轴;所述涡轮减速电机安装于一个机架安装板,所述同步带的一端通过同步带轮与涡轮减速电机的转子连接,所述同步带的另一端通过同步带轮与另一个机架安装板连接,所述接近开关位于同步带的两端且分别安装于两个机架安装板,所述同步带与扫砂机构固定板通过同步带固定夹连接,所述扫砂管组件与扫砂机构固定板连接,所述导向光轴的两端通过光轴安装座分别安装于两个机架安装板,所述导向光轴套设两个直线轴承,所述直线轴承与扫砂机构固定板连接。 
 
要求:
 
1.同步带扫砂机构,其特征在于,包括两个机架安装板、涡轮减速电机、同步带、两个接近开关、扫砂管组件、扫砂机构固定板及两个导向光轴;所述涡轮减速电机安装于一个机架安装板,所述同步带的一端通过同步带轮与涡轮减速电机的转子连接,所述同步带的另一端通过同步带轮与另一个机架安装板连接,所述接近开关位于同步带的两端且分别安装于两个机架安装板,所述同步带与扫砂机构固定板通过同步带固定夹连接,所述扫砂管组件与扫砂机构固定板连接,所述导向光轴的两端通过光轴安装座分别安装于两个机架安装板,所述导向光轴套设两个直线轴承,所述直线轴承与扫砂机构固定板连接。
 
2.根据权利要求1所述的同步带扫砂机构,其特征在于,所述扫砂管组件包括多个上砂主立管、多个上砂连接管、多个扫砂外喷管及多个上砂缓冲管;所述上砂主立管通过卡箍安装于扫砂机构固定板,所述上砂缓冲管及扫砂外喷管通过上砂连接管与上砂主立管连接,所述上砂缓冲管安装于扫砂外喷管内且喷孔朝上安装,所述扫砂外喷管喷孔朝下安装。
 
3.根据权利要求2所述的同步带扫砂机构,其特征在于,所述上砂缓冲管、扫砂外喷管、上砂连接管及上砂主立管彼此之间的连接处安装密封垫。
 
 
同步带扫砂机构
技术领域
 
本实用新型涉及电镀设备技术领域,尤其涉及同步带扫砂机构。
 
背景技术
 
金刚线是以电镀金属为结合剂,通过电镀金属的电结晶作用,把高硬度、高耐磨性的金刚石磨料牢固地固接在钢丝基体上,使钢丝成为具有金刚石微型锯齿的切割工具。扫砂机构是电镀金刚线中最重要的装置,现有技术中使用的是纺织机行业的排线器,但是排线器的结构复杂,导致故障率高,同时,由于排线器通过摆杆实现左右换向,在换向时有长时间的停滞,使得液面局部波动大、镀液不平,进而导致上砂质量不稳定及产生波动。
 
实用新型内容
 
为解决现有技术中,扫砂机构存在的故障率高、上砂质量不稳定的技术问题,本实用新型的技术方案如下:
 
本实用新型中的同步带扫砂机构,包括两个机架安装板、涡轮减速电机、同步带、两个接近开关、扫砂管组件、扫砂机构固定板及两个导向光轴;所述涡轮减速电机安装于一个机架安装板,所述同步带的一端通过同步带轮与涡轮减速电机的转子连接,所述同步带的另一端通过同步带轮与另一个机架安装板连接,所述接近开关位于同步带的两端且分别安装于两个机架安装板,所述同步带与扫砂机构固定板通过同步带固定夹连接,所述扫砂管组件与扫砂机构固定板连接,所述导向光轴的两端通过光轴安装座分别安装于两个机架安装板,所述导向光轴套设两个直线轴承,所述直线轴承与扫砂机构固定板连接。
 
在一种优选的实施方式中,所述扫砂管组件包括多个上砂主立管、多个上砂连接管、多个扫砂外喷管及多个上砂缓冲管;所述上砂主立管通过卡箍安装于扫砂机构固定板,所述上砂缓冲管及扫砂外喷管通过上砂连接管与上砂主立管连接,所述上砂缓冲管安装于扫砂外喷管内且喷孔朝上安装,所述扫砂外喷管喷孔朝下安装。
 
在一种优选的实施方式中,所述上砂缓冲管、扫砂外喷管、上砂连接管及上砂主立管彼此之间的连接处安装密封垫。
 
本实用新型中的同步带扫砂机构,与现有技术相比,其有益效果为:
 
本实用新型中的同步带扫砂机构,结构简单,且故障率低,可在恶劣的工作环境下长时间使用,装置的使用寿命相比较传统的排线器有很大的提升,同时,扫砂机构的运动速度平稳,可以使金刚砂在上砂槽内充分均布,并且扫砂机构还可以起到搅拌的作用,防止金刚砂因长时间静止而出现沉淀现象。
 
附图说明
 
同步带扫砂机构
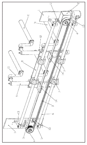
图1是本实用新型中同步带扫砂机构的示意图;
 
同步带扫砂机构
图2是本实用新型中扫砂外喷管的剖视图;
 
同步带扫砂机构
图3是本实用新型中同步带扫砂机构与上砂槽装配后的示意图。
 
具体实施方式
 
下面将结合本实用新型的附图,对本实用新型的技术方案进行清楚、完整地描述。基于本实用新型中的实施例,本领域普通技术人员在没有作出创造性劳动前提下所获得的所有其他实施例,都属于本实用新型保护的范围。
 
如图1所示,本实用新型的同步带3扫砂机构,涡轮减速电机2安装于一个机架安装板1,同步带3的一端通过同步带轮4与涡轮减速电机2的转子连接,同步带3的另一端通过同步带轮4与另一个机架安装板1连接,使蜗轮减速电机通过同步带轮4带动同步带3运动,接近开关5位于同步带3的两端且分别安装于两个机架安装板1,同步带3与扫砂机构固定板8通过同步带固定夹14连接,两个导向光轴6的两端通过光轴安装座13上下平行安装于机架安装板1,两个导向光轴6各套设两个直线轴承7,直线轴承7与扫砂机构固定板8连接,扫砂管组件包括两个上砂主立管9、四个上砂连接管10、四个扫砂外喷管11及四个上砂缓冲管,上砂主立管9通过卡箍12安装于扫砂机构固定板8,使扫砂管组件与扫砂机构固定板8连接。本实用新型的结构简单、故障率低,可在恶劣的工作环境下长时间使用,装置的使用寿命相比较传统的排线器有很大的提升。
 
本实用新型优选的结构为,扫砂管组件包括多个上砂主立管9、多个上砂连接管10、多个扫砂外喷管11及多个上砂缓冲管15,上砂缓冲管15及扫砂外喷管11通过上砂连接管10与上砂主立管9连接,如图2所示,上砂缓冲管15安装于扫砂外喷管11内且喷孔朝上安装,扫砂外喷管11喷孔朝下安装,由于上砂液流速过快会影响电镀线的上砂质量,所以上砂缓冲管15与扫砂外喷管11的喷孔反向安装,避免上砂液直接喷出扫砂外喷管11,导致上砂液流速过快,同时,当上砂液喷出扫砂外喷管11时,喷向上砂槽16槽底,经上砂槽16底起到二次缓冲作用,喷向上砂槽16槽底的上砂液又可以防止金刚砂在上砂槽16槽底的沉淀,进而起到扬砂作用,各连接处加装密封垫防止管内的上砂液渗漏。
 
本机构的工作原理是:
 
如图3所示,同步带扫砂机构18与上砂槽16安装于上砂机架17,启动涡轮减速电机2后,同步带3带动扫砂管组件运动,当扫砂管组件运动到左侧之后,左侧接近开关5信号接通,伺服系统收到信号后,控制涡轮减速电机2转向向右侧运动,当扫砂管组件运行到右侧后,右侧接近开关5接通,伺服系统收到信号后,控制涡轮减速电机2转向带动扫砂管组件向左运动,扫砂外喷管11在上砂槽16内不停地做往复运动,可以使金刚砂在上砂槽16内最大可能的均布,同样扫砂外喷管11不停地做往复运动可以起到搅拌的作用,防止金刚砂在上砂槽16槽底的沉淀。
 
以上所述,仅为本实用新型的具体实施方式,但本实用新型的保护范围并不局限于此,任何熟悉本技术领域的技术人员在本实用新型揭露的技术范围内,可轻易想到变化或替换,都应涵盖在本实用新型的保护范围之内。因此,本实用新型的保护范围应以所述权利要求的保护范围为准。
 
Copyright © 宁波鄞州盖奇同步带轮有限公司 2007-2022 All Rights Reserved.
电话:4006-574-123/0574-27834692 传真:0574-27834691
地址:浙江省宁波市鄞州区姜山镇蔡郎桥村姜南路39-2 E-Mail:sales@belt-pulley.com  
浙ICP备09102982号 盖奇公司网络部提供技术支持 浙公网安备33021202003319号