当前位置:首页->一种盘装料供料装置的出料机构

 一种盘装料供料装置的出料机构

 
【申请公布号:CN108357871A;申请权利人:苏州盟川自动化科技有限公司; 发明设计人: 戴龙渠; 姚友福;】
 
摘要:
 
本发明公开了一种盘装料供料装置的出料机构,包括出料机架以及设于出料机架上的出料皮带组,出料机架的顶部安装有顶封板;出料皮带组包括一对滑料侧立板、一对同步带轮组、出料驱动装置、一对出料导轨滑块机构和一对料盘挡片,滑料侧立板平行设置于顶封板上,同步带轮组分设于滑料侧立板相对的侧面上,其上设有同步带压板;出料驱动装置包括出料电机和出料皮带轴,出料皮带轴用于带动同步带轮组运动;出料导轨滑块机构设于滑料侧立板上,出料滑块上固定有滑块定位板,滑块定位板与同步带压板固定连接;料盘挡片安装于滑块定位板上,用于带动料盘水平移动。本发明的出料机构,自动化程度高,具备自动回收料盘功能。 
 
主权项:
 
1.一种盘装料供料装置的出料机构,其特征在于,包括出料机架以及设于出料机架上的出料皮带组,出料机架的顶部安装有顶封板;出料皮带组包括:一对滑料侧立板,其平行设置于顶封板上,且滑料侧立板的一端伸出所述出料机架;一对同步带轮组,分别设于滑料侧立板相对的侧面上,且同步带轮组上设有同步带压板;出料驱动装置,其包括设于顶封板上的出料电机,通过所述出料电机驱动的出料皮带轴,所述出料皮带轴用于同步带动所述一对同步带轮组运动;一对出料导轨滑块机构,分别设于滑料侧立板上,出料导轨滑块机构的出料滑块上固定有滑块定位板,所述滑块定位板与同步带压板固定连接;以及一对料盘挡片,分别安装于滑块定位板上,其用于带动料盘沿所述滑料侧立板水平移动。 
 
 
要求:
1.一种盘装料供料装置的出料机构,其特征在于,包括出料机架以及设于出料机架上的出料皮带组,出料机架的顶部安装有顶封板;出料皮带组包括:
 
一对滑料侧立板,其平行设置于顶封板上,且滑料侧立板的一端伸出所述出料机架;
 
一对同步带轮组,分别设于滑料侧立板相对的侧面上,且同步带轮组上设有同步带压板;
 
出料驱动装置,其包括设于顶封板上的出料电机,通过所述出料电机驱动的出料皮带轴,所述出料皮带轴用于同步带动所述一对同步带轮组运动;
 
一对出料导轨滑块机构,分别设于滑料侧立板上,出料导轨滑块机构的出料滑块上固定有滑块定位板,所述滑块定位板与同步带压板固定连接;以及
 
一对料盘挡片,分别安装于滑块定位板上,其用于带动料盘沿所述滑料侧立板水平移动。
 
2.如权利要求1所述的盘装料供料装置的出料机构,其特征在于,所述一对滑料侧立板的顶部均安装有导向轮安装条,且导向轮安装条相对的侧面上设有若干导向轮,以引导料盘水平移动。
 
3.如权利要求2所述的盘装料供料装置的出料机构,其特征在于,所述导向轮安装条上还固定有侧向定位条。
 
4.如权利要求1所述的盘装料供料装置的出料机构,其特征在于,所述同步带轮组包括出料皮带和一对出料同步轮,且其中一出料同步轮伸出所述出料机架。
 
5.如权利要求1所述的盘装料供料装置的出料机构,其特征在于,所述出料皮带轴的两端分别与一对同步带轮组的出料同步轮轴合,出料皮带轴上固定有出料从动轮,出料电机上固定有出料主动轮以带动所述出料从动轮转动。
 
6.如权利要求1所述的盘装料供料装置的出料机构,其特征在于,所述一对滑料侧立板的另一端固定有前封板,所述前封板的顶端设有安装槽,该安装槽中安装有检测传感器以检测料盘的位置。
 
一种盘装料供料装置的出料机构
技术领域
 
本发明涉及盘装料供料装置领域,具体涉及一种盘装料供料装置的出料机构。
 
背景技术
 
现有技术中,物料的来料包装方式一般分为散装料、编带料、盘装料、管装料等方式。其中,对盘装料进行供料时,通常采用传送带、倍速链等对料盘进行上料,配合机械手进行取料。这种供料方式,存在设备占地面积大,自动化程度低等缺点。
 
发明内容
 
本发明要解决的技术问题是提供一种盘装料供料装置的出料机构,该出料机构自动化程度高,具备自动回收料盘功能。
 
为了解决上述技术问题,本发明提供了一种盘装料供料装置的出料机构,包括出料机架以及设于出料机架上的出料皮带组,出料机架的顶部安装有顶封板;出料皮带组包括:
 
一对滑料侧立板,其平行设置于顶封板上,且滑料侧立板的一端伸出所述出料机架;
 
一对同步带轮组,分别设于滑料侧立板相对的侧面上,且同步带轮组上设有同步带压板;
 
出料驱动装置,其包括设于顶封板上的出料电机,通过所述出料电机驱动的出料皮带轴,所述出料皮带轴用于同步带动所述一对同步带轮组运动;
 
一对出料导轨滑块机构,分别设于滑料侧立板上,出料导轨滑块机构的出料滑块上固定有滑块定位板,所述滑块定位板与同步带压板固定连接;以及
 
一对料盘挡片,分别安装于滑块定位板上,其用于带动料盘沿所述滑料侧立板水平移动。
 
在本发明的一个较佳的实施方式中,所述一对滑料侧立板的顶部均安装有导向轮安装条,且导向轮安装条相对的侧面上设有若干导向轮,以引导料盘水平移动。
 
在本发明的一个较佳的实施方式中,所述导向轮安装条上还固定有侧向定位条。
 
在本发明的一个较佳的实施方式中,所述同步带轮组包括出料皮带和一对出料同步轮,且其中一出料同步轮伸出所述出料机架。
 
在本发明的一个较佳的实施方式中,所述出料皮带轴的两端分别与一对同步带轮组的出料同步轮轴合,出料皮带轴上固定有出料从动轮,出料电机上固定有出料主动轮以带动所述出料从动轮转动。
 
在本发明的一个较佳的实施方式中,所述一对滑料侧立板的另一端固定有前封板,所述前封板的顶端设有安装槽,该安装槽中安装有检测传感器以检测料盘的位置。
 
本发明的有益效果在于:
 
1、本发明的盘装料供料装置的出料机构,当料盘中的物料被移送完毕后,出料组件会带动料盘朝着相反的方向移动,直至料盘回到原位,从而完成了空料盘的回收,提高了供料装置的自动化程度,提高了供料的效率;
 
2、本发明的出料机构,其出料组件采用一对料盘挡片来推拉料盘,从而实现了料盘的拉出和回收,与传统的采用机械手作用于料盘的方式相比,本发明的出料组件结构简单且有效,既简化了装置的复杂度,且料盘的拉出和回收的准确度高。
 
附图说明
 
一种盘装料供料装置的出料机构
图1是本发明的出料机构一实施例的结构示意图;
 
一种盘装料供料装置的出料机构
图2是图1中出料皮带组的结构示意图;
 
一种盘装料供料装置的出料机构
图3是图2中A处的放大示意图;
 
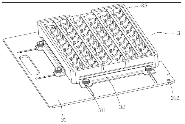
一种盘装料供料装置的出料机构
图4是与本发明的出料机构配套使用的托盘组件的结构示意图;
 
其中:
 
1、出料机架;11、顶封板;
 
2、出料皮带组;21、滑料侧立板;211、同步轮锁紧板;22、同步带轮组;221、出料同步轮;222、出料皮带;223、同步带压板;231、出料电机;232、出料主动轮;233、出料皮带轴;234、出料从动轮;235、轴承支架;241、出料导轨;242、出料滑块;243、滑块定位板;244、料盘挡片;251、导向轮安装条;252、导向轮;253、侧向定位条;26、前封板;261、安装槽;
 
3、托盘组件;31、托盘;311、条形孔;312、推拉槽;32、限位板;33、料盘。
 
具体实施方式
 
下面结合附图和具体实施例对本发明作进一步说明,以使本领域的技术人员可以更好地理解本发明并能予以实施,但所举实施例不作为对本发明的限定。
 
本发明公开了一种盘装料供料装置的出料机构,包括出料机架1以及设于出料机架1上的出料皮带组2。
 
具体的,请参见图1,出料机架1是由多根铝型材拼接而成的,其顶部覆盖安装有顶封板11,本实施例中,顶封板11通过螺丝固定于铝型材上。
 
请参见图2-3,出料皮带组2包括一对滑料侧立板21、一对同步带轮组22、出料驱动装置、一对出料导轨滑块机构和一对料盘挡片244。其中,一对滑料侧立板21相对平行的固定于顶封板11上,其一端部与顶封板11的一侧平齐,另一端部伸出顶封板11的另一侧。
 
一对同步带轮组22分别设于滑料侧立板21相对的侧面上,且同步带轮组22上设有同步带压板223。同步带轮组22包括出料皮带222和一对出料同步轮221,且出料同步轮221分别安装于滑料侧立板21两侧的位置。本实施例中,滑料侧立板21上固定有同步轮锁紧板211以安装出料同步轮221。
 
出料驱动装置包括设于顶封板11上的出料电机231,通过出料电机231驱动的出料皮带轴233,出料皮带轴233用于同步带动一对同步带轮组22运动。本实施例中,出料电机231固定于顶封板11上,出料皮带轴233的两端分别与一对同步带轮组22的出料同步轮221轴合,出料皮带轴233上固定有出料从动轮234,出料电机231上固定有出料主动轮232以带动出料从动轮234转动。
 
一对出料导轨滑块机构分别设于滑料侧立板21上,出料导轨滑块机构的出料滑块242上固定有滑块定位板243,滑块定位板243与同步带压板223固定连接。出料导轨滑块机构包括出料导轨241和出料滑块242,出料导轨241设于滑料侧立板21相对的侧面上,且位于同步带轮组22的上方,滑块定位板243通过螺丝固定于出料滑块242上。同步带压板223设于出料皮带222的下方,其与滑块定位板243之间通过螺钉固定连接,且螺钉穿过出料皮带222。
 
一对料盘挡片244分别安装于滑块定位板243上,其用于带动料盘33沿滑料侧立板21水平移动。料盘挡片244优选具有向上延伸的挡条,以方便与料盘33配合。
 
本发明的出料机构需要和与之配套的托盘组件3配合使用,托盘组件3一实施例的结构示意图如图4所示,其包括托盘31和设于托盘31上的料盘33,托盘31上设有多个限位板32以对料盘33进行固定。在托盘31上可设置条形孔311,当限位板32通过螺栓安装于条形孔311上时,可对限位板32的位置进行调节,以更好地固定料盘33。托盘31上开设有与料盘挡片244中挡条相配合的推拉槽312,当需要出料时,挡条伸入到推拉槽312中,拉动托盘31并沿滑料侧立板21水平移动,从而完成料盘33的出料;当料盘33的物料移送完毕后,挡条推动载有空料盘33的托盘31回到原位,从而完成了料盘33的回收。
 
为了托盘31在滑料侧立板21上移动地更加平稳,本实施例中,滑料侧立板21的顶部均安装有导向轮安装条251,且导向轮安装条251相对的侧面上设有若干导向轮252,以引导料盘33水平移动,导向轮安装条251上还固定有侧向定位条253以限定托盘31的侧向位置,防止托盘31在移动过程中,发生侧向偏移。
 
本实施例中,滑料侧立板21的端部固定有前封板26,前封板26的顶端设有安装槽261,该安装槽261中安装有检测传感器以检测料盘33的位置。前封板26上还安装有若干个轴承支架235以相对固定出料皮带轴233。
 
以上所述实施例仅是为充分说明本发明而所举的较佳的实施例,本发明的保护范围不限于此。本技术领域的技术人员在本发明基础上所作的等同替代或变换,均在本发明的保护范围之内。本发明的保护范围以权利要求书为准。
 
Copyright © 宁波鄞州盖奇同步带轮有限公司 2007-2022 All Rights Reserved.
电话:4006-574-123/0574-27834692 传真:0574-27834691
地址:浙江省宁波市鄞州区姜山镇蔡郎桥村姜南路39-2 E-Mail:sales@belt-pulley.com  
浙ICP备09102982号 盖奇公司网络部提供技术支持 浙公网安备33021202003319号