当前位置:首页->激光镭射机的送线装置

 激光镭射机的送线装置

 
【授权公告号:CN207698907U;申请权利人:杭州良淋电子科技股份有限公司;发明设计人: 傅丹; 杨平;】
 
摘要:
 
本实用新型属于柔性扁平线缆加工设备技术领域,尤其是涉及一种激光镭射机的送线装置。包括工作台,所述的工作台上设有能够限定扁平电缆线行进方向的限位组件,其特征在于,所述的工作台的两侧分别设置有同步带传送机构,所述的同步带传送机构相对设置。优点在于:具有两个相对设置的同步带传送机构,通过同步带传送机构对扁平电缆线进行输送,同步带传送机构与扁平电缆线的接触面积大,对扁平电缆线具有支撑作用,通过两端支撑扁平电缆线,扁平电缆线的输送方向更为稳定,不容易在输送过程中发生卷曲的问题。 
 
主权项:
 
1.一种激光镭射机的送线装置,包括工作台(1),工作台(1)上设有能够限定扁平电缆线行进方向的限位组件(3),其特征在于,工作台(1)的两侧分别设置有同步带传送机构(2),同步带传送机构(2)相对设置。
 
要求:
 
1.一种激光镭射机的送线装置,包括工作台(1),工作台(1)上设有能够限定扁平电缆线行进方向的限位组件(3),其特征在于,工作台(1)的两侧分别设置有同步带传送机构(2),同步带传送机构(2)相对设置。
 
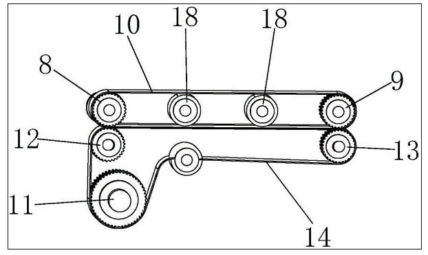
2.根据权利要求1所述的激光镭射机的送线装置,其特征在于,所述的同步带传送机构(2)包括上传送带组件(4)和下传送带组件(5),下传送带组件(5)与旋转驱动装置(6)相连接,上传送带组件(4)与举升气缸(7)相连接。
 
3.根据权利要求2所述的激光镭射机的送线装置,其特征在于,所述的上传送带组件(4)包括第一从动轴(8)、第二从动轴(9)和第一同步带(10),第一同步带(10)套设在第一从动轴(8)和第二从动轴(9)上。
 
4.根据权利要求3所述的激光镭射机的送线装置,其特征在于,所述的下传送带组件(5)包括主动轴(11)、第三从动轴(12)、第四从动轴(13)和第二同步带(14),第二同步带(14)套设在主动轴(11)、第三从动轴(12)和第四从动轴(13)上,主动轴(11)与旋转驱动装置(6)相连接。
 
5.根据权利要求4所述的激光镭射机的送线装置,其特征在于,所述的第一同步带(10)与扁平电缆线相接触的部分为上输送段(15),所述的第二同步带(14)与扁平电缆线相接触的部分为下输送段(16),所述的第一从动轴(8)和第二从动轴(9)紧贴于上输送段(15),所述的第三从动轴(12)和第四从动轴(13)紧贴于下输送段(16),所述的主动轴(11)与第二同步带(14)的非输送段(17)相贴合。
 
6.根据权利要求5所述的激光镭射机的送线装置,其特征在于,所述的上输送段(15)和下输送段(16)相平行。
 
7.根据权利要求3或4或5或6所述的激光镭射机的送线装置,其特征在于,所述的上传送带组件(4)还包括若干压紧辊(18),压紧辊(18)设置在第一从动轴(8)和第二从动轴(9)之间。
 
8.根据权利要求1或2或3或4或5或6所述的激光镭射机的送线装置,其特征在于,所述的限位组件(3)包括相对设置的限位条(19),限位条(19)通过锁紧螺柱(20)与工作台(1)可拆卸固定连接。
 
9.根据权利要求8所述的激光镭射机的送线装置,其特征在于,所述的限位条(19)的一端设有第一倾斜切面(21),第一倾斜切面(21)向位于工作台(1)一侧的同步带传送机构(2)倾斜,限位条(19)的第二倾斜切面(22),第二倾斜切面(22)向位于工作台(1)另一侧的同步带传送机构(2)倾斜。
 
10.根据权利要求9所述的激光镭射机的送线装置,其特征在于,所述的限位条(19)上还开设有压块(23)。
 
 
激光镭射机的送线装置
技术领域
 
本实用新型属于柔性扁平线缆加工设备技术领域,尤其是涉及一种激光镭射机的送线装置。
 
背景技术
 
柔性扁平电缆是一种用PET绝缘材料和极薄的镀锡扁平铜线,通过高科技自动化设备生产线压合而成的新型数据线缆,具有柔软、随意弯曲折叠、厚度薄、体积小、连接简单、拆卸方便、易解决电磁屏蔽(EMI)等优点。
 
专利文献[CN201320845100.5]公开了一种扁平电缆线送线机构,包括进线驱动装置及进线台,进线台上设置有垂直于进线方向的若干根滑移条及平行于进线方向的两根夹线条,所述夹线条可左右移动调整夹住扁平电缆线用以固定电缆线行进方向,进线驱动装置包括位于进线板内端的滚线机构,滚线机构包括两个上下设置的上滚轮与下滚轮,下滚轮内连接有主动轴,主动轴与电机相连接,上滚轮内连接从动轴,该从动轴两端固定在滑块上,滑块上连接有滚轮压紧气缸,扁平电缆线从上滚轮与下滚轮之间被滚动带出。
 
在该扁平电缆线送线机构中,上滚轮内连接从动轴,该从动轴两端固定在滑块上,滑块上连接有滚轮压紧气缸,通过滚轮压紧气缸带动上滚轮升降,下滚轮与主动轴相连接,扁平电缆线位于上滚轮和下滚轮之间,当下滚轮转动时,扁平电缆线被滚动带出。因为以滚轮滚动的方式带出,滚轮与扁平电缆线的接触面积非常小,不足以支撑扁平电缆线,在输出过程中,扁平电缆线的方向变化非常大,输出的方向不稳定,扁平电缆线在输送过程中容易出现弯曲,不利于扁平电缆线的准确平稳地输送。
 
实用新型内容
 
本实用新型的目的是针对上述问题,提供一种输出方向稳定,能够准确平稳地输送的激光镭射机的送线装置。
 
为达到上述目的,本实用新型采用了下列技术方案:本激光镭射机的送线装置,包括工作台,所述的工作台上设有能够限定扁平电缆线行进方向的限位组件,其特征在于,所述的工作台的两侧分别设置有同步带传送机构,所述的同步带传送机构相对设置。
 
在上述的激光镭射机的送线装置中,所述的同步带传送机构包括上传送带组件和下传送带组件,下传送带组件与旋转驱动装置相连接,上传送带组件与举升气缸相连接。
 
在上述的激光镭射机的送线装置中,所述的上传送带组件包括第一从动轴、第二从动轴和第一同步带,第一同步带套设在第一从动轴和第二从动轴上。
 
在上述的激光镭射机的送线装置中,所述的下传送带组件包括主动轴、第三从动轴、第四从动轴和第二同步带,第二同步带套设在主动轴、第三从动轴和第四从动轴上,主动轴与旋转驱动装置相连接。
 
在上述的激光镭射机的送线装置中,所述的第一同步带与扁平电缆线相接触的部分为上输送段,所述的第二同步带与扁平电缆线相接触的部分为下输送段,所述的第一从动轴和第二从动轴紧贴于上输送段,所述的第三从动轴和第四从动轴紧贴于下输送段,所述的主动轴与第二同步带的非输送段相贴合。
 
在上述的激光镭射机的送线装置中,所述的上输送段和下输送段相平行。
 
在上述的激光镭射机的送线装置中,所述的上传送带组件还包括若干压紧辊,所述的压紧辊设置在第一从动轴和第二从动轴之间。
 
在上述的激光镭射机的送线装置中,所述的限位组件包括相对设置的限位条,限位条通过锁紧螺柱与工作台可拆卸固定连接。
 
在上述的激光镭射机的送线装置中,所述的限位条的一端设有第一倾斜切面,第一倾斜切面向位于工作台一侧的同步带传送机构倾斜,限位条的第二倾斜切面,第二倾斜切面向位于工作台另一侧的同步带传送机构倾斜。
 
在上述的激光镭射机的送线装置中,所述的限位条上还开设有压块。
 
与现有的技术相比,本激光镭射机的送线装置的优点在于:具有两个相对设置的同步带传送机构,通过同步带传送机构对扁平电缆线进行输送,同步带传送机构与扁平电缆线的接触面积大,对扁平电缆线具有支撑作用,通过两端支撑扁平电缆线,扁平电缆线的输送方向更为稳定,不容易在输送过程中发生卷曲的问题。
 
附图说明
 
激光镭射机的送线装置
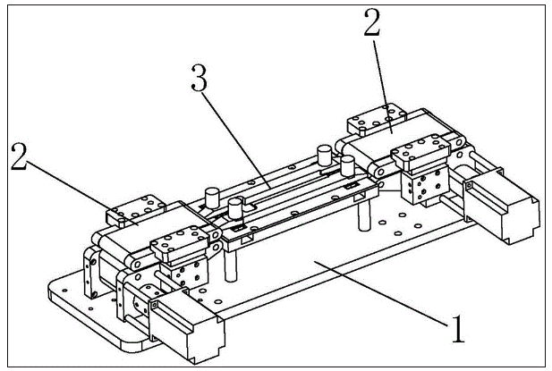
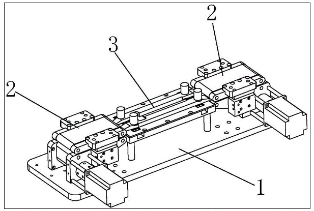
图1是本实用新型提供的送线装置的立体图。
 
激光镭射机的送线装置
图2是本实用新型提供的同步带传送机构的立体图。
 
激光镭射机的送线装置
图3是本实用新型提供的上传送带组件和下传送带组件压紧时的状态图。
 
激光镭射机的送线装置
图4是本实用新型提供的上传送带组件和下传送带组件分开时的状态图。
 
激光镭射机的送线装置
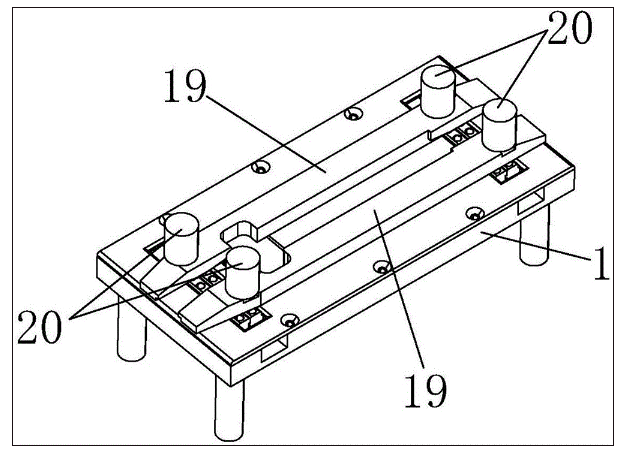
图5是本实用新型提供的限位组件的立体图。
 
激光镭射机的送线装置
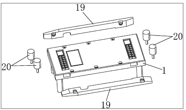
图6是本实用新型提供的限位组件的爆炸图。
 
激光镭射机的送线装置
图7是本实用新型提供的限位条的立体图。
 
激光镭射机的送线装置
图8是本实用新型提供的限位条的局部放大图。
 
图中,工作台1、同步带传送机构2、限位组件3、上传送带组件4、下传送带组件5、旋转驱动装置6、举升气缸7、第一从动轴8、第二从动轴9、第一同步带10、主动轴11、第三从动轴12、第四从动轴13、第二同步带14、上输送段15、下输送段16、非输送段17、压紧辊18、限位条19、锁紧螺柱20、第一倾斜切面21、第二倾斜切面22、压块23。
 
具体实施方式
 
下面将结合本实用新型实施例中的附图,对本实用新型实施例中的技术方案进行清楚、完整地描述,显然,所描述的实施例仅仅是本实用新型一部分实施例,而不是全部的实施例。基于本实用新型中的实施例,本领域普通技术人员在没有作出创造性劳动前提下所获得的所有其他实施例,都属于本实用新型保护的范围。
 
如图1-8所示,本激光镭射机的送线装置包括工作台1,工作台1上设有能够限定扁平电缆线行进方向的限位组件3,其特征在于,工作台1的两侧分别设置有同步带传送机构2,同步带传送机构2相对设置。本送线装置具有两个相对设置的同步带传送机构2,通过同步带传送机构2对扁平电缆线进行输送,同步带传送机构2与扁平电缆线的接触面积大,对扁平电缆线具有支撑作用,通过两端支撑扁平电缆线,扁平电缆线的输送方向更为稳定,不容易在输送过程中发生卷曲的问题。
 
其中,同步带传送机构2包括上传送带组件4和下传送带组件5,下传送带组件5与旋转驱动装置6相连接,上传送带组件4与举升气缸7相连接。举升气缸7驱动上传送带组件4升降,当上传送带组件4升起时,将扁平电缆线放置到上传送带组件4和下传送带组件5之间,举升气缸7带动上传送带组件4下降,压紧扁平电缆线,旋转驱动装置6驱动下传送带组件5,旋转驱动装置6为驱动电机,下传送带组件5带动扁平电缆线移动,实现扁平电缆线的输送。
 
更具体地说,上传送带组件4包括第一从动轴8、第二从动轴9和第一同步带10,第一同步带10套设在第一从动轴8和第二从动轴9上。下传送带组件5包括主动轴11、第三从动轴12、第四从动轴13和第二同步带14,第二同步带14套设在主动轴11、第三从动轴12和第四从动轴13上,主动轴11与旋转驱动装置6相连接。
 
其中,第一同步带10与扁平电缆线相接触的部分为上输送段15,第二同步带14与扁平电缆线相接触的部分为下输送段16,上输送段15和下输送段16相平行。第一从动轴8和第二从动轴9紧贴于上输送段15,第三从动轴12和第四从动轴13紧贴于下输送段16,主动轴11与第二同步带14的非输送段17相贴合。
 
在输送过程中,扁平电缆线位于上输送段15和下输送段16之间,主动轴11与旋转驱动装置6相连接,主动轴11在旋转驱动装置6的驱动下本身会带有一定的振动,将主动轴11与第二同步带14的非输送段17,从而不会将直接将振动传递给扁平电缆线,利于扁平电缆线的平稳输送。
 
上传送带组件4还包括若干压紧辊18,压紧辊18设置在第一从动轴8和第二从动轴9之间。在输送过程中,为了使得上传送带组件4和下传送带组件5与扁平电缆线之间具有较大的接触面积,需要将第一同步带10和第二同步带14设置得较长,而当长度变大时,则上传送带组件4中部对于扁平电缆线的压紧效果会变差,通过设置压紧辊18,对扁平电缆线进行压紧,从而使得输送更为平稳。
 
限位组件3包括相对设置的限位条19,限位条19对扁平电缆线的输送方向进行限定,避免扁平电缆线在输送过程中发生偏转的问题。限位条19通过锁紧螺柱20与工作台1可拆卸固定连接,不同的扁平电缆线具有不同的规格,限位条19之间的距离能够根据扁平电缆线的具体规格进行调节,灵活性强,适用范围更广,且操作简单,使用方便。
 
限位条19的一端设有第一倾斜切面21,第一倾斜切面21向位于工作台1一侧的同步带传送机构2倾斜,限位条19的第二倾斜切面22,第二倾斜切面22向位于工作台1另一侧的同步带传送机构2倾斜。进一步,限位条19上还开设有压块23。压块23对输送过程中的扁平电缆线进行纵向限定,避免在弯曲翘起。
 
本文中所描述的具体实施例仅仅是对本实用新型精神作举例说明。本实用新型所属技术领域的技术人员可以对所描述的具体实施例做各种各样的修改或补充或采用类似的方式替代,但并不会偏离本实用新型的精神或者超越所附权利要求书所定义的范围。
 
尽管本文较多地使用了工作台1、同步带传送机构2、限位组件3、上传送带组件4、下传送带组件5、旋转驱动装置6、举升气缸7、第一从动轴8、第二从动轴9、第一同步带10、主动轴11、第三从动轴12、第四从动轴13、第二同步带14、上输送段15、下输送段16、非输送段17、压紧辊18、限位条19、锁紧螺柱20、第一倾斜切面21、第二倾斜切面22、压块23等术语,但并不排除使用其它术语的可能性。使用这些术语仅仅是为了更方便地描述和解释本实用新型的本质;把它们解释成任何一种附加的限制都是与本实用新型精神相违背的。
 
激光镭射机的送线装置

 

Copyright © 宁波鄞州盖奇同步带轮有限公司 2007-2022 All Rights Reserved.
电话:4006-574-123/0574-27834692 传真:0574-27834691
地址:浙江省宁波市鄞州区姜山镇蔡郎桥村姜南路39-2 E-Mail:sales@belt-pulley.com  
浙ICP备09102982号 盖奇公司网络部提供技术支持 浙公网安备33021202003319号