当前位置:首页->抛光机的工件旋转定位机构

 抛光机的工件旋转定位机构

 
【授权公告号:CN207696329U;申请权利人:东莞市永力达机械有限公司; 发明设计人:孙百胜;】
 
摘要:
 
本实用新型公开了一种抛光机的工件旋转定位机构,其工作连续性好,适用于对异形把手进行抛光的抛光机。本实用新型包括旋转工作圆盘,旋转工作圆盘上面设有旋转轴,旋转轴上面设有工装夹具,旋转轴下端连接同步带轮,同步带轮通过同步带连接电机,同步带面设有安装支架,安装支架部设有滚动轴承。本实用新型主要是一个电机带动一个或两个及以上工件旋转;大工件用一个电机带动一个工件,小的工件通过一个电机带动两个及以上工件。这样保证了工件在抛光过程中的扭力,不至于工件在抛光过程中,电机带不动而无法抛光,保证了工件在抛光过程中的同步性,保证了好的抛光效果。 
 
主权项:
 
1.一种抛光机的工件旋转定位机构,包括旋转工作圆盘(04),其特征在于,所述旋转工作圆盘(04)上面设有旋转轴(03),旋转轴(03)上面设有工装夹具(02),工装夹具(02)位于旋转工作圆盘(04)台面上方,旋转轴(03)下端连接同步带轮(06),同步带轮(06)通过同步带(05)连接电机(01),同步带(05)下面设有安装支架(07),安装支架(07)底部设有滚动轴承(08)。 
 
要求:
 
1.一种抛光机的工件旋转定位机构,包括旋转工作圆盘(04),其特征在于,所述旋转工作圆盘(04)上面设有旋转轴(03),旋转轴(03)上面设有工装夹具(02),工装夹具(02)位于旋转工作圆盘(04)台面上方,旋转轴(03)下端连接同步带轮(06),同步带轮(06)通过同步带(05)连接电机(01),同步带(05)下面设有安装支架(07),安装支架(07)底部设有滚动轴承(08)。
 
2.根据权利要求1所述的抛光机的工件旋转定位机构,其特征在于,所述电机(01)通过同步带(05)带动一个以上同步带轮(06),同步带轮(06)通过旋转轴(03)传动连接工装夹具(02)。
 
3.根据权利要求1所述的抛光机的工件旋转定位机构,其特征在于,所述电机(01)通过同步带(05)带动两个同步带轮(06),同步带轮(06)通过旋转轴(03)传动连接工装夹具(02)。
 
4.根据权利要求1所述的抛光机的工件旋转定位机构,其特征在于,所述同步带轮(06)和安装支架(07)之间设有轴承安装座(09),轴承安装座(09)上装设有轴承,旋转轴(03)底端设置在轴承中,安装支架(07)位于轴承安装座(09)下面。
 
 
抛光机的工件旋转定位机构
技术领域
 
本实用新型涉及一种抛光机,特别涉及一种异形抛光机上夹具旋转定位装置。
 
技术背景
 
现有的制造行业中都会使用大量的金属结构工件,需要对金属结构工件进行表面平整度处理,对金属结构件的表面进行抛光研磨,而且对金属结构工件的表面质量要求越来越高。抛光机是一种对金属材质的工件进行表面机械处理,使其得到所需表面光洁度的机械加工设备,抛光机通常用电动机带动安装在机器上的抛光轮高速旋转,由抛光轮与待抛工件表面进行摩擦,使工件表面粗糙度降低,得到光滑表面或镜面光泽,以使工件获得光亮、平整的表面,对工件表面进行修饰加工。
 
目前的抛光机通常只包括一个抛光轮,通过手工控制进给量,用抛光轮来抛光工件,未实现被加工工件自旋,工作强度大,费时费力,抛光成本较高,针对性差,智能化程度低,工业化批量生产困难,而且抛光的品质也不易保证,从而影响金属工件的平滑度。
 
实用新型内容
 
为了解决上述的问题,本实用新型提供了一种结构设计合理的异形把手抛光机适用的工件旋转定位机构,其工作连续性好,适用于对异形把手进行抛光的抛光机。
 
本实用新型具体技术方案如下:
 
一种抛光机的工件旋转定位机构,包括旋转工作圆盘,旋转工作圆盘上面设有旋转轴,旋转轴上面设有工装夹具,工装夹具位于旋转工作圆盘台面上方,工装夹具顶端可安装工件,旋转轴带动工装夹具旋转,旋转轴下端连接同步带轮,同步带轮通过同步带连接电机,同步带下面设有安装支架,安装支架底部设有滚动轴承,滚动轴承设置在机架的支撑座(滑槽)上。
 
进一步,在一些实施例中,电机通过同步带带动一个以上同步带轮,同步带轮通过旋转轴传动连接工装夹具,可使一个以上工件同时旋转抛光。
 
进一步,在一些实施例中,电机通过同步带带动两个同步带轮,同步带轮通过旋转轴传动连接工装夹具,可使两个工件同时旋转抛光。
 
进一步,在一些实施例中,同步带轮和安装支架之间设有轴承安装座,轴承安装座上装设有轴承,旋转轴底端设置在轴承中,安装支架位于轴承安装座下面。
 
本实用新型主要是一个电机带动一个或两个及以上工件旋转;大工件用一个电机带动一个工件,小的工件通过一个电机带动两个及以上工件。这样保证了工件在抛光过程中的扭力,不至于工件在抛光过程中,电机带不动而无法抛光,保证了工件在抛光过程中的同步性,保证了好的抛光效果。
 
附图说明
 
抛光机的工件旋转定位机构
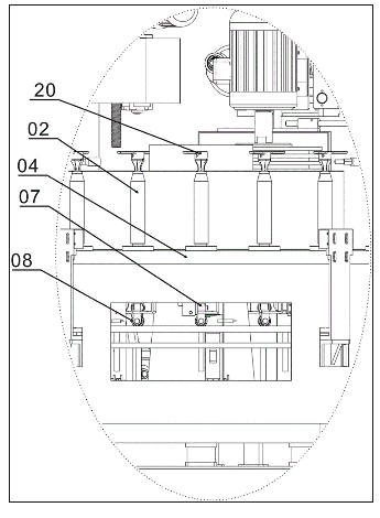
图1是本实用新型实施例的结构示意图;
 
抛光机的工件旋转定位机构
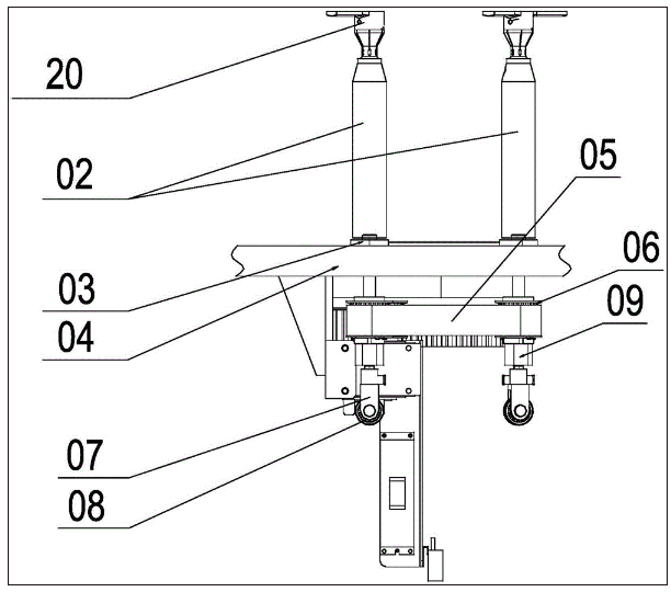
图2是本实用新型实施例电机部分的示意图;
 
抛光机的工件旋转定位机构
图3是本实用新型实施例使用时的位置示意图。
 
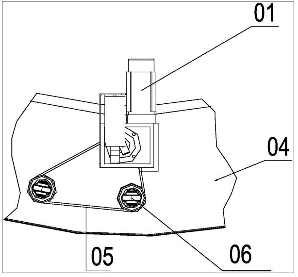
图中标记:
 
电机01,工装夹具02,旋转轴03,旋转工作圆盘04,同步带05,同步带轮06,安装支架07,滚动轴承08,轴承安装座09,工件20。
 
具体实施方式
 
以下将配合附图及实施例来详细说明本实用新型的实施方式,藉此对本实用新型如何应用技术手段来解决技术问题并达成技术功效的实现过程能充分理解并据以实施。
 
如图1所示,本实用新型较佳用于对异形把手进行抛光的抛光机,是异形把手抛光机适用的工件旋转定位机构。旋转工作圆盘04上面设有旋转轴03,旋转轴03上面设有工装夹具02,工装夹具02位于旋转工作圆盘04台面上方,工装夹具02顶端可安装工件20,旋转轴03带动工装夹具02旋转,旋转轴03下端连接同步带轮06,同步带轮06通过同步带05连接电机01,同步带05下面设有安装支架07,安装支架07底部设有滚动轴承08,滚动轴承08设置在机架的支撑座(滑槽)上。
 
在一些实施例中,所述电机01通过同步带05带动一个以上同步带轮06,同步带轮06通过旋转轴03传动连接工装夹具02,可使一个以上工件20同时旋转抛光。
 
在一些实施例中,所述电机01通过同步带05带动两个同步带轮06,同步带轮06通过旋转轴03传动连接工装夹具02,可使两个工件20同时旋转抛光。
 
在一些实施例中,同步带轮06和安装支架07之间设有轴承安装座09,轴承安装座09上装设有轴承,旋转轴03底端设置在轴承中。安装支架07位于轴承安装座09下面。
 
在本说明书的描述中,若出现术语“实施例一”、“本实施例”、“具体实施”等描述意指结合该实施例或示例描述的具体特征、结构、材料或特点包含于本实用新型或发明的至少一个实施例或示例中。在本说明书中,对上述术语的示意性表述不一定指的是相同的实施例或示例;而且,所描述的具体特征、结构、材料或特点可以在任何一个或多个实施例或示例中以恰当的方式结合。
 
电机01是用于带动工件20旋转的动力源。工装夹具02用于安装定位工件20。旋转轴03与电机01驱动的同步带轮06和工装夹具02连接,将电机01旋转的动力通过旋转轴03带动工装夹具02旋转,从而带动工件20自转。滚动轴承08对工件20在抛光时起支撑作用。轴承安装座09上安装有轴承,轴承安装座09的轴承上设有旋转轴03。
 
在本说明书的描述中,术语“连接”、“安装”、“固定”、“设置”、“具有”均做广义理解,例如,“连接”可以是固定连接或在不影响部件关系与技术效果的基础上通过中间组件间接进行,也可以是一体连接或部分连接,如同此例的情形对于本领域普通技术人员而言,可根据具体情况理解上述术语在本实用新型或发明中的具体含义。
 
本实用新型主要是一个电机01带动一个或两个及以上工件20旋转;大的工件用一个电机01带动一个工件20,小的工件20通过一个电机01并通过同步带05,带动两个及以上工件20。这样保证了工件20在抛光过程中的扭力,不至于工件20在抛光过程中,电机01带不动而无法抛光,同时保证了同步带05与同步带轮06有更多的齿接触,保证了工件20在抛光过程中的同步性,保证了好的抛光效果。
 
上述对实施例的描述是为了便于该技术领域的普通技术人员能够理解和应用本案技术,熟悉本领域技术的人员显然可轻易对这些实例做出各种修改,并把在此说明的一般原理应用到其它实施例中而不必经过创造性的劳动。因此,本案不限于以上实施例,对于以下几种情形的修改,都应该在本案的保护范围内:①、以本实用新型技术方案为基础并结合现有公知常识所实施的新的技术方案,该新的技术方案所产生的技术效果并没有超出本实用新型技术效果之外;②、采用公知技术对本实用新型技术方案的部分特征的等效替换,所产生的技术效果与本实用新型技术效果相同;③、以本实用新型技术方案为基础进行可拓展,拓展后的技术方案的实质内容没有超出本实用新型技术方案之外;④、利用本实用新型说明书及附图内容所作的等效变换,直接或间接运用在其他相关的技术领域。
 
Copyright © 宁波鄞州盖奇同步带轮有限公司 2007-2022 All Rights Reserved.
电话:4006-574-123/0574-27834692 传真:0574-27834691
地址:浙江省宁波市鄞州区姜山镇蔡郎桥村姜南路39-2 E-Mail:sales@belt-pulley.com  
浙ICP备09102982号 盖奇公司网络部提供技术支持 浙公网安备33021202003319号