当前位置:首页->一种超重型平滑自动门和重型塞拉自动门的手动启闭机构

 一种超重型平滑自动门和重型塞拉自动门的手动启闭机构

 
【申请(专利)号:CN201721642865.3;申请权利人:深圳市门老爷科技有限公司;发明设计人:黄星; 石斌; 刘文彬;】
 
摘要:
 
本实用新型公开一种超重型平滑自动门和重型塞拉自动门的手动启闭机构,包括:动扇、承重轮组件、滑动轨道、减速电机、传动同步轮、手动驱动同步轮及扳手,承重轮组件与动扇端部连接,承重轮组件在滑动轨道上滑动,减速电机具有用于耦合两同步带的带槽,减速电机一带槽中的同步带与承重轮组件连接,另一带槽中的同步带与手动驱动同步轮耦合连接,手动驱动同步轮具有一驱动端,扳手用于驱动所述驱动端,从而带动手动驱动同步轮转动。本实用新型通过在减速电机的传动同步轮上增加一道同步带槽,在其他位置增加手动驱动同步轮,并通过同步带传动。该手动驱动同步轮通过扳手来耦合驱动,因扳手手柄力臂较长,可以输出较大的力矩,从而轻松启闭门扇。 
 
主权项:
 
1.一种超重型平滑自动门和重型塞拉自动门的手动启闭机构,其特征在于,包括:动扇、承重轮组件、滑动轨道、减速电机、传动同步轮、手动驱动同步轮以及扳手,所述承重轮组件与动扇端部连接,所述承重轮组件在所述滑动轨道上滑动,所述减速电机具有用于耦合两同步带的带槽,所述减速电机一带槽中的同步带与所述承重轮组件连接,另一带槽中的同步带与手动驱动同步轮耦合连接,所述手动驱动同步轮具有一驱动端,所述扳手用于驱动所述驱动端,从而带动所述手动驱动同步轮转动。 
 
 
要求:
 
1.一种超重型平滑自动门和重型塞拉自动门的手动启闭机构,其特征在于,包括:动扇、承重轮组件、滑动轨道、减速电机、传动同步轮、手动驱动同步轮以及扳手,所述承重轮组件与动扇端部连接,所述承重轮组件在所述滑动轨道上滑动,所述减速电机具有用于耦合两同步带的带槽,所述减速电机一带槽中的同步带与所述承重轮组件连接,另一带槽中的同步带与手动驱动同步轮耦合连接,所述手动驱动同步轮具有一驱动端,所述扳手用于驱动所述驱动端,从而带动所述手动驱动同步轮转动。
 
2.根据权利要求1所述的超重型平滑自动门和重型塞拉自动门的手动启闭机构,其特征在于,还包括一装饰盖,所述装饰盖盖合于所述手动驱动同步轮的驱动端上。
 
3.根据权利要求1所述的超重型平滑自动门和重型塞拉自动门的手动启闭机构,其特征在于,所述手动驱动同步轮、减速电机、承重轮组件及滑动轨道设于地面装饰面内。
 
4.根据权利要求1所述的超重型平滑自动门和重型塞拉自动门的手动启闭机构,其特征在于,所述手动驱动同步轮设于门套或幕墙装饰面内,所述减速电机、承重轮组件及滑动轨道设于天花完成面内。
 
 
一种超重型平滑自动门和重型塞拉自动门的手动启闭机构
技术领域
 
本实用新型涉及一种门,尤其涉及一种超重型平滑自动门和重型塞拉自动门的手动启闭机构。
 
背景技术
 
目前,市面上的超重型平滑自动门和重型塞拉自动门很少具有手动启闭动扇功能,即在失电状态下,手动开启和关闭门扇,保证人或物的顺利通行。这类自动门驱动力较大,且为了保证外观,门扇上很难有拉手等着力点,手动启闭门扇非常困难,尤其对于重型塞拉门而言,门扇不仅有平滑的直线运动,而且还有垂直于门扇的塞拉动作,很难实现手动启闭门扇功能。
 
因此,现有技术存在缺陷,需要改进。
 
实用新型内容
 
本实用新型的目的是克服现有技术的不足,提供一种超重型平滑自动门和重型塞拉自动门的手动启闭机构。
 
本实用新型的技术方案如下:本实用新型提供一种超重型平滑自动门和重型塞拉自动门的手动启闭机构,包括:动扇、承重轮组件、滑动轨道、减速电机、传动同步轮、手动驱动同步轮以及扳手,所述承重轮组件与动扇端部连接,所述承重轮组件在所述滑动轨道上滑动,所述减速电机具有用于耦合两同步带的带槽,所述减速电机一带槽中的同步带与所述承重轮组件连接,另一带槽中的同步带与手动驱动同步轮耦合连接,所述手动驱动同步轮具有一驱动端,所述扳手用于驱动所述驱动端,从而带动所述手动驱动同步轮转动。
 
所述超重型平滑自动门和重型塞拉自动门的手动启闭机构还包括一装饰盖,所述装饰盖盖合于所述手动驱动同步轮的驱动端上。
 
所述手动驱动同步轮、减速电机、承重轮组件及滑动轨道设于地面装饰面内。
 
所述手动驱动同步轮设于门套或幕墙装饰面内,所述减速电机、承重轮组件及滑动轨道设于天花完成面内。
 
采用上述方案,本实用新型提供一种超重型平滑自动门和重型塞拉自动门的手动启闭机构,在失电后能够轻松手动转动该机构,代替电机输入扭矩,使得门扇按照原本的运动原理运行,保证人或物的顺利通行。该机构结构简单,运行可靠,通过在从动轮或减速电机的传动同步轮上增加一道同步带槽,另在其他位置(地面下或门套幕墙内)增加一手动驱动同步轮,两者通过同步带传动。该手动驱动同步轮的驱动端可以通过扳手来耦合驱动。自动门正常运行时,此手动驱动同步轮同步转动,当失电状态下,可以将扳手一端插入此同步轮出轴处,然后转动扳手手柄,因扳手手柄力臂较长,可以输出较大的力矩,从而轻松启闭门扇。
 
附图说明
 
一种超重型平滑自动门和重型塞拉自动门的手动启闭机构
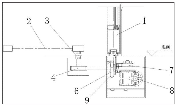
图1为本实用新型手动启闭机构一实施例的结构示意图。
 
一种超重型平滑自动门和重型塞拉自动门的手动启闭机构
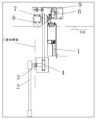
图2为本实用新型手动启闭机构另一实施例的结构示意图。
 
具体实施方式
 
以下结合附图和具体实施例,对本实用新型进行详细说明。
 
请参阅图1与图2,本实用新型提供一种超重型平滑自动门和重型塞拉自动门的手动启闭机构,在失电后能够轻松手动转动该机构,代替电机输入扭矩,使得门扇按照原本的运动原理运行,保证人或物的顺利通行。该手动启闭机构包括:动扇1、承重轮组件6、滑动轨道9、减速电机8、传动同步轮7、手动驱动同步轮4、装饰盖3以及扳手2。具体的,所述承重轮组件6与动扇1端部连接,所述承重轮组件6在所述滑动轨道9上滑动,所述减速电机8具有用于耦合两同步带的带槽,所述减速电机8一带槽中的同步带与所述承重轮组件6连接,另一带槽中的同步带与手动驱动同步轮4耦合连接,所述手动驱动同步轮4具有一驱动端,所述扳手2与所述驱动端耦合,用于驱动所述驱动端,从而带动所述手动驱动同步轮4转动。正常运行时,减速电机8通过传动同步轮7驱动动扇1运行,实现动扇1的自动开启和关闭功能;当失电后,扳手2与手动驱动同步轮4的驱动端耦合,转动扳手2手柄,输入扭矩驱动动扇1运动,从而实现手动开启和关闭动扇的动作,这样即实现了超重型平滑自动门和重型塞拉自动门的手动启闭功能。
 
所述手动驱动同步轮4、减速电机8、承重轮组件6及滑动轨道9均设于地面装饰面内,如图1所示。同样的,所述手动驱动同步轮4还可以设于门套或幕墙装饰面内,所述减速电机8、承重轮组件6及滑动轨道9设于天花完成面内,如图2所示。
 
所述装饰盖3盖合于所述手动驱动同步轮4的驱动端上,以保持产品的美观。打开装饰盖3,将扳手2一端插入装饰盖3盖合的孔内,即可与手动驱动同步轮4的驱动端耦合,从而驱动手动驱动同步轮4。
 
综上所述,本实用新型提供一种超重型平滑自动门和重型塞拉自动门的手动启闭机构,在失电后能够轻松手动转动该机构,代替电机输入扭矩,使得门扇按照原本的运动原理运行,保证人或物的顺利通行。该机构结构简单,运行可靠,通过在从动轮或减速电机的传动同步轮上增加一道同步带槽,另在其他位置(地面下或门套幕墙内)增加一手动驱动同步轮,两者通过同步带传动。该手动驱动同步轮的驱动端可以通过扳手来耦合驱动。自动门正常运行时,此手动驱动同步轮同步转动,当失电状态下,可以将扳手一端插入此同步轮出轴处,然后转动扳手手柄,因扳手手柄力臂较长,可以输出较大的力矩,从而轻松启闭门扇。
 
以上仅为本实用新型的较佳实施例而已,并不用于限制本实用新型,凡在本实用新型的精神和原则之内所作的任何修改、等同替换和改进等,均应包含在本实用新型的保护范围之内。
 
Copyright © 宁波鄞州盖奇同步带轮有限公司 2007-2022 All Rights Reserved.
电话:4006-574-123/0574-27834692 传真:0574-27834691
地址:浙江省宁波市鄞州区姜山镇蔡郎桥村姜南路39-2 E-Mail:sales@belt-pulley.com  
浙ICP备09102982号 盖奇公司网络部提供技术支持 浙公网安备33021202003319号