当前位置:首页->一种爬壁机器人

 一种爬壁机器人

 
【申请公布号:CN108438079A;申请权利人:南京林业大学;发明设计人: 陈勇; 孙烨; 郝淼; 洪晓玮;】
 
摘要:
 
本发明涉及一种爬壁机器人,包括框架、两条同步带以及若干电磁铁,所述框架的两侧分别设置有一组环形轨道,每组环形轨道有两个,所述环形轨道的轨道平面竖向设置;所述两条同步带分别在驱动机构的连接下设置于所述框架的两侧,所述若干电磁铁分布于两条同步带上,各电磁铁的线圈两极滑动于相应的两条环形轨道内;所述两条环形轨道与框架底侧相应的下侧部采用导电材料制成并且两条环形轨道的下侧部分别连接电源的两极,所述电磁铁移动至所述环形轨道的下侧部时其线圈导电产生磁场。本发明能够确保机器人爬壁过程中所需吸附力的同时不会产生由于吸附力导致的行进阻力。 
 
主权项:
 
1.一种爬壁机器人,其特征在于包括框架、两条同步带以及若干电磁铁,所述框架的两侧分别设置有一组环形轨道,每组环形轨道有两个,所述环形轨道的轨道平面竖向设置;所述两条同步带分别在驱动机构的连接下设置于所述框架的两侧,所述若干电磁铁分布于两条同步带上,各电磁铁的线圈两极滑动于相应的两条环形轨道内;所述两条环形轨道与框架底侧相应的下侧部采用导电材料制成并且两条环形轨道的下侧部分别连接电源的两极,所述电磁铁移动至所述环形轨道的下侧部时其线圈导电产生磁场。 
 
 
要求:
 
1.一种爬壁机器人,其特征在于包括框架、两条同步带以及若干电磁铁,所述框架的两侧分别设置有一组环形轨道,每组环形轨道有两个,所述环形轨道的轨道平面竖向设置;所述两条同步带分别在驱动机构的连接下设置于所述框架的两侧,所述若干电磁铁分布于两条同步带上,各电磁铁的线圈两极滑动于相应的两条环形轨道内;所述两条环形轨道与框架底侧相应的下侧部采用导电材料制成并且两条环形轨道的下侧部分别连接电源的两极,所述电磁铁移动至所述环形轨道的下侧部时其线圈导电产生磁场。
 
2.根据权利要求1所述的爬壁机器人,其特征在于,驱动机构为轮毂电机,该轮毂电机设置于所述框架的侧部,并且与相应的同步带驱动连接。
 
3.根据权利要求2所述的爬壁机器人,其特征在于,所述框架连接有两个轮毂电机以及两个同步带轮,其中一轮毂电机连接于框架一侧的前部,该侧的后部可转动地连接有一同步带轮,相应地一条同步带箍套于该轮毂电机的轮毂外侧以及该侧同步带轮上;另一轮毂电机连接于框架另一侧的后部,该侧的前部可转动地连接有另一同步带轮,相应地,另一条同步带箍套于该侧轮毂电机的轮毂外侧以及该侧的同步带轮上。
 
4.根据权利要求2所述的爬壁机器人,其特征在于,所述框架的侧部设置有安装孔,所述轮毂电机的主轴连接于所述安装孔内。
 
5.根据权利要求4所述的爬壁机器人,其特征在于,所述安装孔内置有套筒,所述轮毂电机的主轴设置于所述套筒内,并且所述套筒与框架之间连接有张紧连接件,从而使得同步带在其传动方向上张紧。
 
6.根据权利要求5所述的爬壁机器人,其特征在于,所述张紧连接件为U型抱箍。
 
7.根据权利要求5所述的爬壁机器人,其特征在于,所述轮毂电机的主轴一侧具有限位平面,所述套筒的侧壁开设有若干与所述限位平面相对的螺纹孔,若干紧固螺栓经由螺纹孔螺纹连接于套筒侧壁的同时紧固螺栓的端部抵触于所述限位平面。
 
8.根据权利要求1所述的爬壁机器人,其特征在于,所述电磁铁的线圈两极分别连接有电刷球头,所述电刷球头滑动于环形轨道内。
 
9.根据权利要求8所述的爬壁机器人,其特征在于,所述电磁铁的线圈两极经由弹簧与所述电刷球头连接。
 
10.根据权利要求1所述的爬壁机器人,其特征在于,所述两条环形轨道的上侧部采用绝缘材料制成。
 
 
一种爬壁机器人
技术领域
 
本发明涉及一种爬壁机器人,尤其是一种能够吸附在钢铁壁面的爬壁机器人,属于工业技术领域。
 
背景技术
 
移动机器人主要由移动平台(行走机构)、执行机构及相关驱动动力、信息感知与控制系统等构成。行走机构可以分为轮式(包括履带式)和足式(腿式)等形式。在平坦、坚实的地面,轮式运动比腿式运动效率高,而且结构简单、活动灵活。一般性的移动机器人通常采用轮式运动机构。腿式运动适宜于粗糙和非结构化地形,机构自由度多,控制复杂。腿式运动以一系列机器人和地面之间的点接触为特征。其主要优点包括在粗糙地形上良好的自适应性和机动性。
 
目前,国内外广泛开展爬壁机器人研究。爬壁机器人的吸附方式主要有负压吸附、仿生干性粘合剂吸附和磁力吸附等。负压吸附不受工作条件和工作介质限制,但是当吸附壁面有裂纹或凹凸时,吸盘容易漏气。干性粘合剂吸附是利用各种物体接触面之间的分子力进行吸附,可以在任意场合应用。磁力吸附方式仅适用于导磁材料的壁面。磁力吸附可以分为电磁铁吸附、永磁体吸附、电磁和永磁混合吸附。
 
检索发现,申请号2010102893277的中国专利提出了“轮式越障爬壁机器人”,永磁铁安装在机器人底盘下,与被吸附面形成面状非接触吸附。由于磁力是恒定的,所以这个磁力既是吸附力,也成为运动的阻力。磁力越大,吸附性越好,但是机动性越差。磁力越小,机动性越好,但是吸附性越差。申请号2015106680094的中国专利提出了“爬壁机器人”,变磁吸附单元轮流与风电塔筒表面吸附与脱离。但是所采用的变磁吸附单元体积笨重,而且该专利采用机械拨杆控制吸附单元的磁力,可靠性低。申请号2017107659155的中国专利提出了“一种轮式磁吸附爬壁机器人”,吸附模块由永久磁条构成,通过调整吸附模块上的螺栓来调整永久磁条与作业壁面之间的间隙(5-10mm)。机器人移动时,吸附力下降,安全性降低。申请号为2017100147777的中国专利提出了“一种吸附在钢铁壁面的爬壁机器人”,电磁铁通过电刷与通电板导通得点、脱离时失电。也就是说,电磁铁的轮流通电保证了爬壁机器人的吸附性和较好的灵活性。电磁铁上面固定压缩弹簧(接通电磁铁的一根引线),弹簧的另外一端连接电刷触点,触点与通电板接触得电。
 
发明内容
 
本发明的目的是提供一种吸附性和灵活性均较好,能够在钢铁壁面移动的爬壁机器人,具体由以下技术方案实现:
 
一种爬壁机器人,包括框架、两条同步带以及若干电磁铁,所述框架的两侧分别设置有一组环形轨道,每组环形轨道有两个,所述环形轨道的轨道平面竖向设置;所述两条同步带分别在驱动机构的连接下设置于所述框架的两侧,所述若干电磁铁分布于两条同步带上,各电磁铁的线圈两极滑动于相应的两条环形轨道内;所述两条环形轨道与框架底侧相应的下侧部采用导电材料制成并且两条环形轨道的下侧部分别连接电源的两极,所述电磁铁移动至所述环形轨道的下侧部时其线圈导电产生磁场。
 
所述的爬壁机器人,其进一步设计在于,驱动机构为轮毂电机,该轮毂电机设置于所述框架的侧部,并且与相应的同步带驱动连接。
 
所述的爬壁机器人,其进一步设计在于,所述框架连接有两个轮毂电机以及两个同步带轮,其中一轮毂电机连接于框架一侧的前部,该侧的后部可转动地连接有一同步带轮,相应地一条同步带箍套于该轮毂电机的轮毂外侧以及该侧同步带轮上;另一轮毂电机连接于框架另一侧的后部,该侧的前部可转动地连接有另一同步带轮,相应地,另一条同步带箍套于该侧轮毂电机的轮毂外侧以及该侧的同步带轮上。
 
所述的爬壁机器人,其进一步设计在于,所述框架的侧部设置有安装孔,所述轮毂电机的主轴连接于所述安装孔内。
 
所述的爬壁机器人,其进一步设计在于,所述安装孔内置有套筒,所述轮毂电机的主轴设置于所述套筒内,并且所述套筒与框架之间连接有张紧连接件,从而使得同步带在其传动方向上张紧。
 
所述的爬壁机器人,其进一步设计在于,所述张紧连接件为U型抱箍。
 
所述的爬壁机器人,其进一步设计在于,所述轮毂电机的主轴一侧具有限位平面,所述套筒的侧壁开设有若干与所述限位平面相对的螺纹孔,若干紧固螺栓经由螺纹孔螺纹连接于套筒侧壁的同时紧固螺栓的端部抵触于所述限位平面。
 
所述的爬壁机器人,其进一步设计在于,所述电磁铁的线圈两极分别连接有电刷球头,所述电刷球头滑动于环形轨道内。
 
所述的爬壁机器人,其进一步设计在于,所述电磁铁的线圈两极经由弹簧与所述电刷球头连接。
 
所述的爬壁机器人,其进一步设计在于,所述两条环形轨道的上侧部采用绝缘材料制成。
 
本发明有益效果在于:
 
1、环形轨道为封闭环形结构,通过螺钉固定在机器人框架上面。环形轨道由两部分构成,上半周由绝缘材料制作,下半周由导电材料制作。电刷圆球部分放在环形轨道的圆管内,并能够沿着内孔移动。当电磁铁随着同步带运动时,电刷沿着环形轨道滑动。当电刷运动到环形轨道上半周时,电磁铁失电,对钢铁壁面不产生吸力。当电刷运动到环形轨道下半周时,电磁铁得电,对钢铁壁面产生吸力。
 
2、采用轮毂电机,结构紧凑。
 
3、独特的电刷结构,使得机器人能够爬行垂直壁面,甚至可以吸附在天花板上面。
 
附图说明
 
一种爬壁机器人
图1是本发明实施例的三维示意图。
 
一种爬壁机器人
图2是实施例的侧视图。
 
一种爬壁机器人
图3电磁铁局部示意图。
 
一种爬壁机器人
图4电刷球头连接于环形轨道的结构示意图。
 
一种爬壁机器人
图5是轮毂电机与框架连接关系的结构示意图。
 
一种爬壁机器人
图6是U型抱箍与套筒的结构示意图。
 
具体实施方式
 
以下结合说明书附图以及实施例对本发明进行进一步说明:
 
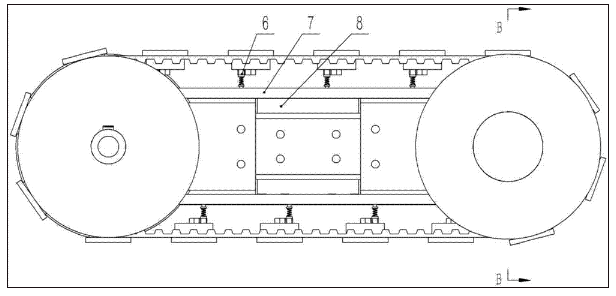
如图所示的一种爬壁机器人,包括框架4、两条同步带1以及若干电磁铁2,所述框架的两侧分别设置有一组环形轨道,每组环形轨道有两个,即共有4条环形轨道;所述环形轨道的轨道平面竖向设置;所述两条同步带1分别在驱动机构的连接下设置于所述框架的两侧,并且同步带与可转动地设置在框架上的同步带轮3连接,同步带即为爬壁机器人的爬行履带,同步带的中部接触于固定架8;所述若干电磁铁分布于两条同步带上,各电磁铁2的线圈两极滑动于相应的两条环形轨道内;所述两条环形轨道与框架底侧相应的下侧部采用导电材料制成并且两条环形轨道的下侧部分别连接电源的两极,所述电磁铁移动至所述环形轨道的下侧部时其线圈导电产生磁场。
 
所述电磁铁的线圈两极分别连接有电刷球头6-1,所述电刷球头滑动于环形轨道内。所述电磁铁的线圈两极经由弹簧与所述电刷球头连接。所述两条环形轨道的上侧部采用绝缘材料制成。
 
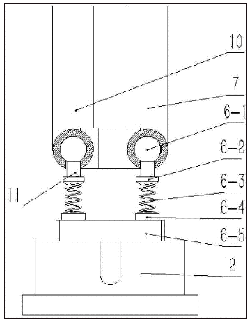
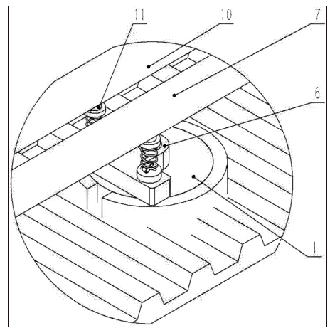
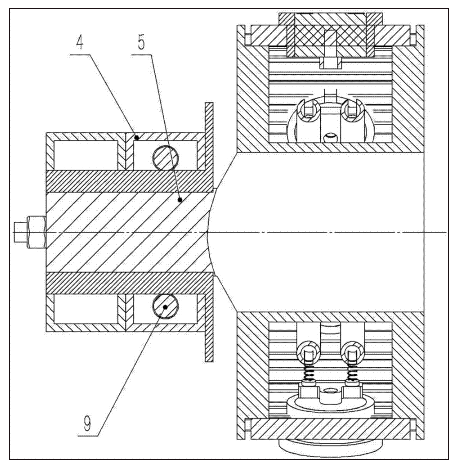
具体而言,如图4所示,其中电刷6和环形轨道7为一套;电刷11和环形轨道10为另外一套。电刷球头6-1通过螺钉6-2与弹簧6-3,弹簧6-3与绝缘的连接板6-5固定,连接板通过螺钉6-4与电磁铁固定,电磁铁正负极引线分别与两个电刷球头连接。
 
环形轨道为封闭环形结构,通过螺钉固定在机器人框架上面。环形轨道截面为圆管形状,侧面开槽。电刷球头6-1下部为圆柱形,圆柱体位于环形轨道的槽口,圆柱体与槽口直接有间隙,确保圆柱体可以沿着槽口移动。环形轨道由两部分构成,上半周由绝缘材料制作,下半周由导电材料制作。电刷圆球部分放在环形轨道的圆管内,并能够沿着内孔移动。当电磁铁2随着同步带1运动时,电刷沿着环形轨道滑动。当电刷运动到环形轨道上半周时,由于环形轨道上半周由绝缘材料制作,所以电刷滑动到环形轨道上半周时,电磁铁失电,对钢铁壁面不产生吸力。但是,当电刷运动到环形轨道下半周时,由于环形轨道下半周由导电材料制作,所以电刷滑动到环形轨道下半周时,电磁铁得电,对钢铁壁面产生吸力。本实施例中,单侧同步带上面能够有5个电磁铁同时得电吸附在钢铁壁面上,再加上另外一侧同步带,合计有10个电磁铁同时吸附在钢铁壁面上,足够的吸附力确保整个机器人及相关负载能够安全地吸附在壁面上面。
 
由于只有环形轨道下半周导电,所以只有当电刷滑动到环形轨道下半周时,电磁铁才能得到产生吸附力。随着同步带的运动,电磁铁顺序地进入导电区域,并顺序离开导电区域。这样,在机器人运动过程中,在确保有足够吸附力的同时,吸附力不会成为机器人移动的阻力。
 
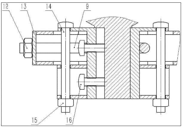
驱动机构为轮毂电机5,该轮毂电机设置于所述框架的侧部,并且与相应的同步带驱动连接。所述框架连接有两个轮毂电机以及两个同步带轮,其中一轮毂电机连接于框架一侧的前部,该侧的后部可转动地连接有一同步带轮3,相应地一条同步带箍套于该轮毂电机的轮毂外侧以及该侧同步带轮上;另一轮毂电机连接于框架另一侧的后部,该侧的前部可转动地连接有另一同步带轮3,相应地,另一条同步带箍套于该侧轮毂电机的轮毂外侧以及该侧的同步带轮上。所述框架的侧部设置有安装孔,所述轮毂电机的主轴连接于所述安装孔内。
 
所述安装孔内置有套筒,该套筒经由螺杆14和螺母15固定连接在框架4上;所述轮毂电机的主轴设置于所述套筒内,并且所述套筒与框架之间连接有张紧连接件,从而使得同步带在其传动方向上张紧。所述张紧连接件具体为U型抱箍9,紧固螺母12螺纹连接于U型抱箍9的端部的同时抵触于端板13,收紧紧固螺母12的时候,套筒在框架上张紧同步带。
 
所述轮毂电机的主轴一侧具有限位平面,所述套筒的侧壁开设有若干与所述限位平面相对的螺纹孔,若干紧固螺栓经由螺纹孔螺纹连接于套筒侧壁的同时紧固螺栓16的端部抵触于所述限位平面。
 
Copyright © 宁波鄞州盖奇同步带轮有限公司 2007-2022 All Rights Reserved.
电话:4006-574-123/0574-27834692 传真:0574-27834691
地址:浙江省宁波市鄞州区姜山镇蔡郎桥村姜南路39-2 E-Mail:sales@belt-pulley.com  
浙ICP备09102982号 盖奇公司网络部提供技术支持 浙公网安备33021202003319号