当前位置:首页->一种模块化自平衡振动筛激振器及激振系统

 一种模块化自平衡振动筛激振器及激振系统

 
【申请公布号:CN108480202A;申请权利人:中国矿业大学;发明设计人:刘初升; 武继达; 王振乾; 邹梦麒; 邱文强; 赵薇; 黄卓; 洪瑞;】
 
摘要:
 
本发明公开了一种模块化自平衡振动筛激振器及激振系统,该激振器包括偏心轴,偏心轴包括偏心轴体以及分别设置在偏心轴体左右两端的左转轴和右转轴,左转轴与右转轴的轴心线在同一直线上,左转轴与右转轴上分别由内向外依次安装有激振支座、配重块和同步带轮,激振支座为中心有孔的工字型支座,激振支座的中心孔内安装有轴承室,轴承室内安装有调心滚子轴承,左右两侧的配重块、同步带轮关于筛体中轴线对称,配重块偏心方向与偏心轴偏心方向一致,且两者关于激振支座中轴线力矩满足5:48;激振器并联可组成激振系统。本发明能改善轴系受力分布,防止偏心轴中心挠度过大,同时结构紧凑,布置方便;可以整体拆卸,便于维护。 
 
主权项:
 
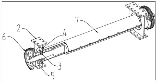
1.一种模块化自平衡振动筛激振器,包括偏心轴(1),其特征在于,所述偏心轴(1)包括偏心轴体(101)以及分别设置在偏心轴体(101)左右两端的左转轴(102)和右转轴(103),所述左转轴(102)与右转轴(103)的轴心线在同一直线上,所述左转轴(102)与右转轴(103)上分别由内向外依次安装有激振支座(2)、配重块(5)和同步带轮(6),所述激振支座(2)为中心有孔的工字型支座,所述激振支座(2)的中心孔内安装有轴承室(4),所述轴承室(4)内安装有调心滚子轴承(3),左右两侧的配重块(5)、同步带轮(6)关于振动筛筛体中轴线对称,配重块(5)偏心方向与偏心轴(1)偏心方向一致,且两者关于激振支座(2)中轴线力矩满足5:48。 
 
要求
1.一种模块化自平衡振动筛激振器,包括偏心轴(1),其特征在于,所述偏心轴(1)包括偏心轴体(101)以及分别设置在偏心轴体(101)左右两端的左转轴(102)和右转轴(103),所述左转轴(102)与右转轴(103)的轴心线在同一直线上,所述左转轴(102)与右转轴(103)上分别由内向外依次安装有激振支座(2)、配重块(5)和同步带轮(6),所述激振支座(2)为中心有孔的工字型支座,所述激振支座(2)的中心孔内安装有轴承室(4),所述轴承室(4)内安装有调心滚子轴承(3),左右两侧的配重块(5)、同步带轮(6)关于振动筛筛体中轴线对称,配重块(5)偏心方向与偏心轴(1)偏心方向一致,且两者关于激振支座(2)中轴线力矩满足5:48。
 
2.根据权利要求1所述的模块化自平衡振动筛激振器,其特征在于,所述偏心轴体(101)外设置有保护管(7),所述保护管(7)的两端分别与所述激振支座(2)固定连接。
 
3.根据权利要求2所述的模块化自平衡振动筛激振器,其特征在于,所述保护管(7)采用剖分式或整体式结构,其直径小于所述激振支座(2)轮廓尺寸。
 
4.根据权利要求1所述的模块化自平衡振动筛激振器,其特征在于,所述激振支座(2)通过螺栓与振动筛侧板(10)连接。
 
5.一种模块化自平衡振动筛激振系统,其特征在于,由至少两组权利要求1至4任一项所述的模块化自平衡振动筛激振器并联组成。
 
6.根据权利要求5所述的模块化自平衡振动筛激振系统,其特征在于,所述的模块化自平衡振动筛激振器通过同步带轮(6)直接啮合并联。
 
7.根据权利要求5所述的模块化自平衡振动筛激振系统,其特征在于,所述的模块化自平衡振动筛激振器通过同步带轮(6)与同步带(11)啮合并联。
 
 
一种模块化自平衡振动筛激振器及激振系统
技术领域
 
本发明涉及振动筛领域,具体涉及一种模块化自平衡振动筛激振器及激振系统。
 
背景技术
 
振动筛是选煤行业中非常重要的筛分设备,它通过多孔筛面的振动将不同直径的颗粒物进行分离来完成筛分作业,其中振动筛按筛面结构可分为单层振动筛与多层振动筛。按运动轨迹可分为圆振动筛、椭圆振动筛、直线振动筛以及变轨迹振动筛。近年来,随着煤炭清洁利用的发展要求,对煤炭处理量及处理效率的要求日益提高,对振动筛的大型化和可靠性提出了新的要求。
 
振动筛的工作原理主要是通过电机带动激振器产生惯性激振力,带动振动筛整体运动,实现物料筛分。目前振动筛激振器主要有轴偏心和块偏心两种形式,轴偏心方式可以提供较大激振力,同时对安装对称性不敏感,不易因安装误差产生筛体倾覆力矩;但随着筛体宽度的增加,偏心轴加长后中部挠度迅速加大,对结构强度产生不利影响,且偏心轴拆装不便,对维修空间有较大要求,限制了其在大型振动筛上的应用。块偏心激振器安装方便,但由于单位激振力较小,往往需要多台并联,需要主梁作为安装承载结构,付出的结构死重较大;在侧板安装后需要万向联轴节连接,两侧不易同步,需要额外的支撑结构补强。此外,现有的激振结构难以改变其安装位置,只能为振动筛提供单一形式的激振力,灵活性和拓展性差。
 
发明内容
 
本发明的目的是提供一种模块化自平衡振动筛激振器,能提供较大偏振力,可靠性高,拓展性好,维护方便,可适用于单轴、多轴驱动的单层、多层振动筛。
 
本发明的另一目的是提供由上述模块化自平衡振动筛激振器组成的激振系统。
 
为实现上述目的,本发明的一种模块化自平衡振动筛激振器,包括偏心轴,所述偏心轴包括偏心轴体以及分别设置在偏心轴体左右两端的左转轴和右转轴,所述左转轴与右转轴的轴心线在同一直线上,所述左转轴与右转轴上分别由内向外依次安装有激振支座、配重块和同步带轮,所述激振支座为中心有孔的工字型支座,所述激振支座的中心孔内安装有轴承室,所述轴承室内安装有调心滚子轴承,左右两侧的配重块、同步带轮关于筛体中轴线对称,配重块偏心方向与偏心轴偏心方向一致,且两者关于激振支座中轴线力矩满足5:48。
 
进一步地,所述偏心轴体外设置有保护管,所述保护管的两端分别与所述激振支座固定连接。
 
优选的,所述保护管采用剖分式或整体式结构,其直径小于所述激振支座轮廓尺寸。
 
优选的,所述激振支座通过螺栓与振动筛侧板连接,便于拆装。
 
本发明还提供一种振动筛激振系统,由至少两组上述模块化自平衡振动筛激振器并联组成。
 
本发明的模块化自平衡振动筛激振器,同时采用偏心轴和配重块组合激振,偏心轴可以充分利用筛宽空间,可以在相同尺寸条件下提供更大的激振力。根据材料力学计算,配重块偏心方向与偏心轴偏心方向一致,且两者关于激振支座中轴线力矩满足5:48,可以有效降低偏心轴中间挠度,改善应力分布,同时可以减小保护管直径,从而降低整体尺寸;
 
轴块偏心组合以及保护管均通过激振支座与筛体相连,整体结构刚度大,可以起到激振和承载作用;可以整体拆装,更换方便,不必在振动筛侧面预留轴长尺寸的检修空间;
 
本发明的激振器可以采用多级组合,同步带轮可以直接啮合,也可以安装同步带,实现不同旋转方向;配合振动筛结构,安装位置可以灵活选择,此外偏心轴两侧均安装同步带轮,可以消除单侧传动导致的附加力矩。
 
本发明在一定程度上满足了我国煤矿和选煤厂对振动筛大型化的需求,在煤炭、冶金、化工、环保等领域都具有广泛的实用性。
 
附图说明
 
一种模块化自平衡振动筛激振器及激振系统
图1是本发明的振动筛激振器的主视图;
 
一种模块化自平衡振动筛激振器及激振系统
图2是本发明的振动筛激振器的局部剖视图;
 
一种模块化自平衡振动筛激振器及激振系统
图3是本发明单激振器在双层圆振动筛的安装示意图;
 
一种模块化自平衡振动筛激振器及激振系统
图4是本发明双组激振器组在双层圆振动筛的安装示意图;
 
图中:1-偏心轴,101-偏心轴体,102-左转轴,103-右转轴,2-激振支座,3-调心滚子轴承,4-轴承室,5-配重块,6-同步带轮,7-保护管,8-键槽,9-振动筛,10-振动筛侧板,11-同步带。
 
具体实施方式
 
下面结合附图和具体实施例对本发明作进一步阐述。
 
如图1、图2所示,一种模块化自平衡振动筛激振器,包括偏心轴1,所述偏心轴1包括偏心轴体101以及分别设置在偏心轴体101左右两端的左转轴102和右转轴103,所述左转轴102与右转轴103的轴心线在同一直线上,所述左转轴102与右转轴103上分别由内向外依次安装有激振支座2、配重块5和同步带轮6,所述激振支座2为中心有孔的工字型支座,所述激振支座2的中心孔内安装有轴承室4,所述轴承室4内安装有调心滚子轴承3,左右两侧的配重块5、同步带轮6关于筛体中轴线对称,配重块5偏心方向与偏心轴1偏心方向一致。
 
如图2所示,所述偏心轴体101外设置有保护管7,保护管7采用剖分式结构,保护管7两端分别通过法兰盘连接激振支座2,保护管7直径小于激振支座2轮廓尺寸。
 
双层圆振动筛侧板10上预留矩形开口,矩形开口尺寸大于激振支座2尺寸,模块化自平衡振动筛激振器通过激振支座2安装在振动筛侧板10开口处。根据工作要求和安装空间,可以选择单组安装或者多组并联。如图3所示,在双层圆振动筛上安装单激振器,如图4所示,在双层圆振动筛上通过同步带11安装双组激振器,同步带11的内齿与同步带轮6啮合。此外,还可以采用同步带轮6直接啮合的方式将多个激振器进行并联。
 
所述左转轴102或右转轴103通过轴端的键槽8与弹性联轴器平键连接,工作时,电机通过弹性联轴器输入动力,带动偏心轴1及两端的配重块3旋转,两者产生的激振力通过左右激振支座2传递到振动筛侧板10上,进而带动振动筛9运动。偏心轴1旋转过程中由于自身产生的激振力的作用,存在绕激振支座2的弯矩M1,在弯矩的作用下会导致轴中部有较大的挠曲变形;而位于外侧的配重块3旋转过程中产生的激振力会产生相对激振支座2的弯矩M2,由于配重块3与偏心轴1偏心方向一致,且两者分别位于激振支座2两侧,因而对于弯矩M2,其作用方向与M1相反,会对偏心轴中部产生反方向上的挠度变形。在这一设计思想的指导下,基于材料力学级机械设计理论,通过合理设计M1、M2两者参数,使两者满足5:48,可以抵消偏心轴中部偏心部分的挠曲变形。
 
通过同步带轮6及同步带11可以保证多组激振器并联时激振器组相位同步,并可以通过改变激振支座2在振动筛侧板10上的相对安装位置来适当调节激振力的作用方向,满足不同运动轨迹的需要。
Copyright © 宁波鄞州盖奇同步带轮有限公司 2007-2022 All Rights Reserved.
电话:4006-574-123/0574-27834692 传真:0574-27834691
地址:浙江省宁波市鄞州区姜山镇蔡郎桥村姜南路39-2 E-Mail:sales@belt-pulley.com  
浙ICP备09102982号 盖奇公司网络部提供技术支持 浙公网安备33021202003319号