当前位置:首页->一种山楂切片装置

 一种山楂切片装置

 
【申请公布号:CN108556030A;申请权利人:湖州高源金机械有限公司;发明设计人:呼格吉乐;】
 
摘要:
 
本发明公开了一种山楂切片装置,包括机架,送料机构和切割装置,所述机架上端两侧各设有一个链轮,所述传动链横向水平布置,所述传动链与左右两个链轮互相啮合,所述传动链上设有滚筒,所述上侧链轮下表面设有摩擦板,所述摩擦板与滚筒相接触;所述机架顶部设有送料斗,所述机架顶部还设有毛刷带轮,所述毛刷带轮上安装有滚动毛刷,所述右侧链轮通过啮合齿轮带动刀槽式送料盘转动,所述刀槽式送料盘上设有固定切割钢丝切刀,所述机架底部设有电机,所述电机连接减速器,减速器上设有皮带轮,所述皮带轮通过两个同步带带动毛刷带轮和右侧链轮转动。该装置操作安全,运行可靠,完全满足实际生产的要求。 
 
主权项:
 
1.一种山楂切片装置,包括机架(20)、送料机构和切割装置,其特征在于:所述机架(20)上端两侧各设有一个链轮(2),在所述链轮(2)上横向水平布置有传动链(1),且所述传动链(1)与左右两个链轮(2)互相啮合,所述传动链(1)上设有滚筒(3),上侧传动链的下表面设有摩擦板(8),所述摩擦板(8)与滚筒(3)相接触;所述机架(20)顶部设有送料斗(4),所述机架顶部还设有毛刷带轮(5),所述毛刷带轮(5)上安装有滚动毛刷(6),右侧的链轮通过啮合齿轮(11)带动刀槽式送料盘(13)转动,所述刀槽式送料盘(13)上设有固定钢丝切刀(14),所述机架(20)底部设有电机(19),电机(19)连接减速器(17),减速器上设有皮带轮(18),所述皮带轮(18)通过同步带(7)和同步带(9)带动毛刷带轮(5)和右侧链轮转动。 
 
要求:
 
1.一种山楂切片装置,包括机架(20)、送料机构和切割装置,其特征在于:所述机架(20)上端两侧各设有一个链轮(2),在所述链轮(2)上横向水平布置有传动链(1),且所述传动链(1)与左右两个链轮(2)互相啮合,所述传动链(1)上设有滚筒(3),上侧传动链的下表面设有摩擦板(8),所述摩擦板(8)与滚筒(3)相接触;所述机架(20)顶部设有送料斗(4),所述机架顶部还设有毛刷带轮(5),所述毛刷带轮(5)上安装有滚动毛刷(6),右侧的链轮通过啮合齿轮(11)带动刀槽式送料盘(13)转动,所述刀槽式送料盘(13)上设有固定钢丝切刀(14),所述机架(20)底部设有电机(19),电机(19)连接减速器(17),减速器上设有皮带轮(18),所述皮带轮(18)通过同步带(7)和同步带(9)带动毛刷带轮(5)和右侧链轮转动。
 
2.根据权利要求1所述的一种山楂切片装置,其特征在于:所述啮合齿轮(11)有两对,所述啮合齿轮模数相同,且传动比为1。
 
3.根据权利要求1所述的一种山楂切片装置,其特征在于:右侧的链轮处设有可调挡板(12),所述右侧链轮与可调挡板(12)留有间隙。
 
4.根据权利要求1所述的一种山楂切片装置,其特征在于:左侧的链轮上设有张紧轴承(21),所述张紧轴承(21)与传动链(1)相互配合,右侧的链轮配合有传动带轮(10)。
 
5.根据权利要求1所述的一种山楂切片装置,其特征在于:所述机架下方设有山楂片收集装置(16),所述刀槽式送料盘(13)外缘设有送料盘挡板。
 
6.根据权利要求1所述的一种山楂切片装置,其特征在于:所述滚筒(3)有多个,且等间距分布。
 
一种山楂切片装置
技术领域
 
本发明涉及山楂处理设备领域,具体是一种山楂切片装置。
 
背景技术
 
天然果实类农产品大多味美多汁,香甜可口,但是其极短的保存期和较差的可加工性,尤其是大部分天然果实的结构都为外表是皮,中间是果肉,内心是核,例如山楂、梨、桃、杏、李、山楂等,严重制约了天然果实类农产品深加工的产量和质量。山楂的营养丰富,几乎含有水果的所有营养成分,而且药用价值也较高,所以长期以来,它是我国人民喜爱的一种果品。山楂的加工尤其是切片的质量和效率就显得非常重要,虽然市场上切片机得到了广泛的应用,但是都不适用于山楂的切片,原因在于山楂肉夹刀,破碎率高,不容易清洗。
 
当前国内的山楂加工设备种类少,自动化程度低,难以满足高质量高效率的山楂加工需求。就山楂自动定向,市场上没有完整的一体化设备,全靠手工来定向。而目前的山楂切片效率非常低,加工质量不好,所以研制出一种可以实现输送-自动-定向-切片的一体化设备能够极大提高山楂的加工质量和效率,其前景非常广泛。
 
发明内容
 
本发明采用滚筒输送,滚筒配合毛刷来定向。而输送是通过两对链轮带动滚筒运动来实现的;山楂经过毛刷后实现定向,山楂输送到送料盘中,并随其旋转,到一定角度时与钢丝切刀接触实现切割。该发明操作简单安全,运行可靠,完全满足实际生产的要求。
 
本发明的技术解决措施如下:
 
一种山楂切片装置,包括机架,送料机构和切割装置,所述机架上端两侧各设有一个链轮,所述传动链横向水平布置,且与左右两个链轮互相啮合,所述链轮上设有滚筒,所述上侧链轮下表面设有摩擦板,所述摩擦板与滚筒相接触;所述机架顶部设有送料斗,所述机架顶部还设有毛刷带轮,所述毛刷带轮上安装有滚动毛刷,所述右侧链轮通过啮合齿轮带动刀槽式送料盘转动,所述刀槽式送料盘上设有固定钢丝切刀,所述机架底部设有电机,电机连接减速器,减速器上设有皮带轮,所述皮带轮通过两个同步带带动毛刷带轮和右侧链轮转动。
 
作为优选,所述啮合齿轮有两对,所述啮合齿轮模数相同,且传动比为1。
 
作为优选,所述右侧链轮处设有可调挡板,所述右侧链轮与可调挡板留有间隙。
 
作为优选,所述左侧链轮上设有张紧轴承,所述张紧轴承与传动链相互配合,所述右侧链轮配合有传动带轮。
 
作为优选,所述机架下方设有山楂片收集装置,所述刀槽式送料盘外缘设有送料盘挡板。
 
作为优选,所述滚筒有多个,且等间距分布。
 
本发明的有益效果在于:
 
本发明采用滚筒输送,滚筒配合毛刷来定向。而输送是通过两对链轮带动滚筒运动来实现的;山楂经过毛刷后实现定向,山楂输送到送料盘中,并随其旋转,到一定角度时与钢丝切刀接触实现切割。该发明操作简单安全,运行可靠,完全满足实际生产的要求。附图说明
 
为了更清楚地说明本发明实施例或现有技术中的技术方案,下面将对实施例或现有技术描述中所需要使用的附图作简单地介绍,显而易见地,对于本领域普通技术人员而言,在不付出创造性劳动性的前提下,还可以根据这些附图获得其他的附图。
 
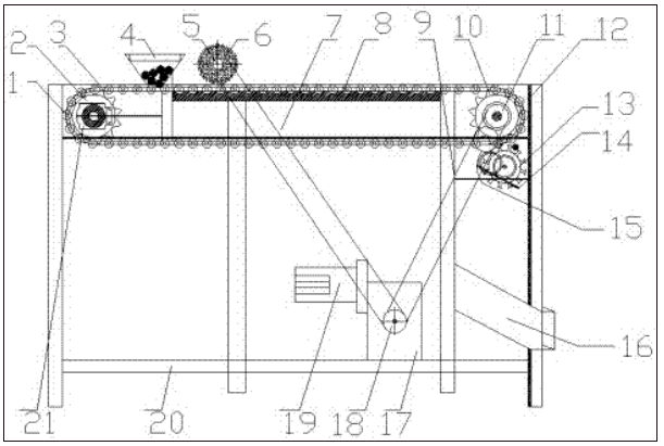
图1为本发明实施例提供的一种山楂切片装置的结构图。
 
一种山楂切片装置
附图1中:1为传动链;2为链轮;3为滚筒;4为送料斗;5为毛刷带轮;6为滚动毛刷;7为同步带;8为摩擦板;9为同步带;10为传动带轮;11为啮合齿轮;12为可调挡板;13为刀槽式送料盘;14为钢丝切刀;15为送料盘挡板;16为山楂片收集装置;17为减速器;18为皮带轮;19为电机;20为机架;21为张紧轴承。
 
具体实施方式
 
一种山楂切片装置,包括机架,送料机构和切割装置,机架上端两侧各设有一个链轮,传动链横向水平布置,且与左右两个链轮互相啮合,链轮上设有滚筒,上侧链轮下表面设有摩擦板,摩擦板与滚筒相接触;机架顶部设有送料斗,机架顶部还设有毛刷带轮,毛刷带轮上安装有滚动毛刷,传动链带动滚筒运动,与摩擦板产生摩擦,滚筒转动,使山楂在两个滚筒之间成横向排列,并通过滚动毛刷把不成排的山楂刷回。右侧链轮通过啮合齿轮带动刀槽式送料盘转动,刀槽式送料盘上设有固定钢丝切刀,山楂输送到送料盘中,并随其旋转,到一定角度时与钢丝切刀接触实现切割。机架底部设有电机,电机连接减速器,减速器上设有皮带轮,皮带轮通过同步带带动毛刷带轮和右侧链轮转动。
 
啮合齿轮有两对,所述啮合齿轮模数相同,且传动比为1,使链轮的转速与刀槽式送料盘的转速相等,刀槽式送料盘的送料槽与滚筒链式输送带同步啮合。
 
右侧链轮处设有可调挡板,可调挡板包括一平行板和弹簧锁紧螺母,可调挡板螺接在机架侧壁内壁上,右侧链轮与可调挡板留有间隙,通过弹簧锁紧螺母控制其间隙间距,可调挡板与两个滚筒之间形成的空间保持山楂原来的横向输送直接过渡到刀槽式送料盘中。
 
左侧链轮上设有张紧轴承,张紧轴承与传动链相互配合,右侧链轮配合有传动带轮,保持传动链张紧。
 
机架下方设有山楂片收集装置,刀槽式送料盘外缘设有送料盘挡板。
 
滚筒有多个,且等间距分布。
 
以上所述仅为本发明的较佳实施例,本领域普通技术人员在没有做出创造性劳动前提下所获得的所有其他实施例,都应当属于本发明保护的范围。
Copyright © 宁波鄞州盖奇同步带轮有限公司 2007-2022 All Rights Reserved.
电话:4006-574-123/0574-27834692 传真:0574-27834691
地址:浙江省宁波市鄞州区姜山镇蔡郎桥村姜南路39-2 E-Mail:sales@belt-pulley.com  
浙ICP备09102982号 盖奇公司网络部提供技术支持 浙公网安备33021202003319号