当前位置:首页->一种辊刷制备用钻孔设备

 一种辊刷制备用钻孔设备

 
【申请公布号:CN108835853A;申请权利人: 安徽省忆德工业刷制造有限公司;发明设计人: 储国强; 陈五二; 方园; 李兴庆; 】
 
摘要:
 
本发明涉及一种辊刷制备用钻孔设备,包括加工箱体、钻头、收集槽、丝杆、电动机、滚珠螺母副、第一电机、同步带、第一转轴、碾磨辊、第二转轴、主转辊、传动皮带、第二电机、从转辊、吊板和驱动室,收集槽设置在加工箱体内部下侧,电动机与丝杆固定连接,钻头与丝杆固定连接,丝杆位于滚珠螺母副内部,第一电机的输出端通过同步带与第一转轴相连接,两个碾磨辊分别安装于第一转轴和第二转轴上,该设计可将多余的木屑碾成木粉,便于收集,传动皮带包裹于主转辊和从转辊外表面,第二电机的输出端与主转辊相连接,驱动室焊接在吊板下端,该设计利用传动皮带进行钻头的位置移动,对辊轴表面进行钻孔操作。 
 
主权项:
 
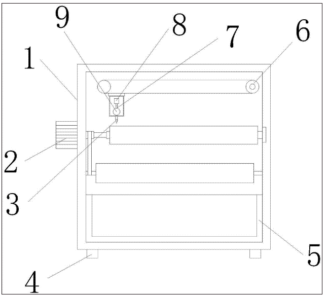
1.一种辊刷制备用钻孔设备,包括装置主体、碾粉机构(2)和移动钻孔机构(6),其特征在于:所述装置主体包括加工箱体(1)、钻头(3)、支脚(4)、收集槽(5)、丝杆(7)、电动机(8)、滚珠螺母副(9)和箱门(10),所述支脚(4)设置在加工箱体(1)下端面,所述收集槽(5)设置在加工箱体(1)内部下侧,所述箱门(10)铰接在加工箱体(1)前端面,所述电动机(8)与丝杆(7)固定连接,所述钻头(3)与丝杆(7)固定连接,所述丝杆(7)位于滚珠螺母副(9)内部;所述碾粉机构(2)设置在加工箱体(1)内部中间位置,所述碾粉机构(2)包括第一电机(21)、同步带(22)、第一转轴(24)、碾磨辊(26)和第二转轴(27),所述第一电机(21)位于加工箱体(1)左端面,所述第一转轴(24)和第二转轴(27)转动连接在加工箱体(1)内部中间位置,所述第一电机(21)的输出端通过同步带(22)与第一转轴(24)相连接,所述第一转轴(24)通过齿轮传动件与第二转轴(27)相连接,所述碾磨辊(26)设有两个,两个所述碾磨辊(26)分别安装于第一转轴(24)和第二转轴(27)上;所述移动钻孔机构(6)设置在加工箱体(1)内部上侧,所述移动钻孔机构(6)包括主转辊(61)、传动皮带(62)、第二电机(63)、从转辊(64)、吊板(65)和驱动室(67),所述主转辊(61)和从转辊(64)均转动连接在加工箱体(1)内部上侧,所述传动皮带(62)包裹于主转辊(61)和从转辊(64)外表面,所述第二电机(63)的输出端与主转辊(61)相连接,所述吊板(65)设置在传动皮带(62)外表面下侧,所述驱动室(67)焊接在吊板(65)下端。 
 
要求:
 
1.一种辊刷制备用钻孔设备,包括装置主体、碾粉机构(2)和移动钻孔机构(6),其特征在于:所述装置主体包括加工箱体(1)、钻头(3)、支脚(4)、收集槽(5)、丝杆(7)、电动机(8)、滚珠螺母副(9)和箱门(10),所述支脚(4)设置在加工箱体(1)下端面,所述收集槽(5)设置在加工箱体(1)内部下侧,所述箱门(10)铰接在加工箱体(1)前端面,所述电动机(8)与丝杆(7)固定连接,所述钻头(3)与丝杆(7)固定连接,所述丝杆(7)位于滚珠螺母副(9)内部;
 
所述碾粉机构(2)设置在加工箱体(1)内部中间位置,所述碾粉机构(2)包括第一电机(21)、同步带(22)、第一转轴(24)、碾磨辊(26)和第二转轴(27),所述第一电机(21)位于加工箱体(1)左端面,所述第一转轴(24)和第二转轴(27)转动连接在加工箱体(1)内部中间位置,所述第一电机(21)的输出端通过同步带(22)与第一转轴(24)相连接,所述第一转轴(24)通过齿轮传动件与第二转轴(27)相连接,所述碾磨辊(26)设有两个,两个所述碾磨辊(26)分别安装于第一转轴(24)和第二转轴(27)上;
 
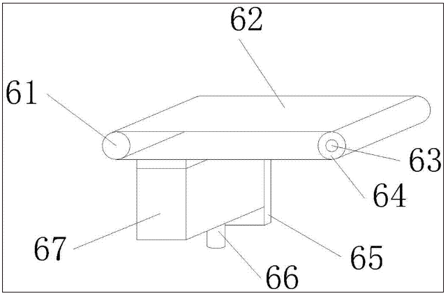
所述移动钻孔机构(6)设置在加工箱体(1)内部上侧,所述移动钻孔机构(6)包括主转辊(61)、传动皮带(62)、第二电机(63)、从转辊(64)、吊板(65)和驱动室(67),所述主转辊(61)和从转辊(64)均转动连接在加工箱体(1)内部上侧,所述传动皮带(62)包裹于主转辊(61)和从转辊(64)外表面,所述第二电机(63)的输出端与主转辊(61)相连接,所述吊板(65)设置在传动皮带(62)外表面下侧,所述驱动室(67)焊接在吊板(65)下端。
 
2.根据权利要求1所述的一种辊刷制备用钻孔设备,其特征在于:所述支脚(4)设有四个,四个所述支脚(4)分别设置在加工箱体(1)下端面四个棱角处。
 
3.根据权利要求1所述的一种辊刷制备用钻孔设备,其特征在于:所述齿轮传动件由主齿轮(25)和从齿轮(23)组成,主齿轮(25)安装于第二转轴(27)上,从齿轮(23)安装于第一转轴(24)上,且主齿轮(25)和从齿轮(23)相啮合。
 
4.根据权利要求1所述的一种辊刷制备用钻孔设备,其特征在于:所述电动机(8)的输出端通过联轴器与刷辊可拆卸式固定连接,且刷辊可拆卸式转动连接在加工箱体(1)内部。
 
5.根据权利要求1所述的一种辊刷制备用钻孔设备,其特征在于:所述驱动室(67)下端设置有导柱(66),且所述钻头(3)位于穿过导柱(66)内部。
 
6.根据权利要求1所述的一种辊刷制备用钻孔设备,其特征在于:所述箱门(10)前端面右侧中间位置设置有把手。
 
一种辊刷制备用钻孔设备
技术领域
 
本发明涉及辊刷制备设备领域,具体为一种辊刷制备用钻孔设备。
 
背景技术
 
刷子,一般指用毛、棕、塑料丝、金属丝等制成的清除脏物或涂抹膏油等用具一般为长型或椭圆形有的带有柄。刷子也称为毛刷刷子按其使用的领域分为工业刷和民用刷。
 
辊刷属于刷子的一种,传统的辊刷是在辊轴外表面钻孔,并将刷丝匝束后,栽入孔内部,但传统的钻孔设备效率低,效果差,且多余的木屑会散落,难以清理,不够环保,综上所述,现急需一种辊刷制备用钻孔设备来解决上述出现的问题。
 
发明内容
 
本发明目的是提供一种辊刷制备用钻孔设备,以解决上述背景技术中提出的传统的辊刷是在辊轴外表面钻孔,并将刷丝匝束后,栽入孔内部,但传统的钻孔设备效率低,效果差,且多余的木屑会散落,难以清理,不够环保的问题。
 
为实现上述目的,本发明提供如下技术方案:一种辊刷制备用钻孔设备,包括装置主体、碾粉机构和移动钻孔机构,所述装置主体包括加工箱体、钻头、支脚、收集槽、丝杆、电动机、滚珠螺母副和箱门,所述支脚设置在加工箱体下端面,所述收集槽设置在加工箱体内部下侧,所述箱门铰接在加工箱体前端面,所述电动机与丝杆固定连接,所述钻头与丝杆固定连接,所述丝杆位于滚珠螺母副内部,所述碾粉机构设置在加工箱体内部中间位置,所述碾粉机构包括第一电机、同步带、第一转轴、碾磨辊和第二转轴,所述第一电机位于加工箱体左端面,所述第一转轴和第二转轴转动连接在加工箱体内部中间位置,所述第一电机的输出端通过同步带与第一转轴相连接,所述第一转轴通过齿轮传动件与第二转轴相连接,所述碾磨辊设有两个,两个所述碾磨辊分别安装于第一转轴和第二转轴上,所述移动钻孔机构设置在加工箱体内部上侧,所述移动钻孔机构包括主转辊、传动皮带、第二电机、从转辊、吊板和驱动室,所述主转辊和从转辊均转动连接在加工箱体内部上侧,所述传动皮带包裹于主转辊和从转辊外表面,所述第二电机的输出端与主转辊相连接,所述吊板设置在传动皮带外表面下侧,所述驱动室焊接在吊板下端。
 
进一步地,所述支脚设有四个,四个所述支脚分别设置在加工箱体下端面四个棱角处。
 
进一步地,所述齿轮传动件由主齿轮和从齿轮组成,主齿轮安装于第二转轴上,从齿轮安装于第一转轴上,且主齿轮和从齿轮相啮合。
 
进一步地,所述电动机的输出端通过联轴器与刷辊可拆卸式固定连接,且刷辊可拆卸式转动连接在加工箱体内部。
 
进一步地,所述驱动室下端设置有导柱,且所述钻头位于穿过导柱内部。
 
进一步地,所述箱门前端面右侧中间位置设置有把手。
 
与现有技术相比,本发明的有益效果是:因本发明添加了第一电机、同步带、第一转轴、碾磨辊和第二转轴,该设计可将多余的木屑碾成木粉,便于收集;因本发明添加了主转辊、传动皮带、第二电机、从转辊、吊板和驱动室,该设计利用传动皮带进行钻头的位置移动,对辊轴表面进行钻孔操作。
 
附图说明
 
一种辊刷制备用钻孔设备
图1为本发明的内部结构示意图;
 
一种辊刷制备用钻孔设备
图2为本发明中的整体结构示意图;
 
一种辊刷制备用钻孔设备
图3为本发明中碾粉机构的结构示意图;
 
一种辊刷制备用钻孔设备
图4为本发明中移动钻孔机构的结构示意图。
 
附图标记中:1.加工箱体;2.碾粉机构;3.钻头;4.支脚;5.收集槽;6.移动钻孔机构;7.丝杆;8.电动机;9.滚珠螺母副;10.箱门;21.第一电机;22.同步带;23.从齿轮;24.第一转轴;25.主齿轮;26.碾磨辊;27.第二转轴;61.主转辊;62.传动皮带;63.第二电机;64.从转辊;65.吊板;66.导柱;67.驱动室。
 
具体实施方式
 
下面将结合本发明实施例中的附图,对本发明实施例中的技术方案进行清楚、完整地描述,显然,所描述的实施例仅仅是本发明一部分实施例,而不是全部的实施例。基于本发明中的实施例,本领域普通技术人员在没有做出创造性劳动前提下所获得的所有其它实施例,都属于本发明保护的范围。
 
请参阅图1-4,本发明提供一种技术方案:一种辊刷制备用钻孔设备,包括装置主体、碾粉机构2和移动钻孔机构6,装置主体包括加工箱体1、钻头3、支脚4、收集槽5、丝杆7、电动机8、滚珠螺母副9和箱门10,支脚4设置在加工箱体1下端面,收集槽5设置在加工箱体1内部下侧,箱门10铰接在加工箱体1前端面,电动机8与丝杆7固定连接,钻头3与丝杆7固定连接,丝杆7位于滚珠螺母副9内部。
 
碾粉机构2设置在加工箱体1内部中间位置,碾粉机构2包括第一电机21、同步带22、第一转轴24、碾磨辊26和第二转轴27,第一电机21位于加工箱体1左端面,第一转轴24和第二转轴27转动连接在加工箱体1内部中间位置,第一电机21的输出端通过同步带22与第一转轴24相连接,第一转轴24通过齿轮传动件与第二转轴27相连接,碾磨辊26设有两个,两个碾磨辊26分别安装于第一转轴24和第二转轴27上,该设计可将多余的木屑碾成木粉,便于收集。
 
移动钻孔机构6设置在加工箱体1内部上侧,移动钻孔机构6包括主转辊61、传动皮带62、第二电机63、从转辊64、吊板65和驱动室67,主转辊61和从转辊64均转动连接在加工箱体1内部上侧,传动皮带62包裹于主转辊61和从转辊64外表面,第二电机63的输出端与主转辊61相连接,吊板65设置在传动皮带62外表面下侧,驱动室67焊接在吊板65下端,该设计利用传动皮带62进行钻头3的位置移动,对刷辊表面进行钻孔操作。
 
支脚4设有四个,四个支脚4分别设置在加工箱体1下端面四个棱角处,齿轮传动件由主齿轮25和从齿轮23组成,主齿轮25安装于第二转轴27上,从齿轮23安装于第一转轴24上,且主齿轮25和从齿轮23相啮合,电动机8的输出端通过联轴器与刷辊可拆卸式固定连接,且刷辊可拆卸式转动连接在加工箱体1内部,驱动室67下端设置有导柱66,且钻头3位于穿过导柱66内部,箱门10前端面右侧中间位置设置有把手。
 
本发明在工作时:打开箱门10,将刷辊通过联轴器与电动机8的输出端可拆卸式连接,运行电动机8,电动机8的输出端转动带动丝杆7转动,丝杆7在滚珠螺母副9内转动,并向下移动,丝杆7推动钻头3向下移动,并对刷辊进行钻孔操作后,反向运行电动机8,钻头3向上移动,运行第二电机63,第二电机63的输出端转动带动主转辊61转动,主转辊61通过传动皮带62带动从转辊64转动,传动皮带62通过吊板65带动驱动室67左右移动,驱动室67带动钻头3左右移动至下一个钻孔工位,继续进行钻孔,当横向的位置钻孔完毕后,运行电动机8,电动机8的输出端转动带动刷辊转动至下个横向钻孔工位,在转动的过程中,电动机8的输出端通过同步带22带动第一转轴24转动,第一转轴24通过齿轮传动件带动第二转轴27转动,第一转轴24和第二转轴27带动碾磨辊26做相向转动,钻孔残留的木屑掉落至碾磨辊26上,碾磨辊26将木屑碾磨成粉后,向下落入收集槽5内部,进行收集,由此往复,钻孔操作完毕后,打开箱门10,将下一个刷辊安装于加工箱体1内部,继续进行钻孔操作,并将收集槽5内部的木粉取出,并清洁,从而解决了传统的辊刷是在刷辊外表面钻孔,并将刷丝匝束后,栽入孔内部,但传统的钻孔设备效率低,效果差,且多余的木屑会散落,难以清理,不够环保的问题。
 
以上显示和描述了本发明的基本原理和主要特征和本发明的优点,对于本领域技术人员而言,显然本发明不限于上述示范性实施例的细节,而且在不背离本发明的精神或基本特征的情况下,能够以其他的具体形式实现本发明。因此,无论从哪一点来看,均应将实施例看作是示范性的,而且是非限制性的,本发明的范围由所附权利要求而不是上述说明限定,因此旨在将落在权利要求的等同要件的含义和范围内的所有变化囊括在本发明内。不应将权利要求中的任何附图标记视为限制所涉及的权利要求。
 
尽管已经示出和描述了本发明的实施例,对于本领域的普通技术人员而言,可以理解在不脱离本发明的原理和精神的情况下可以对这些实施例进行多种变化、修改、替换和变型,本发明的范围由所附权利要求及其等同物限定。
 
Copyright © 宁波鄞州盖奇同步带轮有限公司 2007-2022 All Rights Reserved.
电话:4006-574-123/0574-27834692 传真:0574-27834691
地址:浙江省宁波市鄞州区姜山镇蔡郎桥村姜南路39-2 E-Mail:sales@belt-pulley.com  
浙ICP备09102982号 盖奇公司网络部提供技术支持 浙公网安备33021202003319号