当前位置:首页->一种多功能钢轨打磨试验装置

 一种多功能钢轨打磨试验装置

 
【申请公布号:CN108871836A;申请权利人:  西南交通大学; 发明设计人: 樊小强; 章武林; 张鹏飞; 贺继樊; 朱旻昊;】
 
摘要:
 
本发明公开了一种多功能钢轨打磨试验装置,包括车床主轴、工作台、作动装置、空压机、砂轮试样和安装在车床电机箱里的变频电机,变频电机的输出轴安装有同步带轮,并通过同步带与车床主轴的同步带轮连接,车床主轴通过车床主轴箱固定且另一端安装有三爪卡盘,三爪卡盘的外表面活动连接有盘状钢轨工件和钢轨打磨砂轮,且盘状钢轨工件中心轴的另一端活动连接有车床尾座,车床尾座的底部固定连接有床身,工作台通过螺栓与溜板箱相连接。本发明能模拟不同的钢轨打磨方式,并能开展不同打磨压力、转速、砂轮参数的打磨试验,为探索钢轨打磨机理提供了便利,也为现场钢轨打磨提供一定的理论基础,以及为磨石的研制提供理论指导。 
 
主权项:
 
1.一种多功能钢轨打磨试验装置,包括车床主轴(4)、工作台(8)、作动装置(11)、空压机(12)、砂轮试样(19)和安装在车床电机箱里的变频电机(1),其特征在于:所述变频电机(1)的输出轴安装有同步带轮(3),并通过同步带(2)与车床主轴(4)的同步带轮(3)连接,车床主轴(4)通过车床主轴箱(5)固定且另一端安装有三爪卡盘(6),三爪卡盘(6)的外表面活动连接有盘状钢轨工件(7)和钢轨打磨砂轮(15),且盘状钢轨工件(7)中心轴的另一端活动连接有车床尾座(9),车床尾座(9)的底部固定连接有床身(10),所述工作台(8)通过螺栓与溜板箱(14)相连接,工作台(8)的右侧活动连接有工作台拼块(16),且作动装置(11)安装在工作台(8)与工作台拼板(16)组成的台面上,且中轴线垂直于钢轨打磨砂轮(15)的端面,作动装置(11)通过钢轨试样夹具(18)活动连接有销状钢轨试样(17),所述空压机(12)为作动装置(11)提供气源,且与空压机(12)相连的电磁阀(13)控制气流的通断。 
 
要求:
 
1.一种多功能钢轨打磨试验装置,包括车床主轴(4)、工作台(8)、作动装置(11)、空压机(12)、砂轮试样(19)和安装在车床电机箱里的变频电机(1),其特征在于:所述变频电机(1)的输出轴安装有同步带轮(3),并通过同步带(2)与车床主轴(4)的同步带轮(3)连接,车床主轴(4)通过车床主轴箱(5)固定且另一端安装有三爪卡盘(6),三爪卡盘(6)的外表面活动连接有盘状钢轨工件(7)和钢轨打磨砂轮(15),且盘状钢轨工件(7)中心轴的另一端活动连接有车床尾座(9),车床尾座(9)的底部固定连接有床身(10),所述工作台(8)通过螺栓与溜板箱(14)相连接,工作台(8)的右侧活动连接有工作台拼块(16),且作动装置(11)安装在工作台(8)与工作台拼板(16)组成的台面上,且中轴线垂直于钢轨打磨砂轮(15)的端面,作动装置(11)通过钢轨试样夹具(18)活动连接有销状钢轨试样(17),所述空压机(12)为作动装置(11)提供气源,且与空压机(12)相连的电磁阀(13)控制气流的通断。
 
2.根据权利要求1所述的一种多功能钢轨打磨试验装置,其特征在于:所述盘状钢轨工件(7)为从钢坯中截取整块材料,加工完成之后再进行与钢轨热处理工艺相同的措施进行处理,力求盘状钢轨工件(7)达到与钢轨一致的机械性能和微观组织。
 
3.根据权利要求1所述的一种多功能钢轨打磨试验装置,其特征在于:所述变频电机(1)高速旋转并带动车床主轴(4)旋转,电磁阀(13)通电后作动装置(11)将砂轮试样(19)以一定的压力贴合在高速旋转的盘状钢轨工件(7)上,且砂轮试样(19)通过螺丝活动连接有砂轮试样夹具(20)。
 
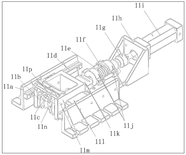
4.根据权利要求1所述的一种多功能钢轨打磨试验装置,其特征在于:所述作动装置(11)具体组成为:空压机(12)依次与气源三联件(22)和电磁阀(13)相连,且电磁阀(13)的出气口与调压阀(21)相连,电磁阀(13)出来的进气、出气PU管分别与气缸(11i)的进气口、出气口相连,气缸(11i)通过螺栓安装在气缸安装板(11h)上,气缸安装板(11h)通过螺栓固定在工作台(8)上,且气缸(11i)的活塞推杆依次与浮动接头(11g)、等高螺栓(11e)、弹簧端盖(11j)、减震弹簧(11f)和压力传感器(11k)相连,压力传感器(11k)通过螺栓活动连接有U形块(11m),U形块(11m)两侧依次活动连接有滑块(11l)、导轨(11d)和支撑肋板(11a),且支撑肋板(11a)通过螺栓固定在工作台(8)上,U形块(11m)的内侧依次活动连接有交叉滚子滑台(11b)和试样装夹块(11n),且试样装夹块(11n)的中间留有螺纹孔用以安装钢轨试样夹具(18),试样装夹块(11n)上端连接有膜盒传感器(11c),膜盒传感器(11c)的上端与传感器的横梁(11p)相连,且横梁(11p)与U形块(11m)通过螺栓连接。
 
5.根据权利要求1所述的一种多功能钢轨打磨试验装置,其特征在于:所述变频电机(1)和电磁阀(13)均与控制系统电性连接,压力传感器(11k)和膜盒传感器(11c)均与信号采集系统电性连接,且空压机(12)与配电箱电性连接。
 
6.根据权利要求1所述的一种多功能钢轨打磨试验装置,其特征在于:所述有两种打磨模式(A、B),且在两种打磨模式下,压力传感器(11k)可以检测打磨过程中打磨压力,膜盒传感器(11c)可以检测打磨过程中的磨削力。
 
一种多功能钢轨打磨试验装置
技术领域
 
本发明涉及砂轮磨削试验装置技术领域,具体为一种多功能钢轨打磨试验装置。
 
背景技术
 
钢轨是铁路系统的重要承载构件,在服役的过程中难免会产生波磨、磕伤、裂纹、肥边等诸多缺陷,目前线路上主要采用钢轨打磨列车对钢轨进行养护,钢轨打磨列车主要有传统的钢轨打磨列车以及被动高速钢轨打磨列车两种,传统的钢轨打磨列车是通过电机驱动砂轮高速旋转并利用液压装置对砂轮进行加载,与此同时打磨列车以一定的速度(最大18km/h)行驶,从而达到去除钢轨表面病害的目的,高速被动打磨车将砂轮的圆周面与钢轨以一定的载荷接触并使砂轮中心轴与钢轨长度方向保持一定的角度差(一般为45°或者135°),因此高速被动钢轨打磨列车高速(60~80km/h)行驶时砂轮在钢轨表面做非纯滚动旋转,从而利用砂轮与钢轨之间的速度差以达到打磨钢轨的目的,钢轨的定期打磨和维护,有利于提高列车运行的舒适性和安全性,同时在钢轨轨面裂纹萌生期就对钢轨进行打磨去除硬化层,可以有效延长钢轨的使用寿命,减少钢轨失效造成的经济损失。
 
我国钢轨打磨养护技术发展较晚,技术上相对落后,虽然我国在传统的主动式钢轨打磨列车技术上取得了很大的进步,但是对于钢轨打磨策略和方案等方面,仍然处于探索阶段,没有明确的行业标准来指导现场的钢轨打磨作业,同时,对于高速被动钢轨打磨技术,只被德国等极少数国家掌握,我国目前在这方面的技术积累非常少,还有一个不容忽视的事实,就是钢轨打磨列车配套的砂轮,我国目前都是大量依赖进口,原因是国内生产的砂轮性能参差不齐、磨削能力较弱、使用寿命短,所以有必要对钢轨打磨的磨削原理进行研究,对打磨参数(打磨压力、磨石转速、打磨速度等)、砂轮参数(磨料种类、磨料配比、磨料粒度、磨料浓度、结合剂强度、填料类型等)等进行探索,从而为现场打磨获得更高的磨削效率和更佳的钢轨表面质量提供理论依据,也为钢轨打磨砂轮的研制提理论指导。
 
目前,钢轨打磨试验可以在试验线路上进行现场试验,也可以在实验室的实验台上开展,虽然现场钢轨打磨试验结果最为可靠,但是现场钢轨打磨试验的成本较高、周期较长、打磨过程数据的采集也不方便,而对于实验室的试验设备,基本上都是针对单一打磨磨石设计,而且工件较大不利于后续分析,不便于进一步对磨削机理的分析以及砂轮性能的评价,为此,我们提出一种多功能钢轨打磨试验装置。
 
发明内容
 
本发明的目的在于提供一种多功能钢轨打磨试验装置,以解决上述背景技术中提出的问题。
 
为实现上述目的,本发明提供如下技术方案:一种多功能钢轨打磨试验装置,包括车床主轴、工作台、作动装置、空压机、砂轮试样和安装在车床电机箱里的变频电机,所述变频电机的输出轴安装有同步带轮,并通过同步带与车床主轴的同步带轮连接,车床主轴通过车床主轴箱固定且另一端安装有三爪卡盘,三爪卡盘的外表面活动连接有盘状钢轨工件和钢轨打磨砂轮,且盘状钢轨工件中心轴的另一端活动连接有车床尾座,车床尾座的底部固定连接有床身,所述工作台通过螺栓与溜板箱相连接,工作台的右侧活动连接有工作台拼块,且作动装置安装在工作台与工作台拼板组成的台面上,且中轴线垂直于钢轨打磨砂轮的端面,作动装置通过钢轨试样夹具活动连接有销状钢轨试样,所述空压机为作动装置提供气源,且与空压机相连的电磁阀控制气流的通断。
 
优选的,所述盘状钢轨工件为从钢坯中截取整块材料,加工完成之后再进行与钢轨热处理工艺相同的措施进行处理,力求盘状钢轨工件达到与钢轨一致的机械性能和微观组织。
 
优选的,所述变频电机高速旋转并带动车床主轴旋转,电磁阀通电后作动装置将砂轮试样以一定的压力贴合在高速旋转的盘状钢轨工件上,且砂轮试样通过螺丝活动连接有砂轮试样夹具。
 
优选的,所述作动装置具体组成为:空压机依次与气源三联件和电磁阀相连,且电磁阀的出气口与调压阀相连,电磁阀出来的进气、出气管分别与气缸的进气口、出气口相连,气缸通过螺栓安装在气缸安装板上,气缸安装板通过螺栓固定在工作台上,且气缸的活塞推杆依次与浮动接头、等高螺栓、弹簧端盖、减震弹簧和压力传感器相连,压力传感器通过螺栓活动连接有形块,形块两侧依次活动连接有滑块、导轨和支撑肋板,且支撑肋板通过螺栓固定在工作台上,形块的内侧依次活动连接有交叉滚子滑台和试样装夹块,且试样装夹块的中间留有螺纹孔用以安装钢轨试样夹具,试样装夹块上端连接有膜盒传感器,膜盒传感器的上端与传感器的横梁相连,且横梁与形块通过螺栓连接。
 
优选的,所述变频电机和电磁阀均与控制系统电性连接,压力传感器和膜盒传感器均与信号采集系统电性连接,且空压机与配电箱电性连接。
 
优选的,所述有两种打磨模式(A、B),且在两种打磨模式下,压力传感器可以检测打磨过程中打磨压力,膜盒传感器可以检测打磨过程中的磨削力。
 
与现有技术相比,本发明的有益效果如下:
 
本发明对废旧车床对进行改装,变废为宝,且车床结构厚重稳定,提高了试验的稳定性和可重复性,采用三爪卡盘对钢轨打磨砂轮以及盘状钢轨工件7进行装夹,使装夹、拆卸非常便利,节省了大量工作时间,同时其具有两种打磨模式:电机带动钢轨打磨砂轮高速旋转,转速最高可达3000r/min,该种模式模拟传统的钢轨主动打磨,电机带动盘状钢轨工件高速旋转,最高可以模拟100Km/h的打磨速度,该种模式模拟高速被动打磨过程,以上两种工作模式,为试验机探索钢轨打磨的磨削机制提供了便利,同时也为砂轮的研制和评价提供了思路,同时人们还可以开展不同转速、不同压力以及不同规格砂轮的试验,并且可以实时采集打磨过程中的打磨压力和磨削力,并在打磨试验之后,可以对砂轮和钢轨的表面状态进行分析,探索打磨过程中的磨削机理以及磨石的磨削性能。
 
附图说明
 
一种多功能钢轨打磨试验装置
图1为本发明高速打磨结构示意图;
 
一种多功能钢轨打磨试验装置
图2为本发明销盘式打磨结构示意图;
 
一种多功能钢轨打磨试验装置
图3为本发明作动装置结构示意图;
 
一种多功能钢轨打磨试验装置
图4为本发明销盘式打磨模式下钢轨试样及夹具示意图;
 
一种多功能钢轨打磨试验装置
图5为本发明高速打磨模式下砂轮试样及夹具示意图;
 
一种多功能钢轨打磨试验装置
图6为本发明销盘式打磨模式下采集到的正压力和摩擦力与打磨时间的关系图。
 
图中:1变频电机、2同步带、3同步带轮、4车床主轴、5车床主轴箱、6三爪卡盘、7盘状钢轨工件、8工作台、9车床尾座、10床身、11作动装置、11a支撑肋板、11b交叉滚子滑台、11c膜盒传感器、11d导轨、11e等高螺栓、11f减震弹簧、11g浮动接头、11h气缸安装板、11i气缸、11j弹簧端盖、11k压力传感器、11l滑块、11m U形块、11n试样装夹块、11p横梁、12空压机、13电磁阀、14溜板箱、15钢轨打磨砂轮、16工作台拼块、17销状钢轨试样、18钢轨试样夹具、19砂轮试样、20砂轮试样夹具、21调压阀、22气源三联件。
 
具体实施方式
 
下面将结合本发明实施例中的附图,对本发明实施例中的技术方案进行清楚、完整地描述,显然,所描述的实施例仅仅是本发明一部分实施例,而不是全部的实施例。基于本发明中的实施例,本领域普通技术人员在没有做出创造性劳动前提下所获得的所有其他实施例,都属于本发明保护的范围。
 
实施例一:
 
请参阅图1、图3和图5,一种多功能钢轨打磨试验装置,包括车床主轴4、工作台8、作动装置11、空压机12、砂轮试样19和安装在车床电机箱里的变频电机1,所述变频电机1的输出轴安装有同步带轮3,并通过同步带2与车床主轴4的同步带轮3连接,车床主轴4通过车床主轴箱5固定且另一端安装有三爪卡盘6,三爪卡盘6的外表面活动连接有盘状钢轨工件7和钢轨打磨砂轮15,盘状钢轨工件7为从钢坯中截取整块材料,加工完成之后再进行与钢轨热处理工艺相同的措施进行处理,力求盘状钢轨工件7达到与钢轨一致的机械性能和微观组织,且盘状钢轨工件7中心轴的另一端活动连接有车床尾座9,车床尾座9的底部固定连接有床身10,所述工作台8通过螺栓与溜板箱14相连接,工作台8的右侧活动连接有工作台拼块16,且作动装置11安装在工作台8与工作台拼板16组成的台面上,且中轴线垂直于钢轨打磨砂轮15的端面,作动装置11通过钢轨试样夹具18活动连接有销状钢轨试样17,所述空压机12为作动装置11提供气源,且与空压机12相连的电磁阀13控制气流的通断,变频电机1高速旋转并带动车床主轴4旋转,电磁阀13通电后作动装置11将砂轮试样19以一定的压力贴合在高速旋转的盘状钢轨工件7上,且砂轮试样19通过螺丝活动连接有砂轮试样夹具20,作动装置11具体组成为:空压机12依次与气源三联件22和电磁阀13相连,且电磁阀13的出气口与调压阀21相连,电磁阀13出来的进气、出气PU管分别与气缸11i的进气口、出气口相连,气缸11i通过螺栓安装在气缸安装板11h上,气缸安装板11h通过螺栓固定在工作台8上,且气缸11i的活塞推杆依次与浮动接头11g、等高螺栓11e、弹簧端盖11j、减震弹簧11f和压力传感器11k相连,压力传感器11k通过螺栓活动连接有U形块11m,U形块11m两侧依次活动连接有滑块11l、导轨11d和支撑肋板11a,且支撑肋板11a通过螺栓固定在工作台8上,U形块11m的内侧依次活动连接有交叉滚子滑台11b和试样装夹块11n,且试样装夹块11n的中间留有螺纹孔用以安装钢轨试样夹具18,试样装夹块11n上端连接有膜盒传感器11c,膜盒传感器11c的上端与传感器的横梁11p相连,且横梁11p与U形块11m通过螺栓连接,变频电机1和电磁阀13均与控制系统电性连接,压力传感器11k和膜盒传感器11c均与信号采集系统电性连接,且空压机12与配电箱电性连接,在A种打磨模式下:将盘状钢轨工件7的中心轴利用三爪卡盘6进行装夹,将溜板箱14移动到车床最左边并与盘状钢轨工件7保持一定的间隙,然后通过溜板箱14自带的摇杆将溜板箱14位置固定,将车床尾座9推到最左端并将回转顶尖摇出顶在盘状钢轨工件7中心轴的另一侧,并通过车床尾座9的摇杆将车床尾座9及顶尖的位置固定,将作动装置11移到垂直于盘状钢轨工件7的中心轴的方向并使其中轴线与盘状钢轨工件7对齐,将砂轮试样夹具20带螺纹的一端拧进试样装夹块的中心孔,然后将砂轮试样19固定在砂轮试样夹具20中,按下空压机12的开关,使空压机12提前运转,保证气量充足,随后按下电磁阀13的触发开关,使气缸11i的推杆伸出,通过调压阀21调节气缸11i的输出压力,调节好之后断开电磁阀13开关,使气缸11i的推杆缩回,接着通过变频电机1的控制系统使车床主轴4按指定的速度运转,转速稳定后,按下电磁阀13的触发开关,气缸11i的推杆伸出并使砂轮试样19与高速旋转的盘状钢轨工件7接触并开始打磨,达到指定的打磨时间之后断开电磁阀13的触发开关,使气缸11i的推杆缩回,打磨结束,然后通过变频电机1的控制系统使变频电机1缓慢停机,在此过程中,压力传感器11k可以检测打磨过程中打磨压力,膜盒传感器11c可以检测打磨过程中的磨削力。
 
实施例二:
 
请参阅图2、图3和图4,一种多功能钢轨打磨试验装置,包括车床主轴4、工作台8、作动装置11、空压机12、砂轮试样19和安装在车床电机箱里的变频电机1,所述变频电机1的输出轴安装有同步带轮3,并通过同步带2与车床主轴4的同步带轮3连接,车床主轴4通过车床主轴箱5固定且另一端安装有三爪卡盘6,三爪卡盘6的外表面活动连接有盘状钢轨工件7和钢轨打磨砂轮15,盘状钢轨工件7为从钢坯中截取整块材料,加工完成之后再进行与钢轨热处理工艺相同的措施进行处理,力求盘状钢轨工件7达到与钢轨一致的机械性能和微观组织,且盘状钢轨工件7中心轴的另一端活动连接有车床尾座9,车床尾座9的底部固定连接有床身10,所述工作台8通过螺栓与溜板箱14相连接,工作台8的右侧活动连接有工作台拼块16,且作动装置11安装在工作台8与工作台拼板16组成的台面上,且中轴线垂直于钢轨打磨砂轮15的端面,作动装置11通过钢轨试样夹具18活动连接有销状钢轨试样17,所述空压机12为作动装置11提供气源,且与空压机12相连的电磁阀13控制气流的通断,变频电机1高速旋转并带动车床主轴4旋转,电磁阀13通电后作动装置11将砂轮试样19以一定的压力贴合在高速旋转的盘状钢轨工件7上,且砂轮试样19通过螺丝活动连接有砂轮试样夹具20,作动装置11具体组成为:空压机12依次与气源三联件22和电磁阀13相连,且电磁阀13的出气口与调压阀21相连,电磁阀13出来的进气、出气PU管分别与气缸11i的进气口、出气口相连,气缸11i通过螺栓安装在气缸安装板11h上,气缸安装板11h通过螺栓固定在工作台8上,且气缸11i的活塞推杆依次与浮动接头11g、等高螺栓11e、弹簧端盖11j、减震弹簧11f和压力传感器11k相连,压力传感器11k通过螺栓活动连接有U形块11m,U形块11m两侧依次活动连接有滑块11l、导轨11d和支撑肋板11a,且支撑肋板11a通过螺栓固定在工作台8上,U形块11m的内侧依次活动连接有交叉滚子滑台11b和试样装夹块11n,且试样装夹块11n的中间留有螺纹孔用以安装钢轨试样夹具18,试样装夹块11n上端连接有膜盒传感器11c,膜盒传感器11c的上端与传感器的横梁11p相连,且横梁11p与U形块11m通过螺栓连接,变频电机1和电磁阀13均与控制系统电性连接,压力传感器11k和膜盒传感器11c均与信号采集系统电性连接,且空压机12与配电箱电性连接,在B种打磨模式下:利用三爪卡盘6对钢轨打磨砂轮15进行装夹,将溜板箱14移动到车床最左边并为三爪卡盘6预留足够的回转空间,然后通过溜板箱14自带的摇杆将溜板箱14位置固定,将车床尾座9推到最右端,并通过车床尾座9的摇杆将车床尾座9固定,将作动装置11移到垂直于钢轨打磨砂轮15端面的位置,将钢轨试样夹具18安装在试样装夹块上,然后将销状钢轨试样17安装在钢轨试样夹具18中,按下空压机12的开关,使空压机12提前运转,保证气量充足,随后按下电磁阀13的触发开关,使气缸11i的推杆伸出,通过调压阀21调节气缸11i的输出压力,调节好之后断开电磁阀13的开关,使气缸11i的推杆缩回,接着通过变频电机1的控制系统使车床主轴4按指定的速度运转,转速稳定后,然后按下电磁阀13的触发开关,使气缸11i的推杆伸出并使砂轮试样19与高速旋转的盘状钢轨工件7接触并开始打磨,达到指定的打磨时间之后断开电磁阀13的触发开关,使气缸11i的推杆缩回,打磨结束,最后通过变频电机1的控制系统使变频电机1缓慢停机,在此过程中,压力传感器11k可以检测打磨过程中打磨压力,膜盒传感器11c可以检测打磨过程中的磨削力。
 
使用时,对废旧车床对进行改装,变废为宝,且车床结构厚重稳定,提高了试验的稳定性和可重复性,采用三爪卡盘6对钢轨打磨砂轮15以及盘状钢轨工件7进行装夹,使装夹、拆卸非常便利,节省了大量工作时间,同时其具有两种打磨模式:电机带动钢轨打磨砂轮高速旋转,转速最高可达3000r/min,该种模式模拟传统的钢轨主动打磨,电机带动盘状钢轨工件高速旋转,最高可以模拟100Km/h的打磨速度,该种模式模拟高速被动打磨过程,以上两种工作模式,为试验机探索钢轨打磨的磨削机制提供了便利,同时也为砂轮的研制和评价提供了思路,同时人们还可以开展不同转速、不同压力以及不同规格砂轮的试验,并且可以实时采集打磨过程中的打磨压力和磨削力,并在打磨试验之后,可以对砂轮和钢轨的表面状态进行分析,探索打磨过程中的磨削机理以及磨石的磨削性能。
 
尽管已经示出和描述了本发明的实施例,对于本领域的普通技术人员而言,可以理解在不脱离本发明的原理和精神的情况下可以对这些实施例进行多种变化、修改、替换和变型,本发明的范围由所附权利要求及其等同物限定。
Copyright © 宁波鄞州盖奇同步带轮有限公司 2007-2022 All Rights Reserved.
电话:4006-574-123/0574-27834692 传真:0574-27834691
地址:浙江省宁波市鄞州区姜山镇蔡郎桥村姜南路39-2 E-Mail:sales@belt-pulley.com  
浙ICP备09102982号 盖奇公司网络部提供技术支持 浙公网安备33021202003319号