当前位置:首页->铜线牵引装置

 铜线牵引装置

 
【申请公布号:CN108889883A;申请权利人:巨力自动化设备(浙江)有限公司;发明设计人:章日平; 廖旺生;】
 
摘要:
 
本发明公开了一种铜线牵引装置,包括两平行设置的固定板,固定板上均转动连接有丝杆二,丝杆二上设有丝杆螺母二,丝杆螺母二上固定连接有移动台二,移动台二上设有支撑架,支撑架上设有气缸四,气缸四的伸缩杆上设有压块二,压块二位于所述气缸四正下方,所述丝杆二的一端部还设有同步带轮三,所述固定板上还设有电机二,电机二的输出轴上设有同步带轮四,同步带轮四与所述同步带轮三通过同步带二传动连接。本发明通过设置两个对向的牵引机构,每个均设有气缸进行对输送中铜线的夹紧作用,并由气缸下方移动台的交替运动,以及结合气缸的交替夹紧,实现铜线的连续输送,输送中不停顿,牵引速度快,整体功能完善,实用性强。 
 
主权项:
 
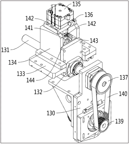
1.铜线牵引装置,其特征在于:包括两平行设置的固定板(130),固定板(130)上均转动连接有丝杆二(131),丝杆二(131)上设有丝杆螺母二(132),丝杆螺母二(132)上固定连接有移动台二(133),移动台二(133)上设有支撑架(134),支撑架(134)上设有气缸四(135),气缸四(135)的伸缩杆上设有压块二(136),压块二(136)位于所述气缸四(135)正下方,所述丝杆二(131)的一端部还设有同步带轮三(137),所述固定板(130)上还设有电机二(138),电机二(138)的输出轴上设有同步带轮四(139),同步带轮四(139)与所述同步带轮三(137)通过同步带二(140)传动连接。 
 
要求:
 
1.铜线牵引装置,其特征在于:包括两平行设置的固定板(130),固定板(130)上均转动连接有丝杆二(131),丝杆二(131)上设有丝杆螺母二(132),丝杆螺母二(132)上固定连接有移动台二(133),移动台二(133)上设有支撑架(134),支撑架(134)上设有气缸四(135),气缸四(135)的伸缩杆上设有压块二(136),压块二(136)位于所述气缸四(135)正下方,所述丝杆二(131)的一端部还设有同步带轮三(137),所述固定板(130)上还设有电机二(138),电机二(138)的输出轴上设有同步带轮四(139),同步带轮四(139)与所述同步带轮三(137)通过同步带二(140)传动连接。
 
2.根据权利要求1所述的铜线牵引装置,其特征在于:所述压块二(136)下方设有固接在支撑架(134)上的铜线输送板二(141),铜线输送板二(141)上设有导向轮组二,导向轮组二包括左右两个导向轮三(142),导向轮三(142)转动连接在所述铜线输送板二(141)上。
 
3.根据权利要求2所述的铜线牵引装置,其特征在于:所述铜线输送板二(141)的两侧设有压轮支架(143),压轮支架(143)上转动连接有设于所述导向轮三(142)上方的上压轮二(144)。
 
4.根据权利要求1-3任一项所述的铜线牵引装置,其特征在于:所述两丝杆二(131)设于两固定板(130)之间,且处于同一轴线上。
 
铜线牵引装置
技术领域
 
本发明涉及铜线成型技术领域,更具体地说,它涉及一种铜线牵引装置。
 
背景技术
 
铜线从缠绕在铜线卷线轴上被放卷,经后续裁剪、挤压成型制作成相应形状。从铜线卷线轴上被放卷出来的铜线需要对其进行拽拉,给予铜线一定的牵引力,使得铜线在轨道上平稳输送,但现有牵引机构由一个气缸进行固定夹紧,通过气缸压紧铜线,再由下方丝杆副实现拽拉,但这样的操作只能实现间断性的铜线牵引,牵引速度慢,铜线中途会间断性停止输送,整体效果不佳。据此,本发明提出了一种铜线牵引装置。
 
发明内容
 
本发明的目的在于克服上述现有技术中的不足,提供一种铜线牵引装置,该牵引装置具有铜线连续输送,牵引速度快,输送平稳的特点。
 
为解决上述技术问题,本发明的目的是这样实现的:本发明所涉及的一种铜线牵引装置,包括两平行设置的固定板,固定板上均转动连接有丝杆二,丝杆二上设有丝杆螺母二,丝杆螺母二上固定连接有移动台二,移动台二上设有支撑架,支撑架上设有气缸四,气缸四的伸缩杆上设有压块二,压块二位于所述气缸四正下方,所述丝杆二的一端部还设有同步带轮三,所述固定板上还设有电机二,电机二的输出轴上设有同步带轮四,同步带轮四与所述同步带轮三通过同步带二传动连接。
 
本发明进一步设置为:所述压块二下方设有固接在支撑架上的铜线输送板二,铜线输送板二上设有导向轮组二,导向轮组二包括左右两个导向轮三,导向轮三转动连接在所述铜线输送板二上。
 
本发明进一步设置为:所述铜线输送板二的两侧设有压轮支架,压轮支架上转动连接有设于所述导向轮三上方的上压轮二。
 
本发明进一步设置为:所述两丝杆二设于两固定板之间,且处于同一轴线上。
 
综上所述,本发明具有以下有益效果:本发明所涉及的铜线牵引装置,通过设置两个对向的牵引机构,每个均设有气缸进行对输送中铜线的夹紧作用,并由气缸下方移动台的交替运动,以及结合气缸的交替夹紧,实现铜线的连续输送,输送中不停顿,牵引速度快;通过铜线输送板上设置导向轮,起到对输送中铜线的辅助传输及平稳运行的作用,还结合两侧的上压轮,更加有助于铜线的平稳输送,整体功能完善,实用性强。
 
附图说明
 
铜线牵引装置
图1是本发明的结构示意图;
 
铜线牵引装置
图2是本发明用于体现同步带轮三、同步带轮四及同步带二的结构示意图;
 
铜线牵引装置
图3是本发明用于体现铜线输送板二、导向轮三及压轮二的结构示意图;
 
附图标记说明:130、固定板;131、丝杆二;132、丝杆螺母二;133、移动台二;134、支撑架;135、气缸四;136、压块二;137、同步带轮三;138、电机二;139、同步带轮四;140、同步带二;141、铜线输送板二;142、导向轮三;143、压轮支架;144、上压轮二。
 
具体实施方式
 
下面结合附图和优选实施例对本发明进一步说明。
 
参见图1至3所示,本实施例所涉及的一种铜线牵引装置,包括两平行设置的固定板130,固定板130上均转动连接有丝杆二131,丝杆二131上设有丝杆螺母二132,丝杆螺母二132上固定连接有移动台二133,移动台二133上设有支撑架134,支撑架134上设有气缸四135,气缸四135的伸缩杆上设有压块二136,压块二136位于所述气缸四135正下方,所述丝杆二131的一端部还设有同步带轮三137,所述固定板130上还设有电机二138,电机二138的输出轴上设有同步带轮四139,同步带轮四139与所述同步带轮三137通过同步带二140传动连接。
 
在本实施方案中,首先,输送中的铜线会穿过支撑架134,并处于压块二136下方,并且铜线的输送方向与丝杆二131的轴向相同,移动台二133处在丝杆二131的最左侧,此时,给予一气缸四135进气,气缸四135伸缩杆上的压块二136向下运动,将输送中的铜线压紧,运行该侧气缸四135下方的电机二138,经同步带轮四139、同步带轮三137及同步带二140的传动,使得丝杆二131转动,压紧铜线的气缸四135将铜线拽拉,给予铜线一牵引力,将铜线从一丝杆二131的左侧拉至丝杆二131的右侧,牵引至右侧位置时,气缸四135放气,压块二136松开铜线,控制电机138反向转动,丝杆二131也一齐反向转动,气缸四135恢复到初始位置,此时,给予另一气缸四135进气,气缸四135伸缩杆上的压块二136向下运动,将输送中的铜线压紧,重复相同操作,给侧牵引完成后,再继续另一侧气缸四135的牵引,以此交替牵引,实现铜线的连续输送。
 
进一步的,所述压块二136下方设有固接在支撑架134上的铜线输送板二141,铜线输送板二141上设有导向轮组二,导向轮组二包括左右两个导向轮三142,导向轮三142转动连接在所述铜线输送板二141上,铜线穿过左右两个导向轮三142之间,铜线的两侧壁抵接在导向轮三142的侧面上,起到了辅助传动的作用,并使得铜线输送更佳平稳。
 
进一步的,所述铜线输送板二141的两侧设有压轮支架143,压轮支架143上转动连接有设于所述导向轮三142上方的上压轮二144,在铜线穿过左右两个导向轮三142之间时,上压轮二144是压设在铜线的上表面,防止输送中铜线隆起,有助于铜线的平稳输送。
 
进一步的,所述两丝杆二131设于两固定板130之间,且处于同一轴线上,结构紧凑,铜线传输更平稳。
 
本发明通过设置两个对向的牵引机构,每个均设有气缸进行对输送中铜线的夹紧作用,并由气缸下方移动台的交替运动,以及结合气缸的交替夹紧,实现铜线的连续输送,输送中不停顿,牵引速度快;通过铜线输送板上设置导向轮,起到对输送中铜线的辅助传输及平稳运行的作用,还结合两侧的上压轮,更加有助于铜线的平稳输送,整体功能完善,实用性强。
 
以上详细描述了本发明的较佳具体实施例。应当理解,本领域的普通技术人员无需创造性劳动就可以根据本发明的构思做出诸多修改和变化。因此,凡本技术领域中技术人员依本发明的构思在现有技术的基础上通过逻辑分析、推理或者有限的实验可以得到的技术方案,皆应在由权利要求书所确定的保护范围内。
Copyright © 宁波鄞州盖奇同步带轮有限公司 2007-2022 All Rights Reserved.
电话:4006-574-123/0574-27834692 传真:0574-27834691
地址:浙江省宁波市鄞州区姜山镇蔡郎桥村姜南路39-2 E-Mail:sales@belt-pulley.com  
浙ICP备09102982号 盖奇公司网络部提供技术支持 浙公网安备33021202003319号