当前位置:首页->一种潜入牵引式AGV

 一种潜入牵引式AGV

 
【申请公布号:CN108909880A;申请权利人:宁波舜宇贝尔自动化有限公司;发明设计人:贺宗贵;】
 
摘要:
 
本发明公开了一种潜入牵引式AGV,包括AGV主体、设置在AGV底部一对角的全向脚轮和另一对角的全向驱动轮、所述全向驱动轮包括全向驱动轮主体和包胶轮,在所述全向轮主体上方设置有支撑盖,在所述支撑盖上转动设置有大同步带轮和小同步带轮,通过行走驱动电机出力带动小同步带轮、小同步带轮带动大同步带轮,最终使得大同步带轮通过减速机构带动包胶轮转动,此外,通过转向驱动电机上的转向驱动齿轮啮合回转支撑件上设置有外圈齿,带动包胶轮进行360°无死角的转动。本发明AGV保证了其驱动轮能够沿着360度转动且AGV本体之间不会有过高的最低高度,因此AGV可以容易的潜入货架底部。 
 
主权项:
 
1.一种潜入牵引式AGV,包括AGV主体、设置在AGV底部一对角的全向脚轮和另一对角的全向驱动轮、在AVG底部设置的用于连接外部电源的电极单元,其特征在于:所述全向驱动轮包括全向驱动轮主体,在所述全向轮主体上方设置有支撑盖,所述全向驱动轮主体和所述支撑盖之间通过回转支撑件转动连接,在所述支撑盖上转动设置有大同步带轮和小同步带轮,所述大同步带轮和小同步带轮之间通过同步带传动连接,在所述支撑盖下方设置有用于驱动小同步带轮的行走驱动电机;在所述驱动轮主体上转动设置有包胶轮,在所述包胶轮的内侧设置有内齿圈,所述驱动轮主体上还设置有啮合所述内齿圈的小齿轮,所述大同步带轮上固定连接有一向下延伸的小锥齿轮轴,在所述小锥齿轮轴的端部固定有小锥齿轮,所述小锥齿轮和一大锥齿轮啮合,所述大锥齿轮的中部固定连接有大锥齿轮轴,大锥齿轮轴的一侧和驱动轮主体转动连接,在所述大锥齿轮轴的另一侧上和所述小齿轮固定连接,在所述支撑盖下方固定设置有转向驱动电机,所述转向驱动电机的输出轴上固定有转向驱动齿轮,在所述回转支撑件上设置有外圈齿,所述转动驱动齿轮和所述外圈齿啮合。 
 
要求:
 
1.一种潜入牵引式AGV,包括AGV主体、设置在AGV底部一对角的全向脚轮和另一对角的全向驱动轮、在AVG底部设置的用于连接外部电源的电极单元,其特征在于:所述全向驱动轮包括全向驱动轮主体,在所述全向轮主体上方设置有支撑盖,所述全向驱动轮主体和所述支撑盖之间通过回转支撑件转动连接,在所述支撑盖上转动设置有大同步带轮和小同步带轮,所述大同步带轮和小同步带轮之间通过同步带传动连接,在所述支撑盖下方设置有用于驱动小同步带轮的行走驱动电机;在所述驱动轮主体上转动设置有包胶轮,在所述包胶轮的内侧设置有内齿圈,所述驱动轮主体上还设置有啮合所述内齿圈的小齿轮,所述大同步带轮上固定连接有一向下延伸的小锥齿轮轴,在所述小锥齿轮轴的端部固定有小锥齿轮,所述小锥齿轮和一大锥齿轮啮合,所述大锥齿轮的中部固定连接有大锥齿轮轴,大锥齿轮轴的一侧和驱动轮主体转动连接,在所述大锥齿轮轴的另一侧上和所述小齿轮固定连接,在所述支撑盖下方固定设置有转向驱动电机,所述转向驱动电机的输出轴上固定有转向驱动齿轮,在所述回转支撑件上设置有外圈齿,所述转动驱动齿轮和所述外圈齿啮合。
 
2.如权利要求1所述的一种潜入牵引式AGV,其特征在于:在所述支撑盖上还设置有偏心轮,所述偏心轮和所述同步带顶靠。
 
3.如权利要求1所述的一种潜入牵引式AGV,其特征在于:所述内齿圈和所述包胶轮通过螺栓连接。
 
4.如权利要求1所述的一种潜入牵引式AGV,其特征在于:所述AGV主体的壳体包括钣金前盖、钣金后盖和钣金支撑架,其中钣金前盖、钣金后盖和钣金支撑架通过铰链连接。
 
5.如权利要求4所述的一种潜入牵引式AGV,其特征在于:在钣金支撑架上设置中间盖板,所述中间盖板与钣金支撑架通过紧固件连接。
 
6.如权利要求1或3中任意一项所述的一种潜入牵引式AGV,其特征在于:所述电极单元包括一固定在AGV主体内侧壁的固定机架,在所述固定机架内活动设置可沿着纵向滑移的导向块,在所述导向块的两端固定有电极片固定架,所述极片设置在电极片固定架内,导向块的上侧设置有偏压导向块的弹簧;在所述固定机架上固定设置有驱动电机,所述驱动电机的电机轴上连接有一偏心圆盘,在所述偏心圆盘上设置有辊轮,所述辊轮和导向块下侧顶靠。
 
7.如权利要求6所述的一种潜入牵引式AGV,其特征在于:在所述固定机架上设置有第一接近开关,在所述导向块的上方通过工型块连接有第二接近开关,第二接近开关和第一接近开关间隔且位于同一纵向。
 
8.如权利要求或6所述的一种潜入牵引式AGV,其特征在于:在所述固定机架内设置有两根导柱,所述导向块被所述导柱滑动支承,所述弹簧套设在所述导柱上。
 
一种潜入牵引式AGV
技术领域
 
本发明涉及AGV制造领域,具体为用于工厂/仓库物料流转配送的潜入牵引式AGV。
 
背景技术
 
AGV(Automated Guided Vehicle),即自动导航小车,是一种装备有电磁、光学或视觉等自动导航装置,能够识别轨迹路径和标识位,按照预先设定的路径自主运行,完成运送作业的无人驾驶自动化运输设备。随着物流行业的蓬勃发展,AGV小车慢慢得到了应用。
 
目前,自动化应用工厂、仓库物料流转配送常常使用潜入牵引式AGV,上述潜入牵引式AGV常用的驱动轮单元一般采用差速驱动轮或者舵轮驱动方式,差速驱动对AGV的车型长宽比有一个要求,一般不允许长宽比大于2.5,限制了AGV的发展;舵轮驱动方式虽然解决了差速驱动的缺点,但是目前的舵轮驱动单元回转半径大,旋转角度最大只能达到270°,且最低高度比较高,使得AGV无法真正的实现全向自由行驶,最低高度大,使AGV整车的高度增加,增加了AGV潜入货架底部的难度。
 
发明内容
 
本发明的目的在于克服现有技术中存在的缺陷,提供了一种潜入牵引式AGV。
 
本发明是通过如下技术方案实现的:一种潜入牵引式AGV,包括AGV主体、设置在AGV底部一对角的全向脚轮和另一对角的全向驱动轮、在AVG底部设置的用于连接外部电源的电极单元,所述全向驱动轮包括全向驱动轮主体,在所述全向轮主体上方设置有支撑盖,所述全向驱动轮主体和所述支撑盖之间通过回转支撑件转动连接,在所述支撑盖上转动设置有大同步带轮和小同步带轮,所述大同步带轮和小同步带轮之间通过同步带传动连接,在所述支撑盖下方设置有用于驱动小同步带轮的行走驱动电机;在所述驱动轮主体上转动设置有包胶轮,在所述包胶轮的内侧设置有内齿圈,所述驱动轮主体上还设置有啮合所述内齿圈的小齿轮,所述大同步带轮上固定连接有一向下延伸的小锥齿轮轴,在所述小锥齿轮轴的端部固定有小锥齿轮,所述小锥齿轮和一大锥齿轮啮合,所述大锥齿轮的中部固定连接有大锥齿轮轴,大锥齿轮轴的一侧和驱动轮主体转动连接,在所述大锥齿轮轴的另一侧上和所述小齿轮固定连接,在所述支撑盖下方固定设置有转向驱动电机,所述转向驱动电机的输出轴上固定有转向驱动齿轮,在所述回转支撑件上设置有外圈齿,所述转动驱动齿轮和所述外圈齿啮合。
 
上述技术方案中,在所述支撑盖上还设置有偏心轮,所述偏心轮和所述同步带顶靠。
 
上述技术方案中,所述内齿圈和所述包胶轮通过螺栓连接。
 
上述技术方案中,述AGV主体的壳体包括钣金前盖、钣金后盖和钣金支撑架,其中钣金前盖、钣金后盖和钣金支撑架通过铰链连接。
 
上述技术方案中,在钣金支撑架上设置中间盖板,所述中间盖板与钣金支撑架通过紧固件连接。
 
上述技术方案中,所述电极单元包括一固定在AGV主体内侧壁的固定机架,在所述固定机架内活动设置可沿着纵向滑移的导向块,在所述导向块的两端固定有电极片固定架,所述极片设置在电极片固定架内,导向块的上侧设置有偏压导向块的弹簧;在所述固定机架上固定设置有驱动电机,所述驱动电机的电机轴上连接有一偏心圆盘,在所述偏心圆盘上设置有辊轮,所述辊轮和导向块下侧顶靠。
 
上述技术方案中,在所述固定机架上设置有第一接近开关,在所述导向块的上方通过工型块连接有第二接近开关,第二接近开关和第一接近开关间隔且位于同一纵向。
 
上述技术方案中,在所述固定机架内设置有两根导柱,所述导向块被所述导柱滑动支承,所述弹簧套设在所述导柱上。
 
本发明具有如下有益效果:本发明AGV保证了其驱动轮能够沿着360度转动且AGV本体之间不会有过高的最低高度,因此AGV可以容易的潜入货架底部。
 
附图说明
 
一种潜入牵引式AGV
图1为本发明的立体结构示意图。
 
一种潜入牵引式AGV
图2本发明的仰视示意图。
 
一种潜入牵引式AGV
图3为沿着图2中A-A处的剖视示意图。
 
一种潜入牵引式AGV
图4为全向驱动轮的立体结构示意图。
 
一种潜入牵引式AGV
图5为全向驱动轮的剖视示意图。
 
一种潜入牵引式AGV
图6为电极单元的立体结构示意图。
 
一种潜入牵引式AGV
图7为图6的俯视示意图。
 
一种潜入牵引式AGV
图8为沿着图6中A-A处的剖视示意图。
 
一种潜入牵引式AGV
图9为沿着图8中B-B处的剖视示意图。
 
具体实施方式
 
下面结合附图与具体实施方式对本发明作进一步详细描述:参见图1至图9,
 
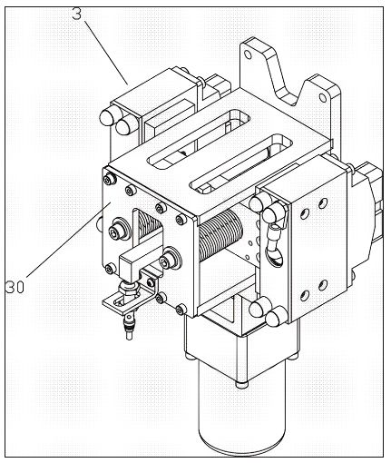
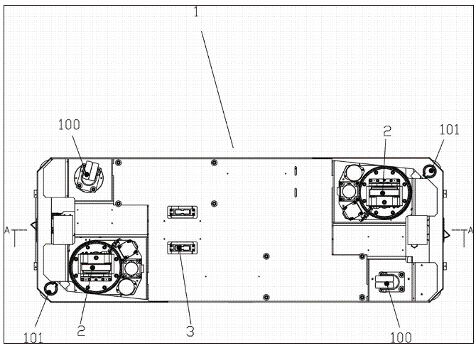
一种潜入牵引式AGV,包括AGV主体1、设置在AGV主体1底部一对角的全向脚轮100和另一对角的全向驱动轮2,在所述AGV主体1底部还设置有电极单元3,所述电极单元3包括电极片39,通过电极片与外部供电电源连接以用于为与AGV内部超级电容配合实现AGV 7*24在线运行。
 
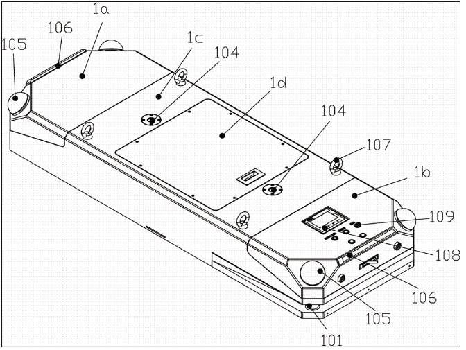
所述AGV主体包括2个对角布置的安全扫描仪101,实现AGV360°无死角安全防护;在所述AGV主体前后设置有两组声光警示灯102,上述声光警示灯102用以发出声音以及灯光信号用以提醒车间工人,保证人员安全;在所述AGV前后各设置有1个光学传感器103,所述光学传感器用于识别地面的色带与二维码,使AGV能后前进、后退与横移;所述AGV主体采用两套伸缩式牵引杆104,AGV潜入货架底部后伸出牵引杆牵引货物至目的点;AGV四个角设置有4个急停与复位按钮105,方便在紧急情况下的处理;AGV前后各安装有一个无线接收器106,保证AGV与上位机正常通讯。
 
所述AGV主体的壳体包括钣金前盖1a、钣金后盖1b和钣金支撑架1c,其中钣金前盖1a、钣金后盖1b和钣金支撑架1c通过铰链连接,可以将钣金前盖和钣金后盖翻开,方便调试检修人员维护内部电气元件;钣金支撑架为钣金焊接形成框架结构,具有很好的强度和刚度,其为AGV所有零部件的安装机架。
 
在钣金支撑架1c上设置中间盖板1d,所述中间盖板1d与钣金支撑架1c通过螺丝连接,方便人员安装和维护中间的超级电容和伸缩式牵引杆;在钣金支撑架上设置有4个起吊环107,方便AGV的运输;钣金前盖上安装有触摸屏108和控制按钮109,用于控制AGV的运行。
 
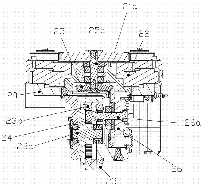
所述全向驱动轮2包括全向驱动轮主体20,在所述全向轮主体20上方设置有支撑盖21,所述全向驱动轮主体20和所述支撑盖21之间通过回转支撑件22转动连接,在所述支撑盖21上转动设置有一组大同步带轮21a和两组小同步带轮21b,所述大同步带轮21a和小同步带轮21b之间通过同步带21c传动连接,在所述支撑盖21上还设置有偏心轮21d,所述偏心轮21d和所述同步带顶靠,在所述支撑盖21下方设置有用于驱动小同步带轮21b的行走驱动电机21e。
 
在所述驱动轮主体20上转动设置有包胶轮23,具体的,所述包胶轮23中部设置有包胶轮轴23a,包胶轮轴23a和驱动轮主体20转动连接,在所述包胶轮的内侧设置有内齿圈23b,具体的,所述内齿圈23b和所述包胶轮23通过螺栓连接,所述驱动轮主体20上还设置有啮合所述内齿圈23b的小齿轮24。
 
所述大同步带轮21a上固定连接有一向下延伸的小锥齿轮轴25a,在所述小锥齿轮轴的端部固定有小锥齿轮25,所述小锥齿轮25和一大锥齿轮26啮合,所述大锥齿轮26的中部固定连接有大锥齿轮轴26a,大锥齿轮轴26a的一侧和驱动轮主体转动连接,在所述大锥齿轮轴的另一侧上固定有所述小齿轮24。
 
上述结构中,通过行走驱动电机驱动小同步带轮,然后通过偏心轮张紧同步带连接大同步带轮,大同步带轮通过小锥齿轮轴连接小锥齿轮,小锥齿轮与大锥齿轮啮合,通过大锥齿轮轴驱动小齿轮,小齿轮与内齿圈啮合驱动包胶轮绕着包胶轮轴转动,通过这多级的减速传动,最终实现行走驱动电机驱动包胶轮转动。另外编码器通过小同步带轮的带动实现对全向驱动轮转速的精确控制。
 
在所述支撑盖下方固定设置有转向驱动电机27,所述转向驱动电机27的输出轴上固定有转向驱动齿轮28,在所述回转支撑件上设置有外圈齿(附图未示出),所述转动驱动齿轮和所述外圈齿啮合,通过转向驱动电机出力,带动转向驱动齿轮啮合回转支撑件上的外圈齿,从而使得全向驱动轮主体与在全向驱动轮主体内的包胶轮360°全向转动。另外通过接近开关和转向驱动电机自带的编码器,实现对全向驱动轮转向的精确控制。
 
所述回转支撑件包括两个转动设置的内圈和外圈,内圈与支撑盖连接固定,外圈与全向驱动轮主体连接固定,所述外圈齿设置在回转支撑件的外圈上。
 
所述电极单元3包括一固定机架30,固定机架30通过在其下方设置的连接板300和AGV主体1内侧壁固接, 在所述固定机架30内设置有两根导柱31,在两导柱31上套设有一导向块32,在所述导向块32的两端固定有电极片固定架33,所述极片39设置在电极片固定架内,所述导柱31上还套设有弹性偏压所述导向块的弹簧200,所述弹簧200顶靠导向块32的上侧。
 
在所述固定机架30的一侧通过法兰201固定设置有驱动电机33,所述驱动电机33的电机轴通过连轴器202连接有一偏心圆盘34,在所述偏心圆盘34上设置有辊轮35,所述辊轮35和导向块32下侧顶靠。在所述固定机架30上设置有第一接近开关36,在所述导向块32的上方通过工型块38连接有第二接近开关37,第二接近开关和第一接近开关间隔且位于同一纵向。
 
通过驱动电机驱动偏心圆盘促使导向块导向块沿着导柱在纵向滑移动,配合弹簧压缩或放松,从而实现电极的升与降,即电极与地面电极之间的通与断。通过上下两个接近开关可以严格的控制电极升降的行程,保证电极充电的有效与安全。
 
本申请中在行走驱动电机、转向驱动电机和驱动电机上配合设置编码器,以用于提供对电机转速的精确控制。
 
以上显示和描述了本发明的基本原理、主要特征和本发明的优点。本行业的技术人员应该了解,本发明不受上述实施例的限制。本申请中上述实施例和说明书中描述的只是本发明的原理,在不脱离本发明精神和范围的前提下本发明还会有各种变化和改进。上述变化和改进都落入要求保护的本发明的范围内。
Copyright © 宁波鄞州盖奇同步带轮有限公司 2007-2022 All Rights Reserved.
电话:4006-574-123/0574-27834692 传真:0574-27834691
地址:浙江省宁波市鄞州区姜山镇蔡郎桥村姜南路39-2 E-Mail:sales@belt-pulley.com  
浙ICP备09102982号 盖奇公司网络部提供技术支持 浙公网安备33021202003319号