当前位置:首页->一种硅片单独翻转装置

 一种硅片单独翻转装置

 
【授权公告号:CN208516444U;申请权利人:南京卓胜自动化设备有限公司;发明设计人: 张弛; 王志刚; 王四海;】
 
摘要:
 
本实用新型公开了一种硅片单独翻转装置,它包括设置在支架上的旋转翻转架和驱动装置;其中,所述的旋转翻转架包括旋转手臂、吸盘和翻转轴,所述的驱动装置包括依次相连的伺服电机、同步带轮、同步带和旋转轴。与现有技术相比,本实用新型将旋转翻转架制作成悬臂式结构,悬臂每次旋转180°实现料片正反面翻转,可满足硅片丝网印刷、颜色分选硅片翻转的工艺要求的运用。 
 
主权项:
 
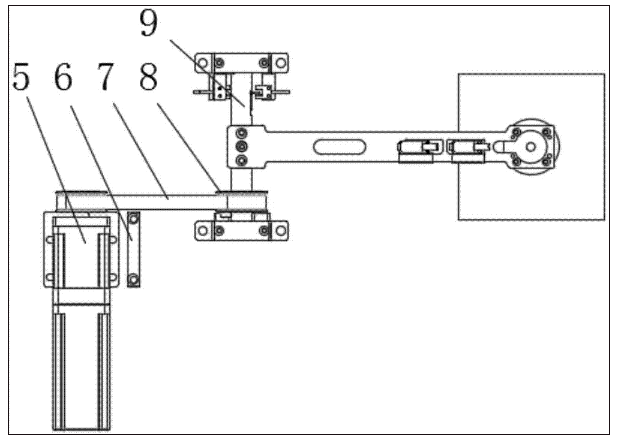
1.一种硅片单独翻转装置,其特征在于,它包括设置在支架(1)上的旋转翻转架(2)和驱动装置;其中,所述的旋转翻转架(2)包括旋转手臂、吸盘(3)和翻转轴(9),所述的驱动装置包括依次相连的伺服电机(5)、同步带轮、同步带(7)和旋转轴(6);旋转手臂固定于翻转轴(9)上,吸盘(3)固定于旋转手臂的一端;伺服电机(5)带动同步带(7)转动,驱使翻转轴(9)转动。 
 
要求:
 
1.一种硅片单独翻转装置,其特征在于,它包括设置在支架(1)上的旋转翻转架(2)和驱动装置;其中,所述的旋转翻转架(2)包括旋转手臂、吸盘(3)和翻转轴(9),所述的驱动装置包括依次相连的伺服电机(5)、同步带轮、同步带(7)和旋转轴(6);
 
旋转手臂固定于翻转轴(9)上,吸盘(3)固定于旋转手臂的一端;
 
伺服电机(5)带动同步带(7)转动,驱使翻转轴(9)转动。
 
2.根据权利要求1所述的硅片单独翻转装置,其特征在于,所述的旋转翻转架(2)为悬臂结构的翻转架。
 
3.根据权利要求1所述的硅片单独翻转装置,其特征在于,旋转翻转架(2)、伺服电机(5)和同步带(7)固定于支架上。
 
4.根据权利要求1所述的硅片单独翻转装置,其特征在于,所述的驱动装置设有伺服电机张紧调节机构。
 
一种硅片单独翻转装置
技术领域
 
本实用新型属于机械领域,具体涉及一种硅片单独翻转装置。
 
背景技术
 
硅片翻转在硅片生产工艺中有很广泛的运用,如丝网印刷、硅片颜色分选都需要对硅片做正反面的检测,所以硅片翻转机构设计影响到生产工艺要求和设备产能。
 
现有技术中,主要依靠人工进行翻转装配,效率低下,浪费人力,而且容易造成硅片的破损。有的采用叶轮翻转,此翻转对料片表面容易造成划伤。
 
发明内容
 
本实用新型要解决的技术问题是提供一种硅片单独翻转装置,以解决现有技术存在的效果不佳等问题。
 
为解决上述技术问题,本实用新型采用的技术方案如下:
 
一种硅片单独翻转装置,它包括设置在支架上的旋转翻转架和驱动装置;其中,所述的旋转翻转架包括旋转手臂、吸盘和翻转轴,所述的驱动装置包括依次相连的伺服电机、同步带轮、同步带和旋转轴。
 
其中,所述的旋转翻转架为悬臂结构的翻转架,悬臂每次旋转180°实现料片正反面翻转。
 
其中,旋转手臂固定于翻转轴上,吸盘固定于旋转手臂的一端,并通过吸盘吸取料片。
 
其中,旋转翻转架、伺服电机和同步带固定于支架上。
 
其中,伺服电机带动同步带转动,驱使翻转轴转动。
 
其中,所述的驱动装置设有伺服电机张紧调节机构。
 
有益效果:
 
与现有技术相比,本实用新型将旋转翻转架制作成悬臂式结构,悬臂每次旋转180°实现料片正反面翻转,可满足硅片丝网印刷、颜色分选硅片翻转的工艺要求的运用。
 
附图说明
 
图1为本实用新型的正视图;
 
一种硅片单独翻转装置
图2为本实用新型的俯视图。
 
一种硅片单独翻转装置
具体实施方式
 
实施例1
 
如图1和图2所示的硅片单独翻转装置,硅片连续输送进入旋转翻转架2下方,所述旋转翻转架为悬臂结构的翻转架,所述旋转翻转架2包括旋转手臂和吸盘3。驱动伺服电机5带动旋转翻转架2转动到硅片出位置,硅片4被吸盘3吸住,在伺服电机5带动下翻转架翻转到出片位实现硅片的翻转。驱动伺服电机5带动同步带7转动,驱动翻转轴9转动,旋转翻转架2固定在翻转轴上转动,驱动伺服电机5、同步带7、旋转翻转架全部固定在支架1上。所述驱动装置有伺服电机张紧调节机构。
 
所述本运用新型硅片翻转机构,配合硅片有翻转工艺要求的场合使用。硅片输送机将硅片输送到旋转翻转架2下方,驱动伺服电机5在得到硅片4进入吸盘3下发的信号后会带动旋转翻转架旋转180°,硅片实现翻转,吸盘打开,硅片落在输送机上接着硅片被输送机送出;硅片进与硅片出实现连续不间断工作。
Copyright © 宁波鄞州盖奇同步带轮有限公司 2007-2022 All Rights Reserved.
电话:4006-574-123/0574-27834692 传真:0574-27834691
地址:浙江省宁波市鄞州区姜山镇蔡郎桥村姜南路39-2 E-Mail:sales@belt-pulley.com  
浙ICP备09102982号 盖奇公司网络部提供技术支持 浙公网安备33021202003319号