当前位置:首页->一种覆膜机横向裁切装置

 一种覆膜机横向裁切装置

 
【申请公布号:CN109366545A;申请权利人:上海尊优自动化设备股份有限公司;发明设计人:李书训; 王魏聪; 李桂琴;】
 
摘要:
 
本发明提供了一种覆膜机横向裁切装置,由三个子裁切装置构成,可分为两部分:划刀组件装置和纸张夹紧装置。划刀组件包括:一个步进电机,通过同步轮、同步带驱动横切刀组件移动,横切刀组件上的皮带夹块与同步带连接,同步带靠摩擦力带动横切刀运动;夹紧装置分为前侧夹紧装置和后侧夹紧装置,分别用来固定将要横切纸张的和前端和后端,前侧夹紧装置安装在机架上,后侧夹紧装置安装在步进电机下方。本装置的积极进步效果就在于:这种裁切装置使用了带传动带动裁切刀进行切割,带传动的优点在于带传动运转平稳,无噪声,并且结构简单,维护方便,增加了横切装置的可行性;整个裁切过程完全解放了双手,并且最多可以同时对横切后的三条纸进行横向裁切,大大增加了横切裁切的效率和纸张利用率。 
 
主权项:
 
1.覆膜机横向裁切装置,其特征在于:包括横向裁切装置和纸张夹紧装置两部分结构。 
 
要求:
 
1.覆膜机横向裁切装置,其特征在于:包括横向裁切装置和纸张夹紧装置两部分结构。
 
2.根据权利要求1所述的覆膜机横向裁切装置,其特征在于:整个横向裁切装置可以分为三个子裁切装置,这三个装置装配方式、零件组成均相同,分别安装于切刀机架两层,上层安装两个宽度较小的子裁切装置,下层安装一个宽度较大的子裁切装置,使得此裁切装置最多可以同时对横切后的三条纸进行横向裁切,大大增加了横切裁切的效率和纸张利用率。
 
3.根据权利要求1所述的覆膜机横向裁切装置,其特征在于:整个裁切装置安装在刀架支撑座(22)上,在上面横放两块钢板(16),用于安装各个零件,横切刀片(25)安装在划刀座(26)上,划刀座与(26)直线轴承座(24)相连,与横切导杆(18)连接,导杆座上(13)的作用在于限制直线轴承座(24)的运动轨迹;在直线轴承座(24)上方安装一块皮带夹块(19),当步进电机(15)运动时,通过联轴器(12)带动同步轮(11)转动,从而驱动同步带(9)运动,故皮带夹块(19)的摩擦力带动横切刀片(25)运动,钢板(16)上安装电机座(14),用于固定步进电机(15);槽钢(20)上安装两个同步带惰轮支架(21),用于固定两个同步带惰轮(8),目的是防止同步带(9)跳动。
 
4.根据权利要求1所述的覆膜机横向裁切装置,其特征在于:如整体示意图所示,整个裁切装置机架前端是个辊筒结构(2),用于将经过竖切后的纸张运送到横切装置中,在裁切装置前侧装有纸张前侧夹紧装置,而在划刀组件中安装了纸张后侧夹紧装置,夹紧装置均使用了市场上广泛使用的辊筒结构(3)、(2)与(17),其中手动轮(5)用于调节辊筒的夹紧力,保证对于不同的纸张都能起到良好的夹紧效果同时不会损坏纸张,在运输纸张时需要精确地裁剪就需要用到编码器(4),它的作用在于在辊筒(2)与(3)滚动时测量纸张进入的长度,当编码器(4)感应到的长度达到需要裁剪的长度时,系统可以控制辊筒(2)与(3)夹紧,保证了裁切的高精确度,如图所示,这样的结构在本装置中使用了四次。
 
一种覆膜机横向裁切装置
技术领域
 
本发明涉及纸业加工设备领域,具体涉及一种用于覆膜机的横向裁切装置。
 
背景技术
 
目前市场上的覆膜机完成纸张覆膜之后,可以直接将覆膜之后的纸张进行纵向裁切,但是没有横切装置,横切通常需要人工用剪刀手工完成,很难统一标准,在裁切过程中很容易剪到产品,影响纸张品质和造成浪费。剪刀手工裁切效率低,人工作业中,剪刀手工裁切安全性能较低,作业过程中很容易伤到手,容易产生工伤事故。
 
发明内容
 
针对这一问题,我们设计了用于覆膜机的自动化横切装置,该装置的优点在于不仅可以代替人工作业,同时可以将进行过纵向裁切后的二条或者三条纸分别进行指定宽度横切,大大提高了覆膜机的效率以及纸张的利用率。
 
为了达到上述目的,本发明通过以下技术方案来实现:
 
一种覆膜机横向裁切装置,本裁切装置具有三个位置裁切的功能,每个子装置组件相同,其中用于裁切的横切刀片固定在一个划刀座上,划刀座上有两个垂直通孔,穿有两根横切导杆,从而限制刀片的运动轨迹,只能进行横向运动,保证裁切的精度,固定在支架上的导杆座用于固定横切导杆;划刀座上方安装了皮带夹块,用于夹紧同步带,从而将步进电机的动力通过联轴器和同步轮传递给横切刀片,同时,为了保证皮带在反复快速移动中不跳动,在刀片的行程范围内安装了同步带惰轮,惰轮通过惰轮支架进行固定。
 
裁切装置分为上下两层,两个行程较短的子裁切装置放在上层,一个行程较长的子裁切装置放在下层,这样设计主要是考虑到了现在的覆膜机都具备了纵向裁切的功能,但是横向裁切需要人工完成,费时费力,本装置在设计时考虑到了覆膜时可能会出现一张纸上打印两种或三种图案并且每种图案的长度不相同,那么人工裁切时就不可能同时对这三种图案的纸在纵切后进行横向裁切,本装置的积极进步效果就在于:这种裁切装置使用了带传动带动裁切刀进行切割,带传动的优点在于带传动运转平稳,无噪声,并且结构简单,维护方便,增加了横切装置的可行性;整个裁切过程完全解放了双手,并且最多可以同时对横切后的三条纸进行横向裁切,且效率高。
 
附图说明
 
图1横向裁切装置整体示意图
 
一种覆膜机横向裁切装置
图2横切装置机架
 
一种覆膜机横向裁切装置
图3划刀组件装置模块
 
一种覆膜机横向裁切装置
图4横切刀组件
 
一种覆膜机横向裁切装置
图5横切刀组件配合横切导杆示意图
 
一种覆膜机横向裁切装置
图6夹紧装置模块
 
一种覆膜机横向裁切装置
具体实施方式
 
本横向裁切装置使用了模块化设计方式,整个装置可以分为三个模块:机架(3)、夹紧装置(1)和划刀组件(2)。这样设计的好处在于当一个模块损坏时可以快速换一个完好的模块,产品在投入使用时能最大化地降低维修时间,并且大批量生产本装置时装配简易方便。
 
参照图2,机架(3)整体用方管焊接而成,在四根支撑柱上下分别焊接三角筋,使整个机构具有很强的刚度和较高的稳定性,保证将横切装置在进行工作时产生的振动对裁切的精度影响降到最低,机架底部焊接脚底轮板,在运输过程中可以安装底轮更方便运输。如图2所示,机架(3)分为上下两层,上层用于安装两个横向宽度较小的划刀组件(2),下层用于安装一个横向宽度较大的划刀组件(2),如此分布的优点已在说明内容中说明。
 
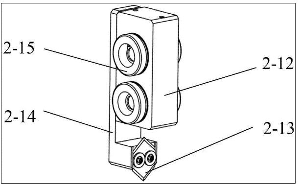
如图3、图4和图5所示,划刀组件(2)包括同步轮(2-1)、同步带惰轮(2-2)、同步带(2-3)、惰轮支架(2-4)、同步轮支架(2-5)、槽钢(2-6)、划刀装置底座(2-7)、钢板(2-8)、横切导杆座(2-9)、步进电机(2-10)、光电传感器(2-11)、直线轴承座(2-12)、横切刀片(2-13)、划刀座(2-14)、安装孔套管(2-15)、皮带夹块(2-16)、横切导杆(2-17)与横切导杆套管(2-18)。其中,槽钢(2-6)、划刀装置底座(2-7)与钢板(2-8)构成划刀组件模块的机架,本模块的其余零件都基于机架进行装配;步进电机(2-10)与同步轮(2-1)连接,是裁切装置的动力来源,横切刀组件包括直线轴承座(2-12)、横切刀片(2-13)、划刀座(2-14)和安装孔套管(2-15),如图5示意图所示,横切刀组件通过安装孔套在两根上下平行的横切导杆(2-17)上,从而限制横切刀片(2-13)的运动轨迹,保证精确地横向移动,同步带(2-3)与横切直线轴承座(2-13)之间通过皮带夹块(2-16)产生的摩擦力将动力传递给横切刀片(2-13);同步带(2-3)在高速移动中会产生较大的跳动,会影响裁切精度,因此本装置在同步带(2-3)的行程中安装两个同步带惰轮(2-2),起到良好的防跳动效果,此外光电传感器(2-11)在系统中起到感应纸张的进入的作用。
 
如图6所示,夹紧装置(1)包括上辊筒(1-1)、下辊筒(1-2)、辊筒支架(1-3)、弹簧(1-4)、编码器(1-5)、调节弹簧(1-6)、手动轮(1-7)、轴承端盖(1-8)和同步轮(1-9)。如整体示意图所示,整个裁切装置机架前端是个辊筒结构,用于将经过竖切后的纸张运送到横切装置中,在裁切装置前侧装有纸张前侧夹紧装置,而在划刀组件(2)中安装了纸张后侧夹紧装置,夹紧装置如局部示意图所示,均使用了市场上广泛使用的辊筒结构,在图中分别为上辊筒(1-1)与下辊筒(1-2),辊筒经过了包胶处理,使得在同等压力下对纸张具有更好的夹紧效果,辊筒两端均使用滚动轴承座与辊筒支架(1-3),在下辊筒(1-2)的另一侧与其相连的是一种用于调节夹紧力的装置,轴承端盖(8-13)保证了下辊筒(1-2)的稳定性,同步轮(1-9)两侧安装的是具有弹性的摩擦片,使用插销对其固定,弹簧调节杆(1-6)一端与同步轮(1-9)连接,另一端装有手轮(1-7),当需要调节夹紧力时,只要转动手轮(1-7)即可,保证对于不同的纸张都能起到良好的夹紧效果同时不会损坏纸张;在运输纸张时需要精确地裁剪就需要用到编码器(1-5),编码器(1-5)通过连轴与上辊筒(1-1)相连,它的作用在于在上辊筒(1-1)与下辊筒(1-2)滚动时测量纸张进入的长度,当编码器(1-5)感应到的长度达到需要裁剪的长度时,系统可以控制上辊筒(1-1)与下辊筒(1-2)夹紧,保证了裁切的高精确度。
 
以上结合附图对本发明实施例进行说明,但本发明不限于上述实施例,还可以根据本发明的方案思想做出多种变化,凡依据本发明技术方案的实质和原理做出修饰、组合、简化、替代,修改等,例如子裁切装置的安装位置的改变等均视为等效置换方式,都属于本发明的保护范围。
Copyright © 宁波鄞州盖奇同步带轮有限公司 2007-2022 All Rights Reserved.
电话:4006-574-123/0574-27834692 传真:0574-27834691
地址:浙江省宁波市鄞州区姜山镇蔡郎桥村姜南路39-2 E-Mail:sales@belt-pulley.com  
浙ICP备09102982号 盖奇公司网络部提供技术支持 浙公网安备33021202003319号