当前位置:首页->水平校准器

 水平校准器

 
【申请公布号:CN109373969A;申请权利人:昆山弘义千高装饰工程有限公司;发明设计人:李建华;】
 
摘要:
 
本发明公开了一种水平校准器,其包括平面板、底座、电机、同步带、绳索、轴承、锁紧器、收线盘和收纳框,平面板安装在底座上方,底座内安装有电机、齿轮、连接轴和同步带,连接轴安装在电机上,连接轴与一个齿轮相连接,齿轮有两个且两个齿轮之间由同步带来带动,平面板上安装有轴承、收线盘、辅助柱、固定头和锁紧器,轴承位于平面板后方,轴承下方安装有收纳框,收纳框位于平面板的底部,收纳框内安装有收线盘,锁紧器安装于平面板前端,锁紧器下方为辅助柱,辅助柱位于平面板底部。本发明水平校准器通过绳索的拉伸来对平面进行校准,这样能够快速简单的满足校准要求而且校准的精确度很高。 
 
主权项:
 
1.一种水平校准器,其特征在于,其包括:平面板、底座、电机、同步带、绳索、轴承、齿轮、连接轴、辅助柱、固定头、锁紧器、收线盘和收纳框,所述平面板安装在底座上方,底座内安装有电机、齿轮、连接轴和同步带,所述连接轴安装在电机上,连接轴与一个齿轮相连接,所述齿轮有两个且两个齿轮之间由同步带来带动,所述平面板上安装有轴承、收线盘、辅助柱、固定头和锁紧器,轴承位于平面板后方,轴承下方安装有收纳框,所述收纳框位于平面板的底部,收纳框内安装有收线盘,所述锁紧器安装于平面板前端,锁紧器下方为辅助柱,所述辅助柱位于平面板底部,辅助柱上刻有厘米刻度,每5厘米安装有一个固定头,所述绳索把收线盘和锁紧器连接在一起,绳索尾端位于收线盘上,头端位于锁紧器上。 
 
要求:
 
1.一种水平校准器,其特征在于,其包括:平面板、底座、电机、同步带、绳索、轴承、齿轮、连接轴、辅助柱、固定头、锁紧器、收线盘和收纳框,所述平面板安装在底座上方,底座内安装有电机、齿轮、连接轴和同步带,所述连接轴安装在电机上,连接轴与一个齿轮相连接,所述齿轮有两个且两个齿轮之间由同步带来带动,所述平面板上安装有轴承、收线盘、辅助柱、固定头和锁紧器,轴承位于平面板后方,轴承下方安装有收纳框,所述收纳框位于平面板的底部,收纳框内安装有收线盘,所述锁紧器安装于平面板前端,锁紧器下方为辅助柱,所述辅助柱位于平面板底部,辅助柱上刻有厘米刻度,每5厘米安装有一个固定头,所述绳索把收线盘和锁紧器连接在一起,绳索尾端位于收线盘上,头端位于锁紧器上。
 
2.如权利要求1所述水平校准器,其特征在于,所述底座底部设有一层保护层。
 
3.如权利要求1所述水平校准器,其特征在于,所述锁紧器内安装有卡轮。
 
4.如权利要求1所述水平校准器,其特征在于,所述绳索由合成纤维制成,其头部连接有固定拉头。
 
水平校准器
技术领域
 
本发明涉及一种水平辅助装置,特别是涉及一种水平校准器。
 
背景技术
 
目前,在建筑工程水平校准测量时大多是用一根透明管,将透明管内装入水,目测水平面之间的距离后估测相差高度,这样操作很不精确,且操作起来十分麻烦、费时费力。在道路的工程中通过这种方法更加难以进行路面的校准,所以需要发明一种可以替代的便捷有效的校准装置。
 
发明内容
 
本发明所要解决的技术问题是提供一种水平校准器。
 
本发明是通过下述技术方案来解决上述技术问题的:一种水平校准器,其包括平面板、底座、电机、同步带、绳索、轴承、齿轮、连接轴、辅助柱、固定头、锁紧器、收线盘和收纳框,所述平面板安装在底座上方,底座内安装有电机、齿轮、连接轴和同步带,所述连接轴安装在电机上,连接轴与一个齿轮相连接,所述齿轮有两个且两个齿轮之间由同步带来带动,所述平面板上安装有轴承、收线盘、辅助柱、固定头和锁紧器,轴承位于平面板后方,轴承下方安装有收纳框,所述收纳框位于平面板的底部,收纳框内安装有收线盘,所述锁紧器安装于平面板前端,锁紧器下方为辅助柱,所述辅助柱位于平面板底部,辅助柱上刻有厘米刻度,每5厘米安装有一个固定头,所述绳索把收线盘和锁紧器连接在一起,绳索尾端位于收线盘上,头端位于锁紧器上。
 
优选地,所述底座底部设有一层保护层。
 
优选地,所述锁紧器内安装有卡轮。
 
优选地,所述绳索由合成纤维制成,其头部连接有固定拉头。
 
本发明的积极进步效果在于:本发明水平校准器通过绳索的拉伸来对平面进行校准,这样能够快速简单的满足校准要求而且校准的精确度很高。本水平校准器其内置锁紧器能够自由调整松紧度,帮助使用者能够便捷的进行水平校准,提高了装置的实用性。
 
附图说明
 
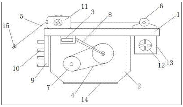
图1为本发明的结构示意图。
 
水平校准器
其中,平面板1、底座2、电机3、同步带4、绳索5、轴承6、齿轮7、连接轴8、辅助柱9、固定头10、锁紧器11、收线盘12、收纳框13、保护层14、固定拉头15。
 
具体实施方式
 
下面结合附图给出本发明较佳实施例,以详细说明本发明的技术方案。
 
一种水平校准器,其包括平面板1、底座2、电机3、同步带4、绳索5、轴承6、齿轮7、连接轴8、辅助柱9、固定头10、锁紧器11、收线盘12和收纳框13,平面板1安装在底座2上方,底座2内安装有电机3、齿轮7、连接轴8和同步带4,连接轴8安装在电机3上,连接轴8与一个齿轮7相连接,齿轮7有两个且两个齿轮7之间由同步带4来带动,平面板1上安装有轴承6、收线盘12、辅助柱9、固定头10和锁紧器11,轴承6位于平面板1后方,轴承6下方安装有收纳框13,收纳框13位于平面板1的底部,收纳框13内安装有收线盘12,锁紧器11安装于平面板1前端,锁紧器11下方为辅助柱9,辅助柱9位于平面板1底部,辅助柱9上刻有厘米刻度,每5厘米安装有一个固定头10,绳索5把收线盘12和锁紧器11连接在一起,绳索5尾端位于收线盘12上,头端位于锁紧器11上。
 
在本实例中,底座2底部设有一层保护层14。
 
在本实例中,锁紧器11内安装有卡轮。
 
在本实例中,绳索5由合成纤维制成,其头部连接有固定拉头15。
 
本发明水平校准器通过绳索的拉伸来对平面进行校准,这样能够快速简单的满足校准要求而且校准的精确度很高。本水平校准器其内置锁紧器能够自由调整松紧度,帮助使用者能够便捷的进行水平校准,提高了装置的实用性。
 
以上所述的具体实施例,对本发明的解决的技术问题、技术方案和有益效果进行了进一步详细说明,所应理解的是,以上所述仅为本发明的具体实施例而已,并不用于限制本发明,凡在本发明的精神和原则之内,所做的任何修改、等同替换、改进等,均应包含在本发明的保护范围之内。
Copyright © 宁波鄞州盖奇同步带轮有限公司 2007-2022 All Rights Reserved.
电话:4006-574-123/0574-27834692 传真:0574-27834691
地址:浙江省宁波市鄞州区姜山镇蔡郎桥村姜南路39-2 E-Mail:sales@belt-pulley.com  
浙ICP备09102982号 盖奇公司网络部提供技术支持 浙公网安备33021202003319号