当前位置:首页->一种基于PLC控制的同步带自动包装系统及其方法

 一种基于PLC控制的同步带自动包装系统及其方法

 
【申请公布号:CN109515875A;申请权利人:丁树峰;发明设计人:丁树峰;】
 
摘要:
 
本发明提出一种基于PLC控制的同步带自动包装系统及其方法,包括:工作平台、PLC上位机、上料机构、分流装置、送料振动筛、补料振动筛、称重装置、输送机构,实现了基于PLC控制的自动控制,大大提高了工作效率,降低了人工成本,其次,本发明的补料振动筛的出料口处采用了同步带机构,通过同步带对导料槽内的物料如钉子进行按压传送,并通过对射式光电开关进行计数,实现了精确的补料。 
 
主权项:
 
1.一种基于PLC控制的同步带自动包装系统,其特征在于,包括:工作平台、PLC上位机、上料机构、分流装置、送料振动筛、补料振动筛、称重装置、输送机构,其中,所述上料机构用于将待包装的物料自动或手动倒入所述分流装置;所述分流装置与所述PLC上位机连接,用于将待包装的物料选择送至送料振动筛或补料振动筛或同时送入送料振动筛和补料振动筛内;所述送料振动筛、称重装置和所述补料振动筛分别和所述PLC上位机连接,所述送料振动筛的出料口连接至所述称重装置的进料口,所述称重装置的出料口位于所述输送机构的上方,所述补料振动筛的出料口位于所述输送机构的上方;所述输送机构与所述PLC上位机连接,用于将包装盒从称重装置处输送至补料振动筛的出料口处,最后送至封装处进行封装。 
 
 
要求:
 
1.一种基于PLC控制的同步带自动包装系统,其特征在于,包括:工作平台、PLC上位机、上料机构、分流装置、送料振动筛、补料振动筛、称重装置、输送机构,其中,
 
所述上料机构用于将待包装的物料自动或手动倒入所述分流装置;
 
所述分流装置与所述PLC上位机连接,用于将待包装的物料选择送至送料振动筛或补料振动筛或同时送入送料振动筛和补料振动筛内;
 
所述送料振动筛、称重装置和所述补料振动筛分别和所述PLC上位机连接,所述送料振动筛的出料口连接至所述称重装置的进料口,所述称重装置的出料口位于所述输送机构的上方,所述补料振动筛的出料口位于所述输送机构的上方;
 
所述输送机构与所述PLC上位机连接,用于将包装盒从称重装置处输送至补料振动筛的出料口处,最后送至封装处进行封装。
 
2.根据权利要求1所述的一种基于PLC控制的同步带自动包装系统,其特征在于,所述上料机构包括储料桶和翻转机构,所述翻转机构由安装架、支撑架和翻转气缸组成,所述支撑架固定安装在地面上,所述安装架的一端与所述支撑架通过销轴铰接连接,另一端与所述翻转气缸固定连接,所述翻转气缸固定安装在所述支撑架上,所述翻转气缸与所述PLC上位机电性连接。
 
3.根据权利要求2所述的一种基于PLC控制的同步带自动包装系统,其特征在于,所述送料振动筛和所述补料振动筛对称固定安装所述工作平台上,所述送料振动筛的底部固定安装有第一称重传感器,所述补料振动筛的底部固定安装有第二称重传感器,所述第一称重传感器和第二称重传感器分别连接所述PLC上位机的输入端。
 
4.根据权利要求3所述的一种基于PLC控制的同步带自动包装系统,其特征在于,所述分流装置包括进料漏斗、第一分流输送通道和第二分流输送通道,所述进料漏斗固定安装在所述工作平台上,位于所述送料振动筛和补料振动筛的中间,所述第一分流输送通道和第二分流输送通道的一端分别对称安装在所述进料漏斗的两侧,并与所述进料漏斗连通,所述第一分流输送通道和第二分流输送通道的另一端分别对应位于送料振动筛和补料振动筛的上方,其中,所述第一分流输送通道的出料口处安装有第一阀门,所述第二分流输送通道的出料口处安装有第二阀门,所述第一阀门和第二阀门分别连接所述PLC上位机。
 
5.根据权利要求4所述的一种基于PLC控制的同步带自动包装系统,其特征在于,所述补料振动筛的出料口连接导料板,所述导料板的中间设有导料槽,待包装的物料从所述导料槽上导出,所述导料槽的上方安装有同步带,所述同步带有同步带驱动机构驱动,所述同步带用于向下按压物料,待包装物料从导料槽内导出,所述导料槽的出口处固定安装有对射式光电开关,所述对射式光电开关和同步带驱动机构分别连接所述PLC上位机。
 
6.根据权利要求5所述的一种基于PLC控制的同步带自动包装系统,其特征在于,所述同步带驱动机构至少采用伺服电机。
 
7.根据权利要求6所述的一种基于PLC控制的同步带自动包装系统,其特征在于,所述输送机构包括输送带、输送架、输送辊、输送电机,所述输送辊均匀安装在输送架之间,所述输送带包围在输送辊外圈,位于端部的输送辊的一端与所述输送电机连接,所述输送电机连接所述PLC上位机。
 
8.根据权利要求7所述的一种基于PLC控制的同步带自动包装系统,其特征在于,所述输送架上安装有第一位置传感器和第二位置传感器,所述第一位置传感器位于称重装置处,所述第二位置传感器位于补料振动筛的出料口处。
 
9.根据权利要求8所述的一种基于PLC控制的同步带自动包装系统,其特征在于,所述称重装置包括料仓,料仓上端为进料口,料仓下端为出料口,所述料仓底部安装有第三称重传感器,所述料仓的进料口和出料口处分别安装有仓门,所述仓门和第三称重传感器分别连接所述PLC上位机。
 
10.如权利要求1-9任一所述的一种基于PLC控制的同步带自动包装方法,其特征在于,包括如下步骤:
 
步骤S1:PLC上位机控制上料机构将待包装的物料倒入分流装置内;
 
步骤S2:第一称重传感器和第二称重传感器分别检测送料振动筛和补料振动筛内的物料重量,并将检测结果发送至PLC上位机,PLC上位机接收到信号后,对应的控制第一阀门或第二阀门打开,或同时打开,以将送料振动筛和补料振动筛内补入足够的物料;
 
步骤S3:送料振动筛内的物料输送至称重装置的料仓内,称重装置检测到预设重量的物料时,关闭料仓的进料口;
 
步骤S4:包装盒放至输送机构上,经过第一位置传感器处,第一位置传感器将信号发送至PLC上位机,PLC上位机控制输送电机停止转动,同时控制称重装置的料仓的出料口的仓门打开,将物料装入包装盒内;
 
步骤S5:PLC上位机控制输送电机启动,同时计算需要补入的物料的数量,如果需要补入,则包装盒运动至第二位置传感器处时,控制输送电机再次停止,然后启动同步带驱动机构,向包装盒内补入相应数量的物料,其中对射式光电开关检测补入物料的数量,当达到补入数量时,PLC上位机控制同步带驱动机构停止;
 
步骤S6:然后PLC上位机控制输送电机再次启动,将包装盒输送至封装处进行封装。
 
一种基于PLC控制的同步带自动包装系统及其方法
技术领域
 
本发明涉及包装技术领域,特别涉及一种基于PLC控制的同步带自动包装系统及其方法。
 
背景技术
 
目前,在对钉子形状的物料进行盒装包装时,如对钉子的包装,都是采用人工进行包装,采用人工包装即工作效率慢,又不精确,且人工成本高,非常不利于生产性企业的高效持久和长远的发展,因此本发明设计了一种基于PLC控制的同步带自动包装系统及其方法,整个包装过程仅需1-2个人就能完成,大大提高了工作效率,降低了人工成本,同时也提高了精确度。
 
发明内容
 
针对上述问题,本发明的目的在于提出一种基于PLC控制的同步带自动包装系统及其方法,大大提高了工作效率,降低了人工成本,同时也提高了精确度。
 
本发明解决上述技术问题所采用的技术方案是:一种基于PLC控制的同步带自动包装系统,其特征在于,包括:工作平台、PLC上位机、上料机构、分流装置、送料振动筛、补料振动筛、称重装置、输送机构,其中,
 
所述上料机构用于将待包装的物料自动或手动倒入所述分流装置;
 
所述分流装置与所述PLC上位机连接,用于将待包装的物料选择送至送料振动筛或补料振动筛或同时送入送料振动筛和补料振动筛内;
 
所述送料振动筛、称重装置和所述补料振动筛分别和所述PLC上位机连接,所述送料振动筛的出料口连接至所述称重装置的进料口,所述称重装置的出料口位于所述输送机构的上方,所述补料振动筛的出料口位于所述输送机构的上方;
 
所述输送机构与所述PLC上位机连接,用于将包装盒从称重装置处输送至补料振动筛的出料口处,最后送至封装处进行封装。
 
进一步,所述上料机构包括储料桶和翻转机构,所述翻转机构由安装架、支撑架和翻转气缸组成,所述支撑架固定安装在地面上,所述安装架的一端与所述支撑架通过销轴铰接连接,另一端与所述翻转气缸固定连接,所述翻转气缸固定安装在所述支撑架上,所述翻转气缸与所述PLC上位机电性连接。
 
进一步,所述送料振动筛和所述补料振动筛对称固定安装所述工作平台上,所述送料振动筛的底部固定安装有第一称重传感器,所述补料振动筛的底部固定安装有第二称重传感器,所述第一称重传感器和第二称重传感器分别连接所述PLC上位机的输入端。
 
进一步,所述分流装置包括进料漏斗、第一分流输送通道和第二分流输送通道,所述进料漏斗固定安装在所述工作平台上,位于所述送料振动筛和补料振动筛的中间,所述第一分流输送通道和第二分流输送通道的一端分别对称安装在所述进料漏斗的两侧,并与所述进料漏斗连通,所述第一分流输送通道和第二分流输送通道的另一端分别对应位于送料振动筛和补料振动筛的上方,其中,所述第一分流输送通道的出料口处安装有第一阀门,所述第二分流输送通道的出料口处安装有第二阀门,所述第一阀门和第二阀门分别连接所述PLC上位机。
 
进一步,所述补料振动筛的出料口连接导料板,所述导料板的中间设有导料槽,待包装的物料从所述导料槽上导出,所述导料槽的上方安装有同步带,所述同步带有同步带驱动机构驱动,所述同步带用于向下按压物料,待包装物料从导料槽内导出,所述导料槽的出口处固定安装有对射式光电开关,所述对射式光电开关同步带驱动机构分别连接所述PLC上位机。
 
进一步,所述同步带驱动机构至少采用伺服电机。
 
进一步,所述输送机构包括输送带、输送架、输送辊、输送电机,所述输送辊均匀安装在输送架之间,所述输送带包围在输送辊外圈,位于端部的输送辊的一端与所述输送电机连接,所述输送电机连接所述PLC上位机。
 
进一步,所述输送架上安装有第一位置传感器和第二位置传感器,所述第一位置传感器位于称重装置处,所述第二位置传感器位于补料振动筛的出料口处。
 
进一步,所述称重装置包括料仓,料仓上端为进料口,料仓下端为出料口,所述料仓底部安装有第三称重传感器,所述料仓的进料口和出料口处分别安装有仓门,所述仓门和第三称重传感器分别连接所述PLC上位机。
 
一种基于PLC控制的同步带自动包装方法,其特征在于,包括如下步骤:
 
步骤S1:PLC上位机控制上料机构将待包装的物料倒入分流装置内;
 
步骤S2:第一称重传感器和第二称重传感器分别检测送料振动筛和补料振动筛内的物料重量,并将检测结果发送至PLC上位机,PLC上位机接收到信号后,对应的控制第一阀门或第二阀门打开,或同时打开,以将送料振动筛和补料振动筛内补入足够的物料;
 
步骤S3:送料振动筛内的物料输送至称重装置的料仓内,称重装置检测到预设重量的物料时,关闭料仓的进料口;
 
步骤S4:包装盒放至输送机构上,经过第一位置传感器处,第一位置传感器将信号发送至PLC上位机,PLC上位机控制输送电机停止转动,同时控制称重装置的料仓的出料口的仓门打开,将物料装入包装盒内;
 
步骤S5:PLC上位机控制输送电机启动,同时计算需要补入的物料的数量,如果需要补入,则包装盒运动至第二位置传感器处时,控制输送电机再次停止,然后启动同步带驱动机构,向包装盒内补入相应数量的物料,其中对射式光电开关检测补入物料的数量,当达到补入数量时,PLC上位机控制同步带驱动机构停止;
 
步骤S6:然后PLC上位机控制输送电机再次启动,将包装盒输送至封装处进行封装。
 
本发明的优点在于:首先,本发明通过设置输送机构、补料振动筛、送料振动筛、称重装置和上料机构、分流装置,实现了基于PLC控制的自动控制,大大提高了工作效率,降低了人工成本,其次,本发明的补料振动筛的出料口处采用了同步带机构,通过同步带对导料槽内的物料如钉子进行按压传送,并通过对射式光电开关进行计数,实现了精确的补料。
 
附图说明
 
为了更清楚地说明本发明具体实施方式或现有技术中的技术方案,下面将对具体实施方式或现有技术描述中所需要使用的附图作简单地介绍,显而易见地,下面描述中的附图是本发明的一些实施方式,对于本领域普通技术人员来讲,在不付出创造性劳动的前提下,还可以根据这些附图获得其他的附图。
 
一种基于PLC控制的同步带自动包装系统及其方法
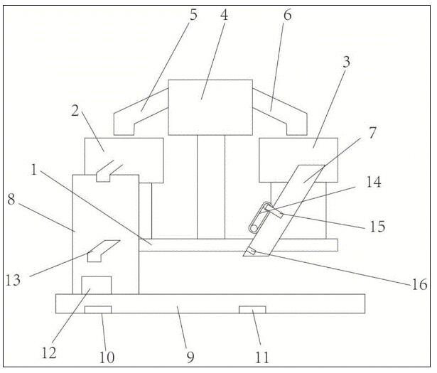
图1为本发明的一种基于PLC控制的同步带自动包装系统的结构示意图;
 
一种基于PLC控制的同步带自动包装系统及其方法
图2为本发明的一种基于PLC控制的同步带自动包装系统的上料机构的示意图;
 
一种基于PLC控制的同步带自动包装系统及其方法
图3为本发明的一种基于PLC控制的同步带自动包装系统的电路结构示意图。
 
其中:1、工作平台;2、送料振动筛;3、补料振动筛;4、进料漏斗;5、第一分流输送通道;6、第二分流输送通道;7、导料板;8、称重装置;9、输送机构;10、第一位置传感器;11、第二位置传感器;12、包装盒;13、出料口;14、同步带;15、同步带驱动机构;16、对射式光电开关;17、储料桶;18支撑架;19、安装架;20、销轴;21、翻转气缸;22、PLC上位机;23、第一称重传感器;24、第二称重传感器;25、第三称重传感器;26、第一阀门;27、第二阀门;28、输送电机;29、仓门。
 
具体实施方式
 
下面将结合附图对本发明的技术方案进行清楚、完整地描述,显然,所描述的实施例是本发明一部分实施例,而不是全部的实施例。基于本发明中的实施例,本领域普通技术人员在没有做出创造性劳动前提下所获得的所有其他实施例,都属于本发明保护的范围。
 
在本发明的描述中,需要说明的是,术语“中心”、“上”、“下”、“左”、“右”、“竖直”、“水平”、“内”、“外”等指示的方位或位置关系为基于附图所示的方位或位置关系,仅是为了便于描述本发明和简化描述,而不是指示或暗示所指的装置或元件必须具有特定的方位、以特定的方位构造和操作,因此不能理解为对本发明的限制。此外,术语“第一”、“第二”、“第三”仅用于描述目的,而不能理解为指示或暗示相对重要性。
 
如图1-图3所示,一种实施例提供一种基于PLC控制的同步带14自动包装系统,其特征在于,包括:工作平台1、PLC上位机22、上料机构、分流装置、送料振动筛2、补料振动筛3、称重装置8、输送机构9,其中,
 
所述上料机构用于将待包装的物料自动或手动倒入所述分流装置;
 
所述分流装置与所述PLC上位机22连接,用于将待包装的物料选择送至送料振动筛2或补料振动筛3或同时送入送料振动筛2和补料振动筛3内;
 
所述送料振动筛2、称重装置8和所述补料振动筛3分别和所述PLC上位机22连接,所述送料振动筛2的出料口13连接至所述称重装置8的进料口,所述称重装置8的出料口13位于所述输送机构9的上方,所述补料振动筛3的出料口13位于所述输送机构9的上方;
 
所述输送机构9与所述PLC上位机22连接,用于将包装盒12从称重装置8处输送至补料振动筛3的出料口13处,最后送至封装处进行封装。
 
进一步,所述上料机构包括储料桶17和翻转机构,所述翻转机构由安装架19、支撑架和翻转气缸21组成,所述支撑架固定安装在地面上,所述安装架19的一端与所述支撑架通过销轴20铰接连接,另一端与所述翻转气缸21固定连接,所述翻转气缸21固定安装在所述支撑架上,所述翻转气缸21与所述PLC上位机22电性连接。
 
进一步,所述送料振动筛2和所述补料振动筛3对称固定安装所述工作平台1上,所述送料振动筛2的底部固定安装有第一称重传感器23,所述补料振动筛3的底部固定安装有第二称重传感器24,所述第一称重传感器23和第二称重传感器24分别连接所述PLC上位机22的输入端。
 
进一步,所述分流装置包括进料漏斗4、第一分流输送通道5和第二分流输送通道6,所述进料漏斗4固定安装在所述工作平台1上,位于所述送料振动筛2和补料振动筛3的中间,所述第一分流输送通道5和第二分流输送通道6的一端分别对称安装在所述进料漏斗4的两侧,并与所述进料漏斗4连通,所述第一分流输送通道5和第二分流输送通道6的另一端分别对应位于送料振动筛2和补料振动筛3的上方,其中,所述第一分流输送通道5的出料口13处安装有第一阀门26,所述第二分流输送通道6的出料口13处安装有第二阀门27,所述第一阀门26和第二阀门27分别连接所述PLC上位机22。
 
进一步,所述补料振动筛3的出料口13连接导料板7,所述导料板7的中间设有导料槽,待包装的物料从所述导料槽上导出,所述导料槽的上方安装有同步带14,所述同步带14有同步带14驱动机构驱动,所述同步带14用于向下按压物料,待包装物料从导料槽内导出,所述导料槽的出口处固定安装有对射式光电开关16,所述对射式光电开关16同步带14驱动机构分别连接所述PLC上位机22。
 
进一步,所述同步带14驱动机构至少采用伺服电机。
 
需要说明的是,上述示例仅是对该发明的具体实施方式的其中一种的详细说明,并不能用于限制本发明的保护范围,所有能够实现同步带14驱动的驱动机构,如同步电机或气缸等的简单替换均应落入本发明的保护范围内。
 
进一步,所述输送机构9包括输送带、输送架、输送辊、输送电机28,所述输送辊均匀安装在输送架之间,所述输送带包围在输送辊外圈,位于端部的输送辊的一端与所述输送电机28连接,所述输送电机28连接所述PLC上位机22。
 
进一步,所述输送架上安装有第一位置传感器10和第二位置传感器11,所述第一位置传感器10位于称重装置8处,所述第二位置传感器11位于补料振动筛3的出料口13处。
 
进一步,所述称重装置8包括料仓,料仓上端为进料口,料仓下端为出料口13,所述料仓底部安装有第三称重传感器25,所述料仓的进料口和出料口13处分别安装有仓门29,所述仓门29和第三称重传感器25分别连接所述PLC上位机22。本发明的PLC上位机22的处理器采用西门子6ES72142AS230XB8P。
 
另一种实施例提供一种基于PLC控制的同步带14自动包装方法,其特征在于,包括如下步骤:
 
步骤S1:PLC上位机22控制上料机构将待包装的物料倒入分流装置内;
 
步骤S2:第一称重传感器23和第二称重传感器24分别检测送料振动筛2和补料振动筛3内的物料重量,并将检测结果发送至PLC上位机22,PLC上位机22接收到信号后,对应的控制第一阀门26或第二阀门27打开,或同时打开,以将送料振动筛2和补料振动筛3内补入足够的物料;
 
步骤S3:送料振动筛2内的物料输送至称重装置8的料仓内,称重装置8检测到预设重量的物料时,关闭料仓的进料口;
 
步骤S4:包装盒12放至输送机构9上,经过第一位置传感器10处,第一位置传感器10将信号发送至PLC上位机22,PLC上位机22控制输送电机28停止转动,同时控制称重装置8的料仓的出料口13的仓门29打开,将物料装入包装盒12内;
 
步骤S5:PLC上位机22控制输送电机28启动,同时计算需要补入的物料的数量,如果需要补入,则包装盒12运动至第二位置传感器11处时,控制输送电机28再次停止,然后启动同步带14驱动机构,向包装盒12内补入相应数量的物料,其中对射式光电开关16检测补入物料的数量,当达到补入数量时,PLC上位机22控制同步带14驱动机构停止;
 
步骤S6:然后PLC上位机22控制输送电机28再次启动,将包装盒12输送至封装处进行封装。
 
最后应说明的是:以上各实施例仅用以说明本发明的技术方案,而非对其限制;尽管参照前述各实施例对本发明进行了详细的说明,本领域的普通技术人员应当理解:其依然可以对前述各实施例所记载的技术方案进行修改,或者对其中部分或者全部技术特征进行等同替换;而这些修改或者替换,并不使相应技术方案的本质脱离本发明各实施例技术方案的范围。
相关链接:
同步带 : 
多楔带:  
平带:  
Copyright © 宁波鄞州盖奇同步带轮有限公司 2007-2022 All Rights Reserved.
电话:4006-574-123/0574-27834692 传真:0574-27834691
地址:浙江省宁波市鄞州区姜山镇蔡郎桥村姜南路39-2 E-Mail:sales@belt-pulley.com  
浙ICP备09102982号 盖奇公司网络部提供技术支持 浙公网安备33021202003319号