当前位置:首页->一种用于瓦楞纸加工的高效涂胶机

 一种用于瓦楞纸加工的高效涂胶机

 
【申请公布号:CN109794395A;发明设计人: 胡君; 张晓妍; 许康; 王守业;】
 
摘要:
 
本发明公开了一种用于瓦楞纸加工的高效涂胶机,包括机体,所述机体的侧壁固定连接有驱动电机,所述驱动电机的输出轴贯穿机体的侧壁并同轴固定连接有驱动辊,所述机体的内壁转动连接有清扫辊,所述清扫辊通过同步带与驱动辊传动连接,所述机体的内壁固定连接有沿水平方向设置的横板,所述机体的内壁设有压平装置,所述机体的上端固定连接有储料箱,所述机体的内壁固定连接有滑塞筒,所述滑塞筒内密封滑动连接有滑塞。本发明达到能够防止瓦楞纸翘起或者鼓起、能够增强胶水流动性、能够无损清理导带上粘附的胶水、能够对瓦楞纸精确涂胶的效果。 
 
主权项:
 
1.一种用于瓦楞纸加工的高效涂胶机,包括机体(1),其特征在于,所述机体(1)的侧壁固定连接有驱动电机,所述驱动电机的输出轴贯穿机体(1)的侧壁并同轴固定连接有驱动辊(20),所述机体(1)的内壁转动连接有清扫辊(19),所述清扫辊(19)通过同步带与驱动辊(20)传动连接,所述机体(1)的内壁固定连接有沿水平方向设置的横板(18),所述机体(1)的内壁设有压平装置,所述机体(1)的上端固定连接有储料箱(7),所述机体(1)的内壁固定连接有滑塞筒(26),所述滑塞筒(26)内密封滑动连接有滑塞(25),所述滑塞(25)上安装有仅允许胶水从左往右流动的第一单向阀(24),所述储料箱(7)的通过第一导管(8)与滑塞筒(26)的左端部连通,所述滑塞(25)的侧壁固定连接有推杆,所述机体(1)的内壁安装有用于驱动推杆往复移动的往复装置,所述机体(1)的内设有喷胶头(9),所述机体(1)的内壁安装有用于喷胶头(9)移动的水平移动装置,所述喷胶头(9)通过第二导管(29)与滑塞筒(26)的右端连通,且连通处安装有第二单向阀(28),所述机体(1)的内壁开设有加热腔(5),所述机体(1)的侧壁固定连接有水箱(2),所述水箱(2)通过连通腔(4)与加热腔(5)连通,所述加热腔(5)内部的下方空间内设有电热管(3),而电热管(3)上方的加热腔内形成一个滑塞腔,所述滑塞腔内设有一个可左右滑动的防水活塞(6),所述机体(1)的侧壁中还安装有用于推动活塞(6)移动的操作部件,所述机体(1)的内底部固定连接有收集箱(12),所述收集箱(12)位于喷胶头(9)的下端。 
 
要求:
 
1.一种用于瓦楞纸加工的高效涂胶机,包括机体(1),其特征在于,所述机体(1)的侧壁固定连接有驱动电机,所述驱动电机的输出轴贯穿机体(1)的侧壁并同轴固定连接有驱动辊(20),所述机体(1)的内壁转动连接有清扫辊(19),所述清扫辊(19)通过同步带与驱动辊(20)传动连接,所述机体(1)的内壁固定连接有沿水平方向设置的横板(18),所述机体(1)的内壁设有压平装置,所述机体(1)的上端固定连接有储料箱(7),所述机体(1)的内壁固定连接有滑塞筒(26),所述滑塞筒(26)内密封滑动连接有滑塞(25),所述滑塞(25)上安装有仅允许胶水从左往右流动的第一单向阀(24),所述储料箱(7)的通过第一导管(8)与滑塞筒(26)的左端部连通,所述滑塞(25)的侧壁固定连接有推杆,所述机体(1)的内壁安装有用于驱动推杆往复移动的往复装置,所述机体(1)的内设有喷胶头(9),所述机体(1)的内壁安装有用于喷胶头(9)移动的水平移动装置,所述喷胶头(9)通过第二导管(29)与滑塞筒(26)的右端连通,且连通处安装有第二单向阀(28),所述机体(1)的内壁开设有加热腔(5),所述机体(1)的侧壁固定连接有水箱(2),所述水箱(2)通过连通腔(4)与加热腔(5)连通,所述加热腔(5)内部的下方空间内设有电热管(3),而电热管(3)上方的加热腔内形成一个滑塞腔,所述滑塞腔内设有一个可左右滑动的防水活塞(6),所述机体(1)的侧壁中还安装有用于推动活塞(6)移动的操作部件,所述机体(1)的内底部固定连接有收集箱(12),所述收集箱(12)位于喷胶头(9)的下端。
 
2.根据权利要求1所述的一种用于瓦楞纸加工的高效涂胶机,其特征在于,所述压平装置包括转动连接在机体(1)内壁的圆盘(15),所述圆盘(15)通过同步带与清扫辊(19)传动连接,所述机体(1)的内壁固定连接有固定板(16),所述固定板(16)位于横板(18)的下端,所述固定板(16)的上端通过导向装置固定连接有压板(17),所述压板(17)的下端固定连接有推动杆(13),所述推动杆(13)的下端贯穿固定板(16)并转动连接有连接杆(14),所述连接杆(14)远离推动杆(13)的一端转动连接在圆盘(15)的侧壁上。
 
3.根据权利要求2所述的一种用于瓦楞纸加工的高效涂胶机,其特征在于,所述导向装置包括固定连接在固定板(16)上端的圆筒(11),所述圆筒(11)内套设有活动杆(10),所述活动杆(10)的上端固定连接在所述压板(17)的下端,所述活动杆(10)的侧壁开设有导向槽,所述圆筒(11)的内壁固定连接有导向块,所述导向块滑动连接在导向槽的内壁上。
 
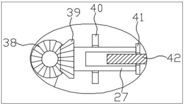
4.根据权利要求1所述的一种用于瓦楞纸加工的高效涂胶机,其特征在于,所述往复装置包括转动连接在机体(1)内壁的第一锥齿轮(38),所述第一锥齿轮(38)通过同步带与清扫辊(19)传动连接,所述机体(1)的内壁固定连接有安装板(40),所述安装板(40)的侧壁贯穿设有圆筒(27),所述圆筒(27)与安装板(40)转动连接,所述圆筒(27)的一端固定连接有与第一锥齿轮(38)啮合的第二锥齿轮(39),所述圆筒(27)的筒口处安装有第一丝杠螺母(41),所述第一丝杠螺母(41)上安装有有第一往复丝杠(42),所述第一往复丝杠(42)固定连接在推杆的侧壁上。
 
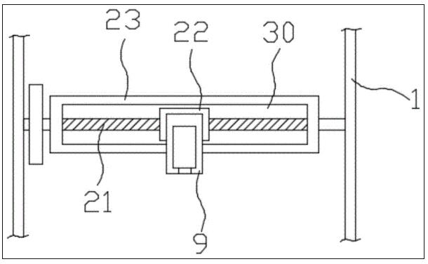
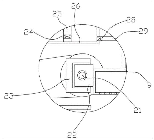
5.根据权利要求1所述的一种用于瓦楞纸加工的高效涂胶机,其特征在于,所述水平移动装置包括固定连接在机体(1)内壁上的条形板(23),所述条形板(23)的侧壁开设有条形槽,所述条形槽的内壁转动连接有第二往复丝杠(21),所述第二往复丝杠(21)远离条形槽(43)内壁的一端转动连接在机体(1)的内壁上,所述第二往复丝杠(21)通过同步带与清扫辊(19)传动连接,所述第二往复丝杠(21)上安装有第二丝杠螺母(22),所述喷胶头(9)固定连接在第二丝杠螺母(22)上。
 
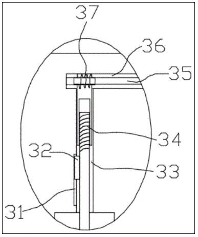
6.根据权利要求1所述的一种用于瓦楞纸加工的高效涂胶机,其特征在于,所述操作部件包括开设在机体(1)内壁中的装置腔(36),所述机体(1)的侧壁贯穿设有转动连接在装置腔(36)内壁的蜗杆(35),所述装置腔(36)的内壁转动连接有与蜗杆(35)相啮合的蜗轮(37),所述机体(1)的内壁开设有与装置腔(36)连通的圆腔(33),所述圆腔(33)内设有圆筒,所述圆筒位于装置腔(36)内的一端与蜗轮(37)同轴固定连接,所述圆筒内螺纹连接有螺纹杆(34),所述螺纹杆(34)远离圆筒的一端固定连接在所述喷胶头(9)的上端。
 
7.根据权利要求6所述的一种用于瓦楞纸加工的高效涂胶机,其特征在于,所述圆腔(33)的内壁开设有滑槽(31),所述滑槽(31)内滑动连接滑块(32),所述滑块(32)的固定连接在螺纹杆(34)的侧壁上。
 
8.根据权利要求6所述的一种用于瓦楞纸加工的高效涂胶机,其特征在于,所述蜗杆(35)位于机体(1)外的一端固定连接有转轮,所述转轮的侧壁胶合有橡胶套,所述橡胶套的侧壁设有多道防滑槽,多道所述防滑槽均布在所述橡胶套的侧壁上。
 
一种用于瓦楞纸加工的高效涂胶机
技术领域
 
本发明涉及机械技术领域,尤其涉及一种用于瓦楞纸加工的高效涂胶机。
 
背景技术
 
瓦楞纸是由挂面纸和通过瓦楞棍加工而形成的波形的瓦楞纸粘合而成的板状物,一般分为单瓦楞纸板和双瓦楞纸板两类,按照瓦楞的尺寸分为:A、B、C、E、F五种类型。瓦楞纸的发明和应用有一百多年历史,具有成本低、质量轻、加工易、强度大、印刷适应性样优良、储存搬运方便等优点,80%以上的瓦楞纸均可通过回收再生,瓦楞纸可用作食品或者数码产品的包装,相对环保,使用较为广泛。
 
涂胶机又称为涂覆机,刮胶机、自动喷胶机等。主要用以将液态胶水涂在纺织品、纸盒或者皮革表面上的一种机械设备,现有的涂胶机有很多种款式,如:鼓式涂胶机、双作用涂胶机、双工位升降涂胶机等。涂胶机是通过一定的方法将胶水或者油漆之类的液体喷涂到所需要的产品上。
 
目前需要研发一种能够防止瓦楞纸翘起或者鼓起、能够增强胶水流动性、能够无损清理导带上粘附的胶水、能够对瓦楞纸精确涂胶的用于瓦楞纸加工的高效涂胶机,来克服现有技术中涂胶机存在不能够防止瓦楞纸翘起或者鼓起、不能够增强胶水流动性、不能够无损清理导带上粘附的胶水、不能够对瓦楞纸精确涂胶的缺点。
 
发明内容
 
本发明的目的是为了解决现有技术中存在的缺点,而提出的一种用于瓦楞纸加工的高效涂胶机。
 
为了实现上述目的,本发明采用了如下技术方案:
 
一种用于瓦楞纸加工的高效涂胶机,包括机体,所述机体的侧壁固定连接有驱动电机,所述驱动电机的输出轴贯穿机体的侧壁并同轴固定连接有驱动辊,所述机体的内壁转动连接有清扫辊,所述清扫辊通过同步带与驱动辊传动连接,所述机体的内壁固定连接有沿水平方向设置的横板,所述机体的内壁设有压平装置,所述机体的上端固定连接有储料箱,所述机体的内壁固定连接有滑塞筒,所述滑塞筒内密封滑动连接有滑塞,所述滑塞上安装有仅允许胶水从左往右流动的第一单向阀,所述储料箱的通过第一导管与滑塞筒的左端部连通,所述滑塞的侧壁固定连接有推杆,所述机体的内壁安装有用于驱动推杆往复移动的往复装置,所述机体的内设有喷胶头,所述机体的内壁安装有用于喷胶头移动的水平移动装置,所述喷胶头通过第二导管与滑塞筒的右端连通,且连通处安装有第二单向阀,所述机体的内壁开设有加热腔,所述机体的侧壁固定连接有水箱,所述水箱通过连通腔与加热腔连通,所述加热腔内部的下方空间内设有电热管,而电热管上方的加热腔内形成一个滑塞腔,所述滑塞腔内设有一个可左右滑动的防水活塞,所述机体的侧壁中还安装有用于推动活塞移动的操作部件,所述机体的内底部固定连接有收集箱,所述收集箱位于喷胶头的下端。
 
优选地,所述压平装置包括转动连接在机体内壁的圆盘,所述圆盘通过同步带与清扫辊传动连接,所述机体的内壁固定连接有固定板,所述固定板位于横板的下端,所述固定板的上端通过导向装置固定连接有压板,所述压板的下端固定连接有推动杆,所述推动杆的下端贯穿固定板并转动连接有连接杆,所述连接杆远离推动杆的一端转动连接在圆盘的侧壁上。
 
优选地,所述导向装置包括固定连接在固定板上端的圆筒,所述圆筒内套设有活动杆,所述活动杆的上端固定连接在所述压板的下端,所述活动杆的侧壁开设有导向槽,所述圆筒的内壁固定连接有导向块,所述导向块滑动连接在导向槽的内壁上。
 
优选地,所述往复装置包括转动连接在机体内壁的第一锥齿轮,所述第一锥齿轮通过同步带与清扫辊传动连接,所述机体的内壁固定连接有安装板,所述安装板的侧壁贯穿设有圆筒,所述圆筒与安装板转动连接,所述圆筒的一端固定连接有与第一锥齿轮啮合的第二锥齿轮,所述圆筒的筒口处安装有第一丝杠螺母,所述第一丝杠螺母上安装有有第一往复丝杠,所述第一往复丝杠固定连接在推杆的侧壁上。
 
优选地,所述水平移动装置包括固定连接在机体内壁上的条形板,所述条形板的侧壁开设有条形槽,所述条形槽的内壁转动连接有第二往复丝杠,所述第二往复丝杠远离条形槽内壁的一端转动连接在机体的内壁上,所述第二往复丝杠通过同步带与清扫辊传动连接,所述第二往复丝杠上安装有第二丝杠螺母,所述喷胶头固定连接在第二丝杠螺母上。
 
优选地,所述操作部件包括开设在机体内壁中的装置腔,所述机体的侧壁贯穿设有转动连接在装置腔内壁的蜗杆,所述装置腔的内壁转动连接有与蜗杆相啮合的蜗轮,所述机体的内壁开设有与装置腔连通的圆腔,所述圆腔内设有圆筒,所述圆筒位于装置腔内的一端与蜗轮同轴固定连接,所述圆筒内螺纹连接有螺纹杆,所述螺纹杆远离圆筒的一端固定连接在所述喷胶头的上端。
 
优选地,所述圆腔的内壁开设有滑槽,所述滑槽内滑动连接滑块,所述滑块的固定连接在螺纹杆的侧壁上。
 
优选地,所述蜗杆位于机体外的一端固定连接有转轮,所述转轮的侧壁胶合有橡胶套,所述橡胶套的侧壁设有多道防滑槽,多道所述防滑槽均布在所述橡胶套的侧壁上。
 
本发明具有以下有益效果:
 
1、过驱动辊对待涂胶的瓦楞纸进行输送,当瓦楞纸运输到清扫辊的下端时,清扫辊转动对瓦楞纸上端面进行清扫,减少灰尘对瓦楞纸涂胶的影响;
 
2、通过连接杆带动推动杆上下往复移动,推动杆上下往复移动使压板对瓦楞纸进行压平,保证瓦楞纸板的平整;
 
3、第一锥齿轮转动带动与之啮合的第二锥齿轮转动,第二锥齿轮转动带动圆筒转动,圆筒转动通过第一丝杠螺母带动第一往复丝杠往复移动,第一往复丝杠往复移动带动喷胶头对瓦楞纸进行喷胶,通过第二往复丝杠带动第二丝杠螺母往复移动,使喷胶头喷洒范围更广。
 
附图说明
 
一种用于瓦楞纸加工的高效涂胶机
图1为本发明提出的一种用于瓦楞纸加工的高效涂胶机的结构示意图;
 
一种用于瓦楞纸加工的高效涂胶机
图2为图1中的A处结构放大示意图;
 
一种用于瓦楞纸加工的高效涂胶机
图3为图1中的B处结构放大示意图;
 
一种用于瓦楞纸加工的高效涂胶机
图4为图1中的C处结构放大示意图;
 
一种用于瓦楞纸加工的高效涂胶机
图5为本发明提出的一种用于瓦楞纸加工的高效涂胶机条形板的侧面结构示意图。
 
图中:1机体、2水箱、3电热管、4连通腔、5加热腔、6活塞、7储料箱、8第一导管、9喷胶头、10活动杆、11圆筒、12收集箱、13推动杆、14连接杆、15圆盘、16固定板、17压板、18横板、19清扫辊、20驱动辊、21第二往复丝杠、22第二丝杠螺母、23条形板、24第一单向阀、25滑塞、26滑塞筒、27圆筒、28第二单向阀、29第二导管、30条形槽、31滑槽、32滑块、33圆腔、34螺纹杆、35蜗杆、36装置腔、37蜗轮、38第一锥齿轮、39第二锥齿轮、40安装板、41第一丝杠螺母、42第一往复丝杠。
 
具体实施方式
 
为使本发明的上述目的、特征和优点能够更加明显易懂,下面结合附图对本发明的具体实施方式做详细的说明。在下面的描述中阐述了很多具体细节以便于充分理解本发明。但是本发明能够以很多不同于在此描述的其它方式来实施,本领域技术人员可以在不违背本发明内涵的情况下做类似改进,因此本发明不受下面公开的具体实施的限制。
 
需要说明的是,当元件被称为“固定于”另一个元件,它可以直接在另一个元件上或者也可以存在居中的元件。当一个元件被认为是“连接”另一个元件,它可以是直接连接到另一个元件或者可能同时存在居中元件。本文所使用的术语“垂直的”、“水平的”、“左”、“右”以及类似的表述只是为了说明的目的,并不表示是唯一的实施方式。
 
除非另有定义,本文所使用的所有的技术和科学术语与属于本发明的技术领域的技术人员通常理解的含义相同。本文中在本发明的说明书中所使用的术语只是为了描述具体的实施例的目的,不是旨在于限制本发明。本文所使用的术语“及/或”包括一个或多个相关的所列项目的任意的和所有的组合。
 
参照图1-4,一种用于瓦楞纸加工的高效涂胶机,包括机体1,机体1的侧壁固定连接有驱动电机,驱动电机的输出轴贯穿机体1的侧壁并同轴固定连接有驱动辊20,机体1的内壁转动连接有清扫辊19,清扫辊19通过同步带与驱动辊20传动连接,机体1的内壁固定连接有沿水平方向设置的横板18,机体1的内壁设有压平装置,压平装置包括转动连接在机体1内壁的圆盘15,圆盘15通过同步带与清扫辊19传动连接,机体1的内壁固定连接有固定板16,固定板16位于横板18的下端。
 
固定板16的上端通过导向装置固定连接有压板17,导向装置包括固定连接在固定板16上端的圆筒11,圆筒11内套设有活动杆10,活动杆10的上端固定连接在压板17的下端,活动杆10的侧壁开设有导向槽,圆筒11的内壁固定连接有导向块,导向块滑动连接在导向槽的内壁上,压板17的下端固定连接有推动杆13,推动杆13的下端贯穿固定板16并转动连接有连接杆14,连接杆14远离推动杆13的一端转动连接在圆盘15的侧壁上。
 
机体1的上端固定连接有储料箱7,机体1的内壁固定连接有滑塞筒26,滑塞筒26内密封滑动连接有滑塞25,滑塞25上安装有仅允许胶水从左往右流动的第一单向阀24,储料箱7的通过第一导管8与滑塞筒26的左端部连通,滑塞25的侧壁固定连接有推杆。
 
机体1的内壁安装有用于驱动推杆往复移动的往复装置,水平移动装置包括固定连接在机体1内壁上的条形板23,条形板23的侧壁开设有条形槽,条形槽的内壁转动连接有第二往复丝杠21,第二往复丝杠21远离条形槽43内壁的一端转动连接在机体1的内壁上,第二往复丝杠21通过同步带与清扫辊19传动连接,第二往复丝杠21上安装有第二丝杠螺母22,喷胶头9固定连接在第二丝杠螺母22上。
 
往复装置包括转动连接在机体1内壁的第一锥齿轮38,第一锥齿轮38通过同步带与清扫辊19传动连接,机体1的内壁固定连接有安装板40,安装板40的侧壁贯穿设有圆筒27,圆筒27与安装板40转动连接,圆筒27的一端固定连接有与第一锥齿轮38啮合的第二锥齿轮39,圆筒27的筒口处安装有第一丝杠螺母41,第一丝杠螺母41上安装有有第一往复丝杠42,第一往复丝杠42固定连接在推杆的侧壁上。
 
机体1的内设有喷胶头9,机体1的内壁安装有用于喷胶头9移动的水平移动装置,喷胶头9通过第二导管29与滑塞筒26的右端连通,且连通处安装有第二单向阀28,机体1的内壁开设有加热腔5,机体1的侧壁固定连接有水箱2,水箱2通过连通腔4与加热腔5连通,加热腔5内部的下方空间内设有电热管3,而电热管3上方的加热腔内形成一个滑塞腔,滑塞腔内设有一个可左右滑动的防水活塞6。
 
机体1的侧壁中还安装有用于推动活塞6移动的操作部件,操作部件包括开设在机体1内壁中的装置腔36,机体1的侧壁贯穿设有转动连接在装置腔36内壁的蜗杆35,装置腔36的内壁转动连接有与蜗杆35相啮合的蜗轮37,机体1的内壁开设有与装置腔36连通的圆腔33,圆腔33内设有圆筒,圆筒位于装置腔36内的一端与蜗轮37同轴固定连接,圆筒内螺纹连接有螺纹杆34,圆腔33的内壁开设有滑槽31,滑槽31内滑动连接滑块32,滑块32的固定连接在螺纹杆34的侧壁上,螺纹杆34远离圆筒的一端固定连接在喷胶头9的上端,机体1的内底部固定连接有收集箱12,收集箱12位于喷胶头9的下端。
 
蜗杆35位于机体1外的一端固定连接有转轮,转轮的侧壁胶合有橡胶套,橡胶套的侧壁设有多道防滑槽,多道防滑槽均布在橡胶套的侧壁上。
 
本发明中,该装置在使用时,通过驱动辊20对待涂胶的瓦楞纸进行输送,当瓦楞纸运输到清扫辊19的下端时,清扫辊19转动对瓦楞纸上端面进行清扫,清扫完毕后瓦楞纸被输送到横板18的下方,此时,圆盘15转动通过连接杆14带动推动杆13上下往复移动,推动杆13上下往复移动使压板17对瓦楞纸进行压平,压平后的瓦楞纸板被输送到喷胶头9进行喷胶,清扫辊19转动通过同步带带动第一锥齿轮38转动,第一锥齿轮38转动带动与之啮合的第二锥齿轮39转动,第二锥齿轮39转动带动圆筒27转动,圆筒27转动通过第一丝杠螺母41带动第一往复丝杠42往复移动,第一往复丝杠42往复移动带动喷胶头9对瓦楞纸进行喷胶,通过第二往复丝杠21带动第二丝杠螺母22往复移动,使喷胶头9喷洒范围更广。
 
以上所述,仅为本发明较佳的具体实施方式,但本发明的保护范围并不局限于此,任何熟悉本技术领域的技术人员在本发明揭露的技术范围内,根据本发明的技术方案及其发明构思加以等同替换或改变,都应涵盖在本发明的保护范围之内。
Copyright © 宁波鄞州盖奇同步带轮有限公司 2007-2022 All Rights Reserved.
电话:4006-574-123/0574-27834692 传真:0574-27834691
地址:浙江省宁波市鄞州区姜山镇蔡郎桥村姜南路39-2 E-Mail:sales@belt-pulley.com  
浙ICP备09102982号 盖奇公司网络部提供技术支持 浙公网安备33021202003319号