当前位置:首页->微型变宽平皮带输送线

 微型变宽平皮带输送线

【授权公告号:CN208948184U;申请权利人:昆山佰奥智能装备股份有限公司;发明设计人:黄凯; 龚向阳; 林久松; 廖小东; 刘名星; 王宇;】
 
摘要:
 
本实用新型公开了一种微型变宽平皮带输送线,包括一对沿竖直方向间隔设置的箱体前、后侧板,该箱体前、后侧板的上方水平架设有型材支架,该型材支架的两端分别设有惰轮;箱体前、后侧板之间架设有主动轮,同一侧外固定有电机,电机侧同步带轮与主动轮侧同步带轮之间通过同步带传动连接;皮带套设于主动轮和两个惰轮之间,箱体前、后侧板的左、右两侧分别对应设有定位槽,以及对应定位槽外分别设有定位块,定位块上设有定位螺钉,一对张紧轮的两端分别卡入两对定位槽并将皮带张紧后通过定位块和定位螺钉固定。该微型平皮带输送线可实现快速更换皮带,拆掉底部护罩和张紧轮组,无需拆卸侧板和其他轮组结构,即可将皮带从侧面绕出进行更换。 
 
主权项:
 
1.一种微型变宽平皮带输送线,其特征在于:包括一对沿竖直方向间隔设置的箱体前侧板(1)和箱体后侧板(2),该箱体前侧板和箱体后侧板的上方水平架设有型材支架(3),该型材支架的两端分别设有惰轮(4);所述箱体前侧板(1)和箱体后侧板(2)之间架设有主动轮(5),该主动轮(5)的一端上固定有主动轮侧同步带轮(6);所述箱体前侧板(1)和箱体后侧板(2)的同一侧外固定有与所述主动轮平行的电机(7),该电机的输出轴上固定有电机侧同步带轮(8),该电机侧同步带轮与所述主动轮侧同步带轮之间通过同步带(9)传动连接;皮带(10)套设于所述主动轮和两个惰轮之间,所述箱体前侧板(1)和箱体后侧板(2)的左、右两侧分别对应设有一定位槽(11),以及对应每一定位槽外分别设有一定位块(12),每一该定位块上设有一定位螺钉(13),一对张紧轮(14)的两端分别卡入两对定位槽并将所述皮带张紧后通过所述定位块和定位螺钉固定。 
 
 
要求:
1.一种微型变宽平皮带输送线,其特征在于:包括一对沿竖直方向间隔设置的箱体前侧板(1)和箱体后侧板(2),该箱体前侧板和箱体后侧板的上方水平架设有型材支架(3),该型材支架的两端分别设有惰轮(4);所述箱体前侧板(1)和箱体后侧板(2)之间架设有主动轮(5),该主动轮(5)的一端上固定有主动轮侧同步带轮(6);所述箱体前侧板(1)和箱体后侧板(2)的同一侧外固定有与所述主动轮平行的电机(7),该电机的输出轴上固定有电机侧同步带轮(8),该电机侧同步带轮与所述主动轮侧同步带轮之间通过同步带(9)传动连接;皮带(10)套设于所述主动轮和两个惰轮之间,所述箱体前侧板(1)和箱体后侧板(2)的左、右两侧分别对应设有一定位槽(11),以及对应每一定位槽外分别设有一定位块(12),每一该定位块上设有一定位螺钉(13),一对张紧轮(14)的两端分别卡入两对定位槽并将所述皮带张紧后通过所述定位块和定位螺钉固定。
 
2.根据权利要求1所述的微型变宽平皮带输送线,其特征在于:所述箱体前侧板(1)和箱体后侧板(2)的左、右两侧之间和底边之间分别设有箱体左侧板(15)、箱体右侧板(16)和箱体底板(17),该箱体左侧板(15)、箱体右侧板(16)和箱体底板(17)与所述箱体前侧板(1)和箱体后侧板(2)形成封闭的箱体框架。
 
3.根据权利要求2所述的微型变宽平皮带输送线,其特征在于:所述箱体左侧板(15)、箱体右侧板(16)和箱体底板(17)为一体成型的传动壳体。
 
4.根据权利要求1所述的微型变宽平皮带输送线,其特征在于:所述定位螺钉从所述定位块进入所述定位槽并所述张紧轮固定于所述定位槽内。
 
5.根据权利要求1所述的微型变宽平皮带输送线,其特征在于:所述惰轮通过惰轮支撑件(18)安装于所述型材支架上。
 
6.根据权利要求1所述的微型变宽平皮带输送线,其特征在于:所述电机为调速电机。
 
7.根据权利要求1所述的微型变宽平皮带输送线,其特征在于:所述箱体前侧板(1)和箱体后侧板(2)之间设有等高支撑轴(19)。
 
8.根据权利要求1所述的微型变宽平皮带输送线,其特征在于:所述型材支架为型材搭接成方形框架,并在该方形框架上设置支撑板形成。
 
微型变宽平皮带输送线
技术领域
 
本实用新型涉及非标自动化行业物料运输设备,尤其涉及一种微型变宽平皮带输送线。
 
背景技术
 
传统输送机在更换皮带时需拆卸侧板,不仅更换时间过长,并且侧板是重要工件,拆卸对整机结构有所影响。
 
发明内容
 
为了克服上述缺陷,本实用新型提供了一种微型变宽平皮带输送线,拆卸更换皮带非常快捷,易于组装。
 
本实用新型为了解决其技术问题所采用的技术方案是:一种微型变宽平皮带输送线,包括一对沿竖直方向间隔设置的箱体前侧板和箱体后侧板,该箱体前侧板和箱体后侧板的上方水平架设有型材支架,该型材支架的两端分别设有惰轮;所述箱体前侧板和箱体后侧板之间架设有主动轮,该主动轮的一端上固定有主动轮侧同步带轮;所述箱体前侧板和箱体后侧板的同一侧外固定有与所述主动轮平行的电机,该电机的输出轴上固定有电机侧同步带轮,该电机侧同步带轮与所述主动轮侧同步带轮之间通过同步带传动连接;皮带套设于所述主动轮和两个惰轮之间,所述箱体前侧板和箱体后侧板的左、右两侧分别对应设有一定位槽,以及对应每一定位槽外分别设有一定位块,每一该定位块上设有一定位螺钉,一对张紧轮的两端分别卡入两对定位槽并将所述皮带张紧后通过所述定位块和定位螺钉固定。
 
作为本实用新型的进一步改进,所述箱体前侧板和箱体后侧板的左、右两侧之间和底边之间分别设有箱体左侧板、箱体右侧板和箱体底板,该箱体左侧板、箱体右侧板和箱体底板与所述箱体前侧板和箱体后侧板形成封闭的箱体框架。
 
作为本实用新型的进一步改进,所述箱体左侧板、箱体右侧板和箱体底板为一体成型的传动壳体。
 
作为本实用新型的进一步改进,所述定位螺钉从所述定位块进入所述定位槽并所述张紧轮固定于所述定位槽内。
 
作为本实用新型的进一步改进,所述惰轮通过惰轮支撑件安装于所述型材支架上。
 
作为本实用新型的进一步改进,所述电机为调速电机。
 
作为本实用新型的进一步改进,所述箱体前侧板和箱体后侧板之间设有等高支撑轴。
 
作为本实用新型的进一步改进,所述型材支架为型材搭接成方形框架,并在该方形框架上设置支撑板形成。
 
本实用新型的有益效果是:该微型平皮带输送线可实现快速更换皮带,拆掉底部护罩和张紧轮组,无需拆卸侧板和其他轮组结构,即可将皮带从侧面绕出进行更换,非常简单快捷;电机采用调速电机侧面安装,传动主体位置可调,位置可根据实际使用情况确定;型材支架由型材搭接形成,输送线宽度可调,可根据使用产品类型进行选择。总之,该微型平皮带输送线具有结构紧凑占用空间小,流线宽度可调,运行稳定噪声低,过载自保护,拆装、更换皮带方便,易于组装维护,内部张紧后对输送线长度无影响,主体位置可调,通用性能好(型材槽可使用标准通用安装附件)等优点。
 
附图说明
 
微型变宽平皮带输送线
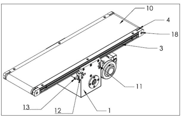
图1为本实用新型结构示意图;
 
微型变宽平皮带输送线
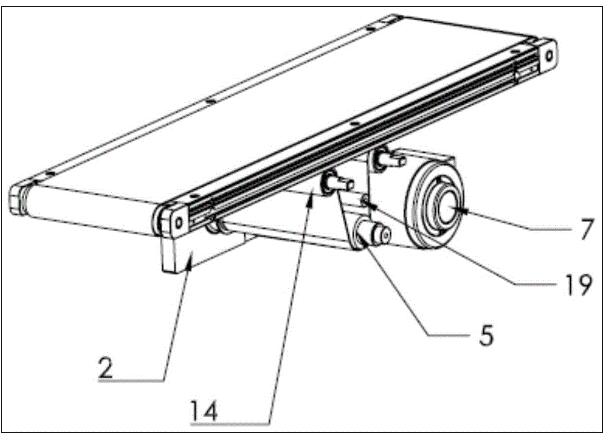
图2为本实用新型内部结构示意图;
 
微型变宽平皮带输送线
图3为图2的另一视角结构示意图;
 
微型变宽平皮带输送线
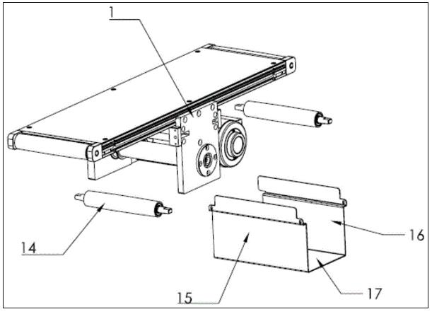
图4为本实用新型分解结构示意图;
 
微型变宽平皮带输送线
图5为本实用新型所述型材支架分解结构示意图。
 
结合附图,作以下说明:
 
1——箱体前侧板; 2——箱体后侧板;
 
3——型材支架; 4——惰轮;
 
5——主动轮; 6——主动轮侧同步带轮;
 
7——电机; 8——电机侧同步带轮;
 
9——同步带; 10——皮带;
 
11——定位槽; 12——定位块;
 
13——定位螺钉; 14——张紧轮;
 
15——箱体左侧板; 16——箱体右侧板;
 
17——箱体底板; 18——惰轮支撑件;
 
19——等高支撑轴。
 
具体实施方式
 
以下结合附图,对本实用新型的一个较佳实施例作详细说明。但本实用新型的保护范围不限于下述实施例,即但凡以本实用新型申请专利范围及说明书内容所作的简单的等效变化与修饰,皆仍属本实用新型专利涵盖范围之内。
参阅图1-5,为本实用新型所述的一种微型变宽平皮带输送线,包括一对沿竖直方向间隔设置的箱体前侧板1和箱体后侧板2,该箱体前侧板和箱体后侧板的上方水平架设有型材支架3,该型材支架的两端分别设有惰轮4;所述箱体前侧板1和箱体后侧板2之间架设有主动轮5,该主动轮5的一端上固定有主动轮侧同步带轮6;所述箱体前侧板1和箱体后侧板2的同一侧外固定有与所述主动轮平行的电机7,该电机的输出轴上固定有电机侧同步带轮8,该电机侧同步带轮与所述主动轮侧同步带轮之间通过同步带9传动连接;皮带10套设于所述主动轮和两个惰轮之间,所述箱体前侧板1和箱体后侧板2的左、右两侧分别对应设有一定位槽11,以及对应每一定位槽外分别设有一定位块12,每一该定位块上设有一定位螺钉13,一对张紧轮14的两端分别卡入两对定位槽并将所述皮带张紧后通过所述定位块和定位螺钉固定。 同步带安装
 
其中,箱体前侧板1和箱体后侧板2的左、右两侧之间和底边之间分别设有箱体左侧板15、箱体右侧板16和箱体底板17,该箱体左侧板15、箱体右侧板16和箱体底板17与所述箱体前侧板1和箱体后侧板2形成封闭的箱体框架。优选的,所述箱体左侧板15、箱体右侧板16和箱体底板17为一体成型的传动壳体。
 
优选的,所述定位螺钉从所述定位块进入所述定位槽并所述张紧轮固定于所述定位槽内;所述惰轮通过惰轮支撑件18安装于所述型材支架上;所述电机为调速电机;所述箱体前侧板1和箱体后侧板2之间设有等高支撑轴19;所述型材支架为型材搭接成方形框架,并在该方形框架上设置支撑板形成。
 
该微型平皮带输送线在安装时,先将箱体前、后侧板通过等高支撑轴定位,然后安装主动轮、电机和上方的型材支架,以及型材支架上的惰轮组件,这些安装后形成半成品,然后将皮带套到两个惰轮和主动轮外侧,再安装两个张紧轮,安装张紧轮时,张紧轮的两端分别从箱体前、后侧板上对应的定位槽卡入并将皮带张紧,最后通过定位块和定位螺钉将张紧轮的两端固定在箱体侧板上,实现张紧轮的固定,从而完成皮带的安装。最后,将箱体左侧板11、箱体右侧板12和箱体底板13形成的一体成型结构即传动壳体从底部卡到箱体前、后侧板上并分别通过螺丝固定,即完成整体安装。
 
在需要更换皮带时,拆卸掉底部的护罩,即箱体左侧板11、箱体右侧板12和箱体底板13形成的传动壳体,以及两个张紧轮,即可将皮带从侧面绕出,无需拆卸侧板和其他轮组结构。
 
由此可见,该微型平皮带输送线可实现快速更换皮带,拆掉底部护罩和张紧轮组,无需拆卸侧板和其他轮组结构,即可将皮带从侧面绕出进行更换,非常简单快捷;电机采用调速电机侧面安装,传动主体位置可调,位置可根据实际使用情况确定;型材支架由型材搭接形成,输送线宽度可调,可根据使用产品类型进行选择。总之,该微型平皮带输送线具有结构紧凑占用空间小,流线宽度可调,运行稳定噪声低,过载自保护,拆装、更换皮带方便,易于组装维护,内部张紧后对输送线长度无影响,主体位置可调,通用性能好(型材槽可使用标准通用安装附件)等优点。
 
Copyright © 宁波鄞州盖奇同步带轮有限公司 2007-2022 All Rights Reserved.
电话:4006-574-123/0574-27834692 传真:0574-27834691
地址:浙江省宁波市鄞州区姜山镇蔡郎桥村姜南路39-2 E-Mail:sales@belt-pulley.com  
浙ICP备09102982号 盖奇公司网络部提供技术支持 浙公网安备33021202003319号