当前位置:首页->零件高速传送机构

 零件高速传送机构

【授权公告号:CN208994648U;申请权利人:适新科技(苏州)有限公司;发明设计人:丁程;】
 
摘要:
 
本实用新型的零件高速传送机构,包括固定位以及设置在固定位上的传动电机,传动电机的转轴连接有传送轴,传送轴上分别同轴设置有主驱动齿轮和副驱动齿轮,固定位中转动连接有联动齿轮,固定位上设有主同步带,固定位的底侧滑动连接有传送板,主同步带与传送板的两端固定,传送板的外侧套设有副同步带,传送板的两端转动连接有夹紧齿轮,两个夹紧齿轮与副同步带啮合,副同步带上连接有抓手安装位;固定位的位置保持固定,传动电机转动后,传送板以V1的速度相对于固定位滑动,抓手安装位以V1的速度相对于传送板同向滑动,即抓手安装位以两倍的V1速度相对于固定位滑动,达到高速传送。 
 
主权项:
 
1.零件高速传送机构,包括固定位(1)以及设置在固定位(1)上的传动电机(2),其特征在于:所述传动电机(2)的转轴连接有传送轴(3),所述传送轴(3)上分别同轴设置有主驱动齿轮(4)和副驱动齿轮(5),所述固定位(1)中转动连接有联动齿轮(6),所述固定位(1)上设有主同步带(7),所述联动齿轮(6)与主驱动齿轮(4)啮合,所述主同步带(7)与联动齿轮(6)啮合,所述固定位(1)的底侧滑动连接有传送板(8),所述主同步带(7)与传送板(8)的两端固定,所述传送板(8)的外侧套设有副同步带(9),所述副同步带(9)与副驱动齿轮(5)啮合,所述传送板(8)的两端转动连接有夹紧齿轮(10),两个所述夹紧齿轮(10)与副同步带(9)啮合,所述副同步带(9)上连接有抓手安装位(11)。同步带轮规格
 
要求:
1.零件高速传送机构,包括固定位(1)以及设置在固定位(1)上的传动电机(2),其特征在于:所述传动电机(2)的转轴连接有传送轴(3),所述传送轴(3)上分别同轴设置有主驱动齿轮(4)和副驱动齿轮(5),所述固定位(1)中转动连接有联动齿轮(6),所述固定位(1)上设有主同步带(7),所述联动齿轮(6)与主驱动齿轮(4)啮合,所述主同步带(7)与联动齿轮(6)啮合,所述固定位(1)的底侧滑动连接有传送板(8),所述主同步带(7)与传送板(8)的两端固定,所述传送板(8)的外侧套设有副同步带(9),所述副同步带(9)与副驱动齿轮(5)啮合,所述传送板(8)的两端转动连接有夹紧齿轮(10),两个所述夹紧齿轮(10)与副同步带(9)啮合,所述副同步带(9)上连接有抓手安装位(11)。
 
2.根据权利要求1所述的零件高速传送机构,其特征在于:所述固定位(1)的底端设有用于传送板(8)滑动导向的导向机构(12),所述导向机构(12)包括设置在传送板(8)上的两条导轨(121),两条所述导轨(121)的截面形状为“工”字形,所述固定位(1)的底侧设置有导向座(122),所述导轨(121)相对滑动的设置在导向座(122)上。小同步带轮最小齿数
 
3.根据权利要求2所述的零件高速传送机构,其特征在于:所述传送板(8)相背于导轨(121)的一侧设置有两条直轨(13),所述抓手安装位(11)上设置有压板(14),所述压板(14)通过螺栓将副同步带(9)的一端固定在抓手安装位(11)上,所述直轨(13)相对滑动的设置在抓手安装位(11)中。
 
4.根据权利要求1所述的零件高速传送机构,其特征在于:所述传动电机(2)连接有减速箱(15),所述传动电机(2)为ABB变频调速电机。
 
5.根据权利要求2所述的零件高速传送机构,其特征在于:所述传送板(8)上设置有固定结构(16),所述固定结构(16)包括驱动座(17),所述夹紧齿轮(10)与驱动座(17)转动连接,所述驱动座(17)通过螺栓与传送板(8)固定连接。
 
6.根据权利要求2所述的零件高速传送机构,其特征在于:所述传送板(8)上设置有限位座(18),所述限位座(18)与固定位(1)抵触。
 
零件高速传送机构
技术领域
 
本实用新型涉及传送机构,具体涉及零件高速传送机构。
 
背景技术
 
随着经济的发展,社会的进步,用人成本增加,生产加工的自动化已经成为必然和社会共识,传送运输是自动化生产系统中的重要组成部分。通常的传动方式有链条,同步带等。相对于其他传动方式,同步带传动凭借它稳定,迅速以及其他优点广泛运用于各个生产行业。
 
现有同步带传动的速度提升主要是依靠电机转速调节,减速箱减速比等方式来实现。此种方式提速,在得到较大同步带传动速度时,同步带传动精度速度对传动稳定性的影响很大。因此,在保证传动稳定性和精准性的前提下,通过电机转速调节,减速箱减速比提高的传动方式的提速空间有限,达不到生产要求。
 
实用新型内容
 
为克服现有技术的不足,本实用新型提出零件高速传送机构,其能在电机转速调节以及减速箱减速比固定不变的情况下,提高零件的传输速度。
 
为实现上述目的,本实用新型的零件高速传送机构,包括固定位以及设置在固定位上的传动电机,传动电机的转轴连接有传送轴,传送轴上分别同轴设置有主驱动齿轮和副驱动齿轮,固定位中转动连接有联动齿轮,固定位上设有主同步带,联动齿轮与主驱动齿轮啮合,主同步带与联动齿轮啮合,固定位的底侧滑动连接有传送板,主同步带与传送板的两端固定,传送板的外侧套设有副同步带,副同步带与副驱动齿轮啮合,传送板的两端转动连接有夹紧齿轮,两个夹紧齿轮与副同步带啮合,副同步带上连接有抓手安装位。
 
进一步的,固定位的底端设有用于传送板滑动导向的导向机构,导向机构包括设置在传送板上的两条导轨,两条导轨的截面形状为“工”字形,固定位的底侧设置有导向座,导轨相对滑动的设置在导向座上。
 
进一步的,传送板相背于导轨的一侧设置有两条直轨,抓手安装位上设置有压板,压板通过螺栓将副同步带的一端固定在抓手安装位上,直轨相对滑动的设置在抓手安装位中。
 
进一步的,传动电机连接有减速箱,传动电机为ABB变频调速电机。
 
进一步的,传送板上设置有固定结构,固定结构包括驱动座,夹紧齿轮与驱动座转动连接,驱动座通过螺栓与传送板固定连接。
 
进一步的,传送板上设置有限位座,限位座与固定位抵触。
 
有益效果:固定位的位置保持固定,传动电机转动后,传动电机通过主同步带带动传送板相对于固定位滑动,传送板上的抓手安装位随传送板的滑动而滑动,此时抓手安装位的速度为V1,传动电机通过副同步带带动抓手安装位相对于传送板滑动,且抓手安装位相对于传送板的滑动方向,与传送板相对于固定位的滑动方向相同,且抓手安装位相对于传送板的滑动速度也为V1,即抓手安装位相对于固定位的传动速度为两倍的V1,从而达到在不改变电机转速调节或者减速箱减速比的情况下,提高了抓手安装位的移动速度。
 
附图说明
 
下面结合附图对本实用新型作进一步描写和阐述。
 
零件高速传送机构
图1是本实施例整体的结构示意图;
 
零件高速传送机构
图2是为了凸显主驱动齿轮、副驱动齿轮与传送板的位置关系的结构示意图;
 
零件高速传送机构
图3是为了凸显主同步带安装与传送板的连接关系的结构示意图;
 
零件高速传送机构
图4是为了凸显副同步带与传送板的连接关系的结构示意图;
 
零件高速传送机构
图5是图1处A处的放大图。
 
附图标记:1、固定位;2、传动电机;3、传送轴;4、主驱动齿轮;5、副驱动齿轮;6、联动齿轮;7、主同步带;8、传送板;9、副同步带;10、夹紧齿轮;11、抓手安装位;12、导向机构;121、导轨;122、导向座;13、直轨;14、压板;15、减速箱;16、固定结构;17、驱动座;18、限位座。同步带轮挡圈
 
具体实施方式
 
下面将结合附图、通过对本实用新型的优选实施方式的描述,更加清楚、完整地阐述本实用新型的技术方案。
 
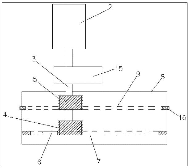
实施例:参考图1,零件高速传送机构,用于在不影响零件的传送稳定性的情况下,提高零件的传送速度。其包括固定位1以及设置在固定位1上的传动电机2,固定位1的位置保持不变,固定位1可以设置在工业机器人上,固定位1的底侧滑动连接有传送板8,传动电机2的转轴连接有传送轴3,结合图3,传送轴3上同轴设置有主驱动齿轮4,固定位1中转动连接有联动齿轮6,主驱动齿轮4与联动齿轮6啮合,前述传送板8上连接有一条主同步带7,主同步带7的两端分别与传送板8滑动方向的两端固定,且主同步带7与联动齿轮6啮合。传动电机2顺时针转动时,通过主驱动齿轮4与联动齿轮6的啮合,联动齿轮6沿逆时针的方向转动,联动齿轮6上同轴设置有供主同步带7与其啮合的啮合部,联动齿轮6通过带动主同步带7移动而带动传送板8以图中V1的方向移动。
 
参考图1和图2,另外,在传送板8的外侧套设有副橡胶同步带9,副同步带9与副驱动齿轮5啮合,副驱动齿轮5上也同轴设置有供副同步带9与其啮合的啮合部,结合图4,传送板8的两端转动连接有夹紧齿轮10,两个夹紧齿轮10与副同步带9啮合,副同步带9上连接有抓手安装位11,副同步带9与抓手安装位11连接的方式为,在抓手安装位11上设置有压板14,压板14通过螺栓与抓手安装位11固定,且压板14将副同步带9的一端抵触并压紧在抓手安装位11上。传动电机2按前述逆时针转动时,副驱动齿轮5随传动电机2逆时针转动,副驱动齿轮5带动副同步带9转动,设置在副同步带9上的抓手安装位11随副同步带9向传送板8移动的方向移动,且抓手安装位11相对于传送板8的移动速度为V1。通过传送板8以及副同步带9的同向且同时移动,抓手安装位11以相对于安装位两倍V1的速度移动,从而在不提高电机转速的情况下,提高了抓手安装位11上抓取的零件的移动速度,避免了电机转速过快造成的稳定性差的情况。
 
参考图1和图5,传送板8相对于固定位1移动时以及抓手安装位11都需保持移动方向的一致性,因此在传送板8的上表面设有导向机构12,导向机构12包括设置在传送板8上表面的两条导轨121,两条导轨121的截面形状均为“工”字形,固定位1的底侧设置有两组导向座122,每两个导向座122为一组,两条导轨121均滑动设置在每组导向座122中。在传送板8的底侧设置有两条直轨13,直轨13的截面形状也为“工”字形,两条直轨13均相对滑动的设置在前述抓手安装位11中。
 
参考图1,传送板8在滑动的过程中,为了避免传送板8完全与固定位1脱离,故在传送板8上设置有限位座18,限位座18随传送板8滑动的过程中与固定位1抵触并被固定位1限位。
 
参考图2,为了降低主驱动齿轮4和副驱动齿轮5的转动速度,达到调整传动电机2的传送比来保证主同步带7和副同步带9的运行稳定性,因此在传动电机2的转轴上连接有减速箱15,而且传动电机2采用ABB变频电机,ABB变频电机传输效果稳定。
 
参考图4和图5,传送板8上设置有固定结构16,固定结构16包括驱动座17,夹紧齿轮10与驱动座17转动连接,驱动座17通过螺栓与传送板8固定连接。通过拆卸驱动座17便可将夹紧齿轮10从传送板8上取下。
 
上述具体实施方式仅仅对本实用新型的优选实施方式进行描述,而并非对本实用新型的保护范围进行限定。在不脱离本实用新型设计构思和精神范畴的前提下,本领域的普通技术人员根据本实用新型所提供的文字描述、附图对本实用新型的技术方案所作出的各种变形、替代和改进,均应属于本实用新型的保护范畴。本实用新型的保护范围由权利要求确定。

 

Copyright © 宁波鄞州盖奇同步带轮有限公司 2007-2022 All Rights Reserved.
电话:4006-574-123/0574-27834692 传真:0574-27834691
地址:浙江省宁波市鄞州区姜山镇蔡郎桥村姜南路39-2 E-Mail:sales@belt-pulley.com  
浙ICP备09102982号 盖奇公司网络部提供技术支持 浙公网安备33021202003319号