当前位置:首页->一种升降式立体车库安全复合制动系统

 一种升降式立体车库安全复合制动系统

 
【申请公布号:CN109930885A;申请权利人:湖南电气职业技术学院;发明设计人: 单武斌; 葛能鹏; 韩自强; 刘军虎;】
 
摘要:
 
本发明公布了一种升降式立体车库安全复合制动系统,包括机架,机架上方设有曳引电机,侧面竖直设有导轨,导轨上设有载车板;曳引电机上设有曳引轮,曳引轮上绕有曳引绳,曳引绳的一端与载车板连接,另一端连接有配重块,机架上设有限速机构,包括第一同步轮、第二同步轮同步带;载车板上设有钳制装置,钳制装置包括箱体、推杆、铰链板、楔形块和限位板,当载车失速下降时,该钳制装置与限速机构配合后抱紧导轨,停止载车板下降。本发明的目的是,提供一种升降式立体车库安全复合制动系统,该制动系统通过钳制装置与限速机构配合对载车板进行全面防失速保护,起到多重保护作用,防止意外的发生。 
 
主权项:
 
1.一种升降式立体车库安全复合制动系统,包括机架(1),所述机架(1)上方设有曳引电机(2),侧面竖直设有导轨(3),导轨(3)上设有可升降的载车板(4);曳引电机(2)的输出轴上设有曳引轮(5),曳引轮(5)上绕有曳引绳(6),所述曳引绳(6)的一端与载车板(4)连接,另一端连接有配重块(7),其特征在于,所述机架(1)上设有限速机构,所述限速机构包括第一同步轮(8)、第二同步轮(9)和同步带(10),第一同步轮(8)设置于机架(1)上方,且与曳引轮(5)配合传动,第二同步轮(9)设置于机架(1)下方,其通过同步带(10)与第一同步轮(8)传动连接;所述载车板(4)上设有钳制装置,所述钳制装置包括箱体(11)、推杆(12)、铰链板(13)、楔形块(14)和限位板(15),所述箱体(11)与载车板(4)固接,且内部设有上小下大的楔形孔(16),所述导轨(3)位于楔形孔(16)中,与之配合,楔形孔(16)内相对设有所述的楔形块(14),所述推杆(12)可移动设置于箱体(11)上,其下端与铰链板(13)一端铰接,上端与限位板(15)连接,铰链板(13)的另一端与楔形块(14)铰接;所述限位板(15)一端与同步带(10)紧接触。 
 
要求:
 
1.一种升降式立体车库安全复合制动系统,包括机架(1),所述机架(1)上方设有曳引电机(2),侧面竖直设有导轨(3),导轨(3)上设有可升降的载车板(4);曳引电机(2)的输出轴上设有曳引轮(5),曳引轮(5)上绕有曳引绳(6),所述曳引绳(6)的一端与载车板(4)连接,另一端连接有配重块(7),其特征在于,所述机架(1)上设有限速机构,所述限速机构包括第一同步轮(8)、第二同步轮(9)和同步带(10),第一同步轮(8)设置于机架(1)上方,且与曳引轮(5)配合传动,第二同步轮(9)设置于机架(1)下方,其通过同步带(10)与第一同步轮(8)传动连接;所述载车板(4)上设有钳制装置,所述钳制装置包括箱体(11)、推杆(12)、铰链板(13)、楔形块(14)和限位板(15),所述箱体(11)与载车板(4)固接,且内部设有上小下大的楔形孔(16),所述导轨(3)位于楔形孔(16)中,与之配合,楔形孔(16)内相对设有所述的楔形块(14),所述推杆(12)可移动设置于箱体(11)上,其下端与铰链板(13)一端铰接,上端与限位板(15)连接,铰链板(13)的另一端与楔形块(14)铰接;所述限位板(15)一端与同步带(10)紧接触。
 
2.根据权利要求1所述的一种升降式立体车库安全复合制动系统,其特征在于,所述限位板(15)端部设有与同步带(10)相配合的通孔(17)。
 
3.根据权利要求2所述的一种升降式立体车库安全复合制动系统,其特征在于,所述通孔(17)内设有与同步带(10)相配合的耐磨橡胶垫。
 
4.根据权利要求1所述的一种升降式立体车库安全复合制动系统,其特征在于,所述曳引电机(2)的输出轴上还设有电磁抱闸(18)。
 
5.根据权利要求1所述的一种升降式立体车库安全复合制动系统,其特征在于,所述第一同步轮(8)上设有刹车装置,所述刹车装置包括沉孔(19)、刹车柱(20)和第一弹簧(21),所述沉孔(19)设置于第一同步轮(8)非轴心处的端面,孔内从内至外依次设置所述的第一弹簧(21)、刹车柱(20),所述沉孔(19)孔口处沿第一同步轮(8)径向设有滑槽(22),滑槽(22)内设有相配合的盖板(23)。
 
6.根据权利要求5所述的一种升降式立体车库安全复合制动系统,其特征在于,所述滑槽(22)内设有顶紧盖板(23)使其盖住刹车柱(20)的第二弹簧(24),第二弹簧(24)一端与盖板(23)连接,另一端与滑槽(22)内的挡板(25)连接。
 
7.根据权利要求5或6所述的一种升降式立体车库安全复合制动系统,其特征在于,所述沉孔(19)孔口处设有一段螺纹,所述刹车柱(20)的末端设与之相配合的螺纹。
 
8.根据权利要求1所述的一种升降式立体车库安全复合制动系统,其特征在于,所述导轨(3)侧面设有凹孔(26),所述凹孔(26)于导轨(3)侧面沿竖直方向均匀间隔设置多个;所述楔形块(14)上靠近导轨(3)的侧面上设有与凹孔(26)相配合的球状凸台(27)。
 
一种升降式立体车库安全复合制动系统
技术领域
 
本发明属于停车库技术领域,具体为一种升降式立体车库安全复合制动系统。
 
背景技术
 
随着我国城市经济和汽车工业的迅速发展,私家小汽车已逐步成为人们出行的代步工具,其拥有量每年都成飞速增长。然而,汽车在给人们带来使得的同时,相应也带来许多困扰。众所周知,城市人口众多,人均使用面积甚少,车位少,停车难。因此,为了充分利用有限的使用面积,缓解停车压力,各种立体式停车库应运而生。
 
随着车辆的不断增加,停车库的需求相应也在不断增加,如果两者之间失去平衡,城市里就会出现道路拥堵、停车安全的一系列问题。数据显示,最近几年我国城市机动车辆平均增长速度在15%~20%,这给停车安全带来了极大的考验,现有立体车库行业还存在许多安全问题,特别是大城市的机动车停车安全事故经常发生,轻则导致财产损失,重则导致人员伤亡等,人们对出行停车安全的问题也是越来越重视。
 
停车安全问题是城市发展过程中出现的问题,停车设施是城市静态交通的主要内容,因此,我们必须重视城市停车安全的问题,并积极探求解决措施。
 
发明内容
 
本发明的目的是针对以上问题,提供一种升降式立体车库安全复合制动系统,该制动系统通过钳制装置与限速机构配合对载车板进行全面防失速保护,起到多重保护作用,防止意外的发生。
 
为实现以上目的,本发明采用的技术方案是:一种升降式立体车库安全复合制动系统,包括机架,所述机架上方设有曳引电机,侧面竖直设有导轨,导轨上设有可升降的载车板;曳引电机的输出轴上设有曳引轮,曳引轮上绕有曳引绳,所述曳引绳的一端与载车板连接,另一端连接有配重块,所述机架上设有限速机构,所述限速机构包括第一同步轮、第二同步轮和同步带,第一同步轮设置于机架上方,且与曳引轮配合传动,第二同步轮设置于机架下方,其通过同步带与第一同步轮传动连接;所述载车板上设有钳制装置,所述钳制装置包括箱体、推杆、铰链板、楔形块和限位板,所述箱体与载车板固接,且内部设有上小下大的楔形孔,所述导轨位于楔形孔中,与之配合,楔形孔内相对设有所述的楔形块,所述推杆可移动设置于箱体上,其下端与铰链板一端铰接,上端与限位板连接,铰链板的另一端与楔形块铰接;所述限位板一端与同步带紧接触。
 
进一步的,所述限位板端部设有与同步带相配合的通孔。
 
进一步的,所述通孔内设有与同步带相配合的耐磨橡胶垫。
 
进一步的,所述曳引电机的输出轴上还设有电磁抱闸。
 
进一步的,所述第一同步轮上设有刹车装置,所述刹车装置包括沉孔、刹车柱和第一弹簧,所述沉孔设置于第一同步轮非轴心处的端面,孔内从内至外依次设置所述的第一弹簧、刹车柱,所述沉孔孔口处沿第一同步轮径向设有滑槽,滑槽内设有相配合的盖板。
 
进一步的,所述滑槽内设有顶紧盖板使其盖住刹车柱的第二弹簧,第二弹簧一端与盖板连接,另一端与滑槽内的挡板连接。
 
进一步的,所述沉孔孔口处设有一段螺纹,所述刹车柱的末端设与之相配合的螺纹。
 
进一步的,所述导轨侧面设有凹孔,所述凹孔于导轨侧面沿竖直方向均匀间隔设置多个;所述楔形块上靠近导轨的侧面上设有与凹孔相配合的球状凸台。
 
本发明的有益效果:该制动系统通过钳制装置与限速机构配合对载车板进行全面防失速保护,起到多重保护作用,防止意外的发生。
 
1、本发明中载车板失速下降时,曳引轮带动第一同步轮急速转动,同步带与限位板做相向滑动,形成动接触,从而快速形成差速,使钳制装置快速制动,抱紧导轨,停止下降,与限位板与机架上静接触相比,其效果是当载车板上升时,同步带对限位板的摩擦力始终向下,使得钳制装置始终不会起刹车作用,即上升速度不受限制;当载车板下降时,同步带对限位板的摩擦力始终向上,摩擦力的大小基本恒定,然而,当载车板失速下降会有向下的加速度,其作用反力向上,与摩擦力叠加后使得钳制装置上的推杆相对于箱体上移,从而得到刹车钳制;保证单向限速保护。
 
2、本发明中当同步带断掉时,载车板飞速下降,曳引绳带动曳引轮转动,带动第一同步轮飞速转动,达到一定速度时,盖板由于离心力的作用下沿滑槽沿移动,此后第一弹簧将刹车柱弹出一段距离,使刹车柱卡在机架上,导致第一同步轮不能转动,从而限制曳引轮转动,使载车板停止下降,起到保护作用。
 
3、本发明中安装刹车柱时,拧动刹车柱,在螺纹配合作用下,刹车柱进入到沉孔内,当拧过螺纹后,刹车柱便可在沉孔内自由移动,防止刹车柱与沉孔安全脱离。
 
4、本发明的制动系统,可靠性高,适于广泛推使用。
 
附图说明
 
一种升降式立体车库安全复合制动系统
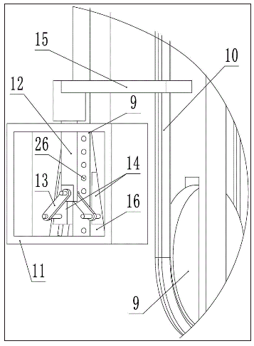
图1为本发明主视结构示意图。
 
一种升降式立体车库安全复合制动系统
图2为本发明图1中A处局部结构示意图。
 
一种升降式立体车库安全复合制动系统
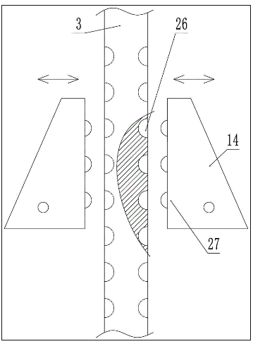
图3为本发明图2中楔形块与导轨配合关系结构示意图。
 
一种升降式立体车库安全复合制动系统
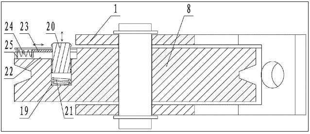
图4为本发明第一同步轮与机架安装关系结构示意图。
 
一种升降式立体车库安全复合制动系统
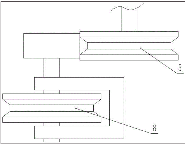
图5为本发明图4中B-B剖面结构示意图。
 
一种升降式立体车库安全复合制动系统
图6为本发明图1中曳引轮与第一同步轮传动连接关系示意图。
 
图中所述文字标注表示为:1、机架;2、曳引电机;3、导轨;4、载车板;5、曳引轮;6、曳引绳;7、配重块;8、第一同步轮;9、第二同步轮;10、同步带;11、箱体;12、推杆;13、铰链板;14、楔形块;15、限位板;16、楔形孔;17、通孔;18、电磁抱闸;19、沉孔;20、刹车柱;21、第一弹簧;22、滑槽;23、盖板;24、第二弹簧;25、挡板;26、凹孔;27、球状凸台。
 
具体实施方式
 
为了使本领域技术人员更好地理解本发明的技术方案,下面结合附图对本发明进行详细描述,本部分的描述仅是示范性和解释性,不应对本发明的保护范围有任何的限制作用。
 
如图1-6所示,本发明的具体结构为:一种升降式立体车库安全复合制动系统,包括机架1,所述机架1上方设有曳引电机2,侧面竖直设有导轨3,导轨3上设有可升降的载车板4;曳引电机2的输出轴上设有曳引轮5,曳引轮5上绕有曳引绳6,所述曳引绳6的一端与载车板4连接,另一端连接有配重块7,所述机架1上设有限速机构,所述限速机构包括第一同步轮8、第二同步轮9和同步带10,第一同步轮8设置于机架1上方,且与曳引轮5配合传动,第二同步轮9设置于机架1下方,其通过同步带10与第一同步轮8传动连接;所述载车板4上设有钳制装置,所述钳制装置包括箱体11、推杆12、铰链板13、楔形块14和限位板15,所述箱体11与载车板4固接,且内部设有上小下大的楔形孔16,所述导轨3位于楔形孔16中,与之配合,楔形孔16内相对设有所述的楔形块14,所述推杆12可移动设置于箱体11上,其下端与铰链板13一端铰接,上端与限位板15连接,铰链板13的另一端与楔形块14铰接;所述限位板15一端与同步带10紧接触。
 
优选的,所述限位板15端部设有与同步带10相配合的通孔17,通孔17内设有耐磨橡胶垫。一方面增大与同步带10的摩擦力,另一方面便于更换。
 
优选的,所述曳引电机2(为步进电机)的输出轴上还设有电磁抱闸18。电磁抱闸的线圈与电机并联,电机接通电源,同时电磁抱闸线圈也得电,衔铁吸合,克服弹簧的拉力使制动器的闸瓦与闸轮分开,电机正常运转,当电机失电,同时电磁抱闸的线圈也失电,衔铁在弹簧拉力作用下,与铁芯分开,并使制动器的闸瓦紧紧抱住闸轮,电机被制动而停转或缓速运转,从而使载车板4起到保护作用。
 
优选的,所述第一同步轮8上设有刹车装置,所述刹车装置包括沉孔19、刹车柱20和第一弹簧21,所述沉孔19设置于第一同步轮8非轴心处的端面,孔内从内至外依次设置所述的第一弹簧21、刹车柱20,所述沉孔19孔口处沿第一同步轮8径向设有滑槽22,滑槽22内设有相配合的盖板23,正常情况下,刹车柱20位于沉孔19内底部,盖板23盖合在刹车柱20前端,第一同步轮8能正常转动。当同步带10断掉时,载车板4飞速下降,曳引绳6带动曳引轮5转动,带动第一同步轮8飞速转动,达到一定速度时,盖板23由于离心力的作用下沿滑槽22沿移动,此后第一弹簧21将刹车柱20弹出一段距离,使刹车柱20卡在机架1上,导致第一同步轮8不能转动,从而限制曳引轮5转动,使载车板4停止下降,起到保护作用。
 
优选的,所述滑槽22内设有顶紧盖板23使其盖住刹车柱20的第二弹簧24,第二弹簧24一端与盖板23连接,另一端与滑槽22内的挡板25连接。第二弹簧24使盖板23盖合在刹车柱20的首端,挡板25对第二弹簧24起限位作用。
 
优选的,所述沉孔19孔口处设有一段螺纹,所述刹车柱20的末端设与之相配合的螺纹。安装刹车柱20时,拧动刹车柱20,在螺纹配合作用下,刹车柱20进入到沉孔19内,当拧过螺纹后,刹车柱20便可在沉孔19内自由移动,防止刹车柱20与沉孔19安全脱离。
 
优选的,所述导轨3侧面设有凹孔26,所述凹孔26于导轨3侧面沿竖直方向均匀间隔设置多个;所述楔形块14上靠近导轨3的侧面上设有与凹孔26相配合的球状凸台27。当钳制装置制动时,楔形块14与导轨3侧面压紧,要么楔形块14上的球状凸台27与凹孔26瞬间咬合住,起刹车作用,要么楔形块14上的球状凸台27经过多次与凹孔26冲击减速后,再通过球状凸台27与凹孔26咬合锁紧,大大提高了钳制装置制动的可靠性。
 
具体使用时,当曳引电机2出现故障时,载车板4飞速下降,曳引轮5带动第一同步轮8急速转动(曳引轮5与摩擦轮接触,摩擦轮通过转轴带动第一同步轮8转动),钳制装置上的限位板15由于与同步带10紧接触,形成差速,使得推杆12拉动铰链板13,从而拉动楔形块14移动,在楔形块14与楔形孔16配合作用下,抱住导轨3,因此让载车板4固定在导轨3上;当曳引绳6断掉时,载车板4飞速下降,钳制装置上的限位板15与同步带10紧接触,同样形成差速,使得推杆12拉动铰链板13,从而拉动楔形块14移动,在楔形块14与楔形孔16配合作用下,抱住导轨3,因此让载车板4固定在导轨3上;即便当曳引绳6、同步带10都断掉时,载车板4突然下降的瞬间,钳制装置上的推杆12、铰链板13、楔形块14也会与载车板4形成差速,使得楔形块14与楔形孔16配合作用下,瞬间抱住导轨3,防止事故的发生,形成多重保护。
 
需要说明的是,在本文中,术语“包括”、“包含”或者其任何其他变体意在涵盖非排他性的包含,从而使得包括一系列要素的过程、方法、物品或者设备不仅包括那些要素,而且还包括没有明确列出的其他要素,或者是还包括为这种过程、方法、物品或者设备所固有的要素。
 
本文中应用了具体个例对本发明的原理及实施方式进行了阐述,以上实例的说明只是用于帮助理解本发明的方法及其核心思想。以上所述仅是本发明的优选实施方式,应当指出,由于文字表达的有限性,而客观上存在无限的具体结构,对于本技术领域的普通技术人员来说,在不脱离本发明原理的前提下,还可以做出若干改进、润饰或变化,也可以将上述技术特征以适当的方式进行组合;这些改进润饰、变化或组合,或未经改进将发明的构思和技术方案直接应用于其它场合的,均应视为本发明的保护范围。
Copyright © 宁波鄞州盖奇同步带轮有限公司 2007-2022 All Rights Reserved.
电话:4006-574-123/0574-27834692 传真:0574-27834691
地址:浙江省宁波市鄞州区姜山镇蔡郎桥村姜南路39-2 E-Mail:sales@belt-pulley.com  
浙ICP备09102982号 盖奇公司网络部提供技术支持 浙公网安备33021202003319号