当前位置:首页->一种现场混装炸药辅助送管装置

 一种现场混装炸药辅助送管装置

 
【申请公布号:CN110230962A;申请权利人:保利民爆哈密有限公司;发明设计人: 董星; 刘辉; 赵明生; 邱海燕; 王庆斌; 王光兵;】
 
摘要:
 
本发明涉及混装炸药输送装置术领域,具体为一种现场混装炸药辅助送管装置,包括呈竖直放置的承载座,承载座上方设有移动夹紧机构,移动夹紧机构包括两个呈镜像分布的移动板,承载座设有同向驱动机构,同向驱动机构驱动两个移动板进行直线同步相向运动的,移动板上设有同步带传动装置,同步带传动装置包括电机、主动轮、从动同步轮、同步带和张紧机构,同步带靠近输药管的一侧呈竖直张设,有益效果为:本发明通过电动推杆,既可以调节左右两个同步带传动装置上同步带之间的距离,又可以调节同步带对输药管的压力,同步带可以很好的牵引输药管正向送管或反向退管,提高送管效率,降低劳动强度,结构简单,构造新颖。 
 
主权项:
 
1.一种现场混装炸药辅助送管装置,包括呈竖直放置的承载座(1),所述承载座(1)上方设有移动夹紧机构,其特征在于:所述移动夹紧机构包括两个呈镜像分布的移动板(2),所述承载座(1)设有同向驱动机构,所述同向驱动机构驱动两个移动板(2)进行直线同步相向运动的,所述移动板(2)上设有同步带传动装置,所述同步带传动装置包括电机(3)、主动轮(4)、从动轮(5)、同步带(6)和张紧机构,所述同步带(6)靠近输药管的一侧呈竖直张设,且该侧的同步带(6)的前进方向与输药管输送方向相同。 
 
要求
 
1.一种现场混装炸药辅助送管装置,包括呈竖直放置的承载座(1),所述承载座(1)上方设有移动夹紧机构,其特征在于:所述移动夹紧机构包括两个呈镜像分布的移动板(2),所述承载座(1)设有同向驱动机构,所述同向驱动机构驱动两个移动板(2)进行直线同步相向运动的,所述移动板(2)上设有同步带传动装置,所述同步带传动装置包括电机(3)、主动轮(4)、从动轮(5)、同步带(6)和张紧机构,所述同步带(6)靠近输药管的一侧呈竖直张设,且该侧的同步带(6)的前进方向与输药管输送方向相同。
 
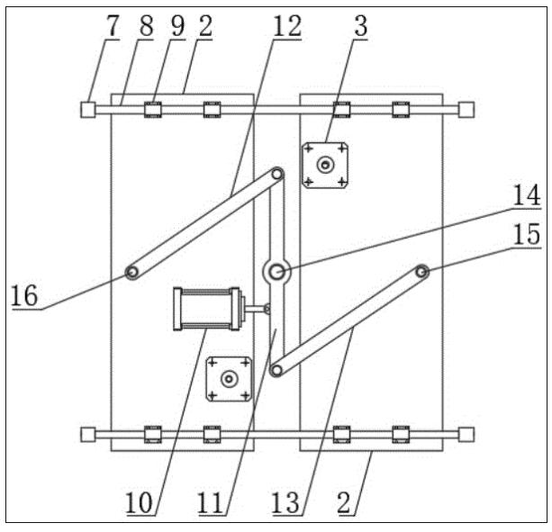
2.根据权利要求1所述的一种现场混装炸药辅助送管装置,其特征在于:所述承载座(1)固定连接滑杆固定块(7),所述滑杆固定块(7)分成两组且每组设有两个,两个所述滑杆固定块(7)分别与滑杆(8)的两端固定连接,所述移动板(2)下表面固定连接四个滑套(9),所述滑套(9)滑动配合滑杆(8)。
 
3.根据权利要求1所述的一种现场混装炸药辅助送管装置,其特征在于:所述同向驱动机构包括电动推杆(10)、旋转杆(11)、第一连杆(12)和第二连杆(13),所述承载座(1)上表面设有电动推杆(10),所述电动推杆(10)的推杆顶端铰接旋转杆(11),承载座(1)中心处固定连接中心销(14),所述中心销(14)旋转配合旋转杆(11),所述旋转杆(11)顶部铰接第一连杆(12),且旋转杆(11)底部铰接第二连杆(13),位于左侧的移动板(2)底部固定连接左销柱(15),所述左销柱(15)铰接第一连杆(12),位于右侧的移动板(2)固定连接右销柱(16),所述右销柱(16)铰接第二连杆(12)。
 
4.根据权利要求3所述的一种现场混装炸药辅助送管装置,其特征在于:所述中心销(14)、左销柱(15)和右销柱(16)处于同一水平面上,第一连杆(12)和第二连杆(13)关于中心销(14)呈中心旋转对称。
 
5.根据权利要求1所述的一种现场混装炸药辅助送管装置,其特征在于:所述电机(3)的前端盖法兰连接移动板(2)的下表面,所述主动轮(4)的轮轴和从动轮(5)的轮轴均与移动板(2)轴承连接,所述电机(3)的输出轴贯穿移动板(2)后通过联轴器与主动轮(4)的轮轴固定连接。
 
6.根据权利要求1所述的一种现场混装炸药辅助送管装置,其特征在于:所述同步带(6)的内侧壁为与其一体成型的梯形齿,同步带(6)的外侧壁设有弧形槽(23),所述弧形槽(23)与输药管相匹配。
 
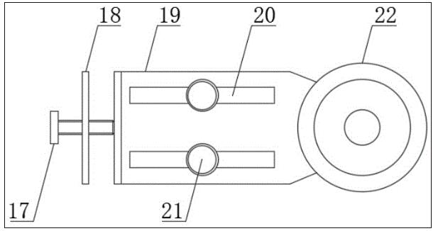
7.根据权利要求1所述的一种现场混装炸药辅助送管装置,其特征在于:所述张紧机构包括带柄螺杆(17)、螺杆支撑块(18)、滑块(19)和张紧辊(22),所述带柄螺杆(17)螺纹配合螺杆支撑块(18),所述螺杆支撑块(18)固定连接移动板(2),所述滑块(19)呈“L字”形,滑块(19)的侧壁与带柄螺杆(17)的螺杆端相抵接,滑块(19)的底壁设有滑槽(20),所述滑槽(20)设有定位销(21),所述定位销(21)呈“T字”形,定位销(21)贯穿滑槽(20)后螺纹连接移动板(2),滑块(19)与张紧辊(22)的辊轴固定连接。
 
一种现场混装炸药辅助送管装置
技术领域
 
本发明涉及混装炸药输送装置技术领域,具体为一种现场混装炸药辅助送管装置。
 
背景技术
 
目前使用装药器或装药车进行矿山井下混装炸药上向炮孔装填作业时,输药管需要人工塞入炮孔,工人的劳动强度很大,而且效率低下;而另有一种输送方式:利用摩擦轮输送。输药管的一端与装药车泵送装置的出口连接,输药管通过一对或多对摩擦轮,利用摩擦轮产生的摩擦力实现输药软管的上向输送;在这一组摩擦轮后面是一条柔性机械臂,通过机械臂使输药管对准炮孔。由于对输药管自重较大,此种装置结构的缺点是对输药管的磨损较大,且在输送过程中存在输药管打滑的问题,影响装药精度,而且柔性机械臂对加工和控制精度要求较高,生产成本过高。
 
发明内容
 
本发明的目的在于提供一种现场混装炸药辅助送管装置,以解决上述背景技术中提出的问题。
 
为实现上述目的,本发明提供如下技术方案:一种现场混装炸药辅助送管装置,包括呈竖直放置的承载座,所述承载座上方设有移动夹紧机构,所述移动夹紧机构包括两个呈镜像分布的移动板,所述承载座设有同向驱动机构,所述同向驱动机构驱动两个移动板进行直线同步相向运动的,所述移动板上设有同步带传动装置,所述同步带传动装置包括电机、主动轮、从动轮、同步带和张紧机构,所述同步带靠近输药管的一侧呈竖直张设,且该侧的同步带的前进方向与输药管输送方向相同。
 
优选的,所述承载座固定连接滑杆固定块,所述滑杆固定块分成两组且每组设有两个,两个所述滑杆固定块分别与滑杆的两端固定连接,所述移动板下表面固定连接四个滑套,所述滑套滑动配合滑杆。
 
优选的,所述同向驱动机构包括电动推杆、旋转杆、第一连杆和第二连杆,所述承载座上表面设有电动推杆,所述电动推杆的推杆顶端铰接旋转杆,承载座中心处固定连接中心销,所述中心销旋转配合旋转杆,所述旋转杆顶部铰接第一连杆,且旋转杆底部铰接第二连杆,位于左侧的移动板底部固定连接左销柱,所述左销柱铰接第一连杆,位于右侧的移动板固定连接右销柱,所述右销柱铰接第二连杆。
 
优选的,所述中心销、左销柱和右销柱处于同一水平面上,第一连杆和第二连杆关于中心销呈中心旋转对称。
 
优选的,所述电机的前端盖法兰连接移动板的下表面,所述主动轮的轮轴和从动轮的轮轴均与移动板轴承连接,所述电机的输出轴贯穿移动板后通过联轴器与主动轮的轮轴固定连接。
 
优选的,所述同步带的内侧壁为与其一体成型的梯形齿,同步带的外侧壁设有弧形槽,所述弧形槽与输药管相匹配。
 
优选的,所述张紧机构包括带柄螺杆、螺杆支撑块、滑块和张紧辊,所述带柄螺杆螺纹配合螺杆支撑块,所述螺杆支撑块固定连接移动板,所述滑块呈“L字”形,滑块的侧壁与带柄螺杆的螺杆端相抵接,滑块的底壁设有滑槽,所述滑槽设有定位销,所述定位销呈“T字”形,定位销贯穿滑槽后螺纹连接移动板,滑块与张紧辊的辊轴固定连接。
 
与现有技术相比,本发明的有益效果是:
 
1.本发明通过电动推杆,既可以调节左右两个同步带传动装置上同步带之间的距离,又可以调节同步带对输药管的压力,同步带可以很好的牵引输药管正向送管或反向退管,提高送管效率,降低劳动强度,结构简单,构造新颖;
 
2.本发明利用电动推杆作为推动力,使得第一连杆和第二连杆同时同步推动左右两侧的移动板,两个移动板可以进行同步相向运动的,运行平稳、流畅。
 
附图说明
 
一种现场混装炸药辅助送管装置
图1为本发明结构示意图;
 
一种现场混装炸药辅助送管装置
图2为本发明中同向驱动机构的仰视图;
 
一种现场混装炸药辅助送管装置
图3为本发明中张紧机构结构示意图;
 
一种现场混装炸药辅助送管装置
图4为本发明中同步带结构示意图。
 
图中:1承载座、2移动板、3电机、4主动轮、5动轮、6同步带、7滑杆固定块、8滑杆、9滑套、10电动推杆、11旋转杆、12第一连杆、13第二连杆、14中心销、15左销柱、16右销柱、17带柄螺杆、18螺杆支撑块、19滑块、20滑槽、21定位销、22张紧辊、23弧形槽。
 
具体实施方式
 
下面将结合本发明实施例中的附图,对本发明实施例中的技术方案进行清楚、完整地描述,显然,所描述的实施例仅仅是本发明一部分实施例,而不是全部的实施例。基于本发明中的实施例,本领域普通技术人员在没有做出创造性劳动前提下所获得的所有其他实施例,都属于本发明保护的范围。
 
请参阅图1至图4,本发明提供一种技术方案:一种现场混装炸药辅助送管装置,包括呈竖直放置的承载座1,承载座1上方设有移动夹紧机构,移动夹紧机构包括两个呈镜像分布的移动板2。承载座1固定连接滑杆固定块7,滑杆固定块7分成两组且每组设有两个,两个滑杆固定块7分别与滑杆8的两端固定连接,移动板2下表面固定连接四个滑套9,通过滑套9滑动配合滑杆8,移动板2可以在承载座1上方沿着滑杆8进行直线移动。
 
承载座1设有同向驱动机构,如图2所示,实施例中,同向驱动机构包括电动推杆10、旋转杆11、第一连杆12和第二连杆13,承载座1上表面设有电动推杆10,电动推杆10的推杆顶端铰接旋转杆11,承载座1中心处固定连接中心销14,中心销14旋转配合旋转杆11,旋转杆11顶部铰接第一连杆12,且旋转杆11底部铰接第二连杆13,位于左侧的移动板2底部固定连接左销柱15,左销柱15铰接第一连杆12,位于右侧的移动板2固定连接右销柱16,右销柱16铰接第二连杆12。
 
电动推杆10采用特姆优公司生产的自锁式电动伸缩杆,其主要由驱动电机、减速齿轮、丝杆、丝杆螺母和推杆组成,通过开启驱动电机,驱动电机在减速齿轮带动丝杆旋转,丝杆间隙配合丝杆螺母,根据丝杆传动原理,丝杆螺母可以带动推杆上下移动,从而实现推杆“伸缩”运动,电动推杆10以铰接的形式推动旋转杆11发生偏转。由于中心销14、左销柱15和右销柱16处于同一水平面上,第一连杆12和第二连杆13关于中心销14呈中心旋转对称,使得中心销14成为整个同向驱动机构的中心,当开启电动推杆10后,第一连杆12和第二连杆13同时同步推动左右两侧的移动板2,两个移动板2可以进行同步相向运动的,运行平稳、流畅。
 
移动板2上设有同步带传动装置,同步带传动装置包括电机3、主动轮4、从动轮5、同步带6和张紧机构,电机3的前端盖法兰连接移动板2的下表面,主动轮4的轮轴和从动轮5的轮轴均与移动板2轴承连接,电机3的输出轴贯穿移动板2后通过联轴器与主动轮4的轮轴固定连接。电机3为同步带传输机领域常用的驱动马达。
 
实施例中,如图3所示,张紧机构包括带柄螺杆17、螺杆支撑块18、滑块19和张紧辊22,带柄螺杆17螺纹配合螺杆支撑块18,螺杆支撑块18固定连接移动板2,滑块19呈“L字”形,滑块19的侧壁与带柄螺杆17的螺杆端相抵接,滑块19的底壁设有滑槽20,滑槽20设有定位销21,定位销21呈“T字”形,定位销21贯穿滑槽20后螺纹连接移动板2,滑块19与张紧辊22的辊轴固定连接。滑槽20和定位销21均设有两个,通过定位销21可以将滑块19约束在移动板2上,旋松定位销21即可以释放滑块19,再通过旋转带柄螺杆17,借助带柄螺杆17挤压作用滑块19,使得滑块19沿着滑槽20方向移动,滑块19的张紧辊22可以挤压作用于同步带6,保证同步带6张紧。
 
同步带6靠近输药管的一侧呈竖直张设,且该侧的同步带6的前进方向与输药管输送方向相同。同步带6的内侧壁为与其一体成型的梯形齿,同步带6的外侧壁设有弧形槽23,弧形槽23与输药管相匹配。弧形槽23提高了同步带6与输药管的接触面积,避免同步带6与输药管发生打滑。
 
工作原理:当输药管进行运输时,先将输药管放置在左右两个同步带传动装置上同步带6之间,装置通过电动推杆10既可以调节左右两个同步带传动装置上同步带6之间的距离,又可以调节同步带6对输药管的压力,其过程如下:开启电动推杆10,借助电动推杆10的推力,使得左右两个移动板2进行相向运动,从而使得同步带6上处于竖直张设的一段可以夹紧输药管。正常工作时,输药管位于两个同步带6的弧形槽23内,通过两个同步带6的夹持作用产生的静摩擦力,同步带6上处于竖直张设的一段与输药管接触的部分与输药管均做直线移动,因此相接触点的速度一致,不会产生速度差,从而避免输药管从同步带6上滑落,由于同步带6质地柔软,不会对输药管产生划伤,同步带6可以很好的牵引输药管正向送管或反向退管。
 
尽管已经示出和描述了本发明的实施例,对于本领域的普通技术人员而言,可以理解在不脱离本发明的原理和精神的情况下可以对这些实施例进行多种变化、修改、替换和变型,本发明的范围由所附权利要求及其等同物限定。
Copyright © 宁波鄞州盖奇同步带轮有限公司 2007-2022 All Rights Reserved.
电话:4006-574-123/0574-27834692 传真:0574-27834691
地址:浙江省宁波市鄞州区姜山镇蔡郎桥村姜南路39-2 E-Mail:sales@belt-pulley.com  
浙ICP备09102982号 盖奇公司网络部提供技术支持 浙公网安备33021202003319号