当前位置:首页->一种可快速拆卸的圆弧同步带运送小车

 一种可快速拆卸的圆弧同步带运送小车

 
【申请公布号:CN110525904A;申请权利人:优力智能科技(青岛)有限公司;发明设计人: 田高明; 秦桂花; 张铭才; 张永乐; 李文栋; 田雪军;】
 
摘要:
 
本发明涉及同步带运送小车配件技术领域,且公开了一种可快速拆卸的圆弧同步带运送小车,包括安装板,所述安装板左侧的前后两侧均活动安装有传动轮,所述安装板的顶部固定安装有连接螺杆,所述安装板的左侧且位于传动轮的下方开设有安装槽,所述安装槽的左侧壁活动安装有第一连接板,所述第一连接板的底部固定安装有第一刹车块,所述安装板的右侧开设有凹槽,所述凹槽的内部固定安装有第二连接板,所述第二连接板右侧的前后两侧均插接有固定螺。该可快速拆卸的圆弧同步带运送小车,通过设置限位块,减少了拆卸圆弧同步带运送小车同步带转轮的速度,方便了工作人员对圆弧同步带运送小车进行维修。 
 
主权项:
 
1.一种可快速拆卸的圆弧同步带运送小车,包括安装板(1),其特征在于:所述安装板(1)左侧的前后两侧均活动安装有传动轮(2),所述安装板(1)的顶部固定安装有连接螺杆(3),所述安装板(1)的左侧且位于传动轮(2)的下方开设有安装槽(4),所述安装槽(4)的左侧壁活动安装有第一连接板(5),所述第一连接板(5)的底部固定安装有第一刹车块(6),所述安装板(1)的右侧开设有凹槽(7),所述凹槽(7)的内部固定安装有第二连接板(8),所述第二连接板(8)右侧的前后两侧均插接有固定螺栓(9),所述第二连接板(8)的底部固定安装有第二刹车块(10),所述安装板(1)的背面且位于传动轮(2)的下方活动安装有从动轮(11),两个所述传动轮(2)和从动轮(11)的外侧均开设有滑槽(12),所述安装板(1)的左侧且位于从动轮(11)的右侧开设有开口(13),所述安装板(1)的右侧且位于从动轮(11)的右侧活动安装有限位块(14),所述限位块(14)的正面与背面均开设有插槽(15),两个所述插槽(15)的内部均插接有活动杆(16),所述安装板(1)靠近限位块(14)的一侧固定安装有连接块(17),所述连接块(17)的正面与背面均固定安装有连接杆(18),所述限位块(14)顶部的前后两侧均开设有活动槽(19),所述连接块(17)的顶部开设有放置槽(20),所述放置槽(20)的内部活动安装有连接管(21),两个所述活动杆(16)之间固定安装有限位杆(22),所述连接管(21)的顶部开设有限位槽(23)。 
 
要求:
 
1.一种可快速拆卸的圆弧同步带运送小车,包括安装板(1),其特征在于:所述安装板(1)左侧的前后两侧均活动安装有传动轮(2),所述安装板(1)的顶部固定安装有连接螺杆(3),所述安装板(1)的左侧且位于传动轮(2)的下方开设有安装槽(4),所述安装槽(4)的左侧壁活动安装有第一连接板(5),所述第一连接板(5)的底部固定安装有第一刹车块(6),所述安装板(1)的右侧开设有凹槽(7),所述凹槽(7)的内部固定安装有第二连接板(8),所述第二连接板(8)右侧的前后两侧均插接有固定螺栓(9),所述第二连接板(8)的底部固定安装有第二刹车块(10),所述安装板(1)的背面且位于传动轮(2)的下方活动安装有从动轮(11),两个所述传动轮(2)和从动轮(11)的外侧均开设有滑槽(12),所述安装板(1)的左侧且位于从动轮(11)的右侧开设有开口(13),所述安装板(1)的右侧且位于从动轮(11)的右侧活动安装有限位块(14),所述限位块(14)的正面与背面均开设有插槽(15),两个所述插槽(15)的内部均插接有活动杆(16),所述安装板(1)靠近限位块(14)的一侧固定安装有连接块(17),所述连接块(17)的正面与背面均固定安装有连接杆(18),所述限位块(14)顶部的前后两侧均开设有活动槽(19),所述连接块(17)的顶部开设有放置槽(20),所述放置槽(20)的内部活动安装有连接管(21),两个所述活动杆(16)之间固定安装有限位杆(22),所述连接管(21)的顶部开设有限位槽(23)。
 
2.根据权利要求1所述的一种可快速拆卸的圆弧同步带运送小车,其特征在于:所述安装板(1)呈T字形,所述安装板(1)左侧的前后两侧均开设有安装孔,且两个传动轮(2)分别插接于两个安装孔的内部。
 
3.根据权利要求1所述的一种可快速拆卸的圆弧同步带运送小车,其特征在于:所述连接螺杆(3)位于第一连接板(5)与第二连接板(8)之间的中心位置,所述第一连接板(5)的高度等于第二连接板(8)的高度。
 
4.根据权利要求1所述的一种可快速拆卸的圆弧同步带运送小车,其特征在于:所述安装槽(4)与开口(13)相连通,且第一连接板(5)位于安装槽(4)和开口(13)的内部之间。
 
5.根据权利要求1所述的一种可快速拆卸的圆弧同步带运送小车,其特征在于:所述固定螺栓(9)的左端贯穿第二连接板(8)并延伸至安装板(1)的内部与安装板(1)螺纹连接,所述从动轮(11)与转动轮(2)处于同一垂线上,且从动轮(11)的直径大于转动轮(2)的直径。
 
6.根据权利要求1所述的一种可快速拆卸的圆弧同步带运送小车,其特征在于:两个所述连接杆(18)分别活动安装于两个活动槽(19)的内部,所述连接杆(18)与安装板(1)之间的距离大于限位块(14)的长度。
 
7.根据权利要求1所述的一种可快速拆卸的圆弧同步带运送小车,其特征在于:所述连接管(21)的左端贯穿安装板(1)并延伸至安装板(1)的左侧,且连接杆(21)的左端与从动轮(11)固定连接。
 
8.根据权利要求1所述的一种可快速拆卸的圆弧同步带运送小车,其特征在于:所述限位块(14)的左侧呈弧面,所述限位杆(22)位于限位块(14)的上方。
 
9.根据权利要求1所述的一种可快速拆卸的圆弧同步带运送小车,其特征在于:所述限位杆(22)的底部插接于限位槽(23)的内部,所述连接管(21)为空心管。
 
一种可快速拆卸的圆弧同步带运送小车
技术领域
 
本发明涉及同步带运送小车配件技术领域,具体为一种可快速拆卸的圆弧同步带运送小车。
 
背景技术
 
同步带是以钢丝绳或玻璃纤维为强力层,外覆以聚氨酯或氯丁橡胶的环形带,带的内周制成齿状,使其与齿形带轮啮合,同步带传动时,传动比准确,对轴作用力小,结构紧凑,耐油,耐磨性好,抗老化性能好。
 
根据中国授权发明CN201610346368.2提出的一种用于建筑工地的高可靠性运送小车结,本发明采用上述结构,能够适应复杂的地形,避免推车在运送货物的过程中倾翻,对推车人员起到一定的保护作用,但是传统的圆弧同步带运送小车采用整体结构构建,拆卸起来较为麻烦,一但运送小车的同步带出现问题,维修难度较大,导致运送小车在投入使用后后续的维护较为不便,故而提出一种可快速拆卸的圆弧同步带运送小车。
 
发明内容
 
(一)解决的技术问题
 
针对现有技术的不足,本发明提供了一种可快速拆卸的圆弧同步带运送小车,具备快速拆卸和方便维修等优点,解决了传统的圆弧同步带运送小车采用整体结构构建,拆卸起来较为麻烦,一但运送小车的同步带出现问题,维修难度较大,导致运送小车在投入使用后后续的维护较为不便的问题。
 
(二)技术方案
 
为实现上述快速拆卸和方便维修目的,本发明提供如下技术方案:一种可快速拆卸的圆弧同步带运送小车,包括安装板,所述安装板左侧的前后两侧均活动安装有传动轮,所述安装板的顶部固定安装有连接螺杆,所述安装板的左侧且位于传动轮的下方开设有安装槽,所述安装槽的左侧壁活动安装有第一连接板,所述第一连接板的底部固定安装有第一刹车块,所述安装板的右侧开设有凹槽,所述凹槽的内部固定安装有第二连接板,所述第二连接板右侧的前后两侧均插接有固定螺栓,所述第二连接板的底部固定安装有第二刹车块,所述安装板的背面且位于传动轮的下方活动安装有从动轮,两个所述传动轮和从动轮的外侧均开设有滑槽,所述安装板的左侧且位于从动轮的右侧开设有开口,所述安装板的右侧且位于从动轮的右侧活动安装有限位块,所述限位块的正面与背面均开设有插槽,两个所述插槽的内部均插接有活动杆,所述安装板靠近限位块的一侧固定安装有连接块,所述连接块的正面与背面均固定安装有连接杆,所述限位块顶部的前后两侧均开设有活动槽,所述连接块的顶部开设有放置槽,所述放置槽的内部活动安装有连接管,两个所述活动杆之间固定安装有限位杆,所述连接管的顶部开设有限位槽。
 
优选的,所述安装板呈T字形,所述安装板左侧的前后两侧均开设有安装孔,且两个传动轮分别插接于两个安装孔的内部。
 
优选的,所述连接螺杆位于第一连接板与第二连接板之间的中心位置,所述第一连接板的高度等于第二连接板的高度。
 
优选的,所述安装槽与开口相连通,且第一连接板位于安装槽和开口的内部之间。
 
优选的,所述固定螺栓的左端贯穿第二连接板并延伸至安装板的内部与安装板螺纹连接,所述从动轮与转动轮处于同一垂线上,且从动轮的直径大于转动轮的直径。
 
优选的,两个所述连接杆分别活动安装于两个活动槽的内部,所述连接杆与安装板之间的距离大于限位块的长度。
 
优选的,所述连接管的左端贯穿安装板并延伸至安装板的左侧,且连接杆的左端与从动轮固定连接。
 
优选的,所述限位块的左侧呈弧面,所述限位杆位于限位块的上方。
 
优选的,所述限位杆的底部插接于限位槽的内部,所述连接管为空心管。
 
(三)有益效果
 
与现有技术相比,本发明提供了一种可快速拆卸的圆弧同步带运送小车,具备以下有益效果:
 
1、该可快速拆卸的圆弧同步带运送小车,通过设置限位块,如果小车的同步带出现问题的时候,可以先将小车车轮从连接管的右侧拆卸掉,然后向左上方扳动限位块,使限位块顶部的两个活动槽分别围绕两个限位杆的外侧转动,当限位块转动至与安装板水平位置之后,由于限位块发生了位移,将会导致活动杆发生位移,从而提高两个活动杆的位置,从而使限位杆的位置上升,当限位杆的位置上升之后限位杆就会脱离限位槽,此时便可以将从动轮拿出,这样在对同步带进行维修或者加固的时候就更加的方便了,减少了拆卸圆弧同步带运送小车同步带转轮的速度,方便了工作人员对圆弧同步带运送小车进行维修。
 
2、该可快速拆卸的圆弧同步带运送小车,通过设置传动轮,在使用时将同步带安装于传动轮与从动轮外侧滑槽的内部,在传动轮转动的时候将会带动从动轮进行转动,从而带动圆弧同步带运送小车移动,并且通过设置连接螺杆,在拆卸安装板的时候可以转动安装板使得连接螺杆脱离圆弧同步带运送小车主体,同时在安装板的左右两侧分别安装第一连接板与第二连接板,通过滑动第一连接板可以带动第一刹车块向左或向右移动,从而使圆弧同步带运送小车达到了刹车的效果。
 
附图说明
 
一种可快速拆卸的圆弧同步带运送小车
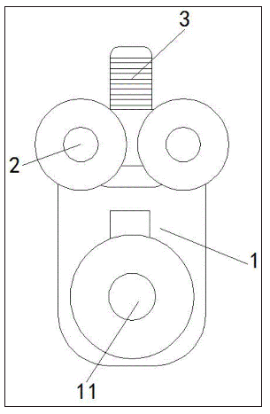
图1为本发明提出的一种可快速拆卸的圆弧同步带运送小车结构示意图;
 
一种可快速拆卸的圆弧同步带运送小车
图2为本发明提出的一种可快速拆卸的圆弧同步带运送小车A处结构放大图;
 
一种可快速拆卸的圆弧同步带运送小车
图3为本发明提出的一种可快速拆卸的圆弧同步带运送小车安装板左视图。
 
图中:1安装板、2传动轮、3连接螺杆、4安装槽、5第一连接板、6第一刹车块、7凹槽、8第二连接板、9固定螺栓、10第二刹车块、11从动轮、12滑槽、13开口、14限位块、15插槽、16活动杆、17连接块、18连接杆、19活动槽、20放置槽、21连接管、22限位杆、23限位槽。
 
具体实施方式
 
下面将结合本发明实施例中的附图,对本发明实施例中的技术方案进行清楚、完整地描述,显然,所描述的实施例仅仅是本发明一部分实施例,而不是全部的实施例。基于本发明中的实施例,本领域普通技术人员在没有做出创造性劳动前提下所获得的所有其他实施例,都属于本发明保护的范围。
 
请参阅图1-3,一种可快速拆卸的圆弧同步带运送小车,包括安装板1,安装板1左侧的前后两侧均活动安装有传动轮2,安装板1呈T字形,安装板1左侧的前后两侧均开设有安装孔,且两个传动轮2分别插接于两个安装孔的内部,安装板1的顶部固定安装有连接螺杆3,安装板1的左侧且位于传动轮2的下方开设有安装槽4,安装槽4的左侧壁活动安装有第一连接板5,第一连接板5的底部固定安装有第一刹车块6,安装板1的右侧开设有凹槽7,凹槽7的内部固定安装有第二连接板8,连接螺杆3位于第一连接板5与第二连接板8之间的中心位置,第一连接板5的高度等于第二连接板8的高度,第二连接板8右侧的前后两侧均插接有固定螺栓9,第二连接板8的底部固定安装有第二刹车块10,安装板1的背面且位于传动轮2的下方活动安装有从动轮11,固定螺栓9的左端贯穿第二连接板8并延伸至安装板1的内部与安装板1螺纹连接,从动轮11与转动轮2处于同一垂线上,且从动轮11的直径大于转动轮2的直径,两个传动轮2和从动轮11的外侧均开设有滑槽12,在使用时将同步带安装于传动轮2与从动轮11外侧滑槽12的内部,在传动轮2转动的时候将会带动从动轮11进行转动,从而带动圆弧同步带运送小车移动,并且通过设置连接螺杆3,在拆卸安装板1的时候可以转动安装板1使得连接螺杆3脱离圆弧同步带运送小车主体,同时在安装板1的左右两侧分别安装第一连接板5与第二连接板8,通过滑动第一连接板5可以带动第一刹车块6向左或向右移动,从而使圆弧同步带运送小车达到了刹车的效果,安装板1的左侧且位于从动轮11的右侧开设有开口13,安装槽4与开口13相连通,且第一连接板5位于安装槽4和开口13的内部之间,安装板1的右侧且位于从动轮11的右侧活动安装有限位块14,限位块14的正面与背面均开设有插槽15,两个插槽15的内部均插接有活动杆16,安装板1靠近限位块14的一侧固定安装有连接块17,连接块17的正面与背面均固定安装有连接杆18,限位块14顶部的前后两侧均开设有活动槽19,两个连接杆18分别活动安装于两个活动槽19的内部,连接杆18与安装板1之间的距离大于限位块14的长度,连接块17的顶部开设有放置槽20,放置槽20的内部活动安装有连接管21,连接管21的左端贯穿安装板1并延伸至安装板1的左侧,且连接杆18的左端与从动轮11固定连接,两个活动杆16之间固定安装有限位杆22,限位块14的左侧呈弧面,限位杆22位于限位块14的上方,连接管21的顶部开设有限位槽23,限位杆22的底部插接于限位槽23的内部,连接管21为空心管,如果小车的同步带出现问题的时候,可以先将小车车轮从连接管21的右侧拆卸掉,然后向左上方扳动限位块14,使限位块14顶部的两个活动槽19分别围绕两个限位杆22的外侧转动,当限位块14转动至与安装板1水平位置之后,由于限位块14发生了位移,将会导致活动杆16发生位移,从而提高两个活动杆16的位置,从而使限位杆22的位置上升,当限位杆22的位置上升之后限位杆22就会脱离限位槽23,此时便可以将从动轮11拿出,这样在对同步带进行维修或者加固的时候就更加的方便了,减少了拆卸圆弧同步带运送小车同步带转轮的速度,方便了工作人员对圆弧同步带运送小车进行维修。
 
在使用时,如果小车的同步带出现问题的时候,可以先将小车车轮从连接管21的右侧拆卸掉,然后向左上方扳动限位块14,使限位块14顶部的两个活动槽19分别围绕两个限位杆22的外侧转动,当限位块14转动至与安装板1水平位置之后,由于限位块14发生了位移,将会导致活动杆16发生位移,从而提高两个活动杆16的位置,从而使限位杆22的位置上升,当限位杆22的位置上升之后限位杆22就会脱离限位槽23,此时便可以将从动轮11拿出,在使用时将同步带安装于传动轮2与从动轮11外侧滑槽12的内部,在传动轮2转动的时候将会带动从动轮11进行转动,从而带动圆弧同步带运送小车移动,并且通过设置连接螺杆3,在拆卸安装板1的时候可以转动安装板1使得连接螺杆3脱离圆弧同步带运送小车主体,同时在安装板1的左右两侧分别安装第一连接板5与第二连接板8,通过滑动第一连接板5可以带动第一刹车块6向左或向右移动。
 
综上所述,该可快速拆卸的圆弧同步带运送小车,通过设置限位块14,如果小车的同步带出现问题的时候,可以先将小车车轮从连接管21的右侧拆卸掉,然后向左上方扳动限位块14,使限位块14顶部的两个活动槽19分别围绕两个限位杆22的外侧转动,当限位块14转动至与安装板1水平位置之后,由于限位块14发生了位移,将会导致活动杆16发生位移,从而提高两个活动杆16的位置,从而使限位杆22的位置上升,当限位杆22的位置上升之后限位杆22就会脱离限位槽23,此时便可以将从动轮11拿出,这样在对同步带进行维修或者加固的时候就更加的方便了,减少了拆卸圆弧同步带运送小车同步带转轮的速度,方便了工作人员对圆弧同步带运送小车进行维修,并且通过设置传动轮2,在使用时将同步带安装于传动轮2与从动轮11外侧滑槽12的内部,在传动轮2转动的时候将会带动从动轮11进行转动,从而带动圆弧同步带运送小车移动,并且通过设置连接螺杆3,在拆卸安装板1的时候可以转动安装板1使得连接螺杆3脱离圆弧同步带运送小车主体,同时在安装板1的左右两侧分别安装第一连接板5与第二连接板8,通过滑动第一连接板5可以带动第一刹车块6向左或向右移动,从而使圆弧同步带运送小车达到了刹车的效果,解决了传统的圆弧同步带运送小车采用整体结构构建,拆卸起来较为麻烦,一但运送小车的同步带出现问题,维修难度较大,导致运送小车在投入使用后后续的维护较为不便的问题。
 
需要说明的是,在本文中,诸如第一和第二等之类的关系术语仅仅用来将一个实体或者操作与另一个实体或操作区分开来,而不一定要求或者暗示这些实体或操作之间存在任何这种实际的关系或者顺序。而且,术语“包括”、“包含”或者其任何其他变体意在涵盖非排他性的包含,从而使得包括一系列要素的过程、方法、物品或者设备不仅包括那些要素,而且还包括没有明确列出的其他要素,或者是还包括为这种过程、方法、物品或者设备所固有的要素。在没有更多限制的情况下,由语句“包括一个……”限定的要素,并不排除在包括所述要素的过程、方法、物品或者设备中还存在另外的相同要素。
 
尽管已经示出和描述了本发明的实施例,对于本领域的普通技术人员而言,可以理解在不脱离本发明的原理和精神的情况下可以对这些实施例进行多种变化、修改、替换和变型,本发明的范围由所附权利要求及其等同物限定。
Copyright © 宁波鄞州盖奇同步带轮有限公司 2007-2022 All Rights Reserved.
电话:4006-574-123/0574-27834692 传真:0574-27834691
地址:浙江省宁波市鄞州区姜山镇蔡郎桥村姜南路39-2 E-Mail:sales@belt-pulley.com  
浙ICP备09102982号 盖奇公司网络部提供技术支持 浙公网安备33021202003319号