当前位置:首页->一种自动填缝装置

 一种自动填缝装置

 
【申请公布号:CN110578397A;申请权利人:杭州烁电科技有限公司;发明设计人:杨四清;】
 
摘要:
 
一种自动填缝装置,包括机身,在机身下部安装有自动运动装置,在机身上部安装有自动填充装置,其特征在于:所述自动运动装置包括安装在机身底部的第一支撑轮,第二支撑轮,第三支撑轮,所述第一支撑轮和所述第二支撑轮上固联有同步轮一和同步轮二,所述第一支撑轮和所述第二支撑轮和所述第三支撑轮的两端安装有导轮,所述第一支撑轮和所述第二支撑轮中间固联有前进轮,所述同步轮一和所述同步轮二通过同步带与同步轮三实现一起运动,所述同步轮三固联在驱动电机的输出轴上,所述驱动电机安装在驱动电机支架上,所述驱动电机支架安装在机身内部的上端。 
 
主权项:
 
1.一种自动填缝装置,包括机身(1),在机身(1)下部安装有自动运动装置(2),在机身上部安装有自动填充装置(3),其特征在于:所述自动运动装置(1)包括安装在机身(1)底部的第一支撑轮(2.1),第二支撑轮(2.2),第三支撑轮(2.3),所述第一支撑轮(2.1)和所述第二支撑轮(2.2)上固联有同步轮一(2.1.1)和同步轮二(2.2.1),所述第一支撑轮(2.1)和所述第二支撑轮(2.2)和所述第三支撑轮(2.3)的两端安装有导轮(2.4),所述第一支撑轮(2.1)和所述第二支撑轮(2.2)中间固联有前进轮(2.5),所述同步轮一(2.1.1)和所述同步轮二(2.2.1)通过同步带(2.6)与同步轮三(2.7)实现一起运动,所述同步轮三(2.7)固联在驱动电机(2.8)的输出轴上,所述驱动电机(2.8)安装在驱动电机支架(2.9)上,所述驱动电机支架(2.9)安装在机身(1)内部的上端。 
 
 
要求:
 
1.一种自动填缝装置,包括机身(1),在机身(1)下部安装有自动运动装置(2),在机身上部安装有自动填充装置(3),其特征在于:所述自动运动装置(1)包括安装在机身(1)底部的第一支撑轮(2.1),第二支撑轮(2.2),第三支撑轮(2.3),所述第一支撑轮(2.1)和所述第二支撑轮(2.2)上固联有同步轮一(2.1.1)和同步轮二(2.2.1),所述第一支撑轮(2.1)和所述第二支撑轮(2.2)和所述第三支撑轮(2.3)的两端安装有导轮(2.4),所述第一支撑轮(2.1)和所述第二支撑轮(2.2)中间固联有前进轮(2.5),所述同步轮一(2.1.1)和所述同步轮二(2.2.1)通过同步带(2.6)与同步轮三(2.7)实现一起运动,所述同步轮三(2.7)固联在驱动电机(2.8)的输出轴上,所述驱动电机(2.8)安装在驱动电机支架(2.9)上,所述驱动电机支架(2.9)安装在机身(1)内部的上端。
 
2.如权利要求1所述的一种自动填缝装置,其特征在于:所述前进轮(2.5)内部沿圆周设置有前进齿(2.5.1),所述前进齿(2.5.1)呈凸型截面的结构,所述前进轮(2.5)前端小圆柱嵌套在前进轮(2.5)外圆周处的小圆孔(2.5.2)内,所述前进齿(2.5.1)下端大圆柱处嵌套在前进轮(2.5)内部的大圆孔(2.5.3)内,所述前进齿(2.5.1)可以在小圆孔(2.5.2)和大圆孔(2.5.3)内上下运动,在所述大圆孔(2.5.3)的底部和前进齿(2.5.1)的底面之间设置有压缩弹簧(2.5.4),所述前进齿(2.5.1)上端设置成一字型结构并且设置有锯齿。
 
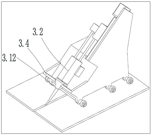
3.如权利要求1所述的一种自动填缝装置,其特征在于:所述自动填充装置(3)采用的原理为利用推杆(3.1)直接匀速推动双管美缝管(3.2)从而实现填缝均匀,所述双管美缝管(3.2)固定在机身(1)上部的美缝管托架(3.3)上,所述美缝管托架(3.3)与双管美缝管(3.2)外形一致,所述机身(1)上部还设置有限位架(3.4)来限位双管美缝管(3.2),所述推杆(3.1)的尾端固定在滑块(3.5)上,所述滑块(3.5)可以被丝杆(3.6)旋转着向前向后运动,所述丝杆(3.6)一端通过联轴器(3.7)连接到步进电机(3.8)上,另一端安装在轴承座(3.9)上,所述步进电机(3.8)通过步进电机支架(3.10)安装在机身(1)上,所述滑块(3.5)上设置有燕尾槽(3.5.1),所述燕尾槽(3.5.1)内嵌套有燕尾条(3.11),所述燕尾条(3.11)安装在机身上。
 
一种自动填缝装置
技术领域
 
本发明涉及装修工具,具体涉及一种自动填缝装置。
 
背景技术
 
目前,在装饰、装饰工程中,墙面和地板贴瓷砖一般为了防止瓷砖热膨胀开裂,在铺设瓷砖的时候会在瓷砖之间留出1-1.5mm的缝隙,这些缝隙通过填缝剂来填充,以保证地板的防水性,但是在填入填缝剂的时候不易掌握,因为填缝剂填的好与差,智能根据铺贴工人的个人水平的高低或心情的好坏来衡量,如果操作不当,铺出来的地面或墙面往往达不到应有的效果;粘在瓷砖表面的多余填缝剂和浆料难以清洗。
 
发明内容
 
本发明是针对现有技术上存在的问题,提出了一种自动填缝装置。
 
为达到上述目的,本发明采用了以下技术方案:一种自动填缝装置,包括机身,在机身下部安装有自动运动装置,在机身上部安装有自动填充装置,其特征在于:所述自动运动装置包括安装在机身底部的第一支撑轮,第二支撑轮,第三支撑轮,所述第一支撑轮和所述第二支撑轮上固联有同步轮一和同步轮二,所述第一支撑轮和所述第二支撑轮和所述第三支撑轮的两端安装有导轮,所述第一支撑轮和所述第二支撑轮中间固联有前进轮,所述同步轮一和所述同步轮二通过同步带与同步轮三实现一起运动,所述同步轮三固联在驱动电机的输出轴上,所述驱动电机安装在驱动电机支架上,所述驱动电机支架安装在机身内部的上端。
 
进一步,所述前进轮内部沿圆周设置有前进齿,所述前进齿呈凸型截面的结构,所述前进齿前端小圆柱嵌套在前进轮外圆周处的小圆孔内,所述前进路下端大圆柱处嵌套在前进轮内部的大圆孔内,所述前进齿可以在小圆孔和大圆孔内上下运动,在所述大圆孔的底部和前进齿的底面之间设置有压缩弹簧,所述前进齿上端设置成一字型结构并且设置有锯齿。
 
进一步,所述自动填充装置采用的原理为利用推杆直接匀速推动双管美缝管从而实现填缝均匀,所述双管美缝管固定在机身上部的美缝管托架上,所述美缝管托架与双管美缝管外形一致,所述机身上部还设置有限位架来限位双管美缝管,所述推杆的尾端固定在滑块上,所述滑块可以被丝杆旋转着向前向后运动,所述丝杆一端通过联轴器连接到步进电机上,另一端安装在轴承座上,所述步进电机通过步进电机支架安装在机身上,所述滑块上设置有燕尾槽,所述燕尾槽内嵌套有燕尾条,所述燕尾条安装在机身上。
 
进一步,在双管美缝管前端安装有混料头,在使用时,混料头的出口位于瓷砖的下方。
 
本发明的优点在于:本发明可以在驱动电机的作用下匀速前进,可以在步进电机的作用下匀速出料,达到出料的一致性,所述前进轮的前进齿的伸缩性可以保证在瓷砖缝内不同高低的地面都能够保证抓地力,在保证了瓷砖填缝的质量上还提高了填缝效率。
 
附图说明
 
一种自动填缝装置
图1是本发明的整体结构示意图一。
 
一种自动填缝装置
图2是本发明的整体结构示意图二。
 
一种自动填缝装置
图3是本发明的前进轮内部结构示意图。
 
具体实施方式
 
以下是本发明的具体实施例并结合附图,对本发明的技术方案作进一步的描述,如图1和图2和图3所示,一种自动填缝装置,包括机身1,在机身1下部安装有自动运动装置2,在机身上部安装有自动填充装置3,其特征在于:所述自动运动装置1包括安装在机身1底部的第一支撑轮2.1,第二支撑轮2.2,第三支撑轮2.3,所述第一支撑轮2.1和所述第二支撑轮2.2上固联有同步轮一2.1.1和同步轮二2.2.1,所述第一支撑轮2.1和所述第二支撑轮2.2和所述第三支撑轮2.3的两端安装有导轮2.4,所述第一支撑轮2.1和所述第二支撑轮2.2中间固联有前进轮2.5,所述同步轮一2.1.1和所述同步轮二2.2.1通过同步带2.6与同步轮三2.7实现一起运动,所述同步轮三2.7固联在驱动电机2.8的输出轴上,所述驱动电机2.8安装在驱动电机支架2.9上,所述驱动电机支架2.9安装在机身1内部的上端。
 
所述前进轮2.5内部沿圆周设置有前进齿2.5.1,所述前进齿2.5.1呈凸型截面的结构,所述前进齿2.5.1前端小圆柱嵌套在前进轮2.5外圆周处的小圆孔2.5.2内,所述前进齿2.5.1下端大圆柱处嵌套在前进轮2.5内部的大圆孔2.5.3内,所述前进齿2.5.1可以在小圆孔2.5.2和大圆孔2.5.3内上下运动,在所述大圆孔2.5.3的底部和前进齿2.5.1的底面之间设置有压缩弹簧2.5.4,所述前进齿2.5.1上端设置成一字型结构并且设置有锯齿。
 
所述自动填充装置3采用的原理为利用推杆3.1直接匀速推动双管美缝管3.2从而实现填缝均匀,所述双管美缝管3.2固定在机身1上部的美缝管托架3.3上,所述美缝管托架3.3与双管美缝管3.2外形一致,所述机身1上部还设置有限位架3.4来限位双管美缝管3.2,所述推杆3.1的尾端固定在滑块3.5上,所述滑块3.5可以被丝杆3.6旋转着向前向后运动,所述丝杆3.6一端通过联轴器3.7连接到步进电机3.8上,另一端安装在轴承座3.9上,所述步进电机3.8通过步进电机支架3.10安装在机身1上,所述滑块3.5上设置有燕尾槽3.5.1,所述燕尾槽3.5.1内嵌套有燕尾条3.11,所述燕尾条3.11安装在机身上。
 
在双管美缝管3.2前端安装有混料头3.12,在使用时,混料头3.12的出口位于瓷砖4的下方。
 
本发明是这样进行工作的:首先工作人员将双管美缝管3.2放到机身1上的所述美缝管托架3.3和限位架3.4上,然后启动机器,机器便可以通过驱动电机2.8带动前进轮2.5,带动轮2.5的前进齿2.5.1便可以抓地带动机身1向前运动,而可以伸缩的前进齿2.5.1确保了瓷砖4之间缝隙深浅不影响前进齿2.5.1的抓地效果,仍然可以保证机身1匀速前进,步进电机3.8可以匀速推动推杆3.1保证出料均匀。
 
本发明的保护范围包括但不限于以上实施方式,本发明的保护范围以权利要求书为准,任何对本技术做出的本领域的技术人员容易想到的替换、变形、改进均落入本发明的保护范围。
 
Copyright © 宁波鄞州盖奇同步带轮有限公司 2007-2022 All Rights Reserved.
电话:4006-574-123/0574-27834692 传真:0574-27834691
地址:浙江省宁波市鄞州区姜山镇蔡郎桥村姜南路39-2 E-Mail:sales@belt-pulley.com  
浙ICP备09102982号 盖奇公司网络部提供技术支持 浙公网安备33021202003319号