当前位置:首页->一种垃圾箱防夹手升降门

 一种垃圾箱防夹手升降门

 
【申请公布号:CN110615208A;申请权利人:江苏华展环境艺术股份有限公司;发明设计人:丁小勇; 葛林; 韩庆胜;】
 
 
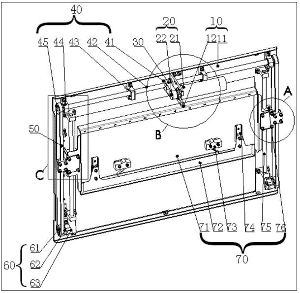
1.一种垃圾箱防夹手升降门,包括主框架(10)、门框架(11)、动力组件(20)、上连接件、主动组件(40)、下连接件、从动组件(60)、升降门组件(70)、固定组件(80)、限位组件(90),其特征在于,
 
所述主框架(10)上设有的电机支架(12),所述电机支架(12)与电机(21)连接;
 
所述动力组件(20)包括双向驱动电机(21)和双向驱动电机同步轮(22),所述的双向驱动电机(21)的输出轴上设有双向驱动电机同步轮(22);
 
上连接件为上连接同步带(30);
 
所述主动组件(40),包括从动同步轮(41),上转轴(42),Φ15-T型轴承座(43)和Φ10-T型轴承座(44),驱动同步轮(45);
 
所述上连接同步带(30)连接双向驱动电机同步轮(22)和从动同步轮(41);
 
所述下连接件为下连接同步带(50);
 
所述从动组件(60)包括同步惰轮(61),下转轴(62),固定座(63);
 
所述下连接同步带(50)连接同步惰轮(61)与驱动同步轮(45);
 
所述升降门组件(70)包括门板(71),防夹手门舌(72),行程开关(73),线性滑轨(74),导向轴(75),直线滑块(76),所述直线滑块(76)设置于门板(71)的两侧,直线滑块(76)上设置有导向轴(75),所述防夹手门舌(72)通过左右两端的线性滑轨(74)连接在门板(71)上,所述行程开关(73)设置于防夹手门舌(72)上方的门板(71)上,所述行程开关(73)设置有两个;
 
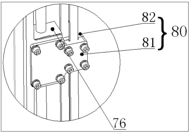
所述固定组件(80)包括固定在直线滑块(76)上的上压板(81)和下压板(82),所述上压板(81)和下压板(82)与下连接同步带(50)固定;
 
所述限位组件(90)对门板的上下位置进行限制,所述限位组件包括上限位光电开关(91)和下限位光电开关(92),上限位光电开关(91)和下限位光电开关(92)设置于主框架(10)上。
 
2.根据权利要求1所述的防夹手升降门,其特征在于:所述门板(71)在电机(21)的带动下上下运动。
 
3.根据权利要求1所述的防夹手升降门,其特征在于:所述门框架(11)固定于主框架(10)内侧。
 
要求:
 
1.一种垃圾箱防夹手升降门,包括主框架(10)、门框架(11)、动力组件(20)、上连接件、主动组件(40)、下连接件、从动组件(60)、升降门组件(70)、固定组件(80)、限位组件(90),其特征在于,
 
所述主框架(10)上设有的电机支架(12),所述电机支架(12)与电机(21)连接;
 
所述动力组件(20)包括双向驱动电机(21)和双向驱动电机同步轮(22),所述的双向驱动电机(21)的输出轴上设有双向驱动电机同步轮(22);
 
上连接件为上连接同步带(30);
 
所述主动组件(40),包括从动同步轮(41),上转轴(42),Φ15-T型轴承座(43)和Φ10-T型轴承座(44),驱动同步轮(45);
 
所述上连接同步带(30)连接双向驱动电机同步轮(22)和从动同步轮(41);
 
所述下连接件为下连接同步带(50);
 
所述从动组件(60)包括同步惰轮(61),下转轴(62),固定座(63);
 
所述下连接同步带(50)连接同步惰轮(61)与驱动同步轮(45);
 
所述升降门组件(70)包括门板(71),防夹手门舌(72),行程开关(73),线性滑轨(74),导向轴(75),直线滑块(76),所述直线滑块(76)设置于门板(71)的两侧,直线滑块(76)上设置有导向轴(75),所述防夹手门舌(72)通过左右两端的线性滑轨(74)连接在门板(71)上,所述行程开关(73)设置于防夹手门舌(72)上方的门板(71)上,所述行程开关(73)设置有两个;
 
所述固定组件(80)包括固定在直线滑块(76)上的上压板(81)和下压板(82),所述上压板(81)和下压板(82)与下连接同步带(50)固定;
 
所述限位组件(90)对门板的上下位置进行限制,所述限位组件包括上限位光电开关(91)和下限位光电开关(92),上限位光电开关(91)和下限位光电开关(92)设置于主框架(10)上。
 
2.根据权利要求1所述的防夹手升降门,其特征在于:所述门板(71)在电机(21)的带动下上下运动。
 
3.根据权利要求1所述的防夹手升降门,其特征在于:所述门框架(11)固定于主框架(10)内侧。
 
一种垃圾箱防夹手升降门
技术领域
 
本发明是属于环保领域的一种垃圾分类回收智能化设备,涉及一种垃圾箱防夹手升降门。
 
背景技术
 
垃圾分类是对垃圾收集处置传统方式的改革,是对垃圾进行有效处置的一种科学管理方法。垃圾通过分类收集后,便于对不同类垃圾进行分类处置。既提高垃圾资源利用水平,又可减少垃圾处置量。
 
但是现有的垃圾分类箱投口门向内前后翻转打开和关闭,容易夹到人手;垃圾堆满时打不开投口门,强制打开后容易损坏设备。
 
因此需要对现有的垃圾分类箱投口门进行改进。
 
发明内容
 
(一)解决的技术问题
 
针对现有技术的不足,本发明的主要目的是提供一种垃圾箱防夹手升降门,其安全性高、成本低廉且性能可靠;
 
本发明的第二个目的是提供一种垃圾箱防夹手升降门,解决现有垃圾箱投口门在垃圾装满后,投口门无法打开的难题。
 
(二)技术方案及有益效果
 
以上目的本发明通过以下技术方案予以实现:
 
一种垃圾箱防夹手升降门,包括主框架、门框架、动力组件、上连接件、主动组件、下连接件、从动组件、升降门组件、固定组件、限位组件,
 
所述主框架上设有的电机支架,所述电机支架与电机连接;
 
所述动力组件:包括双向驱动电机和双向驱动电机同步轮,所述的双向驱动电机的输出轴上设有电机同步轮;
 
上连接件为上连接同步带;
 
所述主动组件,包括从动同步轮,上转轴,Φ15-T型轴承座和Φ10-T型轴承座,驱动同步轮;
 
所述上连接同步带连接电机同步轮和从动同步轮;
 
所述下连接件为下连接同步带;
 
所述从动组件:包括同步惰轮,下转轴,固定座;
 
所述下连接同步带连接同步惰轮与驱动同步轮;
 
所述升降门组件:包括门板,防夹手门舌,行程开关,线性滑轨,导向轴,直线滑块,所述直线滑块设置于门板的两侧,直线滑块上设置有导向轴,所述防夹手门舌通过左右两端的线性滑轨连接在门板上,所述行程开关设置于防夹手门舌上方的门板上,所述行程开关设置有两个;
 
所述固定组件:包括固定在直线滑块上的上压板和下压板,所述上压板和下压板与下连接同步带固定;
 
所述限位组件:包括上限位光电开关和下限位光电开关,下限位光电开关和下限位光电开关设置于主框架上。
 
所述门板在电机的带动下上下运动。
 
所述门框架固定于主框架上。
 
线性滑轨作用是用来支撑和引导运动部件,按给定的方向做往复直线运动。
 
直线滑块与导向轴配合使用,用于直线往复运动场合,且可以承担一定的扭矩,可在高负载的情况下实现高精度的直线运动。
 
上下压板用螺丝固定在同步带上,防止同步带出现打滑的现象。
 
光电开关是光电接近开关的简称,它是利用被检测物对光束的遮挡或反射,由同步回路接通电路,从而检测物体的有无。本实例中门板上的突出块通过上限位光电开关时电机停止转动,确定门上升高度,门板上的突出块通过下限位光电开关时电机停止转动,确定门下降高度。
 
有益效果:
 
本发明的提供的技术方案中,通过设置防夹手门舌,达到防止垃圾箱投口门夹手的目的,通过设置上下滑动的升降门,解决垃圾箱盛满后投口门无法打开的问题。
 
附图说明
 
一种垃圾箱防夹手升降门
图1是本发明整体结构示意图;
 
一种垃圾箱防夹手升降门
图2是本发明A处放大结构示意图;
 
一种垃圾箱防夹手升降门
图3是本发明B处放大结构示意图;
 
一种垃圾箱防夹手升降门
图4是本发明C处放大结构示意图;
 
一种垃圾箱防夹手升降门
图5是本发明平面结构示意图;
 
一种垃圾箱防夹手升降门
一种垃圾箱防夹手升降门
图6a和6b是线性滑轨侧视和主视结构示意图;
 
一种垃圾箱防夹手升降门
图7为传统垃圾箱开合门结构图;
 
图中:10主框架、11门框架、12电机支架、20动力组件、21双向驱动电机、22双向驱动电机同步轮、30上连接同步带、40主动组件、41从动同步轮、42上转轴、43Φ15-T型轴承座、44Φ10-T型轴承座、45驱动同步轮、50下连接同步带、60从动组件、61同步惰轮、62下转轴、63固定座、70升降门组件、71门板、72防夹手门舌、73行程开关、74线性滑轨、75导向轴、76直线滑块、80固定组件、81上压板、82下压板、90限位组件、91上限位光电开关、92下限位光电开关。
 
具体实施方式
 
下面将结合本发明实施例中的附图,对本发明实施例中的技术方案进行清楚、完整地描述,显然,所描述的实施例仅仅是本发明一部分实施例,而不是全部的实施例。基于本发明中的实施例,本领域普通技术人员在没有做出创造性劳动前提下所获得的所有其他实施例,都属于本发明保护的范围。
 
如图1所示,所述的门框架11上设有电机支架12,所述的电机支架12上安装有双向驱动电机21,所述的双向驱动电机21的输出轴上设有双向驱动电机同步轮22,所述的双向驱动电机同步轮22通过上连接同步带30与从动同步轮41连接,所述的从动同步轮41安装在上转轴42上,上转轴42通过Φ15-T型轴承座43和Φ10-T型轴承座44固定,所述驱动同步轮45安装于上转轴42上,所述同步惰轮61通过下转轴62固定于固定座63上,所述同步惰轮61通过同步带50和驱动同步轮45相连,所述防夹手门舌72通过线性滑轨74固定在所述门板71上,所述左右两端行程开关73固定在门板71上,所述门板71固定在对称设置的传动直线滑块76上,直线滑块设置于门框架11上相互平行的左右两根导向轴75上的,所述门板71通过安装在直线滑块76上的上压板81和下压板82固定在下连接同步带50上,所述上限位光电开关91和下限位光电开关92固定在门框架11。
 
动力组件20中双向驱动电机11通过上连接同步带30带动主动组件40中的驱动同步轮45旋转,驱动同步轮45通过从动组件60中的同步惰轮61带动下连接同步带50上下运动,通过下连接同步带50的上下运动,带动升降门组件70中的门板71通过直线滑块76在导向轴75上下滑动,门板71通过遮挡上限位光电开关91和遮挡下限位光电开关92而确定上下位置;
 
当门板71沿关门方向移动过程中,防夹手门舌触碰到操作者(或操作者触碰到防夹手门舌),防夹手门舌通过线性滑轨向上移动而触发行程开关,行程开关由常开状态变为常闭状态,发出让双向驱动电机反转信号,双向驱动电机反方向转动,以使门板变为上升运动。
 
需要进一步解释的,在垃圾箱上具有控制按钮或者中控触屏等开关,使用者选择之后,垃圾箱通电开合。
 
综上,本发明达到使用目的。
 
Copyright © 宁波鄞州盖奇同步带轮有限公司 2007-2022 All Rights Reserved.
电话:4006-574-123/0574-27834692 传真:0574-27834691
地址:浙江省宁波市鄞州区姜山镇蔡郎桥村姜南路39-2 E-Mail:sales@belt-pulley.com  
浙ICP备09102982号 盖奇公司网络部提供技术支持 浙公网安备33021202003319号