当前位置:首页->一种钣金折边设备的伺服定位装置

 一种钣金折边设备的伺服定位装置

 
【申请公布号:CN110883142A;申请权利人:南阳市百斯特液压机械有限公司;发明设计人: 刘玲; 司志备; 李海广; 李海勇; 李春景; 张淼; 赵明英】
 
摘要:
 
本发明公开一种钣金折边设备的伺服定位装置,该钣金折边设备的伺服定位装置包括龙门架、以可前后滑动的方式安装于该龙门架上的定位平台和用于驱动该定位平台两侧同步在龙门架前后移动的同步驱动机构,该龙门架横跨安装于钣金折边设备的机架上,该钣金折边设备的工作台安装于定位平台上并可随定位平台移动而移动;所述同步驱动机构包括有分别设置于龙门架两侧的第一同步轮同步带组件和第二同步轮同步带组件、安装于该龙门架上端并用于驱动该第一同步轮同步带组件和第二同步轮同步带组件同步工作的同步轴及用于配合驱动该同步轴转动的减速机和伺服电机,所述定位平台两端分别与该第一同步轮同步带组件和第二同步轮同步带组件连接。 
 
主权项:
 
1.一种钣金折边设备的伺服定位装置,其特征在于:其包括龙门架(1)、以可前后滑动的方式安装于该龙门架(1)上的定位平台(2)和用于驱动该定位平台(2)两侧同步在龙门架(1)前后移动的同步驱动机构(3),该龙门架(1)横跨安装于钣金折边设备的机架上,该钣金折边设备的工作台安装于定位平台(2)上并可随定位平台(2)移动而移动;所述同步驱动机构(3)包括有分别设置于龙门架(1)两侧的第一同步轮同步带组件(31)和第二同步轮同步带组件、安装于该龙门架(1)上端并用于驱动该第一同步轮同步带组件(31)和第二同步轮同步带组件同步工作的同步轴(32)及用于配合驱动该同步轴(32)转动的减速机(33)和伺服电机(34),所述定位平台(2)两端分别与该第一同步轮同步带组件(31)和第二同步轮同步带组件连接。
 
要求:
 
1.一种钣金折边设备的伺服定位装置,其特征在于:其包括龙门架(1)、以可前后滑动的方式安装于该龙门架(1)上的定位平台(2)和用于驱动该定位平台(2)两侧同步在龙门架(1)前后移动的同步驱动机构(3),该龙门架(1)横跨安装于钣金折边设备的机架上,该钣金折边设备的工作台安装于定位平台(2)上并可随定位平台(2)移动而移动;所述同步驱动机构(3)包括有分别设置于龙门架(1)两侧的第一同步轮同步带组件(31)和第二同步轮同步带组件、安装于该龙门架(1)上端并用于驱动该第一同步轮同步带组件(31)和第二同步轮同步带组件同步工作的同步轴(32)及用于配合驱动该同步轴(32)转动的减速机(33)和伺服电机(34),所述定位平台(2)两端分别与该第一同步轮同步带组件(31)和第二同步轮同步带组件连接。
 
2.根据权利要求1所述的一种钣金折边设备的伺服定位装置,其特征在于:所述第一同步轮同步带组件(31)包括安装于该龙门架(1)一侧上下两端的第一同步轮(311)和第二同步轮(312)以及连接于该第一同步轮(311)和第二同步轮(312)上的第一同步带(313);该第一同步轮(311)还套设与该同步轴(32)上,并连动;所述定位平台(2)侧面通过连接座组件(21)与第一同步带(313)固定连接。
 
3.根据权利要求2所述的一种钣金折边设备的伺服定位装置,其特征在于:所述龙门架(1)一侧下端设置有可调节相对松紧度的安装座(314);所述第二同步轮(312)安装于该安装座(314)上,并可相对该安装座(314)转动。
 
4.根据权利要求2所述的一种钣金折边设备的伺服定位装置,其特征在于:所述龙门架(1)一侧设置有水平分布的第一滑轨(11),所述连接座组件(21)两侧设置有若干第一行走轮(211)和第二行走轮(212),该第一行走轮(211)和第二行走轮(212)夹设于该第一滑轨(11)上下两侧。
 
5.根据权利要求1-4任意一项所述的一种钣金折边设备的伺服定位装置,其特征在于:所述第二同步轮同步带组件的结构与第一同步轮同步带组件(31)的结构相同。
 
一种钣金折边设备的伺服定位装置
技术领域:
 
本发明涉及钣金加工技术领域,特指一种钣金折边设备的伺服定位装置。
 
背景技术:
 
频繁的钣金设计更新和越来越小的生产批量对钣金加工设备提出更高的通用性和柔性要求。
 
钣金折弯加工最常见的设备是折弯机,折弯机采用3点折弯成型工作原理,实现对钣金进行折弯。在对钣金进行进料时,都是通过人工手推的方式进行进料,然后再用工具测量钣金预折弯部分突出的长度,并在不断推拉钣金以实现确保钣金预折弯部分突出的长度的确定,其操作起来极为不方便,且增大了劳动强度,降低了工作效率,对使用者造成极大的困扰。
 
有鉴于此,本发明人提出以下技术方案。
 
发明内容:
 
本发明的目的在于克服现有技术的不足,提供一种钣金折边设备的伺服定位装置。
 
为了解决上述技术问题,本发明采用了下述技术方案:该钣金折边设备的伺服定位装置包括龙门架、以可前后滑动的方式安装于该龙门架上的定位平台和用于驱动该定位平台两侧同步在龙门架前后移动的同步驱动机构,该龙门架横跨安装于钣金折边设备的机架上,该钣金折边设备的工作台安装于定位平台上并可随定位平台移动而移动;所述同步驱动机构包括有分别设置于龙门架两侧的第一同步轮同步带组件和第二同步轮同步带组件、安装于该龙门架上端并用于驱动该第一同步轮同步带组件和第二同步轮同步带组件同步工作的同步轴及用于配合驱动该同步轴转动的减速机和伺服电机,所述定位平台两端分别与该第一同步轮同步带组件和第二同步轮同步带组件连接。
 
进一步而言,上述技术方案中,所述第一同步轮同步带组件包括安装于该龙门架一侧上下两端的第一同步轮和第二同步轮以及连接于该第一同步轮和第二同步轮上的第一同步带;该第一同步轮还套设与该同步轴上,并连动;所述定位平台侧面通过连接座组件与第一同步带固定连接。
 
进一步而言,上述技术方案中,所述龙门架一侧下端设置有可调节相对松紧度的安装座;所述第二同步轮安装于该安装座上,并可相对该安装座转动。
 
进一步而言,上述技术方案中,所述龙门架一侧设置有水平分布的第一滑轨,所述连接座组件两侧设置有若干第一行走轮和第二行走轮,该第一行走轮和第二行走轮夹设于该第一滑轨上下两侧。
 
进一步而言,上述技术方案中,所述第二同步轮同步带组件的结构与第一同步轮同步带组件的结构相同。
 
采用上述技术方案后,本发明与现有技术相比较具有如下有益效果:本本发明应用于钣金折边设备,钣金折边设备的工作台安装于定位平台上并可随定位平台移动而移动,将需要折边的钣金放置钣金折边设备的工作台上;此时,同步驱动机构工作,该同步驱动机构中的伺服电机配合减速机驱动该同步轴旋转,以驱使该第一同步轮同步带组件和第二同步轮同步带组件同步工作,使定位平台两端同步移动,且运行稳定、精度高,使钣金折边设备的工作台到达预定位置,即本发明能够对钣金进行自动定位,精确定位后挡料,提供定位基准,保证钣金工件的成形尺寸始终如一,且采用全伺服电动控制,确保钣金成形的精度、一致性和重复性,并且大大降低了劳动强度,且操作起来极为简单,工作效率也极高,令本发明具有极强的市场竞争力。
 
附图说明:
 
一种钣金折边设备的伺服定位装置
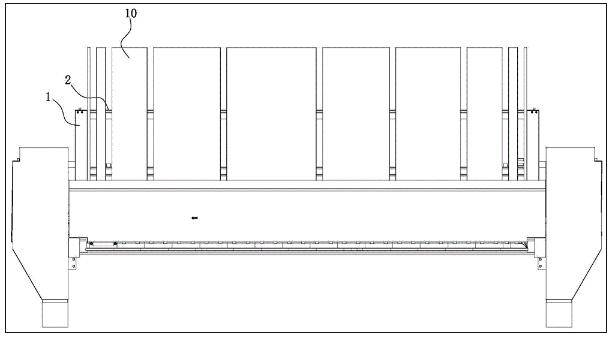
图1是本发明的主视图;
 
一种钣金折边设备的伺服定位装置
图2是本发明的立体图;
 
一种钣金折边设备的伺服定位装置
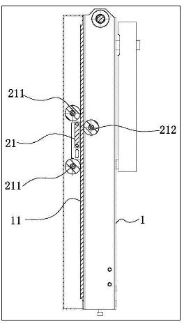
图3是图1沿B-B向的剖视图;
 
一种钣金折边设备的伺服定位装置
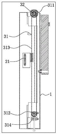
图4是图1沿C-C向的剖视图;
 
一种钣金折边设备的伺服定位装置
图5是本发明装配于钣金折边设备后的俯视图。
 
具体实施方式:
 
下面结合具体实施例和附图对本发明进一步说明。
 
见图1-5所示,为一种钣金折边设备的伺服定位装置,其包括龙门架1、以可前后滑动的方式安装于该龙门架1上的定位平台2和用于驱动该定位平台2两侧同步在龙门架1前后移动的同步驱动机构3,该龙门架1横跨安装于钣金折边设备的机架上,该钣金折边设备的工作台10安装于定位平台2上并可随定位平台2移动而移动;所述同步驱动机构3包括有分别设置于龙门架1两侧的第一同步轮同步带组件31和第二同步轮同步带组件、安装于该龙门架1上端并用于驱动该第一同步轮同步带组件31和第二同步轮同步带组件同步工作的同步轴32及用于配合驱动该同步轴32转动的减速机33和伺服电机34,所述定位平台2两端分别与该第一同步轮同步带组件31和第二同步轮同步带组件连接。本发明应用于钣金折边设备,钣金折边设备的工作台10安装于定位平台2上并可随定位平台2移动而移动,将需要折边的钣金放置钣金折边设备的工作台上;此时,同步驱动机构3工作,该同步驱动机构中的伺服电机34配合减速机33驱动该同步轴32旋转,以驱使该第一同步轮同步带组件31和第二同步轮同步带组件同步工作,使定位平台2两端同步移动,且运行稳定、精度高,使钣金折边设备的工作台到达预定位置,即本发明能够对钣金进行自动定位,精确定位后挡料,提供定位基准,保证钣金工件的成形尺寸始终如一,且采用全伺服电动控制,确保钣金成形的精度、一致性和重复性,并且大大降低了劳动强度,且操作起来极为简单,工作效率也极高,令本发明具有极强的市场竞争力。
 
所述第一同步轮同步带组件31包括安装于该龙门架1一侧上下两端的第一同步轮311和第二同步轮312以及连接于该第一同步轮311和第二同步轮312上的第一同步带313;该第一同步轮311还套设与该同步轴32上,并连动;所述定位平台2侧面通过连接座组件21与第一同步带313固定连接,以此通过第一同步带配合连接座组件21驱动该定位平台前后移动,且运行精准度高,一致性强。
 
所述龙门架1一侧下端设置有可调节相对松紧度的安装座314;所述第二同步轮312安装于该安装座314上,并可相对该安装座314转动,并可以通过调节安装座314调节第一同步带的张紧度,还可以通过松开安装座314以拆装第一同步带,使用起来极为方便。
 
所述龙门架1一侧设置有水平分布的第一滑轨11,所述连接座组件21两侧设置有若干第一行走轮211和第二行走轮212,该第一行走轮211和第二行走轮212夹设于该第一滑轨11两侧,以此保证连接座组件21能够在龙门架1上进行稳定的前后移动,运行更加稳定。
 
所述第二同步轮同步带组件的结构与第一同步轮同步带组件31的结构相同,在此不再一一赘述。且该第二同步轮同步带组件与龙门架及定位平台2的装配结构也和第二同步轮同步带组件与龙门架及定位平台2的装配结构相同,在此不再一一赘述。
 
综上所述,本发明应用于钣金折边设备,钣金折边设备的工作台安装于定位平台2上并可随定位平台2移动而移动,将需要折边的钣金放置钣金折边设备的工作台上;此时,同步驱动机构3工作,该同步驱动机构中的伺服电机34配合减速机33驱动该同步轴32旋转,以驱使该第一同步轮同步带组件31和第二同步轮同步带组件同步工作,使定位平台2两端同步移动,且运行稳定、精度高,使钣金折边设备的工作台到达预定位置,即本发明能够对钣金进行自动定位,精确定位后挡料,提供定位基准,保证钣金工件的成形尺寸始终如一,且采用全伺服电动控制,确保钣金成形的精度、一致性和重复性,并且大大降低了劳动强度,且操作起来极为简单,工作效率也极高,令本发明具有极强的市场竞争力。
 
当然,以上所述仅为本发明的具体实施例而已,并非来限制本发明实施范围,凡依本发明申请专利范围所述构造、特征及原理所做的等效变化或修饰,均应包括于本发明申请专利范围内。
 
Copyright © 宁波鄞州盖奇同步带轮有限公司 2007-2022 All Rights Reserved.
电话:4006-574-123/0574-27834692 传真:0574-27834691
地址:浙江省宁波市鄞州区姜山镇蔡郎桥村姜南路39-2 E-Mail:sales@belt-pulley.com  
浙ICP备09102982号 盖奇公司网络部提供技术支持 浙公网安备33021202003319号