当前位置:首页->一种专用于涂布机自动纠偏装置

 一种专用于涂布机自动纠偏装置

 
【申请公布号:CN110935595A;申请权利人:江苏万源新材料股份有限公司;发明设计人:张君; 钱本强;】
 
摘要:
 
本发明公开了一种专用于涂布机自动纠偏装置,包括两组立板,两组所述立板之间转动安装有第一传动辊和第二传动辊,所述第一传动辊和第二传动辊之间滑动安装有张紧辊轴,所述张紧辊轴两端均固定安装有张紧组件,所述张紧组件包括丝杆,所述丝杆表面转动安装有旋转套,所述立板顶部对称安装有第一电机,所述第一电机的输处轴端固定安装有第一同步带轮,所述旋转套一侧固定安装有第二同步带轮,所述第一同步带轮和第二同步带轮之间传动连接有同步带,所述第二传动辊两端均固定安装有偏心调节组件,所述偏心调节组件包括轴承座,所述第二传动辊两端均固定安装有轴头,保证辊轴之间受力平衡,及时得进行布料发生微尺寸偏移的纠正。 
 
主权项:
 
1.一种专用于涂布机自动纠偏装置,包括两组立板(1),其特征在于:两组所述立板(1)之间转动安装有第一传动辊(2)和第二传动辊(3),所述第一传动辊(2)和第二传动辊(3)之间滑动安装有张紧辊轴(4),所述张紧辊轴(4)两端均固定安装有张紧组件(5);所述张紧组件(5)包括丝杆(501),所述丝杆(501)表面转动安装有旋转套(502),所述立板(1)顶部对称安装有第一电机(503),所述第一电机(503)的输处轴端固定安装有第一同步带轮(504),所述旋转套(502)一侧固定安装有第二同步带轮(505),所述第一同步带轮(504)和第二同步带轮(505)之间传动连接有同步带(506);所述第二传动辊(3)两端均固定安装有偏心调节组件(6),所述偏心调节组件(6)包括轴承座(601),所述第二传动辊(3)两端均固定安装有轴头(602),所述轴头(602)转动安装于轴承座(601)内,所述轴承座(601)的中心线和轴头(602)的中心线的间距为1.5mm,所述轴承座(601)一侧转动安装于立板(1)内,且轴承座(601)位于立板(1)外部一侧设置有第一齿轮(603),所述第一齿轮(603)下方传动连接有第二齿轮(604),两组所述第二齿轮(604)内均固定连接有调节轴(605),所述调节轴(605)一端固定安装有第二电机(606),两组所述立板(1)一侧均固定安装有接近开关(607),所述接近开关(607)和第二电机(606)电性连接。 
 
要求:
 
1.一种专用于涂布机自动纠偏装置,包括两组立板(1),其特征在于:两组所述立板(1)之间转动安装有第一传动辊(2)和第二传动辊(3),所述第一传动辊(2)和第二传动辊(3)之间滑动安装有张紧辊轴(4),所述张紧辊轴(4)两端均固定安装有张紧组件(5);
 
所述张紧组件(5)包括丝杆(501),所述丝杆(501)表面转动安装有旋转套(502),所述立板(1)顶部对称安装有第一电机(503),所述第一电机(503)的输处轴端固定安装有第一同步带轮(504),所述旋转套(502)一侧固定安装有第二同步带轮(505),所述第一同步带轮(504)和第二同步带轮(505)之间传动连接有同步带(506);
 
所述第二传动辊(3)两端均固定安装有偏心调节组件(6),所述偏心调节组件(6)包括轴承座(601),所述第二传动辊(3)两端均固定安装有轴头(602),所述轴头(602)转动安装于轴承座(601)内,所述轴承座(601)的中心线和轴头(602)的中心线的间距为1.5mm,所述轴承座(601)一侧转动安装于立板(1)内,且轴承座(601)位于立板(1)外部一侧设置有第一齿轮(603),所述第一齿轮(603)下方传动连接有第二齿轮(604),两组所述第二齿轮(604)内均固定连接有调节轴(605),所述调节轴(605)一端固定安装有第二电机(606),两组所述立板(1)一侧均固定安装有接近开关(607),所述接近开关(607)和第二电机(606)电性连接。
 
2.根据权利要求1所述的一种专用于涂布机自动纠偏装置,其特征在于:所述旋转套(502)转动安装有立板(1)内,所述丝杆(501)靠近旋转套(502)一端固定安装有限位板(507),所述限位板(507)底部一侧固定安装有微动开关(508),所述微动开关(508)和第一电机(503)电性连接。
 
3.根据权利要求1所述的一种专用于涂布机自动纠偏装置,其特征在于:两组所述立板(1)内均开设有滑槽(101),所述张紧辊轴(4)两端均转动安装有固定块(401),所述固定块(401)两侧对称设置有滑块(402),所述滑块(402)滑动安装于滑槽(101)内。
 
4.根据权利要求3所述的一种专用于涂布机自动纠偏装置,其特征在于:所述固定块(401)顶部固定安装有定位块(403),所述丝杆(501)远离旋转套(502)一端通过轴承转动安装于定位块(403)内。
 
5.根据权利要求1所述的一种专用于涂布机自动纠偏装置,其特征在于:所述滑槽(101)顶部固定安装有连接板(102),所述旋转套(502)转动安装于连接板(102)内。
 
6.根据权利要求1所述的一种专用于涂布机自动纠偏装置,其特征在于:所述第一齿轮(603)和第二齿轮(604)之间啮合有过渡齿轮(608),两组所述立板(1)内固定安装有定位轴(609),所述过渡齿轮(608)转动安装于定位轴(609)一端。
 
7.根据权利要求1所述的一种专用于涂布机自动纠偏装置,其特征在于:所述第二传动辊(3)两端均固定安装有挡板(301),所述接近开关(607)通过支撑板(610)固定安装于立板(1)一侧,所述接近开关(607)固定安装于挡板(301)一侧。
 
8.根据权利要求1所述的一种专用于涂布机自动纠偏装置,其特征在于:所述调节轴(605)贯穿转动安装于两组立板(1)内,所述立板(1)内位于调节轴(605)贯穿位置固定安装有轴套(611),所述轴套(611)呈石墨圆环结构设置。
 
9.根据权利要求1所述的一种专用于涂布机自动纠偏装置,其特征在于:所述立板(1)顶部固定安装有电机支撑座(103),所述第一电机(503)固定安装于电机支撑座(103)内,且同步带(506)贯穿于电机支撑座(103)内,所述电机支撑座(103)内位于同步带(506)贯穿位置开设有缺口(104)。
 
 
一种专用于涂布机自动纠偏装置
技术领域
 
本发明涉及涂布机技术领域,具体涉及一种专用于涂布机自动纠偏装置。
 
背景技术
 
涂布机主要用于薄膜、纸张等的表面涂布工艺生产,此机是将成卷的基材涂上一层特定功能的胶、涂料或油墨等,并烘干后收卷。它采用专用的多功能涂布头,能实现多种形式的表面涂布产生,涂布机的收放卷均配置全速自动接膜机构,PLC程序张力闭环自动控制。将成卷的基材,如:纸张、布匹、皮革、铝箔、塑料薄膜等,涂上一层特定功能的胶、涂料或油墨等,并烘干后收卷。
 
涂布机的布料在辊上向前输送时,由于输送方向与导辊之间出现偏差,导致在辊轴向产生分力,慢慢的布料就会便宜原来的输送轨道,最后造成布料边缘褶皱等现象。
 
为此,我们提出一种专用于涂布机自动纠偏装置,在辊轴之间设置一组张紧辊轴,用电动丝杆进行张紧力的调节,保证辊轴之间受力平衡,防止布料跑偏;在辊轴两端设置偏心微调装置,便于在布料发生微尺寸偏移时,及时进行得纠正。
 
发明内容
 
本发明的目的在于提供一种专用于涂布机自动纠偏装置,以解决上述背景技术中提出涂布机的布料在辊上向前输送时,由于输送方向与导辊之间出现偏差,导致在辊轴向产生分力,慢慢的布料就会便宜原来的输送轨道,最后造成布料边缘褶皱等现象的问题。
 
为实现上述目的,本发明提供如下技术方案:一种专用于涂布机自动纠偏装置,包括两组立板,两组所述立板之间转动安装有第一传动辊和第二传动辊,所述第一传动辊和第二传动辊之间滑动安装有张紧辊轴,所述张紧辊轴两端均固定安装有张紧组件;
 
所述张紧组件包括丝杆,所述丝杆表面转动安装有旋转套,所述立板顶部对称安装有第一电机,所述第一电机的输处轴端固定安装有第一同步带轮,所述旋转套一侧固定安装有第二同步带轮,所述第一同步带轮和第二同步带轮之间传动连接有同步带;
 
所述第二传动辊两端均固定安装有偏心调节组件,所述偏心调节组件包括轴承座,所述第二传动辊两端均固定安装有轴头,所述轴头转动安装于轴承座内,所述轴承座的中心线和轴头的中心线的间距为1.5mm,所述轴承座一侧转动安装于立板内,且轴承座位于立板外部一侧设置有第一齿轮,所述第一齿轮下方传动连接有第二齿轮,两组所述第二齿轮内均固定连接有调节轴,所述调节轴一端固定安装有第二电机,两组所述立板一侧均固定安装有接近开关,所述接近开关和第二电机电性连接。
 
其中,所述旋转套转动安装有立板内,所述丝杆靠近旋转套一端固定安装有限位板,所述限位板底部一侧固定安装有微动开关,所述微动开关和第一电机电性连接。
 
其中,两组所述立板内均开设有滑槽,所述张紧辊轴两端均转动安装有固定块,所述固定块两侧对称设置有滑块,所述滑块滑动安装于滑槽内。
 
其中,所述固定块顶部固定安装有定位块,所述丝杆远离旋转套一端通过轴承转动安装于定位块内。
 
其中,所述滑槽顶部固定安装有连接板,所述旋转套转动安装于连接板内。
 
其中,所述第一齿轮和第二齿轮之间啮合有过渡齿轮,两组所述立板内固定安装有定位轴,所述过渡齿轮转动安装于定位轴一端。
 
其中,所述第二传动辊两端均固定安装有挡板,所述接近开关通过支撑板固定安装于立板一侧,所述接近开关固定安装于挡板一侧。
 
其中,所述调节轴贯穿转动安装于两组立板内,所述立板内位于调节轴贯穿位置固定安装有轴套,所述轴套呈石墨圆环结构设置。
 
其中,所述立板顶部固定安装有电机支撑座,所述第一电机固定安装于电机支撑座内,且同步带贯穿于电机支撑座内,所述电机支撑座内位于同步带贯穿位置开设有缺口。
 
综上所述,由于采用了上述技术,本发明的有益效果是:
 
本发明中,在辊轴之间设置一组张紧辊轴,用电动丝杆进行张紧力的调节,保证辊轴之间受力平衡,防止布料跑偏。
 
本发明中,在辊轴两端设置偏心微调装置,便于在布料发生微尺寸偏移时,及时进行得纠正。
 
附图说明
 
一种专用于涂布机自动纠偏装置
图1为本发明一种专用于涂布机自动纠偏装置的主视结构示意图;
 
一种专用于涂布机自动纠偏装置
图2为本发明一种专用于涂布机自动纠偏装置的第二传动辊轴侧视结构示意图;
 
一种专用于涂布机自动纠偏装置
图3为本发明一种专用于涂布机自动纠偏装置的丝杆连接侧视主视结构示意图;
 
一种专用于涂布机自动纠偏装置
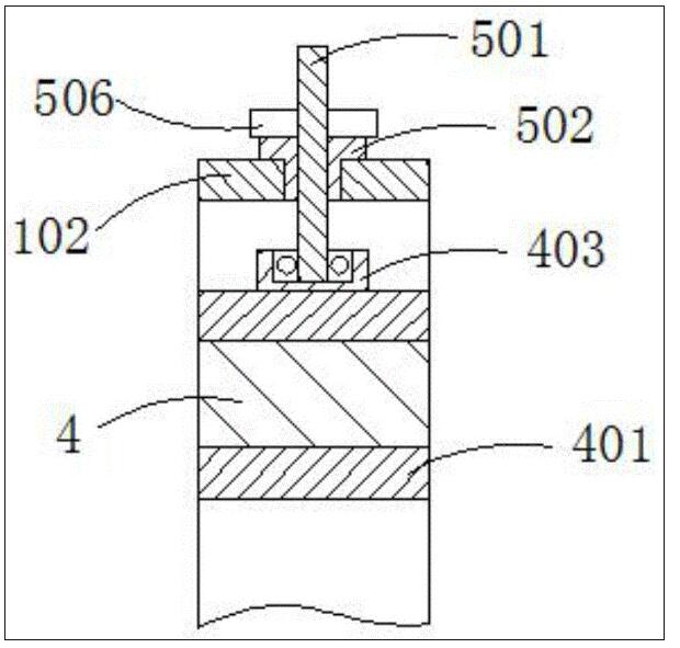
图4为本发明一种专用于涂布机自动纠偏装置的图1中放大结构示意图;
 
一种专用于涂布机自动纠偏装置
图5为本发明一种专用于涂布机自动纠偏装置的固定块俯视剖视结构示意图。
 
图中:1、立板;101、滑槽;102、连接板;103、电机支撑座;104、缺口;2、第一传动辊;3、第二传动辊;301、挡板;4、张紧辊轴;401、固定块;402、滑块;403、定位块;5、张紧组件;501、丝杆;502、旋转套;503、第一电机;504、第一同步带轮;505、第二同步带轮;506、同步带;507、限位板;508、微动开关;6、偏心调节组件;601、轴承座;602、轴头;603、第一齿轮;604、第二齿轮;605、调节轴;606、第二电机;607、接近开关;608、过渡齿轮;609、定位轴;610、支撑板;611、轴套。
 
具体实施方式
 
为使本发明实施方式的目的、技术方案和优点更加清楚,下面将结合本发明实施方式中的附图,对本发明实施方式中的技术方案进行清楚、完整地描述,显然,所描述的实施方式是本发明一部分实施方式,而不是全部的实施方式。基于本发明中的实施方式,本领域普通技术人员在没有作出创造性劳动前提下所获得的所有其他实施方式,都属于本发明保护的范围。因此,以下对在附图中提供的本发明的实施方式的详细描述并非旨在限制要求保护的本发明的范围,而是仅仅表示本发明的选定实施方式。基于本发明中的实施方式,本领域普通技术人员在没有作出创造性劳动前提下所获得的所有其他实施方式,都属于本发明保护的范围。
 
在本发明的描述中,需要理解的是,指示方位或位置关系的术语为基于附图所示的方位或位置关系,仅是为了便于描述本发明和简化描述,而不是指示或暗示所指的设备或元件必须具有特定的方位、以特定的方位构造和操作,因此不能理解为对本发明的限制。
 
在本发明中,除非另有明确的规定和限定,术语“安装”、“相连”、“连接”、“固定”等术语应做广义理解,例如,可以是固定连接,也可以是可拆卸连接,或成一体;可以是机械连接,也可以是电连接;可以是直接相连,也可以通过中间媒介间接相连,可以是两个元件内部的连通或两个元件的相互作用关系。对于本领域的普通技术人员而言,可以根据说明书具体情况理解上述术语在本发明中的具体含义。
 
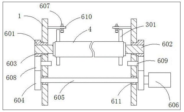
本发明提供了如图1-5所示的一种专用于涂布机自动纠偏装置,包括两组立板1,两组所述立板1之间转动安装有第一传动辊2和第二传动辊3,所述第一传动辊2和第二传动辊3之间滑动安装有张紧辊轴4,所述张紧辊轴4两端均固定安装有张紧组件5。
 
所述张紧组件5包括丝杆501,所述丝杆501表面转动安装有旋转套502,所述立板1顶部对称安装有第一电机503,所述第一电机 503的输处轴端固定安装有第一同步带轮504,所述旋转套502一侧固定安装有第二同步带轮505,所述第一同步带轮504和第二同步带轮505之间传动连接有同步带506。
 
所述第二传动辊3两端均固定安装有偏心调节组件6,所述偏心调节组件6包括轴承座601,所述第二传动辊3两端均固定安装有轴头602,所述轴头602转动安装于轴承座601内,所述轴承座601 的中心线和轴头602的中心线的间距为1.5mm,所述轴承座601一侧转动安装于立板1内,且轴承座601位于立板1外部一侧设置有第一齿轮603,所述第一齿轮603下方传动连接有第二齿轮604,两组所述第二齿轮604内均固定连接有调节轴605,所述调节轴605一端固定安装有第二电机606,两组所述立板1一侧均固定安装有接近开关607,所述接近开关607和第二电机606电性连接。
 
较佳地,所述旋转套502转动安装有立板1内,所述丝杆501 靠近旋转套502一端固定安装有限位板507,所述限位板507底部一侧固定安装有微动开关508,所述微动开关508和第一电机503电性连接,设置限位板507,便于微动开关508的安装,利用微动开关 508可以避免第二同步带轮505从丝杆501表面滑脱。
 
较佳地,两组所述立板1内均开设有滑槽101,所述张紧辊轴4 两端均转动安装有固定块401,所述固定块401两侧对称设置有滑块 402,所述滑块402滑动安装于滑槽101内,利用固定块401带动张紧辊轴4在滑槽101内滑动,不仅可以保证张紧辊轴4于布料之间的传动作用,且保证张紧辊轴4的调节结构可以实现。
 
较佳地,所述固定块401顶部固定安装有定位块403,所述丝杆 501远离旋转套502一端通过轴承转动安装于定位块403内,设置定位块403,保证丝杆501与固定块401转动连接且旋转时不与固定块 401的升降发生干涉。
 
较佳地,所述滑槽101顶部固定安装有连接板102,所述旋转套 502转动安装于连接板102内,设置连接板102,便于将旋转套502 转动连接于立板1内,丝杆501正向或反向转动时可实现其上升或下降。
 
较佳地,所述第一齿轮603和第二齿轮604之间啮合有过渡齿轮608,两组所述立板1内固定安装有定位轴609,所述过渡齿轮608 转动安装于定位轴609一端,利用过渡齿轮608同时与第一齿轮603 和第二齿轮604啮合,进行调节时的传动。
 
较佳地,所述第二传动辊3两端均固定安装有挡板301,所述接近开关607通过支撑板610固定安装于立板1一侧,所述接近开关 607固定安装于挡板301一侧,设置挡板301,防止接近开关607失效时,布料偏移量过大,便于操作人员及时发现进行纠偏。
 
较佳地,所述调节轴605贯穿转动安装于两组立板1内,所述立板1内位于调节轴605贯穿位置固定安装有轴套611,所述轴套 611呈石墨圆环结构设置,将轴套611设置呈石墨圆环结构设置,便于在第二电机606带动调节轴605旋转时,减少调节轴605和立板1 之间的摩擦,且增加轴套611和立板1之间的润滑度,使调节转动更顺畅。
 
较佳地,所述立板1顶部固定安装有电机支撑座103,所述第一电机503固定安装于电机支撑座103内,且同步带506贯穿于电机支撑座103内,所述电机支撑座103内位于同步带506贯穿位置开设有缺口104,设置电机支撑座103,便于第一电机503的拆装,从而方便第一电机503的维护。
 
工作原理:在第一传动辊2和第二传动辊3之间设置一组张紧辊轴4,调节张紧力时,启动第一电机503,带动第一同步带轮504 和第二同步带轮505传动,从而带动丝杆501转动,利用旋转套502 转动连接于立板1内的螺接结构,丝杆501正向或者反向旋转时,会带动固定块401在滑槽101内滑动,从而改变张紧辊轴4的高,进行张紧力的调节,保证辊轴之间受力平衡,防止布料跑偏;
 
在第二传动辊3的两端设置偏心微调装置,其包括轴承座601,使轴承座601的中心线和轴头602的中心线的间距为1.5mm,利用过渡齿轮608分别与第一齿轮603和第二齿轮604啮合,调节时,启动第二电机606,带动轴承座601转动,即可改变张紧辊轴4在传动方向上的位置,在第二传动辊3两端均设置接近开关607,利用接近开关607识别布料是否产生偏移,及时控制第二电机606启动,便于在布料发生微尺寸偏移时,及时得进行纠正。
 
最后应说明的是:以上所述仅为优选实施例而已,并不用于限制本发明,尽管参照前述实施例对本发明进行了详细的说明,对于本领域的技术人员来说,依然可以对前述各实施例所记载的技术方案进行修改,或者对其中部分技术特征进行等同替换,在本发明的精神和原则之内,所作的任何修改、等同替换、改进等,均包含在本发明的保护范围之内。
 
Copyright © 宁波鄞州盖奇同步带轮有限公司 2007-2022 All Rights Reserved.
电话:4006-574-123/0574-27834692 传真:0574-27834691
地址:浙江省宁波市鄞州区姜山镇蔡郎桥村姜南路39-2 E-Mail:sales@belt-pulley.com  
浙ICP备09102982号 盖奇公司网络部提供技术支持 浙公网安备33021202003319号