当前位置:首页->一种可实现随走随停行走模式的步速可调助力行走装置

 一种可实现随走随停行走模式的步速可调助力行走装置

 
【请公布号:CN111494167A;申请权利人:  苏州市职业大学;发明设计人: 张永康; 朱俊; 陆煜彬; 赵坤权; 韩士杰; 房良晋; 尚同同;】
 
摘要:
 
本发明提供了一种可实现随走随停行走模式的步速可调助力行走装置,包括安装架,安装架的前侧安装有束腰带,左右两侧设有机盖,机盖内设有轴,轴上由内至外依次设有大腿托板、同步带轮A、从动轮、双向棘轮、主动轮和蜗轮,从动轮的内侧下端设有挡板B和挡板A,双向棘轮的中部配合安装有传动轮固定件,传动轮固定件上配合安装有传动轮,双向棘轮的上方设有两同步带轮B,两同步带轮B的内端与同步带轮A传动连接,位于前侧的同步带轮B的外端设有棘爪B,位于后侧的同步带轮B的外端设有棘爪A,棘爪B和棘爪A的上方分别设有电磁铁B和电磁铁A。本发明解决了老年群体长时间行走困难问题,具有随走随停、步速可调、安全可靠、成本低等优点。 
 
主权项:
 
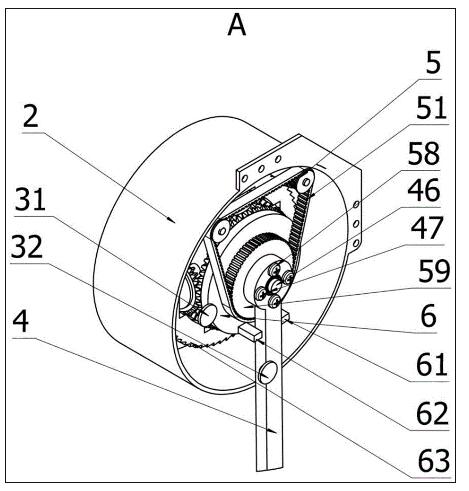
1.一种可实现随走随停行走模式的步速可调助力行走装置,其特征在于:包括安装架(1),所述安装架(1)的前侧配合安装有束腰带(15),左右两侧对称设有机盖(3),所述机盖(3)内设有水平设置的轴(46),所述轴(46)上由内至外依次设有大腿托板(4)、同步带轮A(59)、从动轮(6)、双向棘轮(63)、主动轮(65)和蜗轮(66),轴(46)的内端设有滚动轴承(47),所述大腿托板(4)的上端通过第二固定螺栓(58)与同步带轮 A(59)连接,所述同步带轮A(59)与从动轮(6)之间设有轴承(45),从动轮(6)的内侧下端设有两前后对称设置的挡板B(62)和挡板A(61),所述挡板B(62)和挡板A(61)将大腿托板(4)的上段限位其中,所述双向棘轮(63)的中部配合安装有传动轮固定件(69),所述传动轮固定件(69)包括套设在轴(46)外侧的圆环部,圆环部的外侧沿周向方向均布有四个支杆,支杆沿圆环部的径向方向设置,且支杆上配合安装有传动轮(64),所述从动轮(6)的外侧以及主动轮(65)内侧均与四个传动轮(64)相啮合,所述双向棘轮(63)的上方设有两前后对称设置的同步带轮B(5),两同步带轮B(5)的内端通过同步齿形带(51)与同步带轮A(59)传动连接,位于前侧的同步带轮B(5)的外端依次设有橡胶摩擦片(56)、棘爪B(55)和垫片(57),位于后侧的同步带轮B(5)的外端依次设有橡胶摩擦片(56)、棘爪A(54)和垫片(57),所述棘爪B(55)和棘爪A(54)置于两同步带轮B(5)之间,且棘爪B(55)与双向棘轮(63)外侧棘齿的位置相对应,棘爪A(54)与双向棘轮(63)内侧棘齿的位置相对应,所述棘爪B(55)和棘爪A(54)的上方分别设有电磁铁B(52)和电磁铁A(53),所述蜗轮(66)与主动轮(65)同步,其后侧配合安装有蜗杆(68),所述蜗杆(68)的下端配合安装有电机(67)。 
 
要求:
 
1.一种可实现随走随停行走模式的步速可调助力行走装置,其特征在于:包括安装架(1),所述安装架(1)的前侧配合安装有束腰带(15),左右两侧对称设有机盖(3),所述机盖(3)内设有水平设置的轴(46),所述轴(46)上由内至外依次设有大腿托板(4)、同步带轮A(59)、从动轮(6)、双向棘轮(63)、主动轮(65)和蜗轮(66),轴(46)的内端设有滚动轴承(47),所述大腿托板(4)的上端通过第二固定螺栓(58)与同步带轮 A(59)连接,所述同步带轮A(59)与从动轮(6)之间设有轴承(45),从动轮(6)的内侧下端设有两前后对称设置的挡板B(62)和挡板A(61),所述挡板B(62)和挡板A(61)将大腿托板(4)的上段限位其中,所述双向棘轮(63)的中部配合安装有传动轮固定件(69),所述传动轮固定件(69)包括套设在轴(46)外侧的圆环部,圆环部的外侧沿周向方向均布有四个支杆,支杆沿圆环部的径向方向设置,且支杆上配合安装有传动轮(64),所述从动轮(6)的外侧以及主动轮(65)内侧均与四个传动轮(64)相啮合,所述双向棘轮(63)的上方设有两前后对称设置的同步带轮B(5),两同步带轮B(5)的内端通过同步齿形带(51)与同步带轮A(59)传动连接,位于前侧的同步带轮B(5)的外端依次设有橡胶摩擦片(56)、棘爪B(55)和垫片(57),位于后侧的同步带轮B(5)的外端依次设有橡胶摩擦片(56)、棘爪A(54)和垫片(57),所述棘爪B(55)和棘爪A(54)置于两同步带轮B(5)之间,且棘爪B(55)与双向棘轮(63)外侧棘齿的位置相对应,棘爪A(54)与双向棘轮(63)内侧棘齿的位置相对应,所述棘爪B(55)和棘爪A(54)的上方分别设有电磁铁B(52)和电磁铁A(53),所述蜗轮(66)与主动轮(65)同步,其后侧配合安装有蜗杆(68),所述蜗杆(68)的下端配合安装有电机(67)。
 
2.根据权利要求1所述的一种可实现随走随停行走模式的步速可调助力行走装置,其特征在于:所述大腿托板(4)的下端通过第一固定螺栓(41)安装有膝关节固定带(42),所述膝关节固定带(42)置于大腿托板(4)的下端内侧。
 
3.根据权利要求2所述的一种可实现随走随停行走模式的步速可调助力行走装置,其特征在于:所述大腿托板(4)的下端通过弹簧线圈(43)连接有薄膜压力传感器(44)。
 
4.根据权利要求3所述的一种可实现随走随停行走模式的步速可调助力行走装置,其特征在于:所述安装架(1)的顶面后侧还设有电源模块(12)、控制模块(13)和警报器(11),所述控制模块(13)连接有驱动器(14)和控制面板(7),所述控制面板(7)上设有电量显示器(16)、电源开关(17)、步速调节旋钮(18)、行走模式按键(71)和攀登模式按键(72)。
 
5.根据权利要求4所述的一种可实现随走随停行走模式的步速可调助力行走装置,其特征在于:所述机壳(2)内侧配合安装有与其相适配的机盖(3),机盖(3)的下端和前侧分别设有传感器A(32)和传感器B(31)。
 
6.根据权利要求4所述的一种可实现随走随停行走模式的步速可调助力行走装置,其特征在于:所述警报器(11)、驱动器(14)、电量显示器(16)、步速调节旋钮(18)、传感器B(31)、传感器A(32)、薄膜压力传感器(44)、电磁铁B(52)、电磁铁A(53)和电机(67)均与控制模块(13)连接。
 
一种可实现随走随停行走模式的步速可调助力行走装置
技术领域
 
本发明涉及行走助力装置技术领域,尤其涉及一种可实现随走随停行走模式的步速可调助力行走装置。
 
背景技术
 
我国老年人口数量增加很快,但老年服务产业发展还比较滞后。老年人在长时间行走时,需要消耗大量的体力,下肢力量不足是老年人无法长时间行走的主要原因,这直接导致老年人的活动范围受到限制。
 
目前,老年人行走过程中,通常使用手杖作为支撑物辅助行走,通过上肢力量和手杖的共同作用来弥补下肢力量的不足,没有从根本上解决老年人下肢抬腿无力的问题。
 
当前市场上有一种无动力的行走机械,如 “爱来奇”无动力步行康复器采用弹簧受压储能设计,能在一定程度上实现辅助抬腿功能,但其储能仍需老年人人腿做功实现。同时,该助力行走机械也存在一定的问题,由做功储能到释放提供抬腿的能力之间的能量转换存在效率问题。从本质上来说,该种助力行走机械尽管实现了辅助老年人抬腿的动作(抬腿的能量由自身做功获得),实际上更加消耗了老年人的体能。因此,该助力行走机械未能解决老年人长期运动体力不足的问题。为了能更好解决这个问题,我们必须从外界补充能量来辅助老人行走。
 
带动力的“助力行走机械”主要由金属和合金等材料构成,利用电机驱动通过机械传动实现对老年人腿部的辅助作用。如本田科技工业方面的Honda步行辅助,虽然能解决行走累的问题,但仍存在一定的问题。一方面,装置相对复杂,偏重,并且该助力行走机械主要用于帮助使用者进行步行训练,而非长时间穿戴代替步行;另一方面,使用这种动力辅助装置常需要前期适应性训练,对老年人使用造成一定的困难,固定的模式与老年人时走时停的走路习惯不相符。另外,使用和操作也相对比较繁琐。该类“助力行走机械”其测量设备价格昂贵,最终造成总体价格非常高,普通消费者难以承担。例如本田科技工业方面的Honda步行辅助在日本以租赁方式的出售,每年计划投入数量450台,每月租金为45000円(约2980人民币),租赁合约期为36个月,费用高达11万人民币左右,整体使用费用很高,导致难以大批量生产和推广应用。因此,迫切需开发出一些操作简单、安全可靠、价格合理的机械装置用于辅助老年人行走,增大老年人活动范围,延缓老年人下肢力量的衰减,让每一位老人都能生活得安心、静心、舒心,都能健康长寿、安享幸福晚年。
 
鉴于以上原因,针对老年人的年龄增长、体能衰减(尤其是下肢力量衰减)和老年人随走随停的走路特征,发明了一种可实现随走随停行走模式、步速可调节的助力行走装置,老年人使用该装置行走时,腿部肌肉也能得到一定的锻炼,以满足老年人日常生活及长时间行走的需求。
 
发明内容
 
为解决上述问题,本发明公开了一种可实现随走随停行走模式的步速可调助力行走装置,解决了老年群体长时间行走困难问题,具有随走随停、步速可调、安全可靠、成本低等优点。
 
具体方案如下:
 
一种可实现随走随停行走模式的步速可调助力行走装置,其特征在于:包括安装架,所述安装架的前侧配合安装有束腰带,左右两侧对称设有机盖,所述机盖内设有水平设置的轴,所述轴上由内至外依次设有大腿托板、同步带轮A、从动轮、双向棘轮、主动轮和蜗轮,轴的内端设有滚动轴承,所述大腿托板的上端通过第二固定螺栓与同步带轮 A连接,所述同步带轮A与从动轮之间设有轴承,从动轮的内侧下端设有两前后对称设置的挡板B和挡板A,所述挡板B和挡板A将大腿托板的上段限位其中,所述双向棘轮的中部配合安装有传动轮固定件,所述传动轮固定件包括套设在轴外侧的圆环部,圆环部的外侧沿周向方向均布有四个支杆,支杆沿圆环部的径向方向设置,且支杆上配合安装有传动轮,所述从动轮的外侧以及主动轮内侧均与四个传动轮相啮合,所述双向棘轮的上方设有两前后对称设置的同步带轮B,两同步带轮B的内端通过同步齿形带与同步带轮A传动连接,位于前侧的同步带轮B的外端依次设有橡胶摩擦片、棘爪B和垫片,位于后侧的同步带轮B的外端依次设有橡胶摩擦片、棘爪A和垫片,所述棘爪B和棘爪A置于两同步带轮B之间,且棘爪B与双向棘轮外侧棘齿的位置相对应,棘爪A与双向棘轮内侧棘齿的位置相对应,所述棘爪B和棘爪A的上方分别设有电磁铁B和电磁铁A,所述蜗轮与主动轮同步,其后侧配合安装有蜗杆,所述蜗杆的下端配合安装有电机。
 
作为本发明的进一步改进,所述大腿托板的下端通过第一固定螺栓安装有膝关节固定带,所述膝关节固定带置于大腿托板的下端内侧。
 
作为本发明的进一步改进,所述大腿托板的下端通过弹簧线圈连接有薄膜压力传感器。
 
作为本发明的进一步改进,所述安装架的顶面后侧还设有电源模块、控制模块和警报器,所述控制模块连接有驱动器和控制面板,所述控制面板上设有电量显示器、电源开关、步速调节旋钮、行走模式按键和攀登模式按键。
 
作为本发明的进一步改进,所述机壳内侧配合安装有与其相适配的机盖,机盖的下端和前侧分别设有传感器A和传感器B。
 
作为本发明的进一步改进,所述警报器、驱动器、电量显示器、步速调节旋钮、传感器B、传感器A、薄膜压力传感器、电磁铁B、电磁铁A和电机均与控制模块连接。
 
本发明的有益效果在于:
 
1、结合了机械技术和控制技术,步速可调,无需前期适应性训练;
 
2、可较好的适应老年人随走随停的走路方式;
 
3、装置电机或电器元件出现故障时,控制系统自动断电,且断电情况下大腿托板处于自由转动状态,能有效防止意外情况的发生,同时装置设有多重保护,安全可靠,具有较强的推广与应用价值;
 
4、设有两种运行模式,可为使用者在不同行走环境下提供助力;
 
5、与市场同类产品比较,价格低廉,实用性强;
 
6、也可用于物流、医疗、军用、保健等多个行业,前景十分广阔。
 
附图说明
 
一种可实现随走随停行走模式的步速可调助力行走装置
图1为本发明一种可实现随走随停行走模式的步速可调助力行走装置的结构示意图。
 
一种可实现随走随停行走模式的步速可调助力行走装置
图2为图1中去掉安装架和束腰带后的结构示意图。
 
一种可实现随走随停行走模式的步速可调助力行走装置
图3为图2中去掉左部分机盖、右部机壳后的结构示意图。
 
一种可实现随走随停行走模式的步速可调助力行走装置
图4为图3中A的局部放大图。
 
一种可实现随走随停行走模式的步速可调助力行走装置
图5为图4中去掉大腿托板与同步带轮A的结构示意图。
 
一种可实现随走随停行走模式的步速可调助力行走装置
图6为图3中B的局部放大图。
 
一种可实现随走随停行走模式的步速可调助力行走装置
图7为图6中去掉蜗轮后的结构示意图。
 
一种可实现随走随停行走模式的步速可调助力行走装置
图8为图7中去掉主动轮后的结构示意图。
 
一种可实现随走随停行走模式的步速可调助力行走装置
图9为图8中C的局部放大图。
 
一种可实现随走随停行走模式的步速可调助力行走装置
图10为控制面板的结构示意图。
 
附图标记列表:
 
1-安装架,11-警报器,12-电源模块,13-控制模块,14-驱动器,15-束腰带,16-电量显示器,17-电源开关,18-步速调节旋钮,2-机壳,3-机盖,31-传感器B,32-传感器A,4-大腿托板,41-第一固定螺栓,42-膝关节固定带,43-弹簧线圈,44-薄膜压力传感器,45-轴承,46-轴,47-滚动轴承,5-同步带轮B,51-同步齿形带,52-电磁铁B,53-电磁铁A,54-棘爪A,55-棘爪B,56-橡胶摩擦片,57-垫片,58-第二固定螺栓,59-同步带轮A,6-从动轮,61-挡板A,62-挡板B,63-双向棘轮,64-传动轮,65-主动轮,66-蜗轮,67-电机,68-蜗杆,69-传动轮固定件,7-控制面板,71-行走模式按键,72-攀登模式按键。
 
具体实施方式
 
下面结合附图和具体实施方式,进一步阐明本发明,应理解下述具体实施方式仅用于说明本发明而不用于限制本发明的范围。需要说明的是,下面描述中使用的词语“前”、“后”、“左”、“右”、“上”和“下”指的是附图中的方向,词语“内”和“外”分别指的是朝向或远离特定部件几何中心的方向。
 
如图所示,一种可实现随走随停行走模式的步速可调助力行走装置,包括安装架,所述安装架的前侧配合安装有束腰带,左右两侧对称设有机盖,所述机盖内设有水平设置的轴,所述轴上由内至外依次设有大腿托板、同步带轮A、从动轮、双向棘轮、主动轮和蜗轮,轴的内端设有滚动轴承,所述大腿托板的上端通过第二固定螺栓与同步带轮A连接,所述同步带轮A与从动轮之间设有轴承,从动轮的内侧下端设有两前后对称设置的挡板B和挡板A,所述挡板B和挡板A将大腿托板的上段限位其中,所述双向棘轮的中部配合安装有传动轮固定件,所述传动轮固定件包括套设在轴外侧的圆环部,圆环部的外侧沿周向方向均布有四个支杆,支杆沿圆环部的径向方向设置,且支杆上配合安装有传动轮,所述从动轮的外侧以及主动轮内侧均与四个传动轮相啮合,所述双向棘轮的上方设有两前后对称设置的同步带轮B,两同步带轮B的内端通过同步齿形带与同步带轮A传动连接,位于前侧的同步带轮B的外端依次设有橡胶摩擦片、棘爪B和垫片,位于后侧的同步带轮B的外端依次设有橡胶摩擦片、棘爪A和垫片,所述棘爪B和棘爪A置于两同步带轮B之间,且棘爪B与双向棘轮外侧棘齿的位置相对应,棘爪A与双向棘轮内侧棘齿的位置相对应,所述棘爪B和棘爪A的上方分别设有电磁铁B和电磁铁A,所述蜗轮与主动轮同步,其后侧配合安装有蜗杆,所述蜗杆的下端配合安装有电机。
 
在本实施例中,所述大腿托板的下端通过第一固定螺栓安装有膝关节固定带,所述膝关节固定带置于大腿托板的下端内侧。
 
在本实施例中,所述大腿托板的下端通过弹簧线圈连接有薄膜压力传感器。
 
在本实施例中,所述安装架的顶面后侧还设有电源模块、控制模块和警报器,所述控制模块连接有驱动器和控制面板,所述控制面板上设有电量显示器、电源开关、步速调节旋钮、行走模式按键和攀登模式按键。
 
在本实施例中,所述机壳内侧配合安装有与其相适配的机盖,机盖的下端和前侧分别设有传感器A和传感器B。
 
在本实施例中,所述警报器、驱动器、电量显示器、步速调节旋钮、传感器B、传感器A、薄膜压力传感器、电磁铁B、电磁铁A和电机均与控制模块连接。
 
本发明的工作原理及使用方法如下:
 
1、按下电源开关17,装置通电。电磁铁A53与电磁铁B52得电一瞬间吸合棘爪A54、棘爪B55,使两个棘爪与双向棘轮63处于分离状态,在橡胶摩擦片56的作用下,棘爪A54、棘爪B55与双向棘轮63保持分离状态。
 
2、在控制面板7上设有行走模式按键71与攀登模式按键72,选择攀登模式按键72。
 
3、调节步速调节旋钮18,改变电机67转速,实现步速调节。
 
4、左(右)腿带动大腿托板4向前转动,同步带轮A59经同步齿形带51带动两个同步带轮B5顺时针转动,在橡胶摩擦片56的作用下,棘爪B55顺时针转动并将棘轮逆时针锁定,棘爪A54保持与棘轮分离,当大腿托板4经过竖直方向一定角度时时,传感器A32受压向控制模块13发出信号,电机67正转,蜗杆68带动蜗轮66逆时针转动,双向棘轮63有逆时针转动的趋势,但被棘爪B55锁定,蜗轮66经主动轮65、传动轮64、从动轮6带动挡板A61顺时针推动大腿托板4向前转动,实现抬腿动作(当大腿向前转动速度大于电机67驱动速度时,棘轮与同步齿形带51顺时针转动,在摩擦力作用下棘爪逆时针锁定棘轮状态总体不变,保证电机67可继续驱动大腿向前运动),实现摆动助力。
 
5、脚底设有薄膜压力传感器44 (薄膜压力传感器44为长条状,确保人脚掌或脚跟触地后发出信号)。当左(右)脚触地后,薄膜压力传感器44受压向控制模块13发出信号,电机67反转,电磁铁B52得电吸合棘爪B55,使其与双向棘轮63分离,同时蜗杆68带动蜗轮66顺时针转动,双向棘轮63顺时针转动,当左(右)腿带动大腿托板4向后运动(相对于竖直方向向后),同步带轮A经带动两个同步带轮B5逆时针转动,在橡胶摩擦片56的作用下,棘爪B55逆时针转动后保持与棘轮分离,棘爪A54逆时针转动将棘轮顺时针锁定,蜗轮66经主动轮65、传动轮64、从动轮6带动挡板B62逆时推动大腿托板4向后转动(当大腿向后转动速度大于电机67驱动速度时,棘轮与同步齿形带51逆时针转动,在摩擦力作用下保持棘爪逆时针锁定棘轮状态总体不变,保证电机67可继续驱动大腿向后运动),实现支撑助力。
 
6、大腿托板4向后转过竖直方向时,传感器A32受压向控制模块13发出信号,电机67停止转动。大腿托板4推动挡板A61接着向后运动,此时棘轮被顺时针锁定,状态不变。传动轮64、从动轮6与双向棘轮63绕主动轮逆时针转动,几乎无额外负载。
 
7、当左(右)腿向后转动至最大角度后(由人自主控制)向前转动时,大腿托板4从挡板A61向前转动至挡板B62,在此过程中,同步带轮A59经同步齿形带51带动两个同步带轮B5顺时针转动(主动轮不转动),在橡胶摩擦片56的作用下,棘爪A54顺时针转动脱离棘轮,棘爪B55顺时针转动将棘轮逆时针锁定,此时大腿托板4推动挡板B向前运动,传动轮64、从动轮6与双向棘轮63绕主动轮顺时针转动,几乎无额外负载。
 
8、右(左)腿重复4、5、6、7动作实现助力攀登。
 
9、当选择行走模式时,第5步骤人脚触地后薄膜压力传感器44受压向控制模块13发出信号,电磁铁B52得电吸合棘爪B55,同时电机67反转一圈后停止以保证棘轮棘爪成功分离,传动轮64、从动轮6与双向棘轮63绕主动轮65转动,人体在惯性作用下重心前移,减少电机67运行时间减少能耗。其他步骤与攀登模式相同。
 
10、按下电源开关17,装置断电停止工作。
 
11、电机67故障或电器元件故障,警报器11报警,控制系统自动切断电源。若断电时,左(右)腿向前运动,同步带轮A59经同步齿形带51带动两个同步带轮B5顺时针转动(主动轮不转动),在橡胶摩擦片56的作用下,棘爪A54顺时针转动脱离棘轮,棘爪B55顺时针转动将棘轮逆时针锁定,此时大腿托板4推动挡板B62向前运动,棘爪被逆时针锁定状态不变,传动轮64、从动轮6与双向棘轮63绕主动轮65顺时针转动,几乎无额外负载。当左(右)腿向前运动至最大角度(由人自主控制)再向后(相对于竖直方向)运动时,大腿托板从挡板B62运动到挡板A61,此时同步带轮A59经同步齿形带51带动两个同步带轮B5逆时针转动(主动轮不转动),在橡胶摩擦片56的作用下,棘爪A54逆时针转动脱离棘轮,棘爪B55逆时针转动将棘轮逆时针锁定,此时大腿托板4推动挡板A61向后运动,棘爪被顺时针锁定状态不变,传动轮64、从动轮6与双向棘轮63绕主动轮65顺时针转动,亦几乎无额外负载。
 
12、断电情况下当左(右)腿向后运动至最大角度(由人自主控制)再向前运动时与11步原理相同。
 
13、使用者可从电量显示屏中得知电源模块12剩余电量,当电量低于10%时,警报器11报警。
 
14、装置设有多重保护,当脚底的两个薄膜压力传感器44同时损坏时,大腿托板4最多运动至传感器B31位置,保证使用者安全。
 
本发明方案所公开的技术手段不仅限于上述实施方式所公开的技术手段,还包括由以上技术特征任意组合所组成的技术方案。
 
Copyright © 宁波鄞州盖奇同步带轮有限公司 2007-2022 All Rights Reserved.
电话:4006-574-123/0574-27834692 传真:0574-27834691
地址:浙江省宁波市鄞州区姜山镇蔡郎桥村姜南路39-2 E-Mail:sales@belt-pulley.com  
浙ICP备09102982号 盖奇公司网络部提供技术支持 浙公网安备33021202003319号