当前位置:首页->一种食品加工用表皮处理装置

 一种食品加工用表皮处理装置

 
【申请公布号:CN112471211A;申请权利人:安徽省楚汉食品有限公司;发明设计人:王勇;】
 
摘要:
 
本发明提出了一种食品加工用表皮处理装置,包括:在驱动机构驱动下同步转动的第一同步带与第二同步带、以及位于第一同步带与第二同步带之间的工作台、位于工作台与第一同步带之间的第一导向块、位于工作台与第二同步带之间的第二导向块、经连接头连接第一同步带与第二同步带的圆柱弹簧;连接头包括导向轴和导向套;第一同步带上的导向轴与第一同步带固定,第一同步带上的导向套与第一导向块接触,第二同步带上的导向轴与第二同步带固定,第二同步带上的导向套与第二导向块接触;圆柱弹簧的两端分别与第一同步带上的导向套和第二同步带上的导向套固定。本发明可有效提高工作效率,且经该设备去毛的猪肉无毛根残留。 
 
主权项:
 
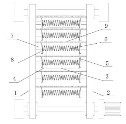
1.一种食品加工用表皮处理装置,其特征在于,包括:第一同步带(1)、与第一同步带(1)相对布置的第二同步带(2)、用于驱动第一同步带(1)与第二同步带(2)同步传送的驱动机构、以及工作台(3),其中:工作台(3)位于第一同步带(1)与第二同步带(2)之间,工作台(3)与第一同步之间设有沿第一同步带(1)传送方向布置的第一导向块(4),与第二同步带(2)之间设有沿第二同步带(2)传送方向布置的第二导向块(5);工作台(3)的上方设有多个沿第一同步带(1)与第二同步带(2)的传送方向并列布置的圆柱弹簧(6),各圆柱弹簧(6)的两端分别通过连接头与第一同步带(1)和第二同步带(2)连接;所述连接头包括导向轴(7)和活动套装在导向轴(7)上的导向套(8),且导向套(8)轴向上的厚度在其周向方向上渐变;第一同步带(1)上的导向轴(7)位于第一导向块(4)的上方并与第一同步带(1)固定,第一同步带(1)上的导向套(8)位于第一导向块(4)与第一同步带(1)之间并与第一导向块(4)接触,第二同步带(2)上的导向轴(7)位于第二导向块(5)的上方并与第二同步带(2)固定,第二同步带(2)上的导向套(8)位于第二导向块(5)与第二同步带(2)之间并与第二导向块(5)接触;圆柱弹簧(6)的两端分别与第一同步带(1)上的导向套(8)和第二同步带(2)上的导向套(8)固定。 
 
要求:
 
1.一种食品加工用表皮处理装置,其特征在于,包括:第一同步带(1)、与第一同步带(1)相对布置的第二同步带(2)、用于驱动第一同步带(1)与第二同步带(2)同步传送的驱动机构、以及工作台(3),其中:
 
工作台(3)位于第一同步带(1)与第二同步带(2)之间,工作台(3)与第一同步之间设有沿第一同步带(1)传送方向布置的第一导向块(4),与第二同步带(2)之间设有沿第二同步带(2)传送方向布置的第二导向块(5);
 
工作台(3)的上方设有多个沿第一同步带(1)与第二同步带(2)的传送方向并列布置的圆柱弹簧(6),各圆柱弹簧(6)的两端分别通过连接头与第一同步带(1)和第二同步带(2)连接;所述连接头包括导向轴(7)和活动套装在导向轴(7)上的导向套(8),且导向套(8)轴向上的厚度在其周向方向上渐变;
 
第一同步带(1)上的导向轴(7)位于第一导向块(4)的上方并与第一同步带(1)固定,第一同步带(1)上的导向套(8)位于第一导向块(4)与第一同步带(1)之间并与第一导向块(4)接触,第二同步带(2)上的导向轴(7)位于第二导向块(5)的上方并与第二同步带(2)固定,第二同步带(2)上的导向套(8)位于第二导向块(5)与第二同步带(2)之间并与第二导向块(5)接触;圆柱弹簧(6)的两端分别与第一同步带(1)上的导向套(8)和第二同步带(2)上的导向套(8)固定。
 
2.根据权利要求1所述的食品加工用表皮处理装置,其特征在于,第一同步带(1)上的导向套(8)与第一导向块(4)接触的接触面上设有滚珠。
 
3.根据权利要求1所述的食品加工用表皮处理装置,其特征在于,第二同步带(2)上的导向套(8)与第二导向块(5)接触的接触面上设有滚珠。
 
4.根据权利要求1所述的食品加工用表皮处理装置,其特征在于,第一同步带(1)上的导向套(8)与第一导向块(4)相对的端面经倒圆角加工在其边缘形成倒圆角边。
 
5.根据权利要求1所述的食品加工用表皮处理装置,其特征在于,第二同步带(2)上的导向套(8)与第二导向块(5)相对的端面经倒圆角加工在其边缘形成倒圆角边。
 
6.根据权利要求1所述的食品加工用表皮处理装置,其特征在于,导向套(8)靠近工作台(3)一端的端部设有与其同轴的凸缘,导向套(8)位于凸缘外周部位轴向上的厚度沿周向方向渐变;圆柱弹簧(6)的端部与凸缘固定,第一导向块(4)和第二导向块(5)均位于凸缘的下方。
 
7.根据权利要求1所述的食品加工用表皮处理装置,其特征在于,导向套(8)包括内套(81)和外套(82),所述内套(81)活动套装在导向轴(7)上,内套(81)的外壁上设有径向延伸的导向孔;外套(82)内侧设有径向布置并与其固定的导向柱和套装在导向柱上的压缩弹簧(10);外套(82)套装在内套(81)上,且导向柱伸至导向孔内,压缩弹簧(10)的两端分别与内套(81)的外壁和外套(82)的内壁接触;第一同步带(1)上的外套(82)与第一导向块(4)接触,第二同步带(2)上的外套(82)与第二导向块(5)接触,圆柱弹簧(6)的两端均分别与对应的外套(82)固定。
 
8.根据权利要求1所述的食品加工用表皮处理装置,其特征在于,圆柱弹簧(6)靠近第一同步带(1)与第二同步带(2)传入端的一侧设有连接第一同步带(1)与第二同步带(2)且带有梳齿的条形梳板(9),且条形梳板(9)的梳齿朝向第一同步带(1)与第二同步带(2)的传入端。
 
9.根据权利要求8所述的食品加工用表皮处理装置,其特征在于,条形梳板(9)的底部嵌装有可滚动的滚珠。
 
10.根据权利要求1-9中任一项所述的食品加工用表皮处理装置,其特征在于,驱动机构包括第一传动轴、第二传动轴、相对安装在第一传动轴两端的第一同步轮与第二同步轮、相对安装在第二传动轴上的第三同步轮与第四同步轮、以及用于驱动第一传动轴或第二传动轴转动的电机;第一同步带(1)连接第一同步轮与第三同步轮,第二同步带(2)连接第二同步轮与第四同步轮。
 
一种食品加工用表皮处理装置
技术领域
 
本发明涉及食品加工设备技术领域,具体涉及一种食品加工用表皮处理装置。
 
背景技术
 
随着经济的发展,肉类食品是人们餐桌中最重要的一类食物。对于一些带毛的肉制品,其在加工过程需要去除表面毛发,目前的除毛方式主要由人工拔毛的方式或火燎的方式,人工除毛工作效率低,火焰灼烧的方式虽然工作效率高,但毛根依旧残留在肉内,影响肉感。
 
发明内容
 
为了解决背景技术存在的技术问题,本发明提出的一种食品加工用表皮处理装置。
 
本发明提出的一种食品加工用表皮处理装置,包括:第一同步带、与第一同步带相对布置的第二同步带、用于驱动第一同步带与第二同步带同步传送的驱动机构、以及工作台,其中:
 
工作台位于第一同步带与第二同步带之间,工作台与第一同步之间设有沿第一同步带传送方向布置的第一导向块,与第二同步带之间设有沿第二同步带传送方向布置的第二导向块;
 
工作台的上方设有多个沿第一同步带与第二同步带的传送方向并列布置的圆柱弹簧,各圆柱弹簧的两端分别通过连接头与第一同步带和第二同步带连接;所述连接头包括导向轴和活动套装在导向轴上的导向套,且导向套轴向上的厚度在其周向方向上渐变;
 
第一同步带上的导向轴位于第一导向块的上方并与第一同步带固定,第一同步带上的导向套位于第一导向块与第一同步带之间并与第一导向块接触,第二同步带上的导向轴位于第二导向块的上方并与第二同步带固定,第二同步带上的导向套位于第二导向块与第二同步带之间并与第二导向块接触;圆柱弹簧的两端分别与第一同步带上的导向套和第二同步带上的导向套固定。
 
优选地,第一同步带上的导向套与第一导向块接触的接触面上设有滚珠。
 
优选地,第二同步带上的导向套与第二导向块接触的接触面上设有滚珠。
 
优选地,第一同步带上的导向套与第一导向块相对的端面经倒圆角加工在其边缘形成倒圆角边。
 
优选地,第二同步带上的导向套与第二导向块相对的端面经倒圆角加工在其边缘形成倒圆角边。
 
优选地,导向套靠近工作台一端的端部设有与其同轴的凸缘,导向套位于凸缘外周部位轴向上的厚度沿周向方向渐变;圆柱弹簧的端部与凸缘固定,第一导向块和第二导向块均位于凸缘的下方。
 
优选地,圆柱弹簧靠近第一同步带与第二同步带传入端的一侧设有连接第一同步带与第二同步带且带有梳齿的条形梳板,且条形梳板的梳齿朝向第一同步带与第二同步带的传入端。
 
优选地,条形梳板的底部嵌装有可滚动的滚珠。
 
优选地,导向套包括内套和外套,所述内套活动套装在导向轴上,内套的外壁上设有径向延伸的导向孔;外套内侧设有径向布置并与其固定的导向柱和套装在导向柱上的压缩弹簧;外套套装在内套上,且导向柱伸至导向孔内,压缩弹簧的两端分别与内套的外壁和外套的内壁接触;第一同步带上的外套与第一导向块接触,第二同步带上的外套与第二导向块接触,圆柱弹簧的两端均分别与对应的外套固定。
 
优选地,驱动机构包括第一传动轴、第二传动轴、相对安装在第一传动轴两端的第一同步轮与第二同步轮、相对安装在第二传动轴上的第三同步轮与第四同步轮、以及用于驱动第一传动轴或第二传动轴转动的电机;第一同步带连接第一同步轮与第三同步轮,第二同步带连接第二同步轮与第四同步轮。
 
本发明中,通过工作台与第一同步带之间设置第一导向块,在工作台与第二同步带之间设置第二导向块,在工作台的上方设置经连接头连接第一同步带和第二同步带的圆柱弹簧,并对连接头的结构进行设置,使连接头中与导向套与导向轴活动配合,以使其既可以相对导向轴转动,又可以相对导向轴轴向移动;同时,使导向套轴向上的厚度渐变,且第一同步带上的导向套位于第一导向块与第一同步带之间并与第一导向块接触,第二同步带上的导向套位于第二导向块与第二同步带之间并与第二导向块接触,圆柱弹簧的两端分别与第一同步带上的导向套和第二同步带上的导向套固定,使圆柱弹簧在工作过程中受摩擦力作用随着第一同步带与第二同步带传送而滚动,进而使得与其连接的导向套随着转动,在转动过程中圆柱弹簧受厚度渐变的导向套与对应条形板限制作用不断的进行拉伸-挤压动作,从而将进入圆柱弹簧缝隙中的猪毛夹紧并拔出,该结构的设置可有效提高工作效率,且经该设备去毛的猪肉无毛根残留。
 
附图说明
 
一种食品加工用表皮处理装置
图1为本发明提出的一种食品加工用表皮处理装置的结构示意图。
 
一种食品加工用表皮处理装置
图2为本发明提出的一种食品加工用表皮处理装置在附图状态下的结构示意图。
 
一种食品加工用表皮处理装置
图3为本发明提出的一种食品加工用表皮处理装置中所述导向套的结构示意图。
 
具体实施方式
 
参照图1-2,本发明提出的一种食品加工用表皮处理装置,包括:第一同步带1、与第一同步带1相对布置的第二同步带2、用于驱动第一同步带1与第二同步带2同步传送的驱动机构、以及工作台3,其中:工作台3位于第一同步带1与第二同步带2之间,工作台3与第一同步之间设有沿第一同步带1传送方向布置的第一导向块4,与第二同步带2之间设有沿第二同步带2传送方向布置的第二导向块5。工作台3的上方设有多个沿第一同步带1与第二同步带2的传送方向并列布置的圆柱弹簧6,各圆柱弹簧6的两端分别通过连接头与第一同步带1和第二同步带2连接;所述连接头包括导向轴7和活动套装在导向轴7上的导向套8,且导向套8轴向上的厚度在其周向方向上渐变(即沿导向套8的周向方向,导向套8在轴向上的厚度渐变,如:沿导向套8的周向方向,导向套8在轴向上的厚度由其某一个直径线一端向其另一端依次递增,再由最高端向其最低端依次递减)。
 
第一同步带1上的导向轴7位于第一导向块4的上方并与第一同步带1固定,第一同步带1上的导向套8位于第一导向块4与第一同步带1之间并与第一导向块4接触,第二同步带2上的导向轴7位于第二导向块5的上方并与第二同步带2固定,第二同步带2上的导向套8位于第二导向块5与第二同步带2之间并与第二导向块5接触;圆柱弹簧6的两端分别与第一同步带1上的导向套8和第二同步带2上的导向套8固定,从而使得圆柱弹簧6在带动两端的导向套8一起转动时,随着导向套8厚度的变化、其不同厚度的各个部位依次与对应导向块的接触,从而产生轴向移动,进而拉动圆柱弹簧6随之产生拉伸-压紧动作,进而将进入圆柱弹簧6缝隙中的猪毛夹紧并拔出。
 
由上可知,本发明通过工作台3与第一同步带1之间设置第一导向块4,在工作台3与第二同步带2之间设置第二导向块5,在工作台3的上方设置经连接头连接第一同步带1和第二同步带2的圆柱弹簧6,并对连接头的结构进行设置,使连接头中与导向套8与导向轴7活动配合,以使其既可以相对导向轴7转动,又可以相对导向轴7轴向移动;同时,使导向套8轴向上的厚度渐变,且第一同步带1上的导向套8位于第一导向块4与第一同步带1之间并与第一导向块4接触,第二同步带2上的导向套8位于第二导向块5与第二同步带2之间并与第二导向块5接触,圆柱弹簧6的两端分别与第一同步带1上的导向套8和第二同步带2上的导向套8固定,使圆柱弹簧6在工作过程中受摩擦力作用随着第一同步带1与第二同步带2传送而滚动,进而使得与其连接的导向套8随着转动,在转动过程中圆柱弹簧6受厚度渐变的导向套8与对应条形板限制作用不断的进行拉伸-挤压动作,从而将进入圆柱弹簧6缝隙中的猪毛夹紧并拔出,该结构的设置可有效提高工作效率,且经该设备去毛的猪肉无毛根残留。
 
参照图3,导向套8包括内套81和外套82,所述内套81活动套装在导向轴7上,内套81的外壁上设有两个位于同一直线上并径向延伸的导向孔;外套82内侧设有与其固定并与导向孔一一对应的导向柱和套装在导向柱上的压缩弹簧10;外套82套装在内套81上,且导向柱伸至导向孔内,压缩弹簧10的两端分别与内套81的外壁和外套82的内壁接触;第一同步带1上的外套82与第一导向块4接触,第二同步带2上的外套82与第二导向块5接触,圆柱弹簧6的两端均分别与对应的外套82固定。以使圆柱弹簧6具有径向浮动空间,以增强拔毛效果。
 
此外,本实施例中,第一同步带1上的导向套8与第一导向块4接触的接触面上、以及第二同步带2上的导向套8与第二导向块5接触的接触面上均分别设有滚珠,以减小导向套8与对应导向块之间的摩擦力,进而减小导向套8转动阻力。
 
本实施例中,第一同步带1上的导向套8与第一导向块(4)相对的端面、以及第二同步带2上的导向套8与第二导向块5相对的端面分别经倒圆角加工在其边缘形成倒圆角边,以减小与导向块的干涉。
 
本实施例中,导向套8靠近工作台3一端的端部设有与其同轴的凸缘,导向套8位于凸缘外周部位轴向上的厚度沿周向方向渐变;圆柱弹簧6的端部与凸缘固定,第一导向块4和第二导向块5均位于凸缘的下方,具体地,凸缘位于外套82上。
 
本实施例中,圆柱弹簧6靠近第一同步带1与第二同步带2传入端的一侧设有连接第一同步带1与第二同步带2且带有梳齿的条形梳板9,且条形梳板9的梳齿朝向第一同步带1与第二同步带2的传入端。以利用条形梳板9将贴服的猪毛梳起,以利于圆柱弹簧6夹住。且条形梳板9的底部嵌装有可滚动的滚珠,以减小摩擦,方便移动。
 
本实施例中,所述驱动机构包括第一传动轴、第二传动轴、相对安装在第一传动轴两端的第一同步轮与第二同步轮、相对安装在第二传动轴上的第三同步轮与第四同步轮、以及用于驱动第一传动轴或第二传动轴转动的电机;第一同步带1连接第一同步轮与第三同步轮,第二同步带2连接第二同步轮与第四同步轮,以利用电机带动第一传动轴或第二转动轴转动,从而带动第一同步带1与第二同步带2同步转动。
 
以上所述,仅为本发明较佳的具体实施方式,但本发明的保护范围并不局限于此,任何熟悉本技术领域的技术人员在本发明揭露的技术范围内,根据本发明的技术方案及其发明构思加以等同替换或改变,都应涵盖在本发明的保护范围之内。
 
Copyright © 宁波鄞州盖奇同步带轮有限公司 2007-2022 All Rights Reserved.
电话:4006-574-123/0574-27834692 传真:0574-27834691
地址:浙江省宁波市鄞州区姜山镇蔡郎桥村姜南路39-2 E-Mail:sales@belt-pulley.com  
浙ICP备09102982号 盖奇公司网络部提供技术支持 浙公网安备33021202003319号