当前位置:首页->一种配电网带电作业用绝缘操作臂

 一种配电网带电作业用绝缘操作臂

 
【申请公布号:CN112874649A;申请权利人:国网安徽省电力有限公司电力科学研究院;发明设计人: 吴少雷; 冯玉; 吴凯; 戚振彪; 骆晨; 王琦; 唐旭明;】
摘要:
 
本发明公开了一种配电网带电作业用绝缘操作臂,属于配电网领域,包括操作臂安装架、支撑架、电动推杆、绝缘杆套筒、绝缘杆、同步轮、同步带以及电动旋转台;操作臂安装架固定在爬杆机器人的承载平台,用于承载绝缘操作臂;支撑架通过鱼眼杆端关节轴承安装在操作臂安装架上,用于支撑操作臂;绝缘杆套筒通过交叉滚子轴承安装在支撑架上,用于承载绝缘杆,绝缘杆的升降由同步带进行传动;电动旋转台安装在绝缘杆末端,用于连接带电作业工具。本发明通过爬杆机器人将操作臂运至作业工位,采用地电位状态,可实现六个自由度的运动,绝缘防护性能好、作业范围广、载重大,能够安全有效地解决人工带电作业工序复杂、危险系数高等问题。 
 
主权项:
 
1.一种配电网带电作业用绝缘操作臂,其特征在于:包括绝缘杆(5)、绝缘杆套筒(9)、支撑架(8)、操作臂安装架(3),所述绝缘杆套筒(9)滑动套装于所述绝缘杆(5)上,所述绝缘杆套筒(9)的一侧通过交叉滚子轴承(11)与所述支撑架(8)连接,所述支撑架(8)通过鱼眼杆端关节轴承(10)与所述操作臂安装架(3)连接,所述支撑架(8)与所述操作臂安装架(3)之间沿水平方向连接有第一电动推杆(4);所述绝缘杆套筒(9)的一侧固定有安装座(19),所述安装座(19)与所述支撑架(8)之间沿垂直方向连接有第二电动推杆(7);所述绝缘杆(5)的两端同侧分别连接有一同步轮(2),其中一个所述同步轮(2)与传动机构连接,两个所述同步轮(2)上传动连接有同步带(6),一侧所述同步带(6)贯穿所述绝缘杆套筒(9),另一侧所述同步带(6)的中部断开并分别连接在所述绝缘杆套筒(9)的上、下端;所述绝缘杆(5)的顶部还连接有电动旋转台(1)。 
 
要求:
 
1.一种配电网带电作业用绝缘操作臂,其特征在于:包括绝缘杆(5)、绝缘杆套筒(9)、支撑架(8)、操作臂安装架(3),所述绝缘杆套筒(9)滑动套装于所述绝缘杆(5)上,所述绝缘杆套筒(9)的一侧通过交叉滚子轴承(11)与所述支撑架(8)连接,所述支撑架(8)通过鱼眼杆端关节轴承(10)与所述操作臂安装架(3)连接,所述支撑架(8)与所述操作臂安装架(3)之间沿水平方向连接有第一电动推杆(4);所述绝缘杆套筒(9)的一侧固定有安装座(19),所述安装座(19)与所述支撑架(8)之间沿垂直方向连接有第二电动推杆(7);
 
所述绝缘杆(5)的两端同侧分别连接有一同步轮(2),其中一个所述同步轮(2)与传动机构连接,两个所述同步轮(2)上传动连接有同步带(6),一侧所述同步带(6)贯穿所述绝缘杆套筒(9),另一侧所述同步带(6)的中部断开并分别连接在所述绝缘杆套筒(9)的上、下端;
 
所述绝缘杆(5)的顶部还连接有电动旋转台(1)。
 
2.根据权利要求1所述的一种配电网带电作业用绝缘操作臂,其特征在于:所述操作臂安装架(3)用于固定在爬杆机器人的承载平台。
 
3.根据权利要求1所述的一种配电网带电作业用绝缘操作臂,其特征在于:所述绝缘杆套筒(9)的形状是横截面为正方形的长方体,所述第一电动推杆(4)、第二电动推杆(7)分别安装在绝缘杆套筒(9)的两相邻侧面。
 
4.根据权利要求3所述的一种配电网带电作业用绝缘操作臂,其特征在于:所述第一电动推杆(4)、第二电动推杆(7)分别带动绝缘杆(5)摆动的范围为±30°,所述第一电动推杆(4)带动绝缘杆(5)摆动所在平面与所述第二电动推杆(7)带动绝缘杆(5)摆动所在平面相垂直。
 
5.根据权利要求1所述的一种配电网带电作业用绝缘操作臂,其特征在于:所述传动机构包括下端支架(16)、升降电机(17)、轴承支座(18),所述下端支架(16)安装在绝缘杆(5)的下端,所述升降电机(12)、轴承支座(18)与所述下端支架(16)连接,且下端所述同步轮(2)通过轴承支座(18)安装在所述下端支架(16)一侧,所述升降电机(12)的输出轴与下端所述同步轮(2)传动连接。
 
6.根据权利要求5所述的一种配电网带电作业用绝缘操作臂,其特征在于:所述同步带(6)与所述绝缘杆套筒(9)上端的连接处还连接有一缓冲弹簧。
 
7.根据权利要求1所述的一种配电网带电作业用绝缘操作臂,其特征在于:所述绝缘杆(5)上端安装有安装支架(15),上端所述同步轮(2)和电动旋转台(1)安装在所述安装支架(15)上。
 
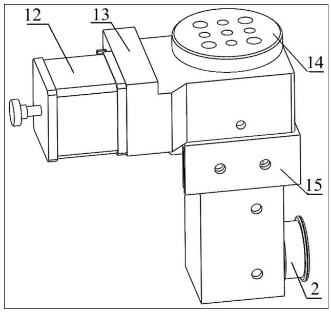
8.根据权利要求7所述的一种配电网带电作业用绝缘操作臂,其特征在于:所述电动旋转台(1)包括电机(17)、蜗轮蜗杆箱(13)、旋转台(14),所述电机(17)、蜗轮蜗杆箱(13)通过所述安装支架(15)安装在所述绝缘杆(5)的一侧,所述旋转台(14)安装在所述绝缘杆(5)的顶部,所述电机(17)、蜗轮蜗杆箱(13)、旋转台(14)依次传动连接。
 
一种配电网带电作业用绝缘操作臂
技术领域
 
本发明涉及配电网技术领域,尤其涉及一种配电网带电作业用绝缘操作臂。
 
背景技术
 
带电作业是指在高压电气设备上不停电进行检修、测试的一种作业方法。电气设备在长期运行中需要经常测试、检查和维修。带电作业是避免检修停电,保证正常供电的有效措施。带电作业的内容可分为带电测试、带电检查和带电维修等几方面。带电作业的对象包括发电厂和变电所电气设备、架空输电线路、配电线路和配电设备。带电作业的主要项目有:带电更换线路杆塔绝缘子,清扫和更换绝缘子,水冲洗绝缘子,压接修补导线和架空地线,检测不良绝缘子,测试更换隔离开关和避雷器,测试变压器温升及介质损耗值。
 
从带电作业技术研究的现状来看,有向两个方向发展的趋势:一是随着特高压交、直流输电工程的不断投运,带电作业必将成为重要的运维检修手段,带电作业工具、方法、标准等需要进一步深入研究。二是随着对供电可靠性要求的不断提高,配网带电作业需进一步深入开展。在城网需拓展不停电作业项目及应用,在农网需加大带电作业的推广应用力度。因此为了作业安全,急需一种配电网带电作业用绝缘操作臂。
 
发明内容
 
基于背景技术存在的技术问题,本发明提出了一种配电网带电作业用绝缘操作臂。
 
本发明采用的技术方案是:
 
一种配电网带电作业用绝缘操作臂,其特征在于:包括绝缘杆、绝缘杆套筒、支撑架、操作臂安装架,所述绝缘杆套筒滑动套装于所述绝缘杆上,所述绝缘杆套筒的一侧通过交叉滚子轴承与所述支撑架连接,所述支撑架通过鱼眼杆端关节轴承与所述操作臂安装架连接,所述支撑架与所述操作臂安装架之间沿水平方向连接有第一电动推杆;所述绝缘杆套筒的一侧固定有安装座,所述安装座与所述支撑架之间沿垂直方向连接有第二电动推杆;
 
所述绝缘杆的两端同侧分别连接有一同步轮,其中一个所述同步轮与传动机构连接,两个所述同步轮上传动连接有同步带,一侧所述同步带贯穿所述绝缘杆套筒,另一侧所述同步带的中部断开并分别连接在所述绝缘杆套筒的上、下端;
 
所述绝缘杆的顶部还连接有电动旋转台。
 
进一步地,所述的一种配电网带电作业用绝缘操作臂,其特征在于:所述操作臂安装架用于固定在爬杆机器人的承载平台。
 
进一步地,所述的一种配电网带电作业用绝缘操作臂,其特征在于:所述绝缘杆套筒的形状是横截面为正方形的长方体,所述第一电动推杆、第二电动推杆分别安装在绝缘杆套筒的两相邻侧面。
 
进一步地,所述的一种配电网带电作业用绝缘操作臂,其特征在于:所述第一电动推杆、第二电动推杆分别带动绝缘杆摆动的范围为±30°,所述第一电动推杆带动绝缘杆摆动所在平面与所述第二电动推杆带动绝缘杆摆动所在平面相垂直。
 
进一步地,所述的一种配电网带电作业用绝缘操作臂,其特征在于:所述传动机构包括下端支架、升降电机、轴承支座,所述下端支架安装在绝缘杆的下端,所述升降电机、轴承支座与所述下端支架连接,且下端所述同步轮通过轴承支座安装在所述下端支架一侧,所述升降电机的输出轴与下端所述同步轮传动连接。
 
进一步地,所述的一种配电网带电作业用绝缘操作臂,其特征在于:所述同步带与所述绝缘杆套筒上端的连接处还连接有一缓冲弹簧。
 
进一步地,所述的一种配电网带电作业用绝缘操作臂,其特征在于:所述绝缘杆上端安装有安装支架,上端所述同步轮和电动旋转台安装在所述安装支架上。
 
进一步地,所述的一种配电网带电作业用绝缘操作臂,其特征在于:所述电动旋转台包括电机、蜗轮蜗杆箱、旋转台,所述电机、蜗轮蜗杆箱通过所述安装支架安装在所述绝缘杆的一侧,所述旋转台安装在所述绝缘杆的顶部,所述电机、蜗轮蜗杆箱、旋转台依次传动连接。
 
本发明的优点是:
 
本发明通过爬杆机器人将操作臂运至作业工位,采用地电位状态,可实现六个自由度的运动,绝缘防护性能好、作业范围广、载重大,能够安全有效地解决人工带电作业工序复杂、危险系数高等问题。
 
附图说明
 
一种配电网带电作业用绝缘操作臂
图1是本发明整体示意图;
 
一种配电网带电作业用绝缘操作臂
图2是本发明绝缘套筒与交叉滚子轴承连接示意图;
 
一种配电网带电作业用绝缘操作臂
图3是本发明电动旋转台示意图;
 
一种配电网带电作业用绝缘操作臂
图4是本发明同步带驱动示意图。
 
图中标号:电动旋转台1、同步轮2、操作臂安装架3、第一电动推杆4、绝缘杆5、同步带6、第二电动推杆7、支撑架8、绝缘杆套筒9、鱼眼杆端关节轴承10、交叉滚子轴承11、电机12、蜗轮蜗杆箱13、旋转台14、安装支架15、下端支架16、升降电机17、轴承支座18、安装座19。
 
具体实施方式
 
下面将结合本发明实施例中的附图,对本发明实施例中的技术方案进行清楚、完整地描述,显然,所描述的实施例仅仅是本发明一部分实施例,而不是全部的实施例。
 
实施例1:
 
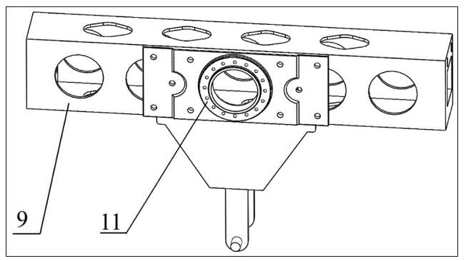
一种配电网带电作业用绝缘操作臂,包括绝缘杆5、绝缘杆套筒9、支撑架8、操作臂安装架3,绝缘杆套筒9滑动套装于绝缘杆5上,绝缘杆套筒9的一侧通过交叉滚子轴承11与支撑架8连接,支撑架8通过鱼眼杆端关节轴承10与操作臂安装架3连接,支撑架8与操作臂安装架3之间沿水平方向连接有第一电动推杆4;绝缘杆套筒9的一侧固定有安装座19,安装座19与支撑架8之间沿垂直方向连接有第二电动推杆7;支撑架8对操作臂系统起到支撑作用,并通过第一电动推杆4、第二电动推杆7对绝缘杆起到转动作用。
 
绝缘杆5的两端同侧分别连接有一同步轮2,其中一个同步轮2与传动机构连接,两个同步轮2上传动连接有同步带6,一侧同步带6贯穿绝缘杆套筒9,另一侧同步带6的中部断开并分别连接在绝缘杆套筒9的上、下端;
 
绝缘杆5的顶部还连接有电动旋转台1,用于连接带电作业工具。
 
操作臂安装架3用于固定在爬杆机器人的承载平台。对本发明的整个绝缘操作臂起到承载作用。
 
绝缘杆套筒9的形状是横截面为正方形的长方体,第一电动推杆4、第二电动推杆7分别安装在绝缘杆套筒9的两相邻侧面。
 
第一电动推杆4、第二电动推杆7分别带动绝缘杆5摆动的范围为±30°,第一电动推杆4带动绝缘杆5摆动所在平面与第二电动推杆7带动绝缘杆5摆动所在平面相垂直。
 
传动机构包括下端支架16、升降电机17、轴承支座18,下端支架16安装在绝缘杆5的下端,升降电机17、轴承支座18与下端支架16连接,且下端同步轮2通过轴承支座18安装在下端支架16一侧,升降电机17的输出轴与下端同步轮2传动连接。
 
同步带6与绝缘杆套筒9上端的连接处还连接有一缓冲弹簧。
 
绝缘杆5上端安装有安装支架15,上端同步轮2和电动旋转台1安装在安装支架15上。
 
电动旋转台1包括电机17、蜗轮蜗杆箱13、旋转台14,电机17、蜗轮蜗杆箱13通过安装支架15安装在绝缘杆5的一侧,旋转台14安装在绝缘杆5的顶部,电机17、蜗轮蜗杆箱13、旋转台14依次传动连接。
 
本发明的工作原理是:
 
1.正向摆动
 
工作时,通过第一电动推杆4的伸缩实现操作臂的前后±30°的摆动;
 
2.侧向摆动
 
支撑架8与绝缘杆套筒9之间用交叉滚子轴承11连接,绝缘杆可以绕交叉滚子轴承11中心旋转,其动作的动力由第二电动推杆7提供,通过第二电动推杆7的伸缩实现左右±30°的摆动;
 
3.绝缘杆的升降
 
绝缘杆5的升降由升降电机17控制同步带6、同步轮2来实现的,同步带6的一侧断开形成两个末端,同步带6两末端固定在绝缘杆套筒9上,与绝缘杆套筒9上端连接的一端还连接有缓冲弹簧,适应拉力;其转动动力源为升降电机17,升降电机17安装在绝缘杆5的下端支架16上,同步轮2固定在轴承支座18上,通过升降电机17的正反转,实现绝缘杆5在绝缘杆套筒9中的升降;
 
4.作业工具的旋转
 
电动旋转台1包括电机12、蜗轮蜗杆箱13及旋转台14,通过安装架15安装在绝缘杆5的上端;动作时,由电机12驱动,通过蜗轮蜗杆箱13传动,带动旋转台14转动,使带电作业工具完成正、反转动,以调整位姿进行作业。
 
以上所述,仅为本发明较佳的具体实施方式,但本发明的保护范围并不局限于此,任何熟悉本技术领域的技术人员在本发明揭露的技术范围内,根据本发明的技术方案及其发明构思加以等同替换或改变,都应涵盖在本发明的保护范围之内。
 
Copyright © 宁波鄞州盖奇同步带轮有限公司 2007-2022 All Rights Reserved.
电话:4006-574-123/0574-27834692 传真:0574-27834691
地址:浙江省宁波市鄞州区姜山镇蔡郎桥村姜南路39-2 E-Mail:sales@belt-pulley.com  
浙ICP备09102982号 盖奇公司网络部提供技术支持 浙公网安备33021202003319号