当前位置:首页->一种用于生产发电机电路板的双面翻转机构

 一种用于生产发电机电路板的双面翻转机构

 
 
 
摘要:
 
本发明公开了一种用于生产发电机电路板的双面翻转机构,包括承台,所述承台上依次固定连接有第一支撑板、第二固定板、第三固定板,所述第一支撑板上设有第一驱动电机,所述第一驱动电机的输出端传动连接有第一同步轮,所述第一同步轮通过第一同步带传动连接有与第二固定板转动连接的第二同步轮,所述第二固定板与第三固定板内表壁上均转动连接有连接轴。本发明中,打开第二驱动电机,第二驱动电机的输出端带动螺纹杆转动,由于螺纹杆与移动板旋合连接,移动板沿着第一连接杆和第二转动杆在水平方向上移动,可根据不同长度的电路板对移动板和第一壳体之间的间距进行调节,提高装置的适用性。 
 
主权项:
 
1.一种用于生产发电机电路板的双面翻转机构,包括承台(1),其特征在于,所述承台(1)上依次固定连接有第一支撑板(2)、第二固定板(9)、第三固定板(44),所述第一支撑板(2)上设有第一驱动电机(3),所述第一驱动电机(3)的输出端传动连接有第一同步轮(4),所述第一同步轮(4)通过第一同步带(5)传动连接有与第二固定板(9)转动连接的第二同步轮(6),所述第二固定板(9)与第三固定板(44)内表壁上均转动连接有连接轴(7),位于所述第二固定板(9)一侧的连接轴(7)的端部设有第一固定板(8),位于所述第三固定板(44)一侧的连接轴(7)的端部设有第一壳体(11),所述第一固定板(8)通过第一连接杆(10)与第三固定板(44)固定连接,所述第一壳体(11)上设有第二驱动电机(12),所述第一壳体(11)内成型有凹槽(21),所述第二驱动电机(12)的输出端传动连接有螺纹杆(13),所述螺纹杆(13)旋合连接有移动板(14),所述移动板(14)和第一壳体(11)侧表壁上均嵌设有支架(20),两个所述支架(20)内均转动连接有第一齿轮(29),两个所述支架(20)内腔均通过轴承转动连接有限位杆(33),所述限位杆(33)上滑动连接有第二壳体(34),所述第二壳体(34)内腔侧表壁上转动连接有第一锥齿轮(36),所述第二壳体(34)底端内表壁上转动连接有第二锥齿轮(37),所述支架(20)内表壁上固定连接有两个滑动座(51),两个所述滑动座(51)分别滑动连接有第一齿条(28)和第二齿条(30),所述第一齿条(28)通过一个连接块(49)固定连接有上连接板(22),所述第二齿条(30)通过另一个连接块(49)固定连接有下连接板(23),所述上连接板(22)上设有第一输送机构(25),所述下连接板(23)上设有第二输送机构(26),所述第二输送机构(26)端部固定连接有第四固定板(24),所述第四固定板(24)上转动连接有第二传动轮(43),所述第一壳体(11)上设有第三驱动电机(16),所述第三驱动电机(16)的输出端传动连接有第一转动杆(17),所述第一转动杆(17)上滑动连接有第一传动轮(19),所述第一传动轮(19)通过第四同步带(48)传动连接有第三齿轮(39),所述第一传动轮(19)与第三齿轮(39)之间设有第二连接杆(47),所述凹槽(21)内表壁上固定连接有第二电动伸缩杆(45),所述第二电动伸缩杆(45)的伸缩端与第三齿轮(39)转动连接,所述第一固定板(8)与第一壳体(11)之间转动连接有贯穿第一壳体(11)的第二转动杆(42),所述第二转动杆(42)位于凹槽(21)内的端部固定连接有第四齿轮(40),所述凹槽(21)内表壁上铰接有第二齿轮(38),所述第二齿轮(38)通过转轴与第一齿轮(29)固定连接,所述上连接板(22)之间设有第三连接杆(50),所述下连接板(23)之间设有第三连接杆(50)。 
 
要求:
 
1.一种用于生产发电机电路板的双面翻转机构,包括承台(1),其特征在于,所述承台(1)上依次固定连接有第一支撑板(2)、第二固定板(9)、第三固定板(44),所述第一支撑板(2)上设有第一驱动电机(3),所述第一驱动电机(3)的输出端传动连接有第一同步轮(4),所述第一同步轮(4)通过第一同步带(5)传动连接有与第二固定板(9)转动连接的第二同步轮(6),所述第二固定板(9)与第三固定板(44)内表壁上均转动连接有连接轴(7),位于所述第二固定板(9)一侧的连接轴(7)的端部设有第一固定板(8),位于所述第三固定板(44)一侧的连接轴(7)的端部设有第一壳体(11),所述第一固定板(8)通过第一连接杆(10)与第三固定板(44)固定连接,所述第一壳体(11)上设有第二驱动电机(12),所述第一壳体(11)内成型有凹槽(21),所述第二驱动电机(12)的输出端传动连接有螺纹杆(13),所述螺纹杆(13)旋合连接有移动板(14),所述移动板(14)和第一壳体(11)侧表壁上均嵌设有支架(20),两个所述支架(20)内均转动连接有第一齿轮(29),两个所述支架(20)内腔均通过轴承转动连接有限位杆(33),所述限位杆(33)上滑动连接有第二壳体(34),所述第二壳体(34)内腔侧表壁上转动连接有第一锥齿轮(36),所述第二壳体(34)底端内表壁上转动连接有第二锥齿轮(37),所述支架(20)内表壁上固定连接有两个滑动座(51),两个所述滑动座(51)分别滑动连接有第一齿条(28)和第二齿条(30),所述第一齿条(28)通过一个连接块(49)固定连接有上连接板(22),所述第二齿条(30)通过另一个连接块(49)固定连接有下连接板(23),所述上连接板(22)上设有第一输送机构(25),所述下连接板(23)上设有第二输送机构(26),所述第二输送机构(26)端部固定连接有第四固定板(24),所述第四固定板(24)上转动连接有第二传动轮(43),所述第一壳体(11)上设有第三驱动电机(16),所述第三驱动电机(16)的输出端传动连接有第一转动杆(17),所述第一转动杆(17)上滑动连接有第一传动轮(19),所述第一传动轮(19)通过第四同步带(48)传动连接有第三齿轮(39),所述第一传动轮(19)与第三齿轮(39)之间设有第二连接杆(47),所述凹槽(21)内表壁上固定连接有第二电动伸缩杆(45),所述第二电动伸缩杆(45)的伸缩端与第三齿轮(39)转动连接,所述第一固定板(8)与第一壳体(11)之间转动连接有贯穿第一壳体(11)的第二转动杆(42),所述第二转动杆(42)位于凹槽(21)内的端部固定连接有第四齿轮(40),所述凹槽(21)内表壁上铰接有第二齿轮(38),所述第二齿轮(38)通过转轴与第一齿轮(29)固定连接,所述上连接板(22)之间设有第三连接杆(50),所述下连接板(23)之间设有第三连接杆(50)。
 
2.根据权利要求1所述的一种用于生产发电机电路板的双面翻转机构,其特征在于,所述第一输送机构(25)包括第一上转动轮(2501)、第二上转动轮(2502)、第三上转动轮(2503),所述第一上转动轮(2501)、第二上转动轮(2502)、第三上转动轮(2503)通过第二同步带(2504)传动连接,所述第二输送机构(26)包括第一下转动轮(2601)、张紧轮(2602)、所述第一下转动轮(2601)、张紧轮(2602)、第二传动轮(43)之间通过第三同步带(2603)传动连接,所述第一上转动轮(2501)和第一下转动轮(2601)分别通过转动轴(35)固定连接有第一锥齿轮(36),所述下连接板(23)上成型有滑槽(2604)。
 
3.根据权利要求1所述的一种用于生产发电机电路板的双面翻转机构,其特征在于,所述下连接板(23)固定连接有两个第一电动伸缩杆(31),两个所述第一电动伸缩杆(31)的伸缩端均固定连接有伸缩块(32),所述伸缩块(32)与张紧轮(2602)转动连接。
 
4.根据权利要求1所述的一种用于生产发电机电路板的双面翻转机构,其特征在于,所述下连接板(23)内嵌设有伸缩套筒(27),所述伸缩套筒(27)的伸缩端与上连接板(22)固定连接。
 
5.根据权利要求1所述的一种用于生产发电机电路板的双面翻转机构,其特征在于,所述移动板(14)固定连接有连接套(15),所述第一连接杆(10)贯穿移动板(14)。
 
6.根据权利要求1所述的一种用于生产发电机电路板的双面翻转机构,其特征在于,所述第一壳体(11)侧表壁上嵌设的支架(20)位于凹槽(21)内且支架(20)顶端外表壁与凹槽(21)顶端内表壁固定连接。
 
7.根据权利要求1所述的一种用于生产发电机电路板的双面翻转机构,其特征在于,所述第二转动杆(42)上固定连接有第二限位条(41)。
 
8.根据权利要求1所述的一种用于生产发电机电路板的双面翻转机构,其特征在于,所述第一转动杆(17)上固定连接有第一限位条(18),所述限位杆(33)上固定连接有第三限位条(46)。
 
一种用于生产发电机电路板的双面翻转机构
技术领域
 
本发明涉及电路板加工设备技术领域,尤其涉及一种用于生产发电机电路板的双面翻转机构。
 
背景技术
 
目前,电子产品已经成为人们生活中不可缺少的主要角色。随着人们对电子产品需求的日益提高,对电子产品中的重要组成部分之一的印刷电路板的生产需求较大,在印刷电路板加工时,需要单面板的加工设备、双面板的加工设备,单面板、双面板需要独立完成,降低了对电路板的生产效率。
 
传统线路板传送机构对线路板进行传送是单个面向的传输方式,此传送机构的传输方式操作灵活性低,其不但严重限制了机构对线路板的焊接加工处理,还造成焊接的局限性大。当线路板在焊接过程中需要进行翻面加工处理的时候,就必须要人工介入操作;焊接操作时,当线路板其中一个面焊接完成后,传统的线路板传送机构就必须要人工对线路板进行翻面处理方能进入下一步的焊接工作,特别是对某些线路板其中的一个面需要的是插线加工处理,而线路板的另一个面需要的是焊接加工处理,这过程就必须要人手对线路板进行翻面,通过人手对线路板进行翻面的操作方式是难以精准控制的,以致经常出现掉线的现象,成品质量差,劳务强度大,且线路板翻面后进行焊接处理,焊接工作的间歇时间长,严重影响了焊锡的效率,工作效率低,人工劳务成本高。
 
因此,针对传统线路板传送机构存在上述技术问题的不足,本申请人研发一种用于生产发电机电路板的双面翻转机构,方便其可同时对线路板进行传送上料、上螺丝、烙铁、焊锡或点胶等一系列不同加工工序的加工处理操作,并可全自动地对电路板进行1度至360度中任何角度、任何方向的翻转,且其传送速度快,翻转过程稳定,灵活性强,操作简便,智能化程度高,效果好,成本低,可对不同长宽厚度的电路板进行加工。有利于工业化发展,便于广泛推广使用。
 
发明内容
 
本发明的目的在于:为了解决上述的问题,而提出的一种用于生产发电机电路板的双面翻转机构。
 
为了实现上述目的,本发明采用了如下技术方案:
 
一种用于生产发电机电路板的双面翻转机构,包括承台,所述承台上依次固定连接有第一支撑板、第二固定板、第三固定板,所述第一支撑板上设有第一驱动电机,所述第一驱动电机的输出端传动连接有第一同步轮,所述第一同步轮通过第一同步带传动连接有与第二固定板转动连接的第二同步轮,所述第二固定板与第三固定板内表壁上均转动连接有连接轴,位于所述第二固定板一侧的连接轴的端部设有第一固定板,位于所述第三固定板一侧的连接轴的端部设有第一壳体,所述第一固定板通过第一连接杆与第三固定板固定连接,所述第一壳体上设有第二驱动电机,所述第一壳体内成型有凹槽,所述第二驱动电机的输出端传动连接有螺纹杆,所述螺纹杆旋合连接有移动板,所述移动板和第一壳体侧表壁上均嵌设有支架,两个所述支架内均转动连接有第一齿轮,两个所述支架内腔均通过轴承转动连接有限位杆,所述限位杆上滑动连接有第二壳体,所述第二壳体内腔侧表壁上转动连接有第一锥齿轮,所述第二壳体底端内表壁上转动连接有第二锥齿轮,所述支架内表壁上固定连接有两个滑动座,两个所述滑动座分别滑动连接有第一齿条和第二齿条,所述第一齿条通过一个连接块固定连接有上连接板,所述第二齿条通过另一个连接块固定连接有下连接板,所述上连接板上设有第一输送机构,所述下连接板上设有第二输送机构,所述第二输送机构端部固定连接有第四固定板,所述第四固定板上转动连接有第二传动轮,所述第一壳体上设有第三驱动电机,所述第三驱动电机的输出端传动连接有第一转动杆,所述第一转动杆上滑动连接有第一传动轮,所述第一传动轮通过第四同步带传动连接有第三齿轮,所述第一传动轮与第三齿轮之间设有第二连接杆,所述凹槽内表壁上固定连接有第二电动伸缩杆,所述第二电动伸缩杆的伸缩端与第三齿轮转动连接,所述第一固定板与第一壳体之间转动连接有贯穿第一壳体的第二转动杆,所述第二转动杆位于凹槽内的端部固定连接有第四齿轮,所述凹槽内表壁上铰接有第二齿轮,所述第二齿轮通过转轴与第一齿轮固定连接,所述上连接板之间设有第三连接杆,所述下连接板之间设有第三连接杆。
 
作为上述技术方案的进一步描述:
 
所述第一输送机构包括第一上转动轮、第二上转动轮、第三上转动轮,所述第一上转动轮、第二上转动轮、第三上转动轮通过第二同步带传动连接,所述第二输送机构包括第一下转动轮、张紧轮、所述第一下转动轮、张紧轮、第二传动轮之间通过第三同步带传动连接,所述第一上转动轮和第一下转动轮分别通过转动轴固定连接有第一锥齿轮,所述下连接板上成型有滑槽。
 
作为上述技术方案的进一步描述:
 
所述下连接板固定连接有两个第一电动伸缩杆,两个所述第一电动伸缩杆的伸缩端均固定连接有伸缩块,所述伸缩块与张紧轮转动连接。
 
作为上述技术方案的进一步描述:
 
所述下连接板内嵌设有伸缩套筒,所述伸缩套筒的伸缩端与上连接板固定连接。
 
作为上述技术方案的进一步描述:
 
所述移动板固定连接有连接套,所述第一连接杆贯穿移动板。
 
作为上述技术方案的进一步描述:
 
所述第一壳体侧表壁上嵌设的支架位于凹槽内且支架顶端外表壁与凹槽顶端内表壁固定连接。
 
作为上述技术方案的进一步描述:
 
所述第二转动杆上固定连接有第二限位条。
 
作为上述技术方案的进一步描述:
 
所述第一转动杆上固定连接有第一限位条,所述限位杆上固定连接有第三限位条。
 
综上所述,由于采用了上述技术方案,本发明的有益效果是:
 
1、本发明中,打开第二驱动电机,第二驱动电机的输出端带动螺纹杆转动,由于螺纹杆与移动板旋合连接,移动板沿着第一连接杆和第二转动杆在水平方向上移动,可根据不同长度的电路板对移动板和第一壳体之间的间距进行调节,提高装置的适用性。
 
2、本发明中,控制第二电动伸缩杆的伸缩端向远离第二电动伸缩杆一侧移动,使得第三齿轮与第四齿轮啮合,打开第三驱动电机,第三驱动电机的输出端带动第一传动轮转动,第一传动轮通过第四同步带带动第三齿轮转动,第三齿轮带动第二齿轮转动,第二齿轮通过转动轴带动第一齿轮转动,第一齿轮转动带动第一齿条向上移动,第二齿条向下移动,第一齿条带动上连接板向上移动,第二齿条带动下连接板向下移动,上连接板带动第一输送机构向上移动,下连接板带动第二输送机构向下移动,可实现第一输送机构和第二输送机构的同步运动,第一输送机构带动上侧的第二壳体沿着限位杆向上滑动,第二输送机构带动下侧的第二壳体沿着限位杆向下滑动,可根据不同厚度的电路板进行调节第一输送机构和第二输送机构之间的距离。
 
3、本发明中,控制第二电动伸缩杆的伸缩端带动第三齿轮在水平方向上向靠近第二电动伸缩杆一侧移动并与第四齿轮啮合时停止移动,打开第三驱动电机,第三驱动电机的输出端带动第一传动轮转动,第一传动轮通过第四同步带带动第三齿轮转动,第三齿轮带动第四齿轮转动,第四齿轮带动第二转动杆转动,第二转动杆带动第二传动轮转动,第二传动轮转动带动第一下转动轮转动,第一下转动轮带动下侧第二壳体内的第一锥齿轮转动,下侧的第一锥齿轮带动第二锥齿轮转动,下侧的第二锥齿轮通过限位杆带动上侧第二壳体内的第二锥齿轮转动,从而带动上侧第二壳体内的第一锥齿轮转动,上侧第二壳体内的第一锥齿轮转动带动第一上转动轮转动,可同步带动第一输送机构和第二输送机构同步启动,只使用一个驱动,减小了生产成本。
 
附图说明
 
一种用于生产发电机电路板的双面翻转机构
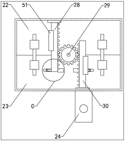
图1为本发明提出的一种用于生产发电机电路板的双面翻转机构的正视剖面结构示意图;
 
一种用于生产发电机电路板的双面翻转机构
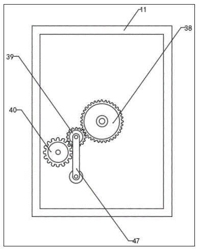
图2为本发明提出的一种用于生产发电机电路板的双面翻转机构的上连接板右视结构示意图;
 
一种用于生产发电机电路板的双面翻转机构
图3为本发明提出的一种用于生产发电机电路板的双面翻转机构的上连接板左视结构示意图;
 
一种用于生产发电机电路板的双面翻转机构
图4为本发明提出的一种用于生产发电机电路板的双面翻转机构的图1的A局部放大结构示意图;
 
一种用于生产发电机电路板的双面翻转机构
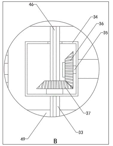
图5为本发明提出的一种用于生产发电机电路板的双面翻转机构的图1的B局部放大结构示意图;
 
一种用于生产发电机电路板的双面翻转机构
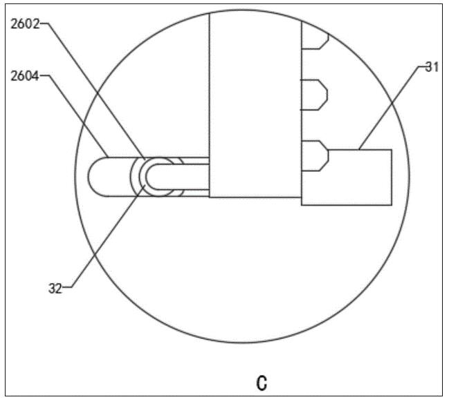
图6为本发明提出的一种用于生产发电机电路板的双面翻转机构的图3的C局部放大结构示意图;
 
一种用于生产发电机电路板的双面翻转机构
图7为本发明提出的一种用于生产发电机电路板的双面翻转机构的凹槽剖面结构示意图。
 
图例说明:
 
1、承台;2、第一支撑板;3、第一驱动电机;4、第一同步轮;5、第一同步带;6、第二同步轮;7、连接轴;8、第一固定板;9、第二固定板;10、第一连接杆;11、第一壳体;12、第二驱动电机;13、螺纹杆;14、移动板;15、连接套;16、第三驱动电机;17、第一转动杆;18、第一限位条;19、第一传动轮;20、支架;21、凹槽;22、上连接板;23、下连接板;24、第四固定板;25、第一输送机构;2501、第一上转动轮;2502、第二上转动轮;2503、第三上转动轮;2504、第二同步带;26、第二输送机构;2601、第一下转动轮;2602、张紧轮;2603、第三同步带;2604、滑槽;27、伸缩套筒;28、第一齿条;29、第一齿轮;30、第二齿条;31、第一电动伸缩杆;32、伸缩块;33、限位杆;34、第二壳体;35、转动轴;36、第一锥齿轮;37、第二锥齿轮;38、第二齿轮;39、第三齿轮;40、第四齿轮;41、第二限位条;42、第二转动杆;43、第二传动轮;44、第三固定板;45、第二电动伸缩杆;46、第三限位条;47、第二连接杆;48、第四同步带;49、连接块;50、第三连接杆;51、滑动座。
 
具体实施方式
 
为使本发明实施例的目的、技术方案和优点更加清楚,下面将结合本发明实施例中的附图,对本发明实施例中的技术方案进行清楚、完整地描述,显然,所描述的实施例是本发明一部分实施例,而不是全部的实施例。通常在此处附图中描述和示出的本发明实施例的组件可以以各种不同的配置来布置和设计。因此,以下对在附图中提供的本发明的实施例的详细描述并非旨在限制要求保护的本发明的范围,而是仅仅表示本发明的选定实施例。基于本发明中的实施例,本领域普通技术人员在没有作出创造性劳动前提下所获得的所有其他实施例,都属于本发明保护的范围。
 
在本发明的描述中,需要说明的是,术语“中心”、“上”、“下”、“左”、“右”、“竖直”、“水平”、“内”、“外”等指示的方位或位置关系为基于附图所示的方位或位置关系,仅是为了便于描述本发明和简化描述,而不是指示或暗示所指的装置或元件必须具有特定的方位、以特定的方位构造和操作,因此不能理解为对本发明的限制。此外,术语“第一”、“第二”、“第三”仅用于描述目的,而不能理解为指示或暗示相对重要性。
 
在本发明的描述中,还需要说明的是,除非另有明确的规定和限定,术语“设置”、“安装”、“相连”、“连接”应做广义理解,例如,可以是固定连接,也可以是可拆卸连接,或一体地连接;可以是机械连接,也可以是电连接;可以是直接相连,也可以通过中间媒介间接相连,可以是两个元件内部的连通。对于本领域的普通技术人员而言,可以根据具体情况理解上述术语在本发明中的具体含义。
 
下面将结合本发明实施例中的附图,对本发明实施例中的技术方案进行清楚、完整地描述,显然,所描述的实施例仅仅是本发明一部分实施例,而不是全部的实施例。基于本发明中的实施例,本领域普通技术人员在没有作出创造性劳动前提下所获得的所有其它实施例,都属于本发明保护的范围。
 
请参阅图1-7,本发明提供一种技术方案:一种用于生产发电机电路板的双面翻转机构,包括承台1,承台1上表面由左至右依次固定连接有第一支撑板2、第二固定板9、第三固定板44,第一支撑板2侧表壁上固定连接有第一驱动电机3,第一驱动电机3的输出端传动连接有第一同步轮4,第一同步轮4通过第一同步带5传动连接有与第二固定板9转动连接的第二同步轮6,第二同步轮6与左侧的连接轴7固定连接,第二固定板9与第三固定板44内表壁上均转动连接有连接轴7,左边的连接轴7贯穿第二固定板9,位于第二固定板9一侧的连接轴7的右端固定连接有第一固定板8,位于第三固定板44一侧的连接轴7的端部固定连接有第一壳体11,第一固定板8通过第一连接杆10与第三固定板44固定连接,第一连接杆10贯穿移动板14,第一连接杆10一端与第一固定板8固定连接,第一连接杆10另一端与第三固定板44固定连接,第一壳体11上固定连接有第二驱动电机12,第一壳体11内成型有凹槽21,第二驱动电机12的输出端传动连接有螺纹杆13,螺纹杆13旋合连接有移动板14,移动板14固定连接有连接套15,移动板14和第一壳体11侧表壁上均嵌设有支架20,两个支架20内均转动连接有第一齿轮29,两个支架20内腔均通过轴承转动连接有限位杆33,限位杆33贯穿第二壳体34和第二锥齿轮37,限位杆33上固定连接有第三限位条46,第三限位条46与第二锥齿轮37滑动连接,当第二壳体34内的第二锥齿轮37在限位杆33上滑动后,与下连接板23相对应的第二壳体34内的第二锥齿轮37可通过限位杆33和第三限位条46带动转动与上连接板22相对应的上侧的第二壳体34内的第二锥齿轮37,从而使得下侧的第二壳体34内的第二锥齿轮37带动第一锥齿轮36转动,可使得上连接板22和下连接板23在移动后,通过第二传动轮43带动第一下转动轮2601转动,第一下转动轮2601带动下侧第二壳体34内的第一锥齿轮36转动,下侧的第一锥齿轮36带动第二锥齿轮37转动,下侧的第二锥齿轮37通过限位杆33带动上侧第二壳体34内的第二锥齿轮37转动,从而带动上侧第二壳体34内的第一锥齿轮36转动,上侧第二壳体34内的第一锥齿轮36转动带动第一上转动轮2501转动,限位杆33上滑动连接有两个第二壳体34,第二壳体34内腔侧表壁上转动连接有第一锥齿轮36,第二壳体34底端内表壁上转动连接有第二锥齿轮37,支架20内表壁上固定连接有两个滑动座51,两个滑动座51分别滑动连接有第一齿条28和第二齿条30,第一齿条28通过一个连接块49固定连接有上连接板22,第二齿条30通过另一个连接块49固定连接有下连接板23,第一齿条28和第二齿条30均与第一齿轮29啮合,上连接板22上设有第一输送机构25,下连接板23上设有第二输送机构26,第一输送机构25和第二输送机构26可对物料进行输送,第二输送机构26端部固定连接有第四固定板24,第四固定板24上转动连接有第二传动轮43,第一壳体11上固定连接有第三驱动电机16,第三驱动电机16的输出端传动连接有第一转动杆17,第一转动杆17上固定连接有第一限位条18,第一转动杆17与第一传动轮19滑动连接,第一传动轮19上成型有与第一限位条18和第一转动杆17相适配的槽口,第一转动杆17上滑动连接有第一传动轮19,第一传动轮19通过第四同步带48传动连接有第三齿轮39,第一传动轮19与第三齿轮39之间设有第二连接杆47,第二连接杆47一端与第一传动轮19转动连接,第二连接杆47另一端与第三齿轮39转动连接,凹槽21内表壁上固定连接有第二电动伸缩杆45,第二电动伸缩杆45的伸缩端与第三齿轮39转动连接,第二电动伸缩杆45的伸缩端可带动第三齿轮39在水平方向上移动,第一固定板8与第一壳体11之间转动连接有贯穿第一壳体11的第二转动杆42,第二传动轮43与第二转动杆42滑动配合,第二转动杆42上固定连接有第二限位条41,第二转动杆42不转动时,第二限位条41可对第二传动轮43限位,第二转动杆42位于凹槽21内的端部固定连接有第四齿轮40,第四齿轮40位于第三齿轮39下部的左侧,凹槽21内表壁上铰接有第二齿轮38,第二齿轮38位于第三齿轮39上部的右侧,第二齿轮38通过转轴与第一齿轮29固定连接,转轴贯穿支架20,上连接板22之间通过第三连接杆50固定连接,下连接板23之间通过第三连接杆50固定连接。
 
具体的,如图1、图2和图3所示,第一输送机构25包括第一上转动轮2501、第二上转动轮2502、第三上转动轮2503,第一上转动轮2501、第二上转动轮2502、第三上转动轮2503均与上连接板22转动连接,第一上转动轮2501、第二上转动轮2502、第三上转动轮2503通过第二同步带2504传动连接,第二输送机构26包括第一下转动轮2601、张紧轮2602,第一下转动轮2601、张紧轮2602均与下连接板23转动交接,第一下转动轮2601、张紧轮2602、第二传动轮43之间通过第三同步带2603传动连接,第一上转动轮2501和第一下转动轮2601分别通过转动轴35固定连接有第一锥齿轮36,下连接板23上成型有滑槽2604。
 
具体的,如图6所示,下连接板23固定连接有两个第一电动伸缩杆31,两个第一电动伸缩杆31的伸缩端均固定连接有伸缩块32,伸缩块32与张紧轮2602转动连接,可通过调节第一电动伸缩杆31调节张紧轮2602,从而调节第三同步带2603的张紧度。
 
具体的,如图2所示,下连接板23内嵌设有伸缩套筒27,伸缩套筒27的伸缩端与上连接板22固定连接,伸缩套筒27可对下连接板23和上连接板22进行限位。
 
具体的,如图4所示,第一壳体11侧表壁上嵌设的支架20位于凹槽21内且支架20顶端外表壁与凹槽21顶端内表壁固定连接。
 
工作原理:使用时,打开第二驱动电机12,第二驱动电机12的输出端带动螺纹杆13转动,由于螺纹杆13与移动板14旋合连接,移动板14沿着第一连接杆10和第二转动杆42在水平方向上移动,可根据不同长度的电路板对移动板14和第一壳体11之间的间距进行调节,打开第二电动伸缩杆45,控制第二电动伸缩杆45的伸缩端向远离第二电动伸缩杆45一侧移动,使得第三齿轮39与第四齿轮40啮合,打开第三驱动电机16,第三驱动电机16的输出端带动第一传动轮19转动,第一传动轮19通过第四同步带48带动第三齿轮39转动,第三齿轮39带动第二齿轮38转动,第二齿轮38通过转动轴35带动第一齿轮29转动,第一齿轮29转动带动第一齿条28向上移动,第二齿条30向下移动,第一齿条28带动上连接板22向上移动,第二齿条30带动下连接板23向下移动,上连接板22带动第一输送机构25向上移动,下连接板23带动第二输送机构26向下移动,可实现第一输送机构25和第二输送机构26的同步运动,第一输送机构25带动上侧的第二壳体34沿着限位杆33向上滑动,第二输送机构26带动下侧的第二壳体34沿着限位杆33向下滑动,可根据不同厚度的电路板进行调节第一输送机构25和第二输送机构26之间的距离,调节完成后,关闭第三驱动电机16,控制第二电动伸缩杆45的伸缩端带动第三齿轮39在水平方向上向靠近第二电动伸缩杆45一侧移动并与第四齿轮40啮合时停止移动,打开第三驱动电机16,第三驱动电机16的输出端带动第一传动轮19转动,第一传动轮19通过第四同步带48带动第三齿轮39转动,第三齿轮39带动第四齿轮40转动,第四齿轮40带动第二转动杆42转动,第二转动杆42带动第二传动轮43转动,第二传动轮43转动带动第一下转动轮2601转动,第一下转动轮2601带动下侧第二壳体34内的第一锥齿轮36转动,下侧的第一锥齿轮36带动第二锥齿轮37转动,下侧的第二锥齿轮37通过限位杆33带动上侧第二壳体34内的第二锥齿轮37转动,从而带动上侧第二壳体34内的第一锥齿轮36转动,上侧第二壳体34内的第一锥齿轮36转动带动第一上转动轮2501转动,可同步带动第一输送机构25和第二输送机构26同步启动,只使用一个驱动,减小了生产成本。
 
以上所述,仅为本发明较佳的具体实施方式,但本发明的保护范围并不局限于此,任何熟悉本技术领域的技术人员在本发明揭露的技术范围内,根据本发明的技术方案及其发明构思加以等同替换或改变,都应涵盖在本发明的保护范围之内。
 
Copyright © 宁波鄞州盖奇同步带轮有限公司 2007-2022 All Rights Reserved.
电话:4006-574-123/0574-27834692 传真:0574-27834691
地址:浙江省宁波市鄞州区姜山镇蔡郎桥村姜南路39-2 E-Mail:sales@belt-pulley.com  
浙ICP备09102982号 盖奇公司网络部提供技术支持 浙公网安备33021202003319号